Оптимальная волноводно-щелевая решетка
Государственный комитет РФ по высшему образованию
ТОМСКИЙ УНИВЕРСИТЕТ СИСТЕМ УПРАВЛЕНИЯ И РАДИОЭЛЕКТРОНИКИ
(ТУСУР)
Кафедра СВЧиКР
Оптимальная волноводно-щелевая решетка
ПОЯСНИТЕЛЬНАЯ ЗАПИСКА К КУРСОВОЙ РАБОТЕ ПО КУРСУ
“Антенны СВЧ”
Выполнил студент
___________.
Руководитель
___________.
Государственный комитет РФ по высшему образованию
ТОМСКИЙ УНИВЕРСИТЕТ СИСТЕМ УПРАВЛЕНИЯ И РАДИОЭЛЕКТРОНИКИ
Задание
Исходные данные :
Тип антенны : оптимальная волноводно-щелевая решетка
Вид антенны : передающая
Рабочая длина
волны

Уровень токовых лепестков

Количество щелей 2N=30
Падаваемая мощность P=1кВт
Выполнить :
Выбор и расчет антенны
Выбор питающей линии
Содержание
Введение ............................................................................. 4
Расчет питающего волновода ............................................ 6
Расчет антенной решетки ................................................... 7
Расчет системы возбуждения волновода..........................13
Заключение ........................................................................ 17
Список литературы ........................................................... 18
Введение
Волноводные-щелевые решетки (ВЩР) являются одним из видов линейных многоэлементных антенн (антенных решеток). Щелевые волноводные антенны применяются также в качестве антенн с механическим, электромеханическим и электрическим сканированием. Наибольшее распространение получили щелевые волноводные антенны, выполненные на основе прямоугольного волновода с волной Н>10>.
ВЩР обеспечивают сужение ДН в плоскости, проходящей через ось волновода.
Основные достоинства ВЩР :
Ввиду отсутствия выступающих частей, излучающая поверхность ВЩР может быть совмещена с внешней поверхностью корпуса летательного аппарата, не внося при этом дополнительного аэродинамического сопротивления (бортовая антенна) ;
В них могут быть реализованы оптимальные ДН, т.к. законы распределения поля в раскрыве могут быть различными за счет изменения связи излучателей с волноводом ;
Они имеют сравнительно простое возбуждающее устройство, просты в эксплуатации.
Недостатком ВЩР является ограниченность диапазонных свойств. При изменении частоты в несканирующей ВЩР происходит отклонение луча в пространстве от заданного положения, сопровождающееся изменением ширины ДН и ее согласования с питающим фидером.
В настоящее время применяются три вида волноводно-щелевых
антенн:
Резонансные
Нерезонансные
Щелевые волноводные антенны с согласованными щелями
В резонансных антеннах расстояние между соседними щелями равно в или в/2. Таким образом, резонансные антенны являются синфазными и, следовательно, направление излучения совпадает с нормалью к продльной оси антенны. Такая антенна может быть хорошо согласованна только в весьма узкой полосе частот. Действительно, т.к. каждая щель отдельно не согласована с волноводом, то все отраженные от щелей волны складываются на входе антенны синфазно и коэффициент отражения системы становится большим. Очевидно, что это рассогласование можно компенсировать на входе антенны с помощью какого-нибудь элемента настройки, но т.к. уже при малых изменениях частоты согласование нарушается, то антенна остается очень узкополосной.
Нерезонансными называются антенны, у которых расстояние между соседними щелями в пределах рабочей полосы несколько больше или несколько меньше в/2. Характерной особенностью нерезонансных антеннявляется более широкая полоса, в пределах которой получается хорошее согласование. Отличие расстояние между соседними щелями от в/2 приводит к несинфазному возбуждению щелей падающей волной. В результате вдоль антенны получается линейное изменение фазы, что вызывает некоторое отклонение направления максимального излучения от нормали к оси.
Особую группу составляют антенны с согласованными щелями. Щели втаких антеннах располагаются обычно на расстояниях, равных в/2. В антеннах с согласованными щелями отраженные волны отсутствуют. Распределние поля в раскрыве антенны получается синфазным. Направление максимального излучения на основной волне совпадает с нормалью к оси антенны.
В случае наклонных щелей на боковой стенке волновода дополнительный фазовый сдвиг 180о получается за счет изменения угла наклона щели . Следовательно, результирующий сдвиг по фазе соседних излучателей оказывается равным 360о или 0о независимо от типа нагрузки на конце антенны.
Расчет питающего волновода
Щелевые волноводные антенны могут выполняться на основе прямоугольного, круглого, змейкового, спирального и других типов волноводов. В том случае, если не требуется осуществлять качание луча и не предъявляется каких-либо других специфических требований, щелевые волноводные антенны удобно выполнять на основе прямоугольного волновода с волной Н>10>.
(1)
(2)
Выбираю стандартные значения для размеров волновода : а=23мм., b=10мм.
Выбор размеров волновода производился на основе стандарта Международной электротехнической комиссии. Я остановил свой выбор на волноводе со следующими параметрами:
Тип волновода: МЭК-100.
Полоса пропускания: 2.50-3.66 см.
Внутренние размеры: 22.86х10.16 мм.
Толщина стенок: 1.27 мм.
Предельная мощность: 0.99 МВт

Рис. 1
На основе этих данных
рассчитаем параметры:

(3)
(4)
Расчет антенной решетки
Вследствие того, что антенна
работает на фиксированной частоте я
выбрал резонансную антенну. Щели
располагаются на широкой стенки волновода
с продольными щелями, они противофазно
связанны с полем питающего волновода
и значит расстояние между щелями d=в/2.
При этом выполняется условие
,
необходимое для того чтобы не было
главных лепестков m-того
порядка.
d=в/2=19.787мм,
при этом

Заданный уровень первого токового лепестка (q=-30Дб) можно обеспечить только с помощью распределения Дольф-Чебышева.
Метод Дольфа позволяет решить следующие две задачи :
Определить при заданном числе вибраторов и расстоянии между ними закон распределения амплитуд, при котором относительный уровень боковых лепестков не превосходит заданной величины, а основной лепесток имеет наименьшую ширину, возможную при заданном уровне боковых лепестков.
Определить при заданном числе выбраторов и расстоянии между ними закон распределении амплитуд, при котором ширина основного лепестка равна заданной величине, а уровень боковых лепестков имеет наименьшую величину, возможную при заданной ширине основного лепестка.
Антенны, спроектированные по методу Дольфа отличаются тем, что если дискретные вибраторы не обладают направленными свойствами, то уровень всех боковых лепестков получается одинаковым.
Находим длину антенны и проводимость одной щели
Из выбранных параметров для резонанстных антенн, длина антенны получается

(5)
Находим проводимость
одной щели. Проводимость одной щели
можно найти из условия согласования
антенной решетки с питающим волноводом:
.
Отсюда
(6)
Находим ширину щели
П
ри
выборе ширины щели должен обеспечиваться
2-3-кратный запас на электрическую
прочность по пробивному запасу
напряженности поля для середины щели,
где напряженность поля между ее краями
Е>щ> максимальна.
(7)
Где U>max> – амплитуда напряженности в пучности щели,
Е>щ> – предельгное значение напряженности поля, при котором наступает пробой (для воздуха при н.у. Е>пр>=30 КВ/см)

(8)
Где Р=1 КВт –подводимая к антенне мощность, g>щ>=13мСм – проводимость излучения щели, N – число щелей в антенне.
Выражаем и находим ширину щели

(9)
Определим смещение
центра щели относительно оси волновода
и длину щели l
Используя
условие для согласования (6) , выразим
параметр х>1 >для
продольных шелей из эквивалентной
проводимости.
(10)
получим

м (11)
Длина
щели определяетса из графика л.[3].
Зависимость резонансной длины продольной
щели от ее смещения .
Дольф-Чебышевское распределение
Дольф-Чебышевское распределение запишится в следуюшем виде :

(12)
порядок полинома Чебышева для данной задачи будет равен n=15

Находим параметр
- определяющий уровень боковых лепестков
относительно главного и ширину диаграммы
направленности 2>о>.

(13)
Находим распределение тока в антенне. Т.к. число излучателей больше 20, это распределение можно найти с помощью приближенной формулы

(14)
Г
де
Z>n>-расстояние от начала координат до n-го излучателя, L – полная длина антенны.
По формуле 14 определяются токи во всех излучателях, кроме крайних. Краиние токи вычисляются по формуле 15.
(15)
П
осле
выполнения расчетов получил следующие
результаты :

Расчет диаграммы направленности
Зависимость
напряженности поля от угловых координат
представляет собой диаграмму напрвленности
антенны и для данного случая будем
определять функцией Чебышева 15 порядка
используя формулу (12) , где

Рис.2 Диаграмма направленности
ВЩР в Н-плоскости.

Рис.3
Диаграмма направленности ВЩР в
Н-плоскости.
Оптимальная ширина
диаграммы направленности

Коэффициент направленного действия
КНД Дольф-Чебышевских решеток может быть определен по известному распределению тока в излучателях с помощью формулы

(16)
Коэффициент полезного действия ВЩР
К
ПД
решетки излучателей определяется
выражением
(17)
Где Р>о> – мощность на входе антенны, Р>L> - мощность в конце антенны, L – длина антенны, >>> >- суммарное затухание в волноводе [Дб/м].

(18)
=5.8*107 - удельная проводимость меди.
П
одставляя
все полученные данные находим КПД :
Коэффициент усиления антенны
Коэффициент усиления ВЩР может быть расчитан по общеизвестной формуле
(19)
Расчет системы возбуждения волновода
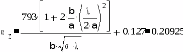
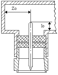
Зондовый переход , схема которой преведена на рис 4. Расчет зонда

Рис. 4 Зондовый переход
ведется из условия его
согласования с коаксиальной линией и
волноводом.Для этого следует найти его
длину
из системы уравнения

(20)
где z>o>,
x>o>>
>–положение зонда в
волноводе, l>o>>
>–его длина,
-волновое сопротивление кабеля 75 Ом,
-
волновое сопротивление зонда
Так как неизвестных
величин три, то задаются одной из них.
Для решения (20) задают z>o>=0.19
=0.751
см, тогда l>o>
рассчитывают по формуле (21)

(21)
решив формулу относительно l>o> ,получим

см
Зондовый переход
цилиндрической формы узкополосен.
Диаметр зонда d
берут равным (0.10-0.15)а ,а r
для определения
считают
равным 0.75d.
Волновое сопротивление зонда
будет
Ом (22)
d=0.345 см
r =0.052 см
О
пределим
x>o>
из формулы 20 , получим
X>o>=0.83 см
Определим расстояние от штыря до первой щели L1.
L>1> выбирается с таким рассчетом, чтобы уже на первой щели напряженность поля Е>Н20> была примерно в 10-100 раз меньше напряженности поля Е>Н10>, т.е. из условия

(23)
Где >Н20>, >Н10> – постоянные распространения волн Н>10> и Н>20 >соответственно.
(24)
(25)
(26)
Подставляя все полученные данные рассчитываем L>1>=0.97 см.
Из полученных данных в качестве питающего фидера подходит обычнй коаксиальный кабель с волновым сопротивлением 75 Ом.
Определение оптимального растояния от последней щели до коротко замкнутого поршня

Рис5. Эквивалентная схема многощелевой резонансной антенны с продольными щелями на широкой стенки.
Анализ схемы показывает , что выполняется соотношение

(27)
z-расстояние от последней щели до закорачивающего поршня
Из формулы видноб что для достижения полного согласования ( Г=0 ) расстояние z нужно выбрать так, чтобы КСВ=1 . Вслучае резонансных щелей (bn=0) для достижения Г=0 необходимо,чтобы:

Из выражений видно , что
для полного соглассования растояние
от поршня до первой щели =
Заключение
В данной курсовой работе был произведен расчет оптимальной волноводно-щелевой решетки. При этом было выбрано Дольф-Чебышевское распределение как наиболее отвечающее поставленным условиям .А также соглассование волновода с коаксиальным кабелем
(основные параметры соглассования r, d, x>o>, z>o>, l>o>)
Основные характеристики расчитанной ВЩР :
Количество щелей – 30;
КПД = 82%
Ширина ДН 2>0.5>=8
Уровень первого токового лепестка –30 Дб
Список использованной литературы :
Антенны и устройства СВЧ (проектирование фазированных антенных решеток). Под ред. Д.И.Воскресенского.
Г.З.Айзенберг. Антенны ультракоротких волн.
Расчет и проектирование антенно-фидерных устройств. Под ред. В.А.Наследника
М.С.Жук. Проектирование линзовых, сканирующих, широкодиапазонных антенн и фидерных устройств.
А.С.Лавров, Г.Б.Резников. Антенно-фидерные устройства.