Разработка локальной сети и защита передачи данных на основе перспективных технологий
по подготовке дипломной работы (проекта)
Студенту 951 уч. группы Шарову Максиму Игоревичу
Тема работы (проекта)
Разработка локальной сети и защита передачи данных на основе перспективных технологий
2. Срок сдачи студентом законченной работы (проекта) 6 июня 2008 года
3. Исходные данные к работе (проекту) ТЗ
4. Перечень вопросов, подлежащих разработке в дипломной работе (проекте):
|
№№ п/п |
Разрабатываемый вопрос |
Срок выполнения |
|
Специальная часть. |
||
|
1 |
Анализ перспективных технологий построения абонентской части сети. |
01.04.2008 |
|
2 |
Выбор оборудования, для перспективных технологий СПД |
10.04.2008 |
|
3 |
Разработка и построению локальной сети на основе технологии беспроводного радиодоступа |
21.04.2008 |
|
Экономическая часть. |
||
|
4 |
Планирование разработки защищенной локальной сети с построением календарного графика. |
30.04.2008 |
|
5 |
Расчет экономических показателей защищенной локальной сети и определение эффективности работы. |
05.05.2008 |
|
Охрана труда. |
||
|
6. |
Анализ опасных и вредных факторов в сфере деятельности специалиста по защите информации. |
10.05.2008 |
|
7 |
Меры обеспечения допустимы условий труда в рабочем помещении специалиста по защите информации |
15.05.2008 |
5. Перечень обязательного графического материала:
|
№№ п/п |
Наименование |
Количество листов |
|
1. |
Тема дипломной работы. |
1 лист |
|
2. |
Календарный (сетевой) график и экономические выводы. |
1 лист |
|
3. |
Механизм проведения аутентификации. |
1 лист |
|
4. |
Схема подключения предлагаемой локальной сети. |
1 лист |
|
5. |
Процесс шифрования сигнала. |
1 лист |
|
6. |
Схема подключения системы к SDN сети. |
1 лист |
|
7. |
Использование технологии уширения спектра. |
1 лист |
|
8. |
Сравнительные характеристики стоимости, времени подготовки и прокладки кабеля. |
1 лист |
6. Консультанты по работе (проекту):
по спец. части _____________________________________________
(фамилия, инициалы) (подпись)
по технологической части ___________________________________
(фамилия, инициалы) (подпись)
по экономической части _____________________________________
(фамилия, инициалы) (подпись)
по охране труда ___________________________________________
(фамилия, инициалы) (подпись)
7. Дата выдачи задания 28.03.2008
Руководитель ДП __________________________________________
(фамилия, инициалы) (подпись)
Задание принял к исполнению________________________________
(дата)
Подпись студента__________________________________________
Реферат
Дипломная работа посвящена решению задачи повышения защиты информации (передачи данных), которая возникает при разработке и развертывании локальной компьютерной сети.
Актуальность темы дипломной работы обосновывается тем, что она направлена на разрешение объективного противоречия, сложившегося в настоящее время, между возрастающей потребностью увеличения числа локальных сетей и их пользователей, с одной стороны, и ограниченными возможностями каналов связи обеспечить высокую пропускную способность, информационную безопасность и низкую стоимость, с другой стороны.
Новизна дипломной работы подтверждается заявкой на изобретение
«Локальная компьютерная сеть с комплексной защитой объектов информатизации», МПК Н02G 15/24, приоритет 2008 г., патентообладатель: ИИФ РФ.
Положительный эффект от использования дипломной работы состоит в том, что увеличивается не менее чем на 15-20 % число пользователей и на 10-15 % протяженность локальной компьютерной сети в микрорайоне г. Серпухова с обеспечением комплексной защиты объектов информатизации.
По материалам дипломной работы опубликованы научные статьи:
- Разработка и развертывание локальной компьютерной сети микрорайона города Серпухова, Информационный вестник института инженерной физики, № 4, 2007 г.
- Локальная компьютерная сеть с комплексной защитой объектов информатизации. Межвузовский сборник научных трудов Всероссийской НПК, Рязанский военный институт связи, 2007 г.
Основные результаты дипломной работы докладывались на 1-й научно-практической конференции молодых ученых и студентов Южного Подмосковья, февраль, 2006 г., Институт инженерной физики РФ.
Содержание
Реферат
Список сокращений, символов и спецальных терминов
Введение
1. Анализ перспективных технологий построения абонентской части сети с учетом защиты информации
1.1 Система фиксированного широкополосного радиодоступа и оценка защиты информации в ней
1.2 Оценка организации радиоинтерфейса системы FBWA
1.3 Оценка тактико-технических характеристик системы FBWA
1.3.1 Радиус зоны обслуживания и скорость передачи информации
1.3.2 Защита информации структурным построением сети
1.3.3 Защита информации на основе передачи шумоподобного сигнала (технология DSSS)
1.3.4 Защита информации на основе перестройки частоты несущей технология FHSS
1.3.5 Защита информации на основе применения методов частотной модуляции и кодирования (стандартов EEE 802.11)
1.4. Оценка алгоритма обеспечения конфиденциальности передаваемых сообщений
2. Выбор оборудования, предъявляемое к перспективным информационным технологиям передачи данных, для зашиты информации
2.1 Выбор передающей среды
2.2 Оценка режимов работы системы передачи данных в стандарте 802.11
2.2.1 Оценка информационной защиты с учетом дальности связи беспроводных устройств
2.3 Оценка стоимости оборудования и затрат на развертывание сети с защитой инофрмации
3. Разработка и построению локальной сети на основе технологии беспроводного радиодоступа
3.1 Разработка и построению абонентской части локальной сети на основе технологии беспроводного радиодоступа D-Link с учетом защиты информации
3.2 Предлагаемая локальная компьютерная сеть с комплексной защитой объектов информатизации
4. Планирование разработки защищенной локальной сети и определение эффективности работы
4.1 Расчет трудоемкости отдельных этапов разработки локальной вычислительной сети
4.2 Состав исполнителей проектируемой сети
4.3 Оптимизация сетевого графика разработки локальной сети
5. Расчет экономических показателей защищенной локальной сети и определение эффективности работы
5.1 Заработная плата исполнителей
5.2Отчисления во внебюджетные фонды
5.3 Затраты на стоимость материалов
5.4 Накладные расходы
5.5 Расчет годовых эксплутационных расходов
5.6 Расчет экономической эффективности от внедрения проекта
6. Анализ опасных и вредных факторов в сфере деятельности специалиста по защите информации
6.1 Описание рабочего места специалиста по защите информации
7. Меры обеспечения допустимы условий труда в рабочем помещении специалиста по защите информации
7.1 Электромагнитные излучения
7.2 Освещенность
7.3 Шум
7.4 Микроклимат
7.5 Электробезопасность
7.6 Пожарная безопасность
Заключение
Список литературы
Список сокращений, символов и специальных терминов
ЛВС - локальная вычислительная сеть
СПД - система передачи данных
ИБП - источник бесперебойного питания
Мбит/с - скорость передачи данных мегабит в секунду
IEEE – Стандарты передачи данных
ТфОП - Телефония, факс и передача данных с использованием dial-up-модемов
ЦС – Центральная станция
PC - Ретрансляционные станции
ТС - Терминальные станции
ГРЧЦ - Главный радиочастотный центр
Wi-Fi. – Беспроводные сети
FBWA - Магистральная беспроводная система передачи данных
WEP - устаревший алгоритм для обеспечения безопасности беспроводной сети.
WLAN - Беспроводные локальные сети, системы, комплексы
TNC – терминал с пакетными контроллерами
ЗФ - Зона Френеля
ВОЛС - Волоконно-оптическая линия связи
PCI – Сетевой адаптер радиосвязи
AP - модуль точки доступа
SM - абонентский модуль
SDH - универсальный стандарт для сетевых узловых
5Е – категория кабеля (витая пара)
WLL - Системы абонентского доступа
ETSI - Европейский институт стандартов в области электросвязи
DSSS - широкополосная модуляция с прямым расширением спектра.
Введение
В настоящее время увеличивается количество новых локальных сетей, существующие сети расширяются, возрастает число пользователей этих сетей. Растут также и требования, предъявляемые к передаваемому трафику, пропускной способности, протяженности (масштабности), защите информации (передачи данных) и стоимости разработки и развертывания сети, причем безопасность информации и стоимость локальной сети являются одним из главных факторов при ее построении.
Помимо задачи повышения защиты информации и увеличения пропускной способности магистральной составляющей сети, актуальной является задача информационного доступа к сети, основными требованиями к которой являются:
- широкая (разветвленная) инфраструктура;
- масштабность (протяженность);
- невысокая стоимость.
Трудности решения этих задач возникают по ряду причин, а именно:
1. Не высокий уровень телефонизации (большое количество удаленных населенных пунктов и промышленных сооружений, в нашей стране не телефонизировано).
2. Трудности преодоления естественных (природных) и искусственных (созданных человеком) препятствий при прокладке кабеля (большое количество природных помех, таких как реки, овраги, леса, а также искусственно созданных: здания, железнодорожные пути).
Для решения этих задач необходимо:
1. Обосновать необходимость применения беспроводного доступа к информационным ресурсам сети (рассмотреть случай, при котором применение проводных сетей затруднительно, а, следовательно, является чрезмерно дорогостоящим) с одновременным обеспечением защиты информации.
2. Проанализировать сети беспроводного радиодоступа (выявить все преимущества и недостатки данной системы, включая информационную безопасность, а также экономически обосновать целесообразность применения данных технологий).
3. Проанализировать существующие стандарты, поддерживающие технологии беспроводного радиодоступа с заданной информационной безопасностью (рассмотреть существующие технологии и стандарты, выбрать наиболее перспективные и описать их характеристики).
4. Проанализировать оборудование, представленное на российском рынке, а именно: провести сравнительный анализ всех типов оборудования, представленного как отечественными, так и зарубежными производителями на российском рынке и сделать выводы о преимуществах использования одного из типов оборудования с учетом обеспечения защиты информации.
5. Разработать конкретные предложения по созданию абонентской части локальной сети и, на основе вышеприведенного выбора конкретного оборудования, разработать фрагмент локальной системы передачи данных, описать его характеристики и обосновать выбор экономически.Решению этих актуальных задач по созданию абонентской части локальной сети, с помощью технологий беспроводного широкополосного радиодоступа с обеспечением заданной защиты информации, и посвящена тема дипломной работы.
Кроме того, актуальность темы дипломной работы обосновывается ещё и тем, что она направлена на разрешение объективного противоречия, сложившегося в настоящее время, между возрастающей потребностью увеличения числа локальных сетей и их пользователей, с одной стороны, и ограниченными возможностями каналов связи обеспечить высокую пропускную способность, информационную безопасность и низкую стоимость, с другой стороны.
1. Анализ перспективных технологий построения абонентской части сети
1.1 Система фиксированного широкополосного радиодоступа
Анализ результатов развития технологий пользовательского доступа за последнее десятилетие показывает, что для предоставления услуг мультимедиа в настоящее время имеется широкий выбор беспроводных технологий пользовательского доступа. Современные системы радиодоступа строятся в соответствии со следующими стандартами:
- HiperLAN2;
- MMDS;
- WLL;
- FBWA (стандарт IEEE серии 802.11/b/g).
В перечисленном выше порядке рассмотрим эти известные системы радиодоступа.HiperLAN2 базируется на недавно разработанной радиотехнологии, созданной специально для взаимодействий по локальной сети в рамках проекта Broadband Radio Access Networks (BRAN), реализуемого Европейским институтом стандартов в области электросвязи (ETSI), радиотехнология — так называемое уплотнение с ортогональным разделением частот (Orthogonal Frequency Division Multiplexing, OFDM), реализация которого является весьма серьезной технической задачей. Наиболее привлекательной чертой HiperLAN2 является ее высокая скорость, в качестве каковой иногда ошибочно называется величина 54 Мбит/с. Действительно, номинальная скорость радиопередачи будет составлять 54 Мбит/с, но типичная скорость для приложений будет ближе к 20 Мбит/с. Другая характерная черта — поддержка QoS, что весьма важно для таких приложений, как видео и речь. Архитектура HiperLAN2 обеспечивает соединение с множеством типов сетей, в том числе Ethernet (она будет поддерживаться в числе первых), IP, ATM и PPP. Построение сетей на основе технологии HiperLAN2 потребует значительных инвестиций по следующим причинам:
- Во-первых, единственный стандарт на беспроводные локальные сети, на сегодняшний день широко применяемый, был предложен IEEE, а вовсе не ETSI.
- Во-вторых, IEEE уже имеет несколько стандартов на беспроводные локальные сети, в том числе стандарт 802.11a, обеспечивающий скорость передачи 54 Мбит/с.
- В-третьих, ни одна компания, из числа поддержавших проект HiperLAN2, не является признанным лидером в области локальных сетей. Работает данная технология HiperLAN2 в 5Ггц диапазоне, который в настоящее время еще не лицензирован. Чтобы разделяемые сети в стандарте HiperLAN2 действительно обеспечивали широкополосный доступ, они должны иметь множество точек доступа и множество каналов, которые обеспечивают свободу передвижений в пределах определенной территории.
Защита информации при использовании технологии HiperLAN2 включают аутентификацию и шифрование, что обеспечивает временную криптографическую стойкость передаваемой информации в линии связи от ее несанкционированного разглашения. Кроме того, техническая реализация уплотнения каналов с ортогональным разделением частот повышает безопасность информации за счет большой неопределенности выбора параметров несущих частот.
Система MMDS (Microwave Multipoint Distribution Service - Микроволновые многоточечные распределительные системы) получили в последние годы широкое распространение как альтернатива классическим кабельным сетям, в которых распределительная сеть строится за счет прокладки коаксиальных или оптических кабелей. Возможность интеграции систем MMDS c высокоскоростным беспроводным обменом цифровыми данными, позволяет легко решить проблему «последней» мили, обеспечивая радиус вещания, ограниченный линией горизонта (около 60 км).
Запрашиваемые пользователем данные транслируются нисходящими потоками в цифровых каналах, использующих модуляцию QPSK, 16-, 32-, 64-, 128- или 256-QAM. При этом, в зависимости от ширины канала и выбранной схемы модуляции сигнала, в одном канале шириной до 8 МГц обеспечивается скорость передачи данных до 56 Мбит/сек. времени, что в 1000-1500 раз быстрее, чем позволяет аналоговый телефонный модем (33,6 Кбит/с), в 200-400 раз быстрее, чем по линии ISDN (64 и 128 Кбит/с). Радиус зоны обслуживания системы ММDS определяется высотой подъема передающей антенны, мощностью передатчика, количеством передаваемых каналов, потерями в антенно-фидерном тракте и коэффициентом усиления передающей и приёмной антенн. В процессе строительства и эксплуатации выявлен ряд преимуществ системы MMDS. Главным недостатком технологии является высокая стоимость оборудования, большое число обслуживающего персонала.
Организация защиты информации в системе MMDS аналогична ранее рассмотренной защите информации в системе HiperLAN2.
Системы WLL фиксированного беспроводного доступа (WLL -Wireless Local Loop) были разработаны в конце 1980-х - начале 1990-х годов для решения весьма актуальной задачи - расширения зоны обслуживания АТС. Название этого класса систем определяет и их назначение - предоставление услуг традиционной телефонии абонентам, расположенным за пределами зоны обслуживания.
Системы WLL работают в диапазонах частот от 1,5 до 3,5 ГГц, а сети на базе систем WLL строятся по сотовому принципу. В состав систем WLL входят:
1) центральная станция (ЦС), обеспечивающая подключение и управление всей сетью в целом;
2) ретрансляционные станции (PC), позволяющие обеспечить сплошное покрытие обслуживаемой территории и расширить зону обслуживания до нескольких сотен километров (в зависимости от количества последовательно включенных ретрансляторов);
3) терминальные станции (ТС), устанавливаемые в зонах обслуживания;
4) система технического обслуживания, реализованная в виде программного обеспечения на уровне управления сетевыми элементами и устанавливаемая на персональном компьютере.
Системы WLL предоставляют услуги ТфОП (телефония, факс и передача данных с использованием dial-up-модемов) абонентам, удаленным на десятки километров. Основной недостаток данных систем является высокая стоимость, сложность установки и эксплуатации оборудования.
Информационная безопасность в системе WLL достигается точной адресацией отправляемого сообщения пользователю и организационными мероприятиями по допуску обслуживающего персонала базовых станций сети.
Системы класса FBWA своим развитием в конце 1990-х годов обусловлены несколькими факторами:
1) практически всеобщей потребностью информатизации;
2) появлением широкого набора высокоскоростных транспортных технологий;
3) разработкой концепции построения сетей следующего поколения, обеспечивающих единое управление всеми видами трафика в современных мультисервисных сетях связи.
Системы FBWA предназначены для предоставления индивидуальным и корпоративным пользователям современных услуг.
Представленные в настоящее время на рынке телекоммуникационной связи решения класса FBWA практически не имеют ретрансляционных станций, что ограничивает радиус их зоны обслуживания пределами одной ячейки сотовой системы связи.
В системах FBWA используется секторный принцип построения центральной станции, в состав которой входят несколько приемопередатчиков, обслуживающих каждый свой сектор, причем в каждом секторе могут быть организованы несколько радиоканалов.
Терминальные станции современных систем FBWA обеспечивают подключение к различным услугам широкого круга как индивидуальных, так и корпоративных пользователей, включая ЛВС, УАТС, сети Frame Relay и др.
И, наконец, кроме предоставления услуг пользовательского доступа, системы FBWA широко используются в качестве беспроводных городских сетей для предоставления транспортных услуг (например, для подключения базовых станций к коммутаторам мобильных сетей связи).
Сравнительная оценка надежности защиты информации в рассмотренных выше системах доступа к информационным ресурсам локальных сетей показывает, что предпочтение в выборе способа обеспечения информационной безопасности следует отдать современным системам FBWA, которые обладают большой перспективой своего развития, приемлемой стоимостью и частотной легитимностью. Поэтому уделим дальнейшее внимание в дипломной работе рассмотрению этой системы FBWA.
1.2 Оценка организации радиоинтерфейса системы FBWA
Полосы частот для систем FBWA являются легитимными, так как определены международным Регламентом радиосвязи, а в России – «Таблицей распределения полос частот между радио службами Российской Федерации в диапазонах частот от 3 кГц до 400 ГГц», определяющей также условия использования полос частот в России. Под последними следует понимать три категории полос частот, предназначенных для использования радиоэлектронными системами:
1) преимущественно радиоэлектронные системы правительственного назначения (категория «Правительственная»);
2) преимущественно радиоэлектронные системы гражданского назначения (категория «Гражданские»);
3) совместно радиоэлектронные системы правительственного и гражданского назначения (категория «Совместное использование»).
Выделением полос частот для эксплуатации различных систем FBWA занимается Государственная комиссия по радиочастотам (ГКРЧ), а назначение номиналов частот для эксплуатации каждой конкретной системы производится Главным радиочастотным центром (ГРЧЦ) или его подразделениями.
Современные системы FBWA работают в диапазонах частот 2,4; 3,5; 5; 10,5; 26/28 ГГц, вплоть до 40 ГГц, которые в России относятся к категориям «Правительственным» или «Совместного использования». Кроме того, частотный ресурс в каждом конкретном регионе весьма ограничен. Поэтому оператору, решившему предоставлять услуги с использованием систем FBWA, следует перед выбором оборудования выяснить ситуацию с наличием частотного ресурса в регионе развертывания системы в соответствующем подразделении ГРЧЦ.
Перевод систем FBWA в область более высоких частот связан, с одной стороны, с занятостью низкочастотных диапазонов, особенно в крупных городах, а с другой - с необходимостью обеспечения достаточного частотного ресурса для широкого развития систем данного класса. Так, например, если для систем стандартов IEEE 802.1 lb/g выделен частотный ресурс 83,5 МГц в диапазоне 2,4 ГГц, то для развертывания систем FBWA регулирующие органы Евросоюза в области телекоммуникаций выделили полосу частот 300 МГц в диапазоне 10,5 ГГц и по 2 ГГц - в диапазонах 26/28 ГГц. Для развития особого класса систем фиксированного широкополосного беспроводного доступа, получивших название MWS (Multimedia Wireless System), в диапазоне 40 ГГц выделен частотный ресурс 3 ГГц.
Следует отметить, что при проектировании сетей FBWA, работающих в диапазонах выше 15-20 ГГц, необходимо учитывать влияние атмосферных явлений на качество радиосвязи, а радиус зоны обслуживания одной центральной базовой станции сети при этом не будет превышать нескольких километров.
Узкополосные системы могут устанавливаться в регионах с ограниченным частотным ресурсом, развертывание же широкополосных систем хотя и требует наличия большего частотного ресурса, однако обеспечивает высокую протяженность создаваемой сети доступа.
С точки зрения информационной безопасности по критерию энергетической скрытности следует отдать предпочтение узкополосным сетям FBWA. Что касается обеспечения семантической (смысловой) защиты информации, то целесообразно использовать широкополосный радиоинтерфейс, применение которого позволяет кодировать передаваемую информацию.
1.3 Оценка тактико-технических характеристик системы FBWA
Радиус зоны обслуживания ЦС в большой степени зависит от диапазона частот, в котором работает данное оборудование, и от вида используемой в системе модуляции. Для систем FBWA, работающих в диапазонах 2,4 и 3,5 ГГц, радиус зоны обслуживания составляет 15-20 км, а в диапазоне 26/28 ГГц он уменьшается до 3-5 км. Таким образом, если для предоставления услуг доступа на достаточно обширной территории оператор планирует использовать оборудование, работающее в более высокочастотном диапазоне, то затраты на организацию сети увеличатся в связи с необходимостью установки нескольких ЦС. В то же время такая есть будет обладать высокой масштабируемостью и оператору будет проще получить разрешение на частоты для эксплуатации оборудования.
Потенциальная емкость современных систем FBWA (то есть максимальное количество ТС, которые может обслужить одна ЦС) достигает 1000 ТС и более. Однако реальная емкость сети оператора на базе систем FBWA будет зависеть от целого ряда факторов: метода доступа; используемой в радиотракте сетевой технологии; способов предоставления каналов и т.д., а в первую очередь - от вида предоставляемых услуг. При предоставлении только транспортных услуг на базе выделенных линий количество ТС будет полностью определяться пропускной способностью системы и предоставляемых в аренду выделенных линий. В случае предоставления оператором преимущественно услуг телефонии емкость системы зависит от пропускной способности системы, типа применяемого кодека, средней телефонной нагрузки и процента отказов в обслуживании вызовов. Если же абонентами сети доступа будут преимущественно пользователи услуг передачи данных, то при определении емкости сети необходимо ориентироваться на согласованную скорость передачи (CIR), которая указывается в соглашении об уровне обслуживания (SLA), заключаемом между оператором и пользователями сети доступа.
При построении сетей на базе систем FBWA необходимо также учитывать, что зачастую заявляемые производителями скорости в несколько десятков мегабит в секунду являются не пропускной способностью системы, а скоростью передачи информации в радиотракте. Реальная же пропускная способность зависит, в частности, от используемого метода доступа и от числа обслуживаемых пользователей.
1.4 Характеристики стандарта серии 802.11
Стандарт имеющий название IEEE 802.11, разработан на базе стандарта Ethernet для локальных сетей и является его полным аналогом. Существуют три основные схемы работы пользователей, использующих оборудование данного типа: «точка-точка», «звезда», «все с каждым».
«Точка-точка». Этот тип соединения наиболее часто применяется для организации постоянного соединения между двумя удаленными абонентами. В этом случае важна не мобильность абонентов, а надежность при передаче данных. Поэтому, как правило, оборудование устанавливается стационарно. Использование узконаправленных антенн и усилителей позволяет в отдельных случаях обеспечивать устойчивую связь на расстоянии свыше 50 километров. Подобное решение идеально подходит для магистральных линий с малой загруженностью и корпоративных сетей (связь между двумя локальными сетями, расположенными в удаленных офисах).
«Звезда». Используется при подключении как стационарных, так и мобильных абонентов. Принцип построения такой сети очень схож с принципами построения сотовой сети. В качестве базовой станции («соты») используется оборудование с широконаправленной (круговой) антенной (угол горизонтального обзора 360 градусов). На стороне абонента в зависимости от степени мобильности используется либо узконаправленная, либо широконаправленная антенна.
«Все с каждым». Такое решение чаще всего применяется внутри зданий для организации локальной сети, абоненты которой не привязаны к своим рабочим местам. Каждая станция оснащается всенаправленной антенной, позволяющей поддерживать связь с каждым из абонентов в радиусе 200 метров. Помимо обеспечения свободы передвижения, данное решение позволяет избежать расходов на развертывание кабельной инфраструктуры внутри здания.
Оборудование стандарта 802.11 делится на различные категории по трем признакам: дальность, метод и скорость передачи.
Каждое приемо-передающее устройство, работающее на радиоволнах, занимает определенный участок радиоспектра. Каждый такой диапазон характеризуется центральной частотой, которая также называется «несущей», и шириной диапазона. Дальность работы напрямую зависит от несущей частоты диапазона. Чем выше частота, тем более прямолинейно распространяется радиоволна. Отсюда ясно, что оборудование, работающее на больших частотах, наиболее эффективно используется в условиях прямой видимости. Для передачи на большие расстояния имеет смысл использовать более низкочастотное оборудование, позволяющее огибать предметы, препятствующие распространению сигнала.
Скорость передачи данных зависит от ширины полосы и не зависит от несущей частоты. Таким образом, неважно, в каком месте радиоспектра располагается канал - скорость будет одинаковой. Использование более высокой несущей частоты позволяет увеличить количество одновременно работающих каналов. Существующее на сегодняшний день оборудование работает в двух диапазонах: 915 МГц и 2,4 ГГц.
1.5 Методы передачи данных
Стандарт 802.11 предусматривает использование двух методов передачи данных. Один из них получил название Direct Sequence Spread Spectrum (DSSS) - «метод прямой последовательности», а другой - Frequency Hopping Spread Spectrum (FHSS) - «метод частотных скачков». Оба эти метода используют принцип широкополосной передачи сигнала.
Технология DSSS. При потенциальном кодировании информационные биты — логические нули и единицы - передаются прямоугольными импульсами напряжений. Прямоугольный импульс длительности T имеет спектр, ширина которого обратно пропорциональна длительности импульса. Поэтому чем меньше длительность информационного бита, тем больший спектр занимает такой сигнал.
Для преднамеренного уширения спектра первоначально узкополосного сигнала в технологии DSSS в каждый передаваемый информационный бит (логический 0 или 1) в буквальном смысле встраивается последовательность так называемых чипов. Если информационные биты - логические нули или единицы - при потенциальном кодировании информации можно представить в виде последовательности прямоугольных импульсов, то каждый отдельный чип - это тоже прямоугольный импульс, но его длительность в несколько раз меньше длительности информационного бита. Последовательность чипов представляет собой последовательность прямоугольных импульсов, то есть нулей и единиц, однако эти нули и единицы не являются информационными. Поскольку длительность одного чипа в n раз меньше длительности информационного бита, то и ширина спектра преобразованного сигнала будет в n-раз больше ширины спектра первоначального сигнала. При этом и амплитуда передаваемого сигнала уменьшится в n раз.
Чиповые последовательности, встраиваемые в информационные биты, называют шумоподобными кодами (PN-последовательности), что подчеркивает то обстоятельство, что результирующий сигнал становится шумоподобным и его трудно отличить от естественного шума.
Как уширить спектр сигнала и сделать его неотличимым от естественного шума, понятно. Для этого, в принципе, можно воспользоваться произвольной (случайной) чиповой последовательностью. Однако, возникает вопрос: а как такой сигнал принимать? Ведь если он становится шумоподобным, то выделить из него полезный информационный сигнал не так то просто, если вообще возможно. Оказывается, возможно, но для этого нужно соответствующим образом подобрать чиповую последовательность. Используемые для уширения спектра сигнала чиповые последовательности должны удовлетворять определенным требованиям автокорреляции. Под термином автокорреляции в математике подразумевают степень подобия функции самой себе в различные моменты времени. Если подобрать такую чиповую последовательность, для которой функция автокорреляции будет иметь резко выраженный пик лишь для одного момента времени, то такой информационный сигнал возможно будет выделить на уровне шума. Для этого в приемнике полученный сигнал умножается на ту же чиповую последовательность, то есть вычисляется автокорреляционная функция сигнала. В результате сигнал становится опять узкополосным, поэтому его фильтруют в узкой полосе частот и любая помеха, попадающая в полосу исходного широкополосного сигнала, после умножения на чиповую последовательность, наоборот, становится широкополосной и обрезается фильтрами, а в узкую информационную полосу попадает лишь часть помехи, по мощности значительно меньшая, чем помеха, действующая на входе приемника (рис. 1.1).

Рис. 1.1 Использование технологии уширения спектра позволяет предавать данные на уровне естественного шума
Метод DSSS использует всю полосу одновременно, разбивая ее на 11 одинаковых полос. Сигнал передатчика кодируется таким образом, что каждый бит передаваемой информации преобразуется в последовательность из 11 бит. После чего эта последовательность передается параллельно и одновременно по всем 11 полосам. Приемник, получивший эту последовательность, производит обратное преобразование сигнала. Каждая пара «передатчик-приемник» использует свой алгоритм кодирования, исключающий перехват сигнала другим приемником.
Первое достоинство данного метода заключается в надежной защите передаваемой информации. Вероятность совпадения схем кодирования двух разных устройств практически исключена. Расшифровать же такой сигнал, не зная алгоритма, невозможно.
Второе достоинство состоит в том, что благодаря одиннадцатикратной избыточности информации для передачи сигнала можно использовать маломощную аппаратуру. При этом нет необходимости использовать дорогостоящие усилители или изменять конструкцию антенн. Кроме того, «размазывание» сигнала приводит к тому, что отношение сигнала к шуму становится близким к единице. С точки зрения узкополосной аппаратуры такой сигнал практически не отличается от шума (отсюда произошло второе название - «метод шумоподобного сигнала»). В свою очередь, узкополосная аппаратура не влияет на DSSS, поскольку частичная потеря информации на одной или нескольких полосах не портит сигнал из-за избыточности передаваемой информации. Это позволяет одновременно использовать в одном диапазоне узкополосную и DSSS-аппаратуру.
Технология FHSS. Метод частотных скачков использует полосу по-иному. Весь диапазон, отведенный для передачи, согласно стандарту 802.11 делится на 79 каналов. Передатчик использует в единицу времени только один из этих каналов, переключаясь между ними согласно заложенному в него алгоритму. Частота таких «скачков» стандартом не определена и варьируется в зависимости от того, в какой стране используется данное оборудование. В свою очередь, приемник синхронно совершает такие же «скачки», используя ту же «случайную» последовательность, что и передатчик. Случайная последовательность является уникальной для каждой пары передатчик приемник.
В отличие от метода прямой последовательности метод FHSS имеет два существенных недостатка. Первый из них заключается в том, что при достаточно большом числе одновременных сеансов работы резко увеличивается вероятность коллизии. Это обусловлено конечным числом каналов и узкополосностью передаваемого в единицу времени сигнала. Два различных сигнала, столкнувшись на одной частоте, заглушат друг друга и инициируют повторную передачу на следующем скачке. Поэтому помехозащищенность реализуется за счет уменьшения пропускной способности. Второй недостаток - создание помех для узкополосной аппаратуры, что в ряде случаев делает невозможным их совместное использование. Это обстоятельство резко сужает круг возможных применений. Аппаратура FHSS, как правило, используется в закрытых помещениях либо на небольшой территории (исключение составляет случай, когда необходимо организовать соединение «точка-точка»).
1.6 Защита информации на основе применения методов частотной модуляции и кодирования (стандартов EEE 802.11)
На сегодняшний день существуют следующие разновидности данного стандарта построения беспроводных локальных сетей IEEE 802.11 a/b/g .
Стандарт IEEE 802.11, принятый в1997 г., стал первым стандартом данного семейства. Он предусматривает использование диапазона частот 2,4 ГГц, а также технологии расширения спектра скачкообразной сменой частоты (Frequency Hopping Spread Spectrum или технологии расширения спектра по методу прямой последовательности. [Direct Sequence Spread Spectrum DSSS. Стандарт IEEE 802.11 обеспечивает пропускную способность до 2 Мбит/с в расчете на одну точку доступа.
Стандарт IEEE 802.11,а предусматривает использование нового, не требующего лицензирования частотного диапазона 5 ГГц и модуляции по методу ортогонального мультиплексирования с разделением частот [Orthogonal Frequency Domain Multiplexing [OFDM]). Применение этого стандарта позволяет увеличить скорость передачи в каждом канале с 11 Мбит/с до 54 Мбит/с. При этом одновременно может быть организовано до восьми непересекающихся каналов (или точек присутствия), а не три, как в диапазоне 2,4 ГГц. Продукты стандарта IEEE 802.11 а (сетевые адаптеры NIC и точки доступа) не имеют обратной совместимости с продуктами стандартов 802.11 и 802.11 Ь, так как они работают на разных частотах.
Стандарт IEEE 802.11,Ь был принят в 1999 г. в развитие принятого ранее стандарта IEEE 802.11. Он также предусматривает использование диапазона частот 2,4 ГГц, но только с модуляцией DSSS. Данный стандарт обеспечивает пропускную способность до 11 Мбит/с в расчете на одну точку доступа.
Продукты стандарта IEEE 802.11,b, поставляемые разными изготовителями, тестируются на совместимость и сертифицируются организацией Wireless Ethernet Compatibility Alliance (WECA), которая в настоящее время больше известна под названием Wi-Fi Alliance. Совместимые беспроводные продукты, прошедшие испытания по программе «Альянса WH», могут быть маркированы знаком Wi-Fi.
В настоящее время ЕЕЕ 802.11,b это самый распространенный стандарт, на базе которого построено большинство беспроводных локальных сетей.
В дипломной работе рассмотренный стандарт ЕЕЕ 802.11,b для обеспечения безопасности информации в локальной сети предлагается в качестве перспективной информационной технологии.
Стандарт IEEE 802.11,g был утвержден в октябре 2002 г. Этот стандарт предусматривает использование диапазона частот 2,4 ГГц, обеспечивая скорость передачи 54 Мбит/с и превосходя, таким образом, ныне действующий стандарт 802.11b. Кроме того, он гарантирует обратную совместимость со стандартом 802.11b. Обратная совместимость стандарта IEEE 802.11g может быть реализована в режиме модуляции DSSS, и тогда скорость передачи будет ограничена одиннадцатью мегабитами в секунду либо в режиме модуляции OFDM, при котором скорость составляет 54 Мбит/с. Таким образом, данный стандарт является наиболее приемлемым при построении беспроводных сетей.
Стандарт IEEE 802.11,,g является логическим развитием стандарта 802.11b/b+ и предполагает передачу данных в том же частотном диапазоне, но с более высокими скоростями. Кроме того, стандарт 802.11,g полностью совместим с 802.11,b, то есть любое устройство 802.11,g должно поддерживать работу с устройствами 802.11,b. Максимальная скорость передачи в стандарте 802.11,g составляет 54 Мбит/с.
При разработке стандарта 802.11,g рассматривались несколько конкурирующих технологий: метод ортогонального частотного разделения OFDM и метод двоичного пакетного сверточного кодирования PBCC.
В протоколе 802.11g предусмотрена передача на скоростях 1, 2, 5,5, 6, 9, 11, 12, 18, 22, 24, 33, 36, 48 и 54 Мбит/с. Некоторые из данных скоростей являются обязательными, а некоторые – опциональными. Кроме того, одна и та же скорость может реализовываться при различной технологии кодирования. Ну и как уже отмечалось, протокол 802.11g включает в себя как подмножество протоколы 802.11b/b+.
Технология кодирования PBCC опционально может использоваться на скоростях 5,5; 11; 22 и 33 Мбит/с. Вообще же в самом стандарте обязательными являются скорости передачи 1; 2; 5,5; 6; 11; 12 и 24 Мбит/с, а более высокие скорости передачи (33, 36, 48 и 54 Мбит/с) — опциональными.
Отметим, что для обязательных скоростей в стандарте 802.11g используется только кодирование CCK и OFDM, а гибридное кодирование и кодирование PBCC является опциональным.
Для передачи на более высоких скоростях используется квадратурная амплитудная модуляция QAM (Quadrature Amplitude Modulation), при которой информация кодируется за счет изменения фазы и амплитуды сигнала. В протоколе 802.11g используется модуляция 16-QAM и 64-QAM. В первом случае имеется 16 различных состояний сигнала, что позволяет закодировать 4 бита в одном символе. Во втором случае имеется уже 64 возможных состояний сигнала, что позволяет закодировать последовательность 6 бит в одном символе. Модуляция 16-QAM применяется на скоростях 24 и 36 Мбит/с, а модуляция 64-QAM — на скоростях 48 и 54 Мбит/с.
Для доступа к информационным ресурсам сети используется метод CSMA/CA (Carrier Sense Multiple Acsses Collision Avoidance) – множественный доступ с контролем несущей и предотвращением коллизий. Перед началом передачи устройство слушает эфир и дожидается, когда канал освободится. Канал считается свободным при условии, что не обнаружено активности в течении определенного промежутка времени – между кодового интервала определенного типа. Если в течении этого промежутка канал оставался свободным, устройство ожидает еще в течении случайного промежутка времени и если еще канал не занят начинает передавать пакет.
1.7 Оценка алгоритма обеспечения конфиденциальности передаваемых сообщений
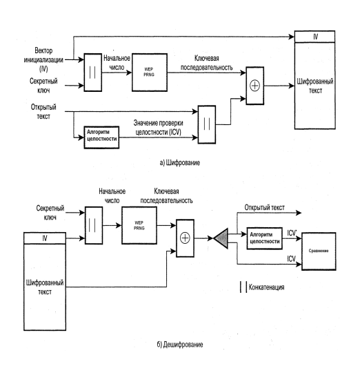
В беспроводной локальной сети вопрос прослушивания имеет особую важность. Для обеспечения современного уровня безопасности стандарт IEEE 802.11 включает схему WEP. Для обеспечения конфиденциальности (а также целостности данных) используется алгоритм, основанный на шифровании и дешифровании RC4.
На рис.1.2. представлена структурная схема, поясняющая процесс шифрования и дешифрования передаваемой информации.
Из рис.1.2. следует, что алгоритм обеспечения целостности – это простая 32-битовая последовательность циклической проверки четности с избыточностью (CRC), присоединяемая к концу кадра MAC.
Для процесса шифрования 40-битовый секретный ключ делится между двумя сообщающимися сторонами. К секретному ключу присоединяется вектор инициализации (IV). Получившийся блок – это начальное число генератора псевдослучайной последовательности (PRNG), определенного в RC4. Генератор создает последовательность битов, длина которой равна длине кадра MAC плюс CRC.
Рис.1.2. Структурная схема, поясняющая алгоритм шифрования
Побитовое применение операции исключающего ИЛИ к кадру MAC и псевдослучайной последовательности дает шифрованный текст. К данному тексту присоединяется вектор инициализации, и результат шифрования передается. Вектор инициализации периодически меняется (при каждой новой передаче), следовательно, меняется и псевдослучайная последовательность, что усложняет задачу расшифровки перехваченного текста.
После получения шифрованного сообщения (рис.1.2, б) приемник извлекает вектор инициализации и присоединяет его к совместно используемому секретному ключу, после чего генерирует ту же псевдослучайную последовательность, что и источник на передающей стороне. К полученному таким образом ключу и поступившим данным побитово применяется операция исключающего ИЛИ, результатом которой является исходный передаваемый текст.
Таким образом, если взять исходный текст, применить к нему операцию ключевой последовательности и операцию исключающего ИЛИ, а затем применить операцию исключающего ИЛИ к полученному результату и к той же ключевой последовательности, то в итоге получится исходный текст.
На заключительной операции приемник сравнивает поступившую последовательность CRC и последовательность CRC, вычисленную по восстановленным данным: если величины совпадают, данные считаются неповрежденными.
Оценим, как происходит сравнение одинаковости понимания сообщения на передающей и на приемной стороне при кодировании (искажении) передаваемого сигнала, то есть оценим процесс аутентификации.
Стандарт IEEE 802.11 предлагает два типа аутентификации: «открытая система» и «общий ключ».
Аутентификация открытых систем просто позволяет двум сторонам договориться о передаче данных без рассмотрения вопросов безопасности. В этом случае одна станция передает другой управляющий кадр MAC, именуемый кадром аутентификации. В данном кадре указывается, что имеет место аутентификация открытых систем. Другая сторона отвечает собственным кадром аутентификации и процесс завершен. Таким образом, при аутентификации открытых систем стороны просто обмениваются информацией о себе.
Аутентификация с общим ключом требует, чтобы две стороны совместно владели секретным ключом, не доступным третьей стороне. Процедура аутентификации между двумя сторонами, А и В, выглядит следующим образом:
cторона А посылает кадр аутентификации, в котором указан тип "общий ключ" и идентификатор станции, определяющий станцию-отправителя;
сторона В отвечает кадром аутентификации, который включает 128-октетный текст запроса. Текст запроса создается с использованием генератора случайных чисел WEP. Ключ и вектор инициализации, используемые при генерации текста запроса, не важны, поскольку далее в процедуре они не используются;
cторона А передает кадр аутентификации, который включает полученный от стороны В текст запроса. Кадр шифруется с использованием схемы WEP.
Сторона В получает зашифрованный кадр и дешифрует его, используя WEP и секретный ключ, которым владеют стороны А и В. Если дешифрование прошло успешно (совпали CRC), сторона В сравнивает принятый текст запроса с текстом, который был послан на втором этапе процедуры.Принцип взаимодействия сторон при аутентификации представлен на рисунке 1.3.

Рис.1.3. Механизм проведения процедуры аутентификации
Таким образом, проанализированы перспективные технологии построения абонентской части локальной сети с учетом организационных и технических мероприятий по защите информации в сети.
Выводы по разделу:
В результате анализа перспективных технологий построения абонентской части сети с учетом известных организационных и технических мероприятий по защите информации в сети можно сформулировать следующие выводы:
1. Существующие стандарты радиодоступа к информационным ресурсам сети достаточно хорошо проработаны и существует их множество фактических реализаций (действующих образцов).
2. Наиболее перспективной технологией построения абонентской части локальной сети является стандарт IEEE 802.11, который обладает целым рядом достоинств, а именно:
- высокая оперативность развертывания сети;
- наличие технической возможности обеспечить надежную защиту информации в сети;
- возможность поэтапного (постепенного) развития сети, начиная с минимальной конфигурации;
- сравнительно низкие затраты на эксплуатацию;
- высокая пропускная способность;
- высокая помехозащищенность;
- минимальная стоимость;
- широкая инфраструктура;
- наличие возможности масштабирования.
3. Выявленные недостатки известных информационных технологий построения абонентской части локальной сети не позволяют останавливаться на известных достигнутых результатах и побуждают на дальнейшее исследование в дипломной работе в направлении разработки локальной сети с беспроводным доступом к ее информационным ресурсам, используя перспективные технологии защиты информации.
2. Выбор оборудования, для перспективных технологий СПД
2.1 Выбор передающей среды
Зачастую перед разработчиками и создателями корпоративных сетей передачи информации стоит задача выбора передающей среды.
В качестве передающей среды могут использоваться следующие:
- медный кабель;
- волокно – оптический кабель;
- радиоканал;
- оптический канал;
- лазерный канал.
Выбор передающей среды обусловлен, как правило, требованиями, предъявляемыми к сети доступа корпоративной системе передачи данных:
- сеть должна быть недорогой;
- сеть должна иметь широкую инфраструктуру;
- иметь возможность к масштабированию.
Зачастую сеть доступа не может быть расширена, за счет проводных сетей по целому ряду причин:
1) проблема прокладки кабеля, которая приводит к высокой стоимости сети;
2) высокая стоимость работ;
3) отсутствие телефонных линий.
В этом случае задача может быть решена за счет использования систем фиксированного широкополосного радиодоступа. Передача данных по радиоканалу во многих случаях надёжнее и дешевле, чем передача по коммутируемым или арендованным каналам, и особенно по каналам сотовых сетей связи. В ситуациях, в связи с отсутствием развитой инфраструктуры связи, использование радиосредств для передачи данных часто является единственно разумным вариантом организации связи.
Сеть передачи с использованием радиомодемов может быть развёрнута практически в любом географическом регионе. В зависимости от используемых радиостанций такая сеть может обслуживать своих абонентов в зоне радиусом от единиц до сотен километров. Огромную практическую ценность радиомодемы имеют там, где необходима передача небольших объёмов информации (документов, справок и т.д.).
Радиомодемы часто называют пакетными контроллерами (TNC - Terminal Node Controller) по причине того, что в их состав входит спец. контроллер, осуществляющий обмен данными с компьютером, управление форматирование кадров и доступом к общему радиоканалу в соответствии с реализованным методом множественного доступа. Радиомодемы ориентированы для работы в едином радиоканале со многими пользователями (в канале множественного доступа), а не в канале "точка - точка" (модем для коммутируемых линий).
Факторы, служащие основой для распространения радиосетей.
1. Гибкость конфигурации. Все беспроводные сети поддерживают как режим инфраструктуры (подключение через точку доступа) так и режим "равный с равным" (без применения точки доступа). Можно добавлять новых пользователей и устанавливать новые узлы сети в любом месте. Беспроводные сети могут быть установлены для временного использования в помещениях, где нет инсталлированной кабельной сети или если прокладка сетевых кабелей затруднена.
2. Простота расширения сети. Беспроводные рабочие станции могут добавляться без ухудшения производительности сети. Перегрузки сети трафиком можно легко избежать добавлением точки доступа для сокращения времени отклика сети.
3. Беспроводной доступ в Интернет. К точке доступа можно подключить маршрутизатор. Данная схема привлекательна тем, что беспроводные пользователи могут разделять общий доступ в Интернет.
4. Поддержка роуминга. Благодаря поддержке роуминга между точками доступа пользователи могут продолжать работать с ресурсами сети даже во время перемещения.
5. Передающая среда. В среде IEEE 802.11b распространяется с помощью маломощного шумоподобного сигнала, имея более десятка частотных каналов шириной 22 MГц в области 2,4 ГГц.
Щадящие режимы эксплуатации позволяют использовать частотный ресурс весьма интенсивно. Характер сигнала позволяет устанавливать связь на дальности до 110 км при наличии не только прямой оптической видимости между конечными точками, но и при отсутствии преград в области так называемой первой зоны Френеля. В условиях разновысотной застройки, снежно-дождливого климата, об официальной регистрации связи на дальность более 5 км говорить можно, но нужно очень серьезно отнестись к выбору оборудования. На таких расстояниях в городах применяется каналообразующее оборудование. Cтандарт 802.11, являются своеобразным прорывом в области беспроводных сетей.
Можно выделить три принципиальных преимущества этих технологий над кабельными сетями:
1) невозможность подсоединения подвижных (иначе, мобильных) абонентов является принципиально непреодолимым ограничением чисто кабельных сетей (т.е. сетей, использующих кабели и на сетевых магистралях, и для подсоединения абонентов). Это ограничение относится к любому виду коммуникаций - как к обычной телефонной и факсимильной связи, так и к передачам данных. Фактор мобильности радиосетей приобретает первостепенное значение, когда пользователь не имеет возможности подключения к обычной проводной сети и должен перемещаться в пределах определенного района;
2) Другое преимущество беспроводных сетей имеет не технологический а экономический характер - фактор удаленности. Оно касается подсоединения удаленных абонентов к сети. Это могут быть абоненты, разбросанные по обширной, малонаселенной или труднодоступной территории, либо сгруппированные в удаленном пункте. В таких случаях протягивать кабель не всегда экономически целесообразно;
3) Наконец, третий фактор специфичен для стран с бурно развивающейся экономической деятельностью и отстающими в развитии телефонными сетями общего пользования. К этой категории можно отнести и нашу республику. Фактор срочности выражается в том, что надежные коммуникации нужны сейчас, немедленно, а для прокладки кабельной сети требуются колоссальные инвестиции и длительное время.
2.2 Режимы работы
В режиме Ad Hoc рис.2.1. станции непосредственно взаимодействуют друг с другом. Для этого режима требуется минимум оборудования: каждая станция должна быть оснащена беспроводным адаптером.

Рис.2.1 Режим работы Ad Hoc
При такой конфигурации не требуется создания сетевой инфраструктуры. Основным недостатком режима Ad Hoc является ограниченный диапазон действия возможной сети и невозможность подключения к внешней сети (например, к Интернету).
В заключение нашего обзора физического уровня стандартов 802.11a, 802.11b и 802.11g, рассмотрим базовые архитектуры беспроводных сетей. В режиме Infrastructure Mode рис.2.2. станции взаимодействуют друг с другом не напрямую, а через точку доступа (Access Point), которая выполняет в беспроводной сети роль своеобразного концентратора (аналогично тому, как это происходит в традиционных кабельных сетях). Рассматривают два режима взаимодействия с точками доступа - BSS (Basic Service Set) и ESS (Extended Service Set). В режиме BSS все станции связываются между собой только через точку доступа, которая может выполнять также роль моста к внешней сети.

Рис.2.2 Режим работы Infrastructure Mode
В расширенном режиме ESS рис.2.3 существует инфраструктура нескольких сетей BSS, причём сами точки доступа взаимодействуют друг с другом, что позволяет передавать трафик от одной BSS к другой. Сами точки доступа соединяются между собой с помощью либо сегментов кабельной сети, либо радиомостов.

Рис.2.3 Расширенном режиме ESS
Для доступа к среде передачи данных в беспроводных сетях применяется метод коллективного доступа с обнаружением несущей и избежанием коллизий (Carrier Sense Multiple Access / Collision Avoidance, CSMA/CA). Собственно, этот метод даже по своему названию напоминает технологию коллективного доступа, реализованную в сетях Ethernet, где используется метод коллективного доступа с опознанием несущей и обнаружением коллизий (Сarrier-Sense-Multiply-Access With Collision Detection, CSMA/CD). Единственное различие состоит во второй части метода - вместо обнаружения коллизий используется технология избежания коллизии. Перед тем как послать данные в "эфир", станция сначала отправляет специальное сообщение, называемое RTS (Ready To Send), которое трактуется как готовность данного узла к отправке данных. Такое RTS-сообщение содержит информацию о продолжительности предстоящей передачи и об адресате и доступно всем узлам в сети. Это позволяет другим узлам задержать передачу на время, равное объявленной длительности сообщения. Приёмная станция, получив сигнал RTS, отвечает посылкой сигнала CTS (Clear To Send), свидетельствующего о готовности станции к приёму информации. После этого передающая станция посылает пакет данных, а приёмная станция должна передать кадр ACK, подтверждающий безошибочный прием. Если АСК не получен, попытка передачи пакета данных будет повторена. Таким образом, с использованием подобного четырёхэтапного протокола передачи данных реализуется регламентирование коллективного доступа с минимизацией вероятности возникновения коллизий. При развертывании беспроводных сетей и систем СВЧ диапазона необходим расчет радиолиний. Подобный расчет является традиционной радиорелейной задачей, для решения которой требуется знание большого количества исходных данных и профессиональные знания и навыки. В то же время задачи, связанные с предварительной оценкой реализуемости радиолинии, оценкой состава оборудования и возможностей подключения новых абонентов к существующей базовой станции, не требуют полного расчета. Используемая упрощенная методика позволяет решить эти задачи.
Определение дальности связи беспроводных устройств:
1) если усиление избыточно для требуемой дальности, его можно уменьшить до требуемого значения, выбрав более дешевые антенны с меньшим усилением;
2) если усиления тракта недостаточно для обеспечения требуемой дальности, необходимо увеличить его, выбирая антенны с большим усилением, уменьшая длину и, соответственно, затухание коаксиальных кабелей. Если этого оказывается недостаточно, необходимо использование дополнительных усилителей. Для эффективной связи с помощью высокочастотных волн нужно обеспечить беспрепятственную линию прямой видимости между передатчиком и приемником. Возникает вопрос: сколько же пространства вокруг прямого тракта между передатчиком и приемником должно быть свободно от преград? При ответе на него удобно использовать такое понятие, как зоны Френеля. Понятие зон Френеля основано на принципе Гюйгенса, согласно которому каждая точка среды, до которой доходит возмущение, сама становится источником вторичных волн, и поле излучения может рассматриваться как суперпозиция всех вторичных волн. На основе этого принципа можно показать, что объекты лежащие внутри концентрических окружностей, проведенных вокруг линии прямой видимости двух трансиверов, могут влиять на качество как положительно, так и отрицательно. Все препятствия, попадающие внутрь первой окружности, первой зоны Френеля, оказывают наиболее негативное влияние. Рассмотрим точку, находящуюся на прямом тракте рис.2.4. между передатчиком и приемником, причем расстояние от точки до передатчика равно S, а расстояние от точки до приемника равно D, т.е. расстояние между передатчиком и приемником равно S + D.

Рис.2.4. Зона Френеля
Расстояние между двумя трансиверами равно 10 км, а частота несущей - 2,4 ГГц. Тогда радиус первой зоны Френеля в точке, расположенной посередине между трансиверам, равен 17,66 м. Если внутри окружности, радиус которой составляет примерно 0,6 радиуса первой зоны Френеля, проведенной вокруг любой точки между двумя трансиверами, нет никаких преград, то затуханием сигнала, обусловленным наличием преград, можно пренебречь. Одной из таких преград является земля. Следовательно, высота двух антенн должна быть такой, чтобы вдоль тракта не было ни одной точки, расстояние от которой до земли было бы меньше, чем 0,6 первой зоны Френеля.
2.3 Выбор оборудования и экономические затраты
Общеизвестным является тот факт, что при построении проводных сетей затраты на развертывание систем в большинстве случаев составляют немногим менее половины стоимости оборудования, а то и больше. В случае построения системы беспроводного широкополосного радиодоступа как финансовые так и временные затраты на развертывание существенно снижаются за счет быстроты развертывания самой системы, установка компонентов которой занимает в среднем несколько часов, а кроме того существует возможность «переезда» терминалов на другое место. Можно объективно утверждать, что при равном предоставляемом сервисе конкретная технология эффективна тогда, когда рентабельность развертывания сети на её основе оказывается выше рентабельности конкурирующей технологии. По этому критерию технология ВОЛС (которая, как известно, дороже радиотехнологии) хороша там, где существует высокоскоростной коммерческий трафик с раз и навсегда известными точками привязки. Таким свойством, как известно, обладают коммерческие магистральные сети. Средняя стоимость прокладки ВОЛС в РФ ~ $3500 на км. По Москве этот показатель достигает $10000 на км. Практически во всех случаях дистанций средней длинны (т. е. от 3 до 15 км) более эффективной оказывается радиотехнология, если только ей не противостоят особые технические требования Заказчика. Ориентировочные стоимости работ и оборудования, а также время, необходимое для развертывания различных сетей приведены в таблице с 2.1. по 2.4.:
Таблица 2.1
Характеристики кабелей
|
Тип канала |
Ориентировочная стоимость |
Время на подготовку и проведение монтажа |
|
Медный кабель |
300-500$ по существующей канализации, иначе 2-8 тыс. долл. за 1 км |
Подготовка работ и прокладка: до 1 месяца (без канализации); установка HDSL-модемов: несколько часов |
|
Волоконно-оптический кабель |
500-1000$ по существующей канализации, иначе 5-10 тыс. долл. за 1 км |
Подготовка работ и прокладка: 2-4 месяца (без канализации) |
|
Оптический канал |
2-4 тыс. долл. за комплект |
Подготовка монтажа: 2-3 дня; установка: 2-3 часа |
|
Лазерный канал |
12-22 тыс. долл. за комплект |
Подготовка работ: 1-2 недели; установка: несколько часов |
Разрешение необходимо получить только на базовое оборудование. Терминалы в зоне покрытия базовой станции, могут устанавливаются без получения дополнительных разрешений. Как правило, системные интеграторы, проводящие работы по развертыванию системы оказывают заказчику консультационную помощь, которая помогает получить частотные назначения в кратчайшие сроки.
Рассмотрим решение организации беспроводных сетей на основе оборудования компаний :D-Link, 3Com.
Таблица 2.2
Стоимость оборудования
Производитель |
Название изделия |
Сертификат Минсвязи |
Общие характеристики систем |
Интерфейсы с сетью и оборудованием пользователя |
Характеристики радиоинтерфейс |
Цена |
|
D-Link |
DWL-7100AP |
Приложение 1 к решению ГКРЧ от 29.10.2001 №13/2 |
Скорость соединения до 108 Мбит/с, метод доступа CSMA/CA, однавременная поддержка 128 пользователей, поддержка стандартов 802.11 а/b/g |
10/100 BaseT Ethernet, RJ-45 |
Диапазон частот: 802.11b/g 2,4ГГц до2,4835 ГГц, типы модуляции BPSK, QPSK, 16QAM, DSSS, CKK |
2480 |
|
3Com |
3Com Office Connect Wireless |
802.11g-54 Mбит/с 802.11 b- 11Мбит/с CSMA/CA дольность действия 100 м однавременная поддержка 128 пользователей |
10/100BaseT, |
802.11b/g 2,4ГГц до2,4835 ГГц, типы модуляции BPSK, QPSK, 16QAM, DSSS, CKK |
3870 |
Характеристики антенн
Производитель |
Название изделия |
Сертификат Минсвязи |
Общие характеристики систем |
Интерфейсы с сетью и оборудованием пользователя |
Характеристики радиоинтерфейса |
Цена |
|
D-Link |
ANT24-1801 |
Приложение 1 к решению ГКРЧ от 29.10.2001 №13/2 |
усиление 24Дби поляризация линейная, вертикальная дальность действия до 12 км при скорости 2 Мбит/с |
SMA разъем |
Диапазон частот 2,4-2,5 |
2450 |
|
3Com Office Connect Wireless |
3Com |
усиление 18Дби поляризация линейная, вертикальная, дальность действия до 3 км при скорости 6 Мбит/с |
SMA разъем |
2,4ГГц до2,4835 ГГц, |
3570 |
Таблица 2.4
Характеристики беспроводных карт
Производитель |
Название изделия |
Сертификат Минсвязи |
Общие характеристики систем |
Характеристики радиоинтерфейса |
Цена |
Дополнительные характеристики |
|
D-Link |
DWL 546 PCI |
Приложение 1 к решению ГКРЧ от 29.10.2001 №13/2 |
CSMA/CA, поддержка стандартов 802.11 а/b/g |
Диапазон частот: 802.11b/g 2,4ГГц до2,4835 ГГц, типы модуляции BPSK, QPSK, 16QAM, DSSS, CKK 802.11b/g 2,4ГГц до2,4835 ГГц, типы модуляции BPSK, QPSK, 16QAM, DSSS, CKK |
670 |
|
|
3Com Office Connect Wireless |
3Com Wireless 11a/b/g PCI Adapter |
Поддержка всех трех существующих стандартов, передача данных 54 |
1350 |
В настоящий момент лидером в производстве беспроводного оборудования является линия продуктов компании D-Link, компания выпускает новое семейство беспроводных устройств, работающих в новом стандарте IEEE 802.11g и развивающих за счет ряда нововведений (согласно спецификации) не только скорость 54 Мбит/с, но и рекордную 100 Мбит/с (напомним, что речь идет о канальной скорости, или теоретической пропускной способности, - реальная сетевая скорость в несколько раз ниже). Новая линейка устройств включает PCI- и PCMCIA-адаптеры, многофункциональную точку доступа, а также совмещенную в одном устройстве беспроводную точку доступа и маршрутизатор.
Устройство выполнено в виде стандартного PCI-адаптера. Антенна используется стандартная, как и для предыдущего семейства беспроводных устройств. Следует отметить, что возможность замены антенны является несомненным плюсом, так как при значительном удалении от беспроводной точки доступа или слабом сигнале есть возможность использовать антенны с повышенным коэффициентом усиления сигнала или направленные антенны.
Спецификация беспроводной сетевой карты DWL-546 PCI представлена в таблице 2.5.
Таблица 2.5.
Спецификация беспроводных карт
|
Стандарты и спецификации |
Совместимость с PCI 2.1/2.2 |
|
Функции защиты |
- Шифрование по технологии WEP 64/128/256 бит;
- Отключение ESSID (ИД зоны
обслуживания) широковещательной
передачи; - Технология WPA (Wi-Fi Protected Access). |
|
Типы модуляции |
BPSK, QPSK, CCK, PBCC и OFDM |
|
Радиочасть |
IEEE 802.11g 54 Мбит/с |
|
Выходная мощность радиопередачи |
от +16 до 18 дБм |
|
Частотный диапазон |
2400 ~ 2472 МГц для Европы |
|
Радиотехнология |
Технология Direct Sequence Spread Spectrum |
|
Скорости передачи данных, Мбит/с |
1, 2, 5,5, 6, 11, 12, 22, 24, 36, 48, 54 (с автоматическим снижением скорости) |
|
Тип антенны |
Съемная поворотная антенна типа <диполь> с разъемом SMA обратной полярности (высота 16,03 см) |
Серверная часть включает в себя два устройства - многофункциональную точку доступа, а также совмещенную в одном устройстве беспроводную точку доступа и маршрутизатор.
DWL-7100AP. Устройства предназначены для развертывания беспроводных сетей класса "инфраструктура" стандарта 802.11g на скоростях ранее недоступных для радиосетей. Точка доступа обладают богатыми средствами администрирования, управления и позволяют без дополнительных усилий предоставить доступ мобильным пользователям.
DWL-7100AP это профессиональная групповая точка доступа и представляет собой пять продуктов в одном: скорость D-Link DWL-7000AP в различных режимах составиляет от 19,66 Мбит/с до 27,56 Мбит/с. Имеет:
- групповой пункт доступа - базовая беспроводная станция;
- мост - линия между двумя сетями;
- несколько мостов - линии между несколькими сетями;
- клиент - предоставляет возможность беспроводного доступа к любому устройству Ethernet;
- повторитель - расширяет диапазон беспроводных сетей.
Сзади устройства традиционно располагаются разъемы:
1) Коннектор для подключения первой антенны;LAN-порт 10/100 Мбит/с для подключения к проводной локальной сети;COM-порт консоли. Разъем для подключения источника питания;
2) Коннектор для подключения второй антенны. Коннектор служит для подключения внешней антенны, если необходимо провести объединение сетей находящихся на значительных расстояниях ( 7 – 50 км ).
Маршрутизатор имеет сетевые порты 10/100 Мбит/с - LAN1-LAN4, WAN-порт 10/100 Мбит/с;
Спецификация точки доступа DWL-7100AP представлена в таблице 2.6.
Таблица 2.6
Спецификация точек доступа
|
Стандарты и спецификации |
- Встроенная функция аутентификации адресов MAC; - Интегрированный групповой пункт доступа Wireless Turbo 54 Мбит/с по стандарту 802.11g; - Один WAN-порт Ethernet RJ-45, 10/100 Мбит/с с автоматическим определением скорости и автоматической коммутацией; - Четыре LAN-порта Ethernet RJ-45, 10/100 Мбит/с с автоматическим определением и коммутацией; - Сервер DHCP (LAN) и клиент (WAN); - Статическое и динамическое выделение IP-адресов; |
|
Функции защиты |
- Интегрированная система безопасности Firewall; - Шифрование по технологии WEP 64/128/256 бит; - Поддержка сетевой аутентификации 802.1x; - Аутентификация адресов MAC (50 MAC-адресов) и беспроводное управление ассоциациями (исключая выходную мощность радиопередачи и чувствительность). |
|
Типы модуляции |
BPSK, QPSK, CCK, PBCC и OFDM |
|
Радиочасть |
Соответствие стандарту беспроводной связи IEEE 802.11g при 54 Мбит/с |
|
Выходная мощность радиопередачи |
от +16 до 18 дБм |
|
Частотный диапазон |
2400 ~ 2472 МГц |
|
Радиотехнология |
Технология Direct Sequence Spread Spectrum (DSSS) |
|
Скорости передачи данных, Мбит/с |
1, 2, 5,5, 6, 11, 12, 22, 24, 36, 48, 54 (с автоматическим снижением скорости) |
|
Поддерживаемые режимы |
- Групповой пункт доступа -Клиент группового пункта доступа -Мост от одной точки к другой -Несколько мостов -Функция повторителя |
Наличие четырех портов встроенного коммутатора является несомненным плюсом, можно использовать маршрутизатор без дополнительных сетевых коммутаторов, в том случае, когда вам необходимо подключить до четырех проводных клиентов сети, либо сочетать их с сегментами беспроводной сети. Если число проводных клиентов значительно, то вы можете использовать маршрутизатор совместно с коммутатором на нужно количество портов, например 24-портовый коммутатор. Данное оборудование оптимальным образом подходит для построения беспроводной части корпоративной сети. Для объединения отдельных частей корпоративной сети находящихся на значительном удалении (от одного до десятков километров) необходимо применят выносные антенны.
Выводы по разделу:
Сделан выбор передающей среды в локальной сети с беспроводным вариантом доступа к ее информационным ресурсам по ряду причин:
- низкая стоимость монтажных работ;
- нет проблем преодоления препятствий, как это имеет место при прокладке кабеля;
- наличие эффективных способов защиты информации частотным кодированием, шифрованием и др.;
- мобильность беспроводной сети позволяет вести эффективную борьбу с агентурными силами конкурентов в магистральных каналах связи и повысить тем самым надежность защиты информации от ее несанкционированного разглашения;
- многофункциональный доступ позволяет повысить разведывательную защищенность сервера и обезопасить информационный ресурс сети от его несанкционированного разглашения.
3. Разработка и построению локальной сети на основе технологии беспроводного радиодоступа
3.1 Разработка и построению абонентской части локальной сети на основе технологии беспроводного радиодоступа D-Link с учетом защиты информации
Как показано в разделе 2 дипломной работы задача разработки локальной сети состоит в выработке предложений по построению абонентской части локальной сети на основе анализа существующего оборудования.
Типовой задачей построения абонентской части локальной сети является задача объединения отдельных объектов информатизации города Серпухова и Серпуховского района, территориально размещенных в зданиях, на удалении от центра управления на расстоянии до 10 км, в единую локальную вычислительную сеть, и подключения этих объектов информатизации к общей сети через терминал, расположенный в центре управления локальной сети.
Рассмотрим типовую локальную вычислительную сеть, проиллюстрированную на рисунке 3.1. На рисунке 3.1. можно с легкостью рассмотреть примерно как происходить соединение сети.
Из рассмотрения рис.3.1 видно, что центр управления сети соединен с объектом информатизации (жилым районом №1) по средствам кабельной сети, другие объекты информатизации (районы) не подключены по причине существующих преград. Прокладка этих кабелей затруднена по причине наличия водных преград (река Нара) и проложенных железнодорожных путей. Успешное разрешение проблемы объединения объектов информатизации (штабов) в единую локальную вычислительную сеть посредствам прокладки кабеля практически не возможна, так как требует чрезмерно высоких экономических затрат, что подтверждает прейскурант цен прокладки кабеля, представленный в таблице 2.1. Решение задачи объединения объектов информатизации (районов) возможна при помощи беспроводных технологий построения локальных сетей.

Рисунок 3.1 Схема типовой локальной вычислительной сети
Решение задачи объединения объектов информатизации в единую локальную вычислительную сеть путем использования беспроводного радиодоступа D-Link, работающего в диапазоне спектра частот 2,400 …2,4835ГГц, позволяет избежать значительных капитальных вложений в инфраструктуру и приобретение лицензий на частоты вещания. Указанный спектр частот 2,400 …2,4835ГГц выделен в настоящее время в РФ под подобные системы.
Преимуществом использования беспроводного радиодоступа D-Link является максимальная простота и удобство в установке и эксплуатации. Не требуется подключения специального программного обеспечения и интеграции с другими вычислительными системами, что исключает возможные осложнения при обеспечении взаимодействия с другими сетями. Нет необходимости в прокладке дополнительных служебных линий связи, или установке радиорелейного оборудования по причине того, что данное оборудование компании D-Link поддерживает возможность обмена данных между базовыми станциями с использованием этой же технологии и на тех же частотах.
Оборудование D-Link спроектировано в соответствии с современными требованиями, предъявляемыми к алгоритмам управления вычислительными системами, содержит встроенные механизмы установки и поддержки при внедрении в вычислительную сеть, обеспечивающие простой и быстрый запуск.
Рассмотрим основные компоненты оборудования D-Link:
1) Access Point Module (AP) - модуль точки доступа, фактически является базовой станцией системы, которая включает в себя маршрутизатор, что является несомненным преимуществом, так как нет необходимости покупать дополнительное коммутационное оборудование. Модуль точки доступа обеспечивает формирование практически круговой диаграммы направленности излучения. Один модуль точки доступа поддерживает работу до 320 абонентских модулей. Стандартный комплект поставки одного модуля точки доступа включает в себя: адаптер 220, антенну, кабель;
2) sub>scriber Module (SM) – абонентский модуль – модуль устанавливаемый непосредственно у абонентов, представляет собой сетевые карты для PCI и PCIMCA. Ориентировочная дальность связи без выносной антенны – 300 м, с антенной – до 1 км только при условии прямой видимости с точкой общего доступа. Скорость приема данных до 4 Мб/сек, скорость передачи данных около 1,5 Мб/сек. Стандартный комплект поставки одного модуля SM включает в себя: сетевую карту, внешнею антенну;
3) Выносная антенна - предназначена для объединения общих точек доступа на значительных расстояниях (от 1 км до 30 км) друг от друга. Дальность связи при помощи выносных антенн определяется коэффициентом усиления.
Таким образом, схема подключения объектов информатизации (штабов) с помощью беспроводной системы D-Link может быть представлена следующим образом (рисунок 3.2).

Рис. 3.2 Схема беспроводного подключения объектов информатизации
Из анализа рис.3.2 видно, что антенна, установленная на одной площадке, может обслуживать абонентов, находящихся в радиусе от 1 км до 10 км с применением выносной антенны, и до 30 км, с использованием усилителей.
Рассмотренное техническое решение использования оборудования D-Link для организации беспроводного доступа к информационным ресурсам локальной сети подходит для обслуживания территорий как с большой плотностью объектов информатизации (конечных пользователей), так и для отдельных, обособленных объектов информатизации, требующих «точечной» передачи данных беспроводного сервиса.
За счет большой гибкости архитектуры локальной сети с беспроводным доступом к ее информационным ресурсам, мобильности объектов информатизации и большой частотной емкости каналов связи обеспечиваются благоприятные условия для эффективной борьбы с агентурными силами конкурентов в целях защиты информации от ее утечки по сравнению с проводными локальными сетями.
Рассмотрим архитектуру беспроводного доступа к информационным ресурсам локальной вычислительной сети с использованием оборудования D-Link в различных режимах его работы с точки зрения обеспечения условий для организации защиты передаваемой информации.
1. Режим «Точка –Многоточие», когда один объект информатизации связан с множеством объектов информатизации (аналог понятия радиосети). В этом режиме передачи информации от точки доступа к абоненту объекта информатизации скорость составляет –21 Mbps (полезная информации >15 Mbps, включает в себя как прямое, так и обратное направления -uplink/downlink). При передаче информации от абонента объекта информатизации к точке доступа скорость составляет 6 Mbps (полезная информация на downlink >4 Mbps, полезная информация на uplink >1 Mbps; соотношение downlink/uplink –конфигурируемое, по умолчанию установлено 25% uplink, 75% downlink).
Отметим, что при более высокой скорости передачи данных в направлении downlink можно организовать кодирование информации с целью защиты ее семантики от несанкционированного разглашения как своими абонентами сети, так и абонентами возможных внешних компьютерных сетей.
2. Режим «Точка –Точка» (каждый с каждым), когда скорость передачи между абонентами –27,56 Мbps (полезная информация -> 21Mbps, включает в себя оба направления - uplink/downlink; соотношение downlink/uplink – конфигурируемое, по умолчанию установлено 50% uplink, 50% downlink => >15Mbps downlink; 15 Mbps uplink).
В этом режиме работы сети обеспечивается наибольшая скрытность передачи информации, так как она адресуется только одному пользователю без промежуточных звеньев ретрансляции.
3. При работе в режиме «Звезда» (точка - многоточие), когда оборудование может обслуживать несколько рядовых абонентов, то в конфигурации «точка-точка» (Point-to-Point) возможно предоставление высокоскоростного канала. Этот скоростной канал можно использовать для кодирования передаваемой информации с целью защиты ее содержания от несанкционированного зарглашения.
При возникновении необходимости в увеличении абонентской емкости системы предложенное техническое решение использования оборудования D-Link демонстрирует свою превосходную способность к масштабированию, удовлетворяя новые требования к площади территории обслуживания объектов информатизации, их плотности и пропускной способности. Благодаря высокой устойчивости к интерференции (наложению одной волны на другую) и использованию направленных антенн, добавление новых передатчиков увеличивает емкость системы, но не уровень интерференционных помех.
Заметим, что точки доступа могут быть подключены к существующей локальной сети или маршрутизатору через стандартное Ethernet соединение с выходом в интернет.
Рассмотрим варианты подключения локальной сети с широкополосным доступом к ее информационным ресурсам к сетям PDH/ SDH и IP/FR, которые проиллюстрированы на рис. 3.3 и 3.4.
Из рассмотрения рис. 3.3 и 3.4 следует, что точки беспроводного доступа и абонентские модули компактны и могут быть смонтированы практически в любом месте.
Защита информационных ресурсов локальной сети от несанкционированного доступа к ним по радиоинтерфейсу достигается благодаря использованию современных методов аутентификации и шифрования, которые рассмотрены в разделе 1.4. дипломной работы.

Рис.3.3 Подключение локальной компьютерной системы с беспроводным доступом к SDH сети

Рис.3.4 Подключение локальной компьютерной системы с беспроводным доступом к IP/FR сети.
Рассмотренные на рис. 3.3 и 3.4 варианты архитектуры локальных компьютерных сетей не затрагивают вопросы организации комплексной защиты объектов информатизации. Организационным и техническим мероприятиям по комплексной защите объектов информатизации уделено внимание в следующем разделе дипломной работы.
3.2 Предлагаемая локальная компьютерная сеть с комплексной защитой объектов информатизации
Известна локальная компьютерная сеть, содержащая неуправляемые коммутаторы с блоками электрического питания, кабель с высокой пропускной способностью и сейфовые средства защиты от несанкционированного демонтажа (кражи) оборудования локальной компьютерной сети [1]. Локальная компьютерная сеть построена по радиальному принципу с размещением сервера в центре сети. Каждый неуправляемый коммутатор с помощью одного своего коммутационного порта связан с соседним неуправляемым коммутатором, а с помощью других коммутационных портов обеспечивает пользователям сети свободный доступ к ее информационным ресурсам. Комплексными средствами защиты оборудования локальной кабельной сети, а именно: в основном, неуправляемых коммутаторов с блоками их электрического питания, от несанкционированного демонтажа (кражи) являются как специально изготовленные сейфовые ящики, так и типовые закрытые щиты электросилового питания, радиовещания, телевидения и др. жилых построек (зданий) пользователей локальной сети.
Недостаток известной локальной кабельной сети состоит в том, что ее радиальное построение требует большого расхода кабеля с высокой пропускной способностью и демаскирует размещение сервера. Кроме того, недостатками известной локальной кабельной сети являются большие эксплутационные затраты на раздельное обслуживание средств сейфовой защиты ее оборудования и электропитания коммутаторов, а также требуется высокая квалификация обслуживающего персонала по устранению возможных сбоев в работе сложного электронного оборудования компьютерной сети и отладки программ корпоративных сетей.
Известна другая [2], наиболее близкая к предлагаемой в дипломной работе, локальная компьютерная кабельная сеть, содержащая неуправляемые коммутаторы с N коммутационными портами, блоки электрического питания неуправляемых коммутаторов и совокупность кабельных линий категории 5Е витая пара с коннекторами на каждом конце кабельной линии. Посредством кабельных линий соединяются между собой соседние неуправляемые коммутаторы. При этом N -2 коммутационных портов каждого неуправляемого коммутатора подключены к коммутационным гнездам оборудования пользователя компьютерной сети. Электрическое питание каждого неуправляемого коммутатора осуществляется с помощью блока электрического питания, входная цепь которого подключена к шинам питающей линии тока промышленной частоты.
Недостаток этого известного технического решения [2] заключается в том, что число пользователей локальной компьютерной сети и ее протяженность ограничены соответственно числом коммутационных портов неуправляемых коммутаторов и возможностями разрешенного пользования электрической энергией питающих линий тока промышленной частоты.
Для устранения этого недостатка предлагается в дипломной работе, увеличить число пользователей (абонентскую емкость) и протяженность локальной компьютерной сети с комплексной защитой объектов информатизации.
С этой целью в дипломной работе предлагается []:
- первичные цепи блоков питания неуправляемых коммутаторов подключить к шинам электрического питания сети переменного тока промышленной частоты пользователей локальной компьютерной сети;
- выходы блоков питания неуправляемых коммутаторов подключить через сдвоенные пары жил кабельных линий категории 5Е витая пара в цепь между гнездом коннектора пользователя компьютерной сети и гнездом коннектора питания неуправляемого коммутатора;
- гнёзда коннекторов дополнительных пользователей компьютерной сети подключить через сдвоенные пары жил кабельных линий к сдвоенным парам жил соседних кабельных линий компьютерной сети.
Схематичное изображение предлагаемой локальной компьютерной сети представлено на рис.3.5, где обозначено:
1 – блок к неуправляемых коммутаторов;
2 – блок ℓ дополнительных пользователей локальной компьютерной сети (дополнительные пользователи);
3 – блок n x м основных пользователей локальной компьютерной сети (основные пользователи);
4 – блок р источников электрического питания;
5 – шины питающей сети переменного тока промышленной частоты.
Предлагаемая локальная компьютерная сеть работает следующим образом.
Напряжение питающей сети 5 переменного тока промышленной частоты основных 3 и дополнительных 2 пользователей поступает на входы блоков 4 электрического питания, выходные напряжения постоянного тока которых направляется по сдвоенным жилам кабельных линий категории 5Е витая пара на гнезда электрического питания неуправляемых коммутаторов. Такое подключение блоков питания 4 к неуправляемым коммутаторам 1 обеспечивает их защиту от несанкционированного демонтажа (кражи), так как без блоков питания 4 неуправляемые коммутаторы 1 не имеют коммерческого спроса и потому не требуют сейфовой защиты.
Устранение возможных сбоев в работе неуправляемых коммутаторов 1 осуществляется непосредственно самими пользователями компьютерной сети без привлечения высококвалифицированного обслуживающего персонала путем кратковременного отключения шины 5 электрического питания. Оплата электрической энергии за работу блоков питания 4 осуществляется непосредственно пользователями компьютерной сети без трудоемких инспекторских, расчетно-учетных и электромонтажных работ, выполняемых работниками электросети. Кроме того, предлагаемое дистанционное питание неуправляемых коммутаторов 1 расширяет протяженность локальной кабельной сети.

Рис. 3.5. Структурная схема предлагаемой локальной компьютерной сети с комплексной защитой объектов информатизации
Предлагаемое подключение дополнительных пользователей 2 с помощью сдвоенных пар жил кабельных линий категории 5Е витая пара с коннекторами на каждом конце кабельной линии к соседним кабельным линиям расширяет число пользователей компьютерной сети без подключения дополнительных неуправляемых коммутаторов 1, что расширяет абонентскую емкость локальной компьютерной сети.
Положительный эффект от использования разработанной локальной компьютерной сети состоит в том, что увеличивается не менее, чем на 15-20 % число пользователей (абонентской емкости) и на 10-15 % протяженность локальной компьютерной сети с комплексной защитой объектов информатизации.
Разработанная в дипломной работе локальная компьютерная сеть была развернута в 2005 году в микрорайоне города Серпухова и надежно работает по настоящее время.
Особенности разработки, развертывания и эксплуатации локальной сети с комплексной защитой объектов информатизации рассмотрены в отчете о научно-практической работе [ ] Института инженерной физики РФ и в докладе [ ] на 1-й научно-практической конференции молодых ученых и студентов Южного Подмосковья.
В результате разработки предложений по развертыванию локальных сетей можно сформулировать следующие выводы:
1. Наибольшее предпочтение по развертыванию абонентской части локальной сети следует отдать технологии беспроводного радиодоступа компании D-Link, так как она обладает:
- большим радиусом зоны действия;
- большим количеством предоставляемых услуг, в том числе и шифрования (кодирования) передаваемой информации для исключения ее разглашения;
- минимальными потерями в антенно-фидерном тракте для уменьшения утечек информации из сети;
- возможностью подключения к уже существующим кабельным сетям;
- высокой скоростью работы в направлениях как от точки доступа к абоненту, так и обратно, от абонента к точке доступа 21Mbs/15Mbs, что дает техническую возможность организовать кодирование передаваемой информации с целью ее защиты от разглашения;
- поддерживает режимы работы абонентов «точка-точка» (каждый с каждым) для обеспечения наибольшей скрытности и безопасности информации в сети и «точка-многоточие» (один со всеми);
- возможностью интеграции дополнительного оборудования;
- надежной передачей сигнала на больших расстояниях (до 10 км);
- возможностью эффективно вести борьбу с агентурными силами конкурентов за счет большой гибкости архитектуры локальной сети с беспроводным доступом к ее информационным ресурсам, мобильности объектов информатизации и большой частотной емкости каналов связи;
2. Предложена локальная компьютерная сеть с комплексной защитой объектов информатизации, которая позволяет увеличить не менее, чем на 15-20 % число пользователей (абонентской емкости) и на 10-15 % ее протяженность.
3. Развернута в 2005 году в микрорайоне города Серпухова локальная компьютерная сеть с комплексной защитой объектов информатизации, которая надежно работает по настоящее время.
4. Планирование разработки защищенной локальной сети и определение эффективности работы
Проектируемое устройство представляет собой локальную сеть жилых районов. Локальная вычислительная сеть (ЛВС) предназначена для повышения оперативности передачи данных между пользователями и предоставлением им Интернет ресурсов.
Выполнение данной части проекта должно подтвердить экономическую целесообразность разработки, в связи с этим, будут рассмотрены вопросы организации, разработки, монтажа и настройки проектируемой ЛВС, определение экономической эффективности ее использования.
Эффективность разработки будет выражаться в более рациональном и экономичном использования ресурсов компьютеров, подключаемых к ЛВС, а, следовательно, в экономии времени на получение оперативной информации.
1. Планирование разработки локальной вычислительной сети с построением сетевого графика выполнения работ
В таблице 4.1. приведено содержание основных работ по каждому этапу разработки ЛВС.
Таблица 4.1
Состав работ по этапам
|
№ |
Перечень работ |
Этапы |
|
1 |
Постановка задачи |
Техническое задание ТЗ |
|
2 |
Определение требований к ЛВС |
|
|
3 |
Предварительное технико-экономическое обоснование |
|
|
4 |
Исследование информационных потоков предприятия |
|
|
5 |
Анализ существующих технологий, видов и принципов построения ЛВС |
|
|
6 |
Утверждение ТЗ |
|
|
7 |
Выбор базовой технологии |
Эскизный проект ЭП |
|
8 |
Выбор аппаратно-программных средств |
|
|
9 |
Разработка структурной схемы ЛВС |
|
|
10 |
Расчеты сети |
Технический проект ТП |
|
11 |
Выбор кабельной системы и оборудования |
|
|
12 |
Окончательное технико-экономическое обоснование проекта |
|
|
13 |
Разработка технической документации |
Рабочий проект РП |
|
14 |
Определение взаимодействия между различными подразделениями предприятия |
|
|
15 |
Пусконаладочные работы по вводу в действие ЛВС |
|
|
16 |
Проверка работоспособности в реальных условиях |
Рабочий проект РП |
|
17 |
Опытная эксплуатация |
Внедрение ВН |
|
18 |
Корректировка системы |
|
|
19 |
Сдача в эксплуатацию |
4.1 Расчет трудоемкости отдельных этапов разработки локальной вычислительной сети
Трудоемкость каждого из этапов определяется исходя из общей трудоемкости создания и настройки сети.
Общая трудоемкость создания и настройки сети определяется по формуле:
,
(4.1.1)
где
- затраты труда на подготовку описания
задачи;
- затраты
труда на исследование решения задачи;
- затраты
труда на исследование сетевой архитектуры;
- затраты
труда на настройку;
- затраты
труда на отладку;
- затраты
труда на подготовку документации.
Затраты труда
на подготовку описания задачи (
)
точной оценке не поддаются, так как это
связано с творческим характером работы.
Примем
.
Все остальные
виды затрат труда можно выразить через
условное число клиентов сети (
),
которое определяется по формуле:
,
(4.1.2.)
где
– предполагаемое число клиентов сети
–коэффициент
сложности сетевой архитектуры (
);
–коэффициент
коррекции сетевой архитектуры в ходе
разработки (
).
Условное число клиентов сети будет равно:
.
Затраты труда
на исследование решения задачи (
)
определяются по формуле:
,
(4.1.3.)
где
- коэффициент увеличения затрат труда,
вследствие недостаточно точного описания
задачи, последующих уточнений и дополнений
(
);
– коэффициент,
учитывающий квалификацию разработчика
в зависимости от стажа работы:
Для работающих до 2-х лет - 0,8;
до 3-х лет - 1;
до 5-и лет - 1,1...1,2;
до 7-и лет - 1,3...1,4;
свыше 7 лет - 1,5...1,6.
- среднее
количество клиентов сети, подлежащих
настройке в течение одного дня.
Затраты труда на исследование решения задачи будут равны:
.
Затраты труда
на исследование сетевой архитектуры
(
)
определяются по формуле:
,
(4.1.4.)
Затраты труда на исследование сетевой архитектуры будут равны:
.
Затраты труда
на настройку сети (
)
определяются по формуле:
,
(4.1.5.)
Затраты труда на настройку сети будут равны:
.
Затраты труда
на отладку (
)
определяются по формуле:
,
(4.1.6.)
Затраты труда на отладку будут равны:
.
Затраты на
подготовку документации (
)
определяются по формуле:
,
(4.1.7.)
где
- затраты труда на подготовку документации
в рукописи;
- затраты на
оформление документации.
,
(4.1.8.)
.
,
(4.1.9.)
.
Затраты на подготовку документации будут равны:
.
Общая трудоемкость создания и настройки сети будет равна:
.
Определим значение коэффициента новизны К>Н>.
Разработанная
локальная сеть имеет код степени новизны
В, т.к. в этой ЛВС не используется ЭВМ
нового типа и новая операционная система,
следовательно коэффициент новизны
будет иметь следующее значение:
.
Исходя из
выбранной степени новизны определяем
удельный вес (
)
трудоемкости каждой стадии разработки.
В таблице 4.2. представлены значения
удельного веса.
Таблица 4.2
Значения удельного веса i-ой стадии разработки
|
Стадия |
Удельный
вес i-ой
стадии разработки
|
|
ТЗ |
0,09 |
|
ЭП |
0,07 |
|
ТП |
0,07 |
|
РП |
0,61 |
|
ВН |
0,16 |
Рассчитываем трудоемкость каждой операции разработки ЛВС.
Трудоемкость технического задания определяется по формуле:
,
(4.1.10.)
Трудоемкость эскизного проекта определяется по формуле:
,
(4.1.11.)
Трудоемкость технического проекта определяется по формуле:
,
(4.1.12.)
Трудоемкость рабочего проекта определяется по формуле:
,
(4.1.13.)
где:
- коэффициент, зависящий от степени
охвата реализуемых функций данной ЛВС
типовыми ЛВС (
),
(не менее 60%).
Трудоемкость внедрения определяется по формуле:
,
(4.1.14.)
Рассчитаем эти показатели:
;
;
;
;
.
Общая трудоемкость по всем стадиям разработки составит:
.
4.2 Состав исполнителей проектируемой сети
Выполнять все работы будут:
начальник отдела;
инженер;
техник.
Степень их участия в выполнении работ по разработке, пуско-наладке и составлению документации для проектируемой сети показана ниже на рис.4.1:

Рис.4.1 - Состав исполнителей проектируемой сети
В таблице 4.3. указан состав исполнителей исходя з этого будем строить сетевой график.
Таблица 4.3
Состав исполнителей
|
Перечень работ |
Исполнители |
Кол-во человек |
|
Постановка задачи |
Начальник |
1 |
|
Определение требований к ЛВС |
Начальник |
1 |
|
Предварительное технико-экономическое обоснование |
Инженер |
1 |
|
Исследование информационных потоков учреждения |
Инженер, техник |
2 |
|
Анализ существующих технологий, видов и принципов построения ЛВС |
Инженер |
1 |
|
Утверждение ТЗ |
Начальник |
1 |
|
Выбор базовой технологии |
Инженер |
1 |
|
Выбор аппаратно-программных средств |
Инженер |
1 |
|
Разработка структурной схемы ЛВС |
Инженер |
1 |
|
Расчеты сети |
Инженер |
1 |
|
Выбор кабельной системы и оборудования |
Инженер |
1 |
|
Окончательное технико-экономическое обоснование проекта |
Инженер |
1 |
|
Разработка технической документации |
Инженер |
1 |
|
Определение взаимодействия между различными подразделениями учреждения |
Инженер |
1 |
|
Пусконаладочные работы по вводу в действие ЛВС |
Инженер, техник |
2 |
|
Проверка работоспособности в реальных условиях |
Инженер, техник |
2 |
|
Опытная эксплуатация |
Инженер, техник |
2 |
|
Корректировка системы |
Инженер |
1 |
|
Сдача в эксплуатацию |
Начальник, инженер, техник |
3 |
Трудоемкость каждого вида работ
от трудоемкости каждой стадии разработки
(
)
определяется по формуле:
,
(4.2.1.)
где
- весовой коэффициент, значения которого
для каждого этапа приведены в таблице
2.4.
Продолжительность работы в рабочих днях рассчитывается по формуле:
,
(4.2.2.)
где
– количество работников, занятых на
данной работе;
– коэффициент выполнения нормы,
взят равным 1.1.
Продолжительность работы в календарных днях рассчитывается о формуле:
,
(4.2.3.)
где
– коэффициент перевода рабочих дней в
календарные.
Наименование и продолжительность работ указано в таблице 4.4.
Таблица 4.4
Наименование и продолжительность работ
|
№ |
Содержание работ |
Трудоемкость каждой стадии разработки, (чел/дни) |
|
Трудоемкость каждой
работы
( |
Продолжительность
работы ( (рабочие дни) |
Продолжительность
каждой работы ( |
|
ТЗ |
||||||
|
1 |
Постановка задачи |
7 |
0,16 |
1 |
1 |
2 |
|
2 |
Определение требований к ЛВС |
0,16 |
1 |
1 |
2 |
|
|
3 |
Предварительное технико-экономическое обоснование |
0,17 |
1 |
1 |
2 |
|
|
4 |
Исследование информационных потоков учреждения |
0,17 |
1 |
1 |
2 |
|
|
5 |
Анализ существующих технологий, видов и принципов построения ЛВС |
0,18 |
1 |
1 |
2 |
|
|
6 |
Утверждение ТЗ |
0,16 |
1 |
1 |
2 |
|
|
ЭП |
||||||
|
7 |
Выбор базовой технологии |
5 |
0,2 |
1 |
1 |
2 |
|
8 |
Выбор аппаратно-программных средств |
0,3 |
2 |
2 |
3 |
|
|
9 |
Разработка структурной схемы ЛВС |
0,5 |
3 |
3 |
4 |
|
|
ТП |
||||||
|
10 |
Расчеты сети |
5 |
0,2 |
1 |
1 |
2 |
|
11 |
Выбор кабельной системы и оборудования |
0,5 |
3 |
3 |
4 |
|
|
12 |
Окончательное технико-экономическое обоснование проекта |
0,3 |
2 |
2 |
3 |
|
|
РП |
||||||
|
13 |
Разработка технической документации |
27 |
0,1 |
3 |
3 |
4 |
|
14 |
Определение взаимодействия между различными подразделениями учреждения |
0,4 |
11 |
12 |
17 |
|
|
15 |
Пусконаладочные работы по вводу в действие ЛВС |
0,3 |
8 |
4 |
6 |
|
|
16 |
Проверка работоспособности в реальных условиях |
0,2 |
5 |
3 |
4 |
Таблица 2.4.
Продолжение
|
№ |
Содержание работ |
Трудоемкость каждой стадии разработки, (чел/дни) |
|
Трудоемкость каждой
работы
( |
Продолжительность
работы ( (рабочие дни) |
Продолжительность
каждой работы ( |
|
ВН |
||||||
|
17 |
Опытная эксплуатация |
12 |
0,3 |
4 |
2 |
3 |
|
18 |
Корректировка системы |
0,5 |
6 |
7 |
10 |
|
|
19 |
Сдача в эксплуатацию |
0,2 |
2 |
1 |
2 |
Построение сетевого графика проведения работ.
В качестве инструмента планирования разработка используем метод сетевого планирования и управления. Данные для построения сетевого графика представим в виде таблицы 4.5.
Таблица 4.5
Перечень событий и работ
|
№ |
Содержание события |
Код работы |
Содержание работ |
|
0 |
Принято решение о начале разработки |
0 - 1 |
Постановка задачи |
|
1 |
Задача поставлена |
1 - 2 |
Определение требований |
|
1 - 3 |
Предварительное технико-экономическое обоснование |
||
|
2 |
Требования определены |
2 - 4 |
Исследование информационных потоков учреждения |
|
3 |
Предварительное технико-экономическое обоснование произведено |
3 - 6 |
Фиктивная работа |
|
№ |
Содержание события |
Код работы |
Содержание работ |
|
4 |
Исследование информационных потоков учреждения произведено |
4 - 5 |
Анализ существующих технологий, видов и принципов построения ЛВС |
|
5 |
Анализ существующих технологий, видов и принципов построения ЛВС завершен |
5 - 6 |
Утверждение ТЗ |
|
6 |
ТЗ утверждено |
6 - 7 |
Выбор базовой технологии |
|
6 - 8 |
Выбор аппаратно-программных средств |
||
|
7 |
Базовая технология выбрана |
7 - 9 |
Разработка структурной схемы ЛВС |
|
8 |
Выбор аппаратно-программных средств произведен |
8 - 9 |
Фиктивная работа |
|
9 |
Разработка структурной схемы ЛВС произведена |
9 - 10 |
Расчет сети |
|
10 |
Расчет сети произведен |
10 - 11 |
Выбор кабельной системы и оборудования |
|
11 |
Кабальная система и оборудование выбраны |
11 - 12 |
Окончательное технико-экономическое обоснование проекта |
|
12 |
Окончательное технико-экономическое обоснование проведено |
12 - 13 |
Разработка технической документации |
|
13 |
Разработка технической документации произведена |
13 – 14 |
Определение взаимодействия между различными подразделениями учреждения |
|
13 - 15 |
Пусконаладочные работы по вводу в действие ЛВС |
||
|
13 – 16 |
Проверка работоспособности в реальных условиях |
||
|
14 |
Взаимодействия между различными подразделениями учреждения определены |
14 – 17 |
Опытная эксплуатация |
|
15 |
Пусконаладочные работы по вводу в действие ЛВС произведены |
15 – 17 |
Фиктивная работа |
|
16 |
Проверка работоспособности в реальных условиях произведена |
16 - 17 |
Фиктивная работа |
|
17 |
Опытная эксплуатация проведена |
17 - 18 |
Корректировка системы |
|
18 |
Корректировка системы произведена |
18 - 19 |
Сдача в эксплуатацию |
|
19 |
ЛВС сдана в эксплуатацию |
На основе полученных данных для трудоемкости каждого из этапов составим таблицу трудоемкости и продолжительности работ. Эти данные будут необходимы для построения сетевого графика. Анализ сетевого графика связан с определением критического пути. Критический путь связывает первое событие с последним и имеет наибольшую длину.
Отметим основные элементы сетевых графиков:
I, J - индексы события;
Tp(i) - возможный ранний срок совершения события i;
Tn(i) - допустимый поздний срок совершения события i;
Tp(j) - возможный ранний срок совершения события j;
Tn(j) - допустимый поздний срок совершения события j;
T (i,j) - продолжительность работы (i, j);
R (i) - резерв события i;
Rc(i,j) - свободный резерв времени;
Rn(i,j) - полный резерв времени.
Прохождение критического пути определено от исходного события к завершающему (работа принадлежит критическому пути в том случае, если ее начальное и конечное события имеют нулевой резерв времени, и она не имеет резервов).
В соответствии с расчетом по таблице 4.6. определяем, что длина критического пути составляет – 100 дней.
Таблица 4.6
Рассчитанные параметры сетевого графика
|
Код работы |
Продолжительность Т>ij> |
Ранний срок наступления события t>pj> |
Поздний срок наступления события t>пj> |
Резерв времени события Р>j> |
Ранний срок наступления события t>pi> |
Полный резерв времени работы Р>пij> |
Свободный резерв времени работы Р>сij> |
|
0-1 |
3 |
3 |
3 |
0 |
0 |
0 |
0 |
|
1-2 |
5 |
8 |
8 |
0 |
5 |
0 |
0 |
|
2-3 |
11 |
19 |
19 |
0 |
8 |
0 |
0 |
|
2-5 |
12 |
27 |
27 |
7 |
8 |
7 |
7 |
|
3-4 |
4 |
23 |
23 |
0 |
19 |
0 |
0 |
|
4-5 |
4 |
27 |
27 |
0 |
23 |
0 |
0 |
|
5-6 |
9 |
36 |
36 |
0 |
27 |
0 |
0 |
|
6-7 |
7 |
43 |
43 |
0 |
36 |
0 |
0 |
|
6-9 |
2 |
58 |
58 |
20 |
36 |
20 |
20 |
|
7-8 |
10 |
53 |
53 |
0 |
43 |
0 |
0 |
|
8-9 |
5 |
58 |
58 |
0 |
53 |
0 |
0 |
|
9-10 |
2 |
60 |
60 |
0 |
58 |
0 |
0 |
|
9-11 |
1 |
59 |
59 |
0 |
58 |
0 |
0 |
|
10-16 |
2 |
75 |
75 |
13 |
60 |
13 |
13 |
|
11-12 |
2 |
61 |
61 |
0 |
59 |
0 |
0 |
|
12-13 |
1 |
62 |
62 |
0 |
61 |
0 |
0 |
|
13-14 |
6 |
68 |
68 |
0 |
62 |
0 |
0 |
|
13-15 |
7 |
69 |
69 |
0 |
62 |
0 |
0 |
|
14-16 |
6 |
75 |
75 |
1 |
68 |
1 |
1 |
|
15-16 |
6 |
75 |
75 |
0 |
69 |
0 |
0 |
|
16-17 |
7 |
82 |
82 |
0 |
75 |
0 |
0 |
|
17-18 |
4 |
86 |
86 |
0 |
82 |
0 |
0 |
|
18-19 |
7 |
100 |
100 |
0 |
93 |
0 |
0 |
4.3 Оптимизация сетевого графика разработки локальной сети
После расчета сетевого графика (рис.4.2.) произведем его оптимизацию (упрощенным методом) за счет перераспределения исполнителей с работ подкритического пути, имеющего минимальные резервы времени, на работы критического пути, которые могут выполняться работниками тех же специальностей. С этой целью вначале определим количество исполнителей, которые можно перевести на работу критического пути, затем оценим продолжительность (новых) работ критического пути, на которые переведены исполнители.
Коэффициент напряженности работы (пути k>н>>ij>) – это отношение продолжительности несовпадающих (заключенных между одними и теми же событиями) отрезков пути, одним из которых является путь максимальной продолжительности, проходящий через данную работу, а другим – критический путь.
Он позволяет определить степень трудности выполнения в срок каждой группы работ некритического пути.
Если совпадающую с критическим путем величину отрезка пути обозначить Т>Lкр>, длину критического пути – Т>Lкр>, а протяженность максимального пути, проходящего через данные работы – Т>Lмах>, то коэффициент напряженности данного пути определяется по формуле:
(4.3.1.)
где, подставляя числовые значения из таблицы 6, получим




Анализ участков сетевого графика разработки локальной сети состоит в выделении следующих напряженных участков этого сетевого графика.
Напряженным участком работ является путь, проходящий через работы 2-3,3-4 и 4-5. Работа 2-5 имеет свободный резерв времени. Следовательно, с этой работы можно перевести часть исполнителей на однородную работу (2-3).
На участке 2-5 занято 2 человека, на участке 2-3 – 2 человека. В этом случае трудоемкость работ подсчитывается по формуле:
Т>цij>=W>pij>T>ij>, (4.3.3.)
где W>pij> – количество исполнителей,Т>ij> – продолжительность работы в днях
Подставив числовые значения в выражение, получим
Т>ц(2-5 )>= W>p(2-5)>T>(2-5 )>= 212 = 24 чел.-дн.,
Т>ц(2-3)>=W>p(2-3)>T>(2-3) >= 211 = 22 чел.-дн.,
|
Рис.4.2 Сетевой график разработки локальной сети (до оптимизации) |

Количество исполнителей (х), которых можно перевести с работы 2-5 на работу 2-3, увеличив продолжительность работы 2-5 на 3 дня можно определить из следующего уравнения:
(4.3.3.)
Тогда новая продолжительность работ (2-3) составит:
,
а новая продолжительность работ (2-5) примет значение:

Напряженным участком работ является путь, проходящий через работы 9-11, 11-12, 12-13, 13-14 и 14-16. Работа 9-10 имеет свободный резерв времени. Следовательно, с этой работы можно перевести часть исполнителей на однородную работу (11-12).
На участке 9-10 занято 2 человека, на участке 11-12 – 1 человек. В этом случае трудоемкость работ составит:
Т>ц(9-10) >= W>p(9-10)>T>(9-10) >= 22 = 4 чел.-дн.,
Т>ц(11-12) >= W>p(11-12)>T>(11-12) >= 12 = 2 чел.-дн.
Количество исполнителей (х), которых можно перевести с работы 9-10 на работу 11-12, увеличив продолжительность 9-10 на 1 день, получим, решив аналогичное уравнение:

Тогда новая продолжительность (11-12) получится:
,
а новая продолжительность (9-10) составит значение:

Напряженным участком работ является путь, проходящий через работы 13-15,15-16, но нет исполнителей, которых можно было перевести с однородных работ на этот путь.
Сетевой график разработки локальной сети (после оптимизации) показан на рисунке 4.3. Построен по таблице 4.7.
Таблица 4.7
Перечень событий и работ после оптимизации сетевого графика
|
№ |
Содержание события |
Код работы |
Содержание работ |
|
0 |
Принято решение о начале разработки |
0 - 1 |
Постановка задачи |
|
1 |
Задача поставлена |
1 - 2 |
Определение требований |
|
1 - 3 |
Предварительное технико-экономическое обоснование |
||
|
2 |
Требования определены |
2 - 4 |
Исследование информационных потоков учреждения |
|
3 |
Предварительное технико-экономическое обоснование произведено |
3 - 6 |
Фиктивная работа |
|
4 |
Исследование информационных потоков учреждения произведено |
4 - 5 |
Анализ существующих технологий, видов и принципов построения ЛВС |
|
5 |
Анализ существующих технологий, видов и принципов построения ЛВС завершен |
5 - 6 |
Утверждение ТЗ |
|
6 |
ТЗ утверждено |
6 - 7 |
Выбор базовой технологии |
|
7 |
Базовая технология выбрана |
6 - 8 |
Выбор аппаратно-программных средств |
|
7 - 9 |
Разработка структурной схемы ЛВС |
||
|
8 |
Выбор аппаратно-программных средств произведен |
8 - 9 |
Фиктивная работа |
|
9 |
Разработка структурной схемы ЛВС произведена |
9 - 10 |
Расчет сети |
|
10 |
Расчет сети произведен |
10 - 11 |
Выбор кабельной системы и оборудования |
|
11 |
Кабальная система и оборудование выбраны |
11 - 12 |
Окончательное технико-экономическое обоснование проекта |
|
12 |
Окончательное технико-экономическое обоснование проведено |
12 - 13 |
Разработка технической документации |
|
13 |
Разработка технической документации произведена |
13 – 14 |
Определение взаимодействия между различными подразделениями учреждения |
|
14 |
Взаимодействия между различными подразделениями учреждения определены |
13 - 15 |
Пусконаладочные работы по вводу в действие ЛВС |
|
13 – 16 |
Проверка работоспособности в реальных условиях |
||
|
14 – 17 |
Опытная эксплуатация |
||
|
15 |
Пусконаладочные работы по вводу в действие ЛВС произведены |
15 – 17 |
Фиктивная работа |
|
16 |
Проверка работоспособности в реальных условиях произведена |
16 - 17 |
Фиктивная работа |
|
17 |
Опытная эксплуатация проведена |
17 - 18 |
Корректировка системы |
|
18 |
Корректировка системы произведена |
18 - 19 |
Сдача в эксплуатацию |
|
19 |
ЛВС сдана в эксплуатацию |
В результате оптимизации удалось сократить продолжительность работ на 4 дня, т.е. на 4,3 %, т.к. новая продолжительность критического пути составила 96 дня.
Таблица 4.7
Рассчитанные параметры сетевого графика после его оптимизации
|
Код работы |
Продолжительность Т>ij> |
Ранний срок наступления события t>pj> |
Поздний срок наступления события t>пj> |
Резерв времени события Р>j> |
Ранний срок наступления события t>pi> |
Полный резерв времени работы Р>пij> |
Свободный резерв времени аботыР>сij> |
|
0-1 |
3 |
3 |
3 |
0 |
0 |
0 |
0 |
|
1-2 |
5 |
8 |
8 |
0 |
3 |
0 |
0 |
|
2-3 |
8 |
16 |
16 |
0 |
8 |
0 |
0 |
|
2-5 |
15 |
24 |
24 |
1 |
8 |
1 |
1 |
|
3-4 |
4 |
20 |
20 |
0 |
16 |
0 |
0 |
|
4-5 |
4 |
24 |
24 |
0 |
20 |
0 |
0 |
|
5-6 |
9 |
33 |
33 |
0 |
24 |
0 |
0 |
|
6-7 |
7 |
40 |
40 |
0 |
33 |
0 |
0 |
|
7-8 |
10 |
50 |
50 |
0 |
40 |
0 |
0 |
|
8-9 |
5 |
55 |
55 |
0 |
50 |
0 |
0 |
|
9-10 |
3 |
58 |
69 |
0 |
55 |
0 |
0 |
|
9-11 |
1 |
56 |
56 |
0 |
55 |
0 |
0 |
|
10-16 |
2 |
71 |
71 |
11 |
58 |
11 |
11 |
|
11-12 |
1 |
57 |
57 |
0 |
56 |
0 |
0 |
|
12-13 |
1 |
58 |
58 |
0 |
57 |
0 |
0 |
|
13-14 |
6 |
64 |
64 |
0 |
58 |
0 |
0 |
|
13-15 |
7 |
65 |
65 |
0 |
58 |
0 |
0 |
|
14-16 |
6 |
71 |
71 |
1 |
64 |
1 |
1 |
|
15-16 |
6 |
71 |
71 |
0 |
65 |
0 |
0 |
|
16-17 |
7 |
78 |
78 |
0 |
71 |
0 |
0 |
|
17-18 |
4 |
82 |
82 |
0 |
78 |
0 |
0 |
|
18-19 |
7 |
96 |
96 |
0 |
89 |
0 |
0 |
|
Рис.4.3. Сетевой график разработки локальной сети (после оптимизации) |
После оптимизации сетевого графика разработки локальной сети перейдем к расчету экономических показателей и определению эффективности дипломного проекта.
5. Расчет экономических показателей защищенной локальной сети и определение эффективности работы
5.1 Заработная плата исполнителей
Затраты на разработку ЛВС определяется на базе расчетной трудоемкости разработки и включает в себя следующие расходы:
заработная
плата исполнителей (
);
отчисления
во внебюджетные фонды (
);
стоимость
оборудования (материалов), (
);
накладные
расходы (
);
прочие расходы.
Рассчитаем заработную плату работников непосредственно участвующих в разработке ЛВС.
Заработная плата вычисляется по формуле:
,
(5.1.1.)
где
- основная заработная плата работника;
- дополнительная
заработная плата работника.
Так как в
разработке программного средства
участвуют 3 человека: начальник отдела
(15 тарифный разряд), инженер (12 тарифный
разряд), техник (9 тарифный разряд), - то
величина основной заработной платы
будет рассчитываться исходя из тарифной
ставки исполнителя и величины МРОТ,
который составляет 2300 руб. (2008г).
Межразрядные тарифные коэффициенты единой тарифной сетки приведены в таблице 5.1.
Таблица 5.1
Межразрядные тарифные коэффициенты единой тарифной сетки
|
1р |
2 |
3 |
4 |
5 |
6 |
7 |
8 |
9 |
10 |
11 |
12 |
13 |
14 |
15 |
16 |
17 |
18 |
|
1 |
1,04 |
1,09 |
1,142 |
1,268 |
1,407 |
1,546 |
1,699 |
1,866 |
2,047 |
2,242 |
2,423 |
2,618 |
2,813 |
3,036 |
3,259 |
3,51 |
4,5 |
Примечание: с 1 по 10 разряд – рабочие и служащие; с 6 по 14 - специалисты; с 7 по 18 – рабочие творческого труда; с 5 по 15 – руководители подразделений; с 12 по 18 разряд – директора.
В связи с этим среднемесячная заработная плата исполнителей составляет:
Начальник
отдела:
;
Инженер:
;
Техник:

Коэффициент
,
учитывающий дополнительную заработную
плату и единый социальный налог,
рассчитывается по формуле:
,
(5.1.2.)
где
>
>- размер дополнительных
выплат к основной заработной плате
(
=10%=0,1);
- начисления
на заработную плату (премии и доплаты),
.
Таким образом,
коэффициент
будет равен:
.
В связи с
этим дополнительная зарплата исполнителей
составляет:
начальник
отдела:
;
инженер:
;
техник:

Тогда
заработная плата работников
будет составлять:
начальник
отдела:
;
инженер:
;
техник:

Таблица 5.2
Заработная плата исполнителей
|
Исполнитель |
3/п за день, руб. |
Кол-во рабочих дней |
3/п за разработку, руб. |
|
Начальник отдела |
4145 |
4 |
16582 |
|
Инженер |
788 |
17 |
13233 |
|
Техник |
926 |
11 |
10191 |
|
ИТОГО (С>ЗП>) |
40006 |
5.2 Отчисления во внебюджетные фонды
%,
(5.2.1.)
где
– отчисления во внебюджетные фонды
(26,2%)

5.3 Затраты на стоимость материалов
Затраты по стоимости материалов приведены в таблице 5.3.
Таблица 5.3.
Стоимость материалов
|
№п/п |
Наименование изделия |
Единицы измерения |
Кол-во изделий |
Цена за единицу, руб |
Сумма на изделие, руб |
|
1 2 3 |
Сетевые радиокарты WaveLAN Turbo11PC Точка доступа DWL-7100AP Грозозащитник LAR-245 QuarterWave |
шт. шт. шт. |
200 4 8 |
400 5000 200 |
80000 20000 1600 |
|
4 5 6 7 8 9 10 11 12 |
Патч-корд SC02-8p-8c UTP-4х2, Alcatel Cat 5e Короб IBOCO TA-EN 60x40 W0 Информационная вилка TPR-8P-8C (RJ-45)TPC-1 Колпачок для RJ-45 10/100BASE-TX, Wake up on LAN APC SC450RMI1U Источник бесперебойного питания на 450VA, 19" 1U/Tower Источник бесперебойного питания на 650VA
Почтовый сервер FTP Server Сервер файлов Fiele Server Проводная сеть Enthernet |
шт.
шт. шт. шт. шт. шт. шт. шт. шт. |
20 4 50 50 1 1 1 1 1 |
30 250 5 30 1500 2000 10000 20000 12000 |
600 1000 250 1500 1500 2000 10000 20000 12000 |
|
Итого
|
140450 |
Транспортные расходы
составляют 5% от стоимости материалов,
покупных изделий и полуфабрикатов:
.
Таким образом, затраты
на приобретение материалов (с учетом
транспортных расходов) составят:
.
5.4 Накладные расходы
Рассчитаем накладные расходы, связанные с организацией работ и управлением:
,
(5.4.1.)
где
–
накладные расходы, руб;
– зарплата
исполнителей, руб;
– коэффициент
учета накладных расходов (
).

5.5 Расчет годовых эксплутационных расходов
Годовые эксплутационные расходы представляют собой совокупность текущих затрат по содержанию проектируемого объекта. Годовые эксплуатационные расходы состоят из следующих статей затрат:
заработная плата обсуживающего персонала;
амортизационные отчисления;
расходы на электроэнергию;
расходы на материально техническое снабжение.
Заработная плата обсуживающего персонала.
После внедрения системы появляются дополнительные расходы на системного администратора заработная, плата которого составляет –
9000 руб. в месяц.
Таблица 5.5
Текущие эксплуатационные расходы
|
Статьи затрат |
Сумма за год (руб.) |
Примечание |
|
З\п системного администратора |
108000 |
|
|
Единый социальный налог |
28080 |
26% от п.1 |
|
Обязательное страхование от несчастных случаев |
216 |
0,2% от п.1 |
|
Итого: |
136296 |
Заработная
плата обсуживающего персонала со всеми
текущими расходами составляет:
руб.
Амортизационные отчисления.
Амортизационные отчисления в месяц рассчитываются:
(5.5.1.)
руб.
где Ra - норма амортизации на объект проектирования;
С - капитальные вложения.
5.5. Расходы на электроэнергию
Расходы на электроэнергию рассчитываются:
(5.5.2.)
где N – мощность ЭВМ, кВт/час;
>к>
– коэффициент использования оборудования
по мощности и во времени, применяемый
в пределах 0,7 – 0,9;
>с>
– коэффициент, учитывающий потери
электричества в сети, равный 1,08;
F>д> – действительный фонд времени работы оборудования в часах равный 1400 час.;
d – тариф за 1кВт/час электроэнергии 2,33руб. (2008 г.).
руб.
На основании полученных данных можно произвести сводную калькуляцию годовых эксплуатационных расходов.
Таблица 5.6.
Годовые эксплуатационные расходы
|
Статья годовых эксплуатационных расходов |
Сумма (руб.) |
|
Заработная плата обслуживающего персонала |
136296 |
|
Амортизационные отчисления |
3679 |
|
Расходы на электроэнергию |
1480 |
|
Итого: |
141455 |
Себестоимость разработки приведена в таблице 5.7.
Таблица 5.7
|
Статья расходов |
Обозначение |
Сумма расходов, руб. |
|
Зарплата исполнителей |
|
40006 |
|
Отчисления во внебюджетные фонды |
|
10581 |
|
Стоимость материалов |
|
140450 |
|
Накладные расходы |
|
32003 |
|
Годовые эксплуатационные расходы |
|
141455 |
|
Итого
|
364495 |
Договорная цена изделия будет состоять из стоимости разработки и норматива прибыли (30% от стоимости разработки):
,
(5.5.2.)
.
Поскольку разработка не тиражируется, то НДС в цену не входит.
5.6 Расчет экономической эффективности от внедрения проекта
Годовой экономический эффект рассчитывается по формуле:
Э=∆С – Е>н> . К>доп> , (5.6.1.)
где ∆С - годовая экономия текущих затрат;
Е>н >- нормативный коэффициент сравнительной экономической эффективности капиталовложений (Е>н>=0,15);
К>доп >- дополнительные капиталовложения при внедрении проекта.
Годовая экономия текущих затрат рассчитывается по формуле:
∆С=С>баз> - С>проек> , (5.6.2.)
где С>баз >- текущие затраты по базовому варианту;
С>проек> - текущие затраты по проектному варианту.
Текущие затраты по базовому варианту рассчитываются по формуле:
С>баз>=С>о.зп>+С>доп.зп>+С>вф>+Н>р>+С>мат>+С>аренд>+С>аморт >, (5.6.3.)
где С>мат >- затраты на материалы;
С>аренд >- арендная плата;
С>аморт> - амортизационные начисления.
По базовому варианту работу выполняют 3 человека. Следовательно, годовой фонд зарплаты составит:
>
>(5.6.4.)
С>зп год> = 40006.12 = 480072 руб;
С>вф>= 480072 . 0,262 = 125778 руб;
Н>р>= 480072 . 0,8 = 384057 руб.
Затраты на материалы примем 6 пачек бумаги (110 руб.) и 3 картриджа для принтера (800 руб.):
С>мат>=6 . 110 +3 . 800 = 3060 руб.
Арендная плата (С>аренд>) рассчитывается из расчета 6 м2 на человека, стоимость 1 м2 3650 рублей в месяц:
С>аренд>=6 .3 .3650 .12 = 788400 руб.
Амортизационные отчисления равны:

(5.6.3.)
где N>п> - кол-во пользователей;
Ц>комп >- цена компьютера;
Ц>при >- цена принтера;
Т>сл >- срок службы оборудования.

Текущие затраты по базовому варианту в соответствии с формулой (5.6.3) составили:
С>баз>= 480072+125778+384057+3060+788400+8260 = 1789627 руб.
По проектному варианту ту же работу будет выполнять 1 человек. При той же зарплате годовой фонд зарплаты составит:
С>зп год> = 40006.12 = 480072 руб;
С>вф>= 480072 . 0,262 = 125778 руб;
Н>р>= 480072 . 0,8 = 384057 руб
Затраты на материалы 2 пачки бумаги (110 руб.) и 1 картридж для принтера (800 руб.):
С>мат>=6 . 110 +3 . 800 = 3060 руб.
Арендная плата (С>аренд>) рассчитывается из расчета 6 м2 на 1 человека, стоимость 1 м2 3650 рублей в месяц:
С>аренд>=6 . 1 . 3650 . 12= 262800 руб.
Амортизационные отчисления определяется по формуле (31):

Себестоимость по проектному варианту составит:
=480072+125778+384057+1020+262800+3210=
1256937руб.
Годовая экономия текущих затрат составит:
=1789627–
1256937 = 532690 руб.
Годовой экономически эффект:
Э =532690+0,15. 38150 = 538412,5 руб.
Основные экономические показатели проекта, полученные в результате расчетов, приведены в таблице 5.8.
Таблица 5.8
Основные экономические показатели проекта
|
Наименование показателей |
Единица измерения |
Варианты |
Проектный вариант к базовому в % |
|
|
Базовый |
Проектный |
|||
|
Затраты на разработку |
руб. |
- |
- |
- |
|
Количество работников |
чел. |
3 |
1 |
33% |
|
Годовые текущие затраты |
руб. |
1789627 |
1256937 |
32% |
|
Годовая экономия текущих затрат |
руб. |
_ |
532690 |
|
|
Годовой экономический эффект |
руб. |
_ |
538412,5 |
На основе рассчитанных данных можно сделать заключение, что проектирование и разработка локальной вычислительной сети автоматизированной информационно-управляющей системы данного проекта выгодны, т.к. существенно снижает затраты на обработку информации, значительно повышает его экономическую эффективность от ее применения. Помимо этого, происходит значительная экономия времени и человеческих ресурсов, что позволяет снизить трудоемкость работ в 2 раз.
6. Анализ опасных и вредных факторов в сфере деятельности специалиста по защите информации
Работы, производящиеся при проектировании локально-вычислительной сети, а также при последующей ее эксплуатации и обслуживании, можно квалифицировать как творческую работу с персональными электронными вычислительными машинами (ПЭВМ) и прочими терминальными устройствами.
Изучение и решение проблем, связанных с обеспечением здоровых и безопасных условий, в которых протекает труд человека - одна из наиболее важных задач в разработке новых технологий и систем проектирования. Изучение и выявление возможных причин производственных несчастных случаев, профессиональных заболеваний, аварий, взрывов, пожаров, и разработка мероприятий и требований, направленных на устранение этих причин позволяют создать безопасные и благоприятные условия для труда человека.
Работа сотрудников непосредственно связана компьютером, а соответственно с дополнительным вредным воздействием целой группы факторов, что существенно снижает производительность их труда. К таким факторам можно отнести:
1) воздействие вредных излучений от монитора;
2) неправильная освещенность;
3) не нормированный уровень шума;
4) нарушение микроклимата;
5) наличие напряжения;
и другие факторы.
6.1 Описание рабочего места специалиста по защите информации
Рабочее место специалиста - это часть пространства, в котором работник осуществляет трудовую деятельность, и проводит большую часть рабочего времени. Рабочее место, хорошо приспособленное к трудовой деятельности работника, правильно и целесообразно организованное, в отношении пространства, формы, размера обеспечивает ему удобное положение при работе и высокую производительность труда при наименьшем физическом и психическом напряжении.
При правильной организации рабочего места производительность труда работника возрастает с 8 до 20 процентов.
Рабочего места и взаимное расположение всех его элементов должно соответствовать антропометрическим, физическим и психологическим требованиям. Большое значение имеет также характер работы. В частности, при организации рабочего места оператора должны быть соблюдены следующие основные условия:
- оптимальное размещение оборудования, входящего в состав рабочего места;
- достаточное рабочее пространство, позволяющее осуществлять все необходимые движения и перемещения;
- необходимо естественное и искусственное освещение для выполнения поставленных задач;
- уровень акустического шума не должен превышать допустимого значения.
Главными элементами рабочего места оператора являются письменный стол и кресло. Основным рабочим положением является положение сидя.
Рабочая поза сидя вызывает минимальное утомление оператора. Рациональная планировка рабочего места предусматривает четкий порядок и постоянство размещения предметов, средств труда и документации. То, что требуется для выполнения работ чаще, расположено в зоне легкой досягаемости рабочего пространства.
Моторное поле - пространство рабочего места, в котором могут осуществляться двигательные действия человека.
Максимальная зона досягаемости рук - это часть моторного поля рабочего места, ограниченного дугами, описываемыми максимально вытянутыми руками при движении их в плечевом суставе.
Оптимальная зона - часть моторного поля рабочего места, ограниченного дугами, описываемыми предплечьями при движении в локтевых суставах с опорой в точке локтя и с относительно неподвижным плечом
Важным моментом является также рациональное размещение на рабочем месте документации, канцелярских принадлежностей, что должно обеспечить работающему удобную рабочую позу, наиболее экономичные движения и минимальные траектории перемещения работающего и предмета труда на данном рабочем месте.
Создание благоприятных условий труда и правильное эстетическое оформление рабочих мест на производстве имеет большое значение как для облегчения труда, так и для повышения его привлекательности, положительно влияющей на производительность труда. Окраска помещений и мебели должна способствовать созданию благоприятных условий для зрительного восприятия, хорошего настроения. В служебных помещениях, в которых выполняется однообразная умственная работа, требующая значительного нервного напряжения и большого сосредоточения, окраска должна быть спокойных тонов - малонасыщенные оттенки холодного зеленого или голубого цветов
При разработке оптимальных условий труда оператора необходимо учитывать освещенность, шум и микроклимат.
7. Меры обеспечения допустимых условий труда в рабочем помещении специалиста по защите информации
7.1 Электромагнитные излучения
При работе на персональном компьютере наиболее тяжелая ситуация связана с полями излучений очень низких частот, которые способны вызывать биологические эффекты при воздействии на живые организмы. Обнаружено что поля с частотой порядка 60 Гц могут инициировать изменения в клетках животных (вплоть до нарушения синтеза ДНК). Поэтому для защиты от этого вида излучений используются следующие рекомендации:
- применяются видеоадаптеры с высоким разрешением и частотой обновления экрана не ниже 70-72 Гц;
- применяются мониторы соответствующие стандарту MPR II, а также ТСО-92.
Соответствие стандарту MPR II по электромагнитным излучениям можно проверить, используя прибор Combinova или аналогичный. В соответствии со стандартом, следует проводить измерения в 16 точках на расстоянии 50 см от монитора и оценить испытываемые устройства по параметрам "максимум излучения крайне низкой частоты (КНЧ)" и "Максимум излучения очень низкой частоты (ОНЧ)". Чтобы монитор удовлетворял требованиям указанного стандарта, его КНЧ-замеры не должны превышать 200 нТ, а ОНЧ-замеры - 25 нТ.
Вследствие воздействия электронного пучка на слой люминофора поверхность экрана приобретает электростатический заряд. Сильное электростатическое поле небезобидно для человеческого организма. На расстоянии 50 см влияние электростатического поля уменьшается до безопасного для человека уровня. Применение специальных защитных фильтров позволяет свести его к нулю.
Но при работе монитора электризуется не только его экран, но и воздух в помещении.
Причем приобретает он положительный заряд, а положительно наэлектризованные молекулы кислорода не воспринимается организмом как кислород и не только заставляют легкие работать впустую, но приносят в легкие микроскопические частицы пыли.
Для защиты служащих применяется:
- внешний экран, с металлическим напылением, заземленный на общую шину:
- экран монитора, имеющий антистатическую поверхность, что исключает притягивание пыли;
- частое проветривание помещения.
При эксплуатации монитор компьютера излучает мягкое рентгеновское излучение. Опасность этого вида излучения связана с его способностью проникать в тело человека на глубину 1-2 см и поражать поверхностный кожный покров.
Монитор, построенный на базе электронной лучевой трубки, является наиболее сильным источником электрических и магнитных полей, входящим в состав ПЭВМ.
Интенсивность электромагнитного излучения в 5 см от экрана составляет 64 В/м, но на расстоянии 30 см, не превышает 2,4 В/м, что ниже, чем допустимый уровень. Это же можно сказать и об интенсивности ультрафиолетового и инфракрасного излучения.
Таким образом, при работе на настоянии 40 - 50 см от экрана дисплея вредное воздействие исключено.
7.2 Освещенность
Искусственное освещение в помещениях эксплуатации мониторов и ПЭВМ должно осуществляться системой общего равномерного освещения. В производственных и административно-общественных помещениях, в случаях преимущественной работы с документами, допускается применение комбинированного освещения.
Освещенность на поверхности стола в зоне размещения рабочего документа должна быть 300-500 лк. (минимальный размер объекта различения-толщина штриха буквы - 0.3 мм,отсюда разряд зрительной работы – работа высокой точности). Допускается установка светильников местного освещения для подсветки документов. Местное освещение не должно создавать бликов поверхности экрана и увеличивать освещенность экрана более 300 лк.
Следует ограничивать прямую блесткость от источников освещения, при этом яркость светящихся поверхностей (окна, светильники и др.), находящихся в поле зрения, доля быть не более 200 кд/кв.м.
Следует ограничивать отраженную блесткость на рабочих поверхностях (экран, стол, клавиатура и др.) за счет правильного выбора типов светильников и расположения рабочих мест по отношению к источникам естественного и искусственного освещения.
Следует ограничивать неравномерность распределения яркости в поле зрения пользователя монитора и ПЭВМ, при этом соотношение яркости между рабочими поверхностями не должно превышать 3:1-5:1, а между рабочими поверхностями и поверхностями стен и оборудования - 10:1.
В качестве источников света при искусственном освещении должны применяться преимущественно люминисцентные лампы типа ЛБ. При устройстве отраженного освещения производственных и административно-общественных помещениях допускается применение металлогалогенных ламп мощностью до 250 Вт. Допускается применение ламп накаливания в светильниках местного освещения.
Общее освещение следует выполнять в виде сплошных или прерывистых линий светильников, расположенных сбоку от рабочих мест, параллельно линии зрения пользователя при рядном расположении мониторов и ПЭВМ. При периметральном расположении компьютеров линии светильников должны находиться ближе к переднему краю, обращенному к оператору.
Для обеспечения нормируемых значений освещенности в помещениях использования мониторов и ПЭВМ следует проводить чистку стекол оконных рам и светильников не реже двух раз в год и проводить своевременную замену перегоревших ламп.
7.3 Шум
Шум оказывает вредное влияние на нервную систему и снижает производительность труда. В частности, снижается скорость и точность сенсомоторных процессов, увеличивается число ошибок при решении интеллектуальных задач.
Особенностью шума является то, что по мере воздействия его во времени увеличивается его негативное влияние на нервную систему.
При увеличении уровня шума до 80дБ и более шум оказывает серьезное физиологическое воздействие на организм — может возникнуть гипертония, язвенная болезнь, неврозы, желудочно-кишечные и кожные заболевания. Шум уровня 90-100дБ приводит к общему утомлению, тугоухости и глухоте, притупляется острота зрения, появляются головные боли, повышается кровяное и внутричерепное давление, изменяется объем внутренних органов и т.д. Пребывание работающих в зонах с уровнем звукового давления более 135 дВ в любой октавной полосе запрещается.
Для рабочих мест с использованием устройств в административных помещениях и лабораториях, связанных с часто повторяющимися операциями допустимое значение эквивалентного уровня звука не должно превышать 60 дБ для 8-часовой рабочей смены. Для защиты от шума используются следующие меры:
рациональное размещение рабочих мест и оборудования, учет шумовой карты помещения;
создание шумозащищенных зон;
Уровень шума на рабочем месте составляет 14 дБ, что удовлетворяет требованиям стандарта.
7.4 Микроклимат
Микроклиматические параметры производственной среды - это сочетание температуры, относительной влажности и скорости воздуха.
Эти параметры в значительной степени влияют на функциональную деятельность человека, его самочувствие, здоровье, а также и на надежность работы вычислительной техники.
Причем в производственных условиях характерно суммарное действие микроклиматических параметров.
Большое влияние на микроклимат в помещениях предприятий ИО оказывают источники теплоты - это ПЭВМ, приборы освещения, обслуживающий персонал, а также солнечная радиация.
Причем наибольшие суммарные тепловыделения среди помещений предприятий ИО имеют машинные залы, а в них основным тепловыделяющим оборудованием являются ЭВМ, которые дают в среднем до 80% суммарных тепловыделений. От приборов освещения тепловыделения составляют в среднем 12%, от обслуживающего персонала - 1%, от солнечной радиации - 6%. Приток теплоты через непрозрачные ограждающие конструкции - 1%.
На организм человека и работу оборудования на предприятии ИО большое влияние оказывает относительная влажность воздуха. При влажности воздуха до 40% становится хрупкой основа магнитной ленты, повышается износ магнитных головок, выходит из строя изоляция проводов, возникает статическое электричество при движении носителей информации в ЭВМ.
7.5 Электробезопасность
Компьютер является электрическим устройством с напряжением питания 220/380 В трехфазной четырехпроводной сети с заземленной нейтралью.
В мониторе используется напряжение в несколько десятков киловольт. Во избежание поражения электрическим током, возникновения пожара и повреждения компьютера следует соблюдать следующие меры безопасности:
- запрещается включать компьютер
и периферию со снятой крышкой;
- запрещается эксплуатация компьютера с неисправным шнуром питания;
- запрещается подключать к компьютеру периферийные устройства при включенном питании;
- запрещается эксплуатация компьютера в помещении с высокой влажностью или сильно загрязненным воздухом;
- при эксплуатации требуется принять меры, исключающие удары и падения компьютера;
- не оставлять без присмотра работающий компьютер;
- не допускается попадание внутрь компьютера и периферии посторонних предметов, жидкостей и сыпучих веществ;
- не допускаются перегибы, передавливания и натяжения питающих кабелей;
- не допускается устанавливать компьютер вблизи источников тепла;
- не допускается закрывание вентиляционных отверстий компьютера и периферии.
Производится разработка вычислительной сети, в состав которой входят ПЭВМ, соединение между которыми реализуется при помощи кабелей.
В основном, работы по монтажу сети заключаются в сборке закупленных компонентов сети и их подключении к электросети.
Для обеспечения электробезопасности при монтаже, наладке и работе с сетью необходимо обратить особое внимание на создание защитных мер от попадания пользователей и обслуживающего персонала под напряжение, для предотвращения электротравматизма при работе с сетью.
7.6 Пожарная безопасность
В соответствии с СНиП пожарная безопасность объекта должна обеспечиваться системой предотвращения пожара, системой противопожарной защиты, организационно-техническими мероприятиями.
По классификации рассматриваемое помещение по взрывобезопасности пожарной безопасности относится к самой безопасной категории Д («Помещения с негорючими веществами и материалами в холодном состоянии»).
Противопожарная защита помещения обеспечивается применением автоматической установки пожарной сигнализации, а также применением основных строительных конструкций здания с регламентированными пределами огнестойкости. Задняя и боковые стенки дисплеев отстоят не менее чем на 0.2 м от других предметов.
Кроме того, в соответствии с нормами первичных средств пожаротушения при площади помещения, не превышающей 100м2, в распоряжении персонала имеется углекислотный огнетушитель ОУ-5, предназначенный, для тушения загорания различных, веществ и электроустановок с напряжением до 10 кВ при температуре окружающего воздуха от -40 до +50'С.
Оповестить всех сотрудников на этаже и до прибытия пожарной части, принять все меры к ликвидации пожара, используя пожарные краны, огнетушители и другой имеющийся противопожарный инвентарь.
При необходимости начальникам отделов и служб организовать эвакуацию людей, документации и имущества.
Покидая при пожаре комнаты и этаж закрыть все окна и двери во избежание распространения огня, также при возможности предупредить других людей в здании.
Эвакуация людей при пожаре производится в соответствии с планом эвакуации при пожаре, который находится на каждом этаже здания.
Выводы по разделу:
В разделе раскрыты вопросы безопасности в сфере деятельности специалиста по защите информации. Были Рассмотрены вопросы пожарной безопасности помещения, также была осуществлена электробезопасность рабочего места оператора и изучено влияние электромагнитного излучения на человека.
Рассмотрены вопросы микроклимата и уровня шума в заданном помещении из всего выше перечисленного можно сказать, что данное помещения отвечает требованиям для работы специалиста по защите информации.
Заключение
В настоящее время, все более острой становится задача построения абонентской части корпоративной сети.
Для решения этой задачи в работе проведен анализ сетей беспроводного доступа. Анализ показал необходимость организации беспроводного доступа по ряду причин: 1. Недостаточная телефонизация удаленных регионов; 2. Высокая стоимость организации проводного доступа через естественные и искусственные физические препятствия.
На основе проведенного анализа в работе сформулированы предложения по организации беспроводного доступа. Особенностью предложенного решения является использования комплекта оборудования, способного организовать объединения удаленных объектов (до 1200 абонентов, на расстоянии до 32 км).
Таким образом, на основе предложенного решения может быть организованна абонентская часть корпоративной сети, удовлетворяющей требованиям по разнородность трафика, пропускной способности, масштабируемости и минимальной стоимости, для отделов федеральной службы и других структур, в случае ограничений на организацию проводного доступа. Из них следует предложенное в работе решение позволяет получить выигрыш по стоимость по сравнению с подобными проводными системами, а также с другими типами оборудования основанного на технологиях беспроводного радиодоступа, в несколько раз.
В перспективе возможно применение систем беспроводного широкополосного радиодоступа для построения магистральной части локальной сети. Для этого в качестве направлений для дальнейших исследований необходимо использовать:
увеличение дальности передачи информации,
увеличение помехоустойчивости,
снижение стоимости оборудования.
Список литературы:
1. Котиков И.М. Пространство технологий абонентского доступа для оператора связи// Технологии и средства связи 2003.№1.
2. Котиков И.М. Технологии проводного доступа для мультисервисных сетей связи// Технологии и средства связи 2003. №3.
3. Технологии и средства связи 2003.№5.
4. Мельников В. Защита информации в компьютерных системах. – М.: Финансы и статистика, 1997.
5. Мельников Д.А. Информационные процессы в компьютерных сетях. – М.: Кудиц-Образ, 1999.
6. Щербо В.К. Стандарты вычислительных сетей. – М.,: Кудиц – Образ, 2000.
7. Мауфер Т. WLAN «Практическое руководство для администраторов и профессиональных пользователей» Пер.с англ.-М.:КУДИЦ-ОБРАЗ,2005.
8. Шахнович С. «Современные беспроводные технологии» СПб.:ПИТЕР,2004.
9. Рошан П. «Основы построения беспроводных локальных сетей стандарта 802.11»
10. Олифер В. Олифер Н. «Компьютерные сети. Принципы, технологии, протоколы» СПб.:ПИТЕР,2001
11. Экономика предприятия. Под ред. Волкова, М.: Инфра-М, 1997 г.
12. Организация производства. Под ред. проф. ТуровцаО.Г. Издание Воронежского университета. 1993 г.
13. Экономика предприятия. Под ред. проф. Горфинкеля В.Я., проф. Куприянова Е.М. М.: Банки и биржи изд. Объединение "Юниги", 1996 г.
14. Экономика предприятия. Под ред. академика Манвша, д.э.н. профессора Семенова В., М.: 1997г.
15. Безопасность жизнедеятельности. Учебник для вузов /Под общ. Ред. С.В.Белова - М.: Высш.шк.,1999.
16. Воздействие на организм человека опасных и вредных экологических факторов. Метрологические аспекты. В 2-х томах. /Под ред. Исаева Л.К.- М., ПАИМС.1997.
17. Инженерная экология. Общий курс. В 2-х т./Под ред. И.И. Мазура.- М.: Высш. шк., 1996.
18. Охрана окружающей среды. /Под ред. Белова С.В.-М.:Высш.шк.,1991.
19. ГОСТ 12.1.007 ССБТ. Вредные вещества. Классификация и общие требования безопасности.
20. ГОСТ 17..13..01-86. Атмосфера. Правила контроля качества воздуха населенных пунктов.
21. ГОСТ 12.1.033 ССВТ. Пожарная безопасность. Термины и определения.
22. ГОСТ 12.1.044 ССБТ. Пожаров взрывоопасность веществ и материалов.
23. ГОСТ 12.2.037 ССБТ. Техника пожарная. Требования безопасности.
24. Безопасность жизнедеятельности учебник для ВУЗов, Белова С.В. – М.: Высшая школа 2005. 606 стр.
25. Шаров М.И., Кочетов А.С., Локальная компьютерная сеть микрорайона города Серпухова с комплексной защитой объектов информатизации. Материалы 1 Научно-практической конференции молодых ученых «Южного Подмосковья», Вестник ИИФ РФ, 4, 2007 г.
26. Александров А.М., Шаров М.И., Локальная компьютерная сеть с комплексной защитой объектов информатизации, заявка на изобретение МПК Н 02 G 15/24, патентообладатель: Институт инженерной физики РФ, приоритет февраль 2008 г.
27. Switch D-Link DES-1005D, RECYCLABLE (Dec. 2004), Ver. 1.02.
3, 4,5,6 Работы Шарова М.И.
),
),
(календарные дни)
:
: