Электролитические и оптические методы контроля РЭСИ
Министерство образования Республики Беларусь
Белорусский государственный университет информатики и
радиоэлектроники
кафедра РЭС
РЕФЕРАТ
на тему:
«Электролитические и оптические методы контроля РЭСИ»
МИНСК, 2008
Электрография.
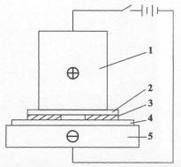
Электролит состоит из бензидина, поверхностно-активного вещества и коллоида. Далее к ячейке прикладывают напряжение 5-10 В при 1 мкА и выдерживают 5-10 мин. При приложении к ячейке напряжения неокрашенный раствор солянокислого бензидина окисляется с образованием темно-синих продуктов. После проведения процесса электрографии на фильтрованной бумаге получается зеркальное изображение сквозных дефектов в виде темных пятен, форма и размер которых точно соответствует дефектам в диэлектрической пленке. Процесс изображен на рисунке 1.
Электрофорез.
Электрофорез – движение заряженных частиц, находящихся в виде суспензии в жидкости, в электрическом поле между двумя электродами на одном из которых происходит осаждение частиц.
Процесс включает в себя: стадию заряда частиц, транспортирования в электрическом поле и осаждения. Положительно заряженными частицами оказываются частицы гидроокисей металлов, органических красителей, отрицательно заряженными - частицы металлов, сульфидов и др. Ячейка для электрофореза представлена на рис. 2.
В качестве электролита используется ацетон или метиловый спирт. Расстояние между электродами 5 мм, время процесса 3 мин., напряжение до 80В.
При малой толщине окисла <<0,02 мкм наблюдаются дефекты, локализованные непосредственно вблизи поверхности полупроводника (возможно, они возникли после механической полировки поверхности). До 0,04 мкм плотность выявленных дефектов возрастает, а затем быстро падает (рис.3).

Рисунок 1 – Принципиальная схема установки для электрохимической автографии
1 – анод; 2 – кремниевая подложка;
3 – диэлектрическая пленка;
4 – мембранная бумага;
5 – катод.

Рисунок 2 – Испытательная ячейка для электрофореза
1 – исследуемая структура; 2 – электрододержатель;
3 – электролит; 4 – второй электрод (катод).

Рисунок 3 – Зависимость плотности дефектов от толщины слоя SiO>2>
Этот характер кривой можно объяснить дополнительным выявлением сквозных дислокаций через тонкую пленку окисла. При более толстом слое окисла d = 0,04 мкм эффект сквозных дислокаций ослабевает, выявляются только несквозные дефекты. При толщинах более 0,08 мкм выявляются дефекты, образованные в результате осаждения пленок. Как видно из рис. 4 плотность пор, выявленная методом электролиза (нижняя кривая), много меньше плотности дефектов, выявленных электрофорезным декорированием (верхняя кривая), в связи с тем, что электролиз не способен выявить "скрытые дефекты" и выявляет только сквозные поры. Электрофорез позволяет обнаруживать следующие виды дефектов: сквозные и несквозные поры окисла, скопления примесей вблизи поверхности.
Декорирование с помощью коронного разряда.
Этот метод является модификацией электрофорезного декорирования. На первом этапе процесса ионы коронного разряда осаждаются на поверхность образца и заряжают диэлектрические участки пленки. Этот заряд создает электрическое поле. Источником положительно заряженных ионов служит проволочная сетка, подсоединенная к высоковольтному источнику постоянного тока, обеспечивающему напряжение до ±10 кВ и ток до 6 мА. Сетка располагается в 2 см над пластиной.

Рисунок 4 – Зависимость плотности дефектов от приложенного напряжения для методов
1 – электрофореза; 2 – электролиза.
На втором этапе образец погружается в суспензию, состоящую из заряженных частиц.
При совпадении знаков зарядов осаждаемых частиц и диэлектрической пленки осаждение частиц идет в местах дефектов - происходит прямое декорирование, которое менее полезно, чем обратное, так как дефекты оказываются закрытыми осадком.
При противоположных знаках зарядов частиц и диэлектрической пленки, частицы осаждаются всюду, кроме дефектов и окружающих их областей. Такой процесс называется обратным декорированием. Недостатком метода является необходимость работы с высокими напряжениями и необходимость тщательной очистки поверхности пластины.

Рисунок 5 – Схема процесса осаждения заряженных частиц на заряженную подложку
а) прямое декорирование; б) обратное декорирование
Сравнительная оценка параметров электрохимических методов обнаружения дефектов в слоях двуокиси кремния представлена в таблице 1.
Таблица 1
Сравнительные характеристики параметров электрохимических методов контроля
|
Название метода |
Чувствительность, мкм |
Разрешающая способность, мкм |
|
Электролиз (пузырьковый) |
0,3 |
40-60 |
|
Электрография: а) Цветные реакции |
0,5 |
2-5 |
|
б) На фотобумаге |
0,1 - 0,3 |
200 - 300 |
|
Электрофорез |
0,1 - 0,3 |
10-30 |
|
Декорирование с помощью коронного разряда |
1 -5 |
Оптический контроль
Оптические методы неразрушающего контроля основаны на анализе взаимодействия оптического излучения с объектом контроля. Методы оптического контроля и области их применения приведены в ГОСТ 23479-79 и ГОСТ 24521-80.
Спектр оптических излучений подразделяется по длине волны на три участка: инфракрасное излучение (от 1 мм до 780 нм), видимое излучение (от 780 нм до 380 нм) и ультрафиолетовое излучение (от 380 нм до 10 нм).
Разрешающая способность оптических методов:

где А – коэффициент преломления среды (материала между наблюдаемым
объектом и линзами);
л – длина волны.

2б – максимальный угол при вершине конуса лучей, попадающих в точку
изображения на оптической оси;
D – числовая апертура линз объектива;
F – фокусное расстояние;
D – диаметр апертуры (диафрагмы) (см. рис. 6).
Для самых лучших современных объективов величина А, в случае воздуха, может достигать 0.95, а при заполнении пространства между объектом и объективом маслом эта величина может быть увеличена до 1,5. Разрешение самых лучших оптических микроскопов достигает 0,3 мкм. Оптическими методами можно контролировать качество кристаллов и оснований ИС, монтажа, сварных и паяных соединений, плёнок и т. д. Основные методы оптического контроля приведены в таблице 2.
Рассмотрим наиболее часто применяющиеся методы оптического контроля в технологии РЭСИ.
Визуально-оптический контроль.
Одними из наиболее распространённых приборов визуального контроля являются микроскопы - бинокулярный, стереоскопический и проекционный. Точность контроля объекта при работе с проекционным экраном несколько меньше, чем при наблюдении в окуляр.
Бинокулярные и проекционные микроскопы можно разделить на «эписко-пические», (для контроля в отражённых лучах) и диаскопические (для контроля в проходящих лучах).
Оптическая схема эпископического проектора представлена на рис. 7. Контроль осуществляется в светлом поле зрения. Основным недостатком является малая яркость и недостаточная контрастность изображений.
Диаскопические проекторы представляют собой либо просмотровую лупу создающую мнимое, прямое, увеличенное изображение, либо проекционное устройство, создающее действительное, обратное, увеличенное изображение. Различают линзовые и зеркальные диаскопы. Оптическая схема линзового диаскопа представлена на рис. 8. Рассматривание кадра осуществляется при освещении либо от специального источника света с искусственной подсветкой, либо на каком-нибудь ярком фоне с естественной подсветкой. Оптическая схема зеркального диаскопа представлена на рис. 9.
Интерферометрический контроль.
Среди интерферометрических выделяют три характерных метода.
Цветовой метод. Основан на свойстве тонких прозрачных плёнок, нанесённых на отражающую подложку, менять свой цвет в зависимости от толщины (явление интерференционных световых лучей, отражённых от границы раздела «плёнка — воздух» и «плёнка — подложка»). Цвета плёнок двуокиси кремния в зависимости от толщины приведены в таблице 3.

Рисунок 6 – Оптическая схема

Рисунок 7 – Оптическая схема эпископического проектора
Таблица 2
Оптические методы неразрушающего контроля и области их применения.
|
Название метода |
Область применения |
Контролируемые параметры |
Чувствительность |
Отно-ситель ная погрешность, % |
Факторы, ограничивающие область применения |
|
1. Визуальный |
Дефектоскопия, контроль размеров |
Дефектность, отклонение от заданной формы изделия |
0,1 мм |
- |
Диапазон длин волн должен быть 0,38 - 0,76 мкм |
|
2. Визуально – оптический |
Дефектоскопия с помощью микроскопов и проекционных устройств |
Размеры изделий, дефектов, отклонений от заданной формы |
0,6 А |
0,1-1,0 |
Минимальная яркость объекта контроля не менее 1 кд/м2 |
|
3. Фотометрический |
Контроль параметров осаждения тонких пленок |
Интенсивность излучений, отражаемых или пропускаемых контролируемыми структурами |
0,6 А |
5 |
- |
|
4. Реф-лексомет-рический |
Контроль шероховатости поверхности изделий |
Коэффициент отражения |
0,6 А |
1,0 |
- |
|
5. Денси-тометри-ческий |
Контроль оптической плотности прозрачных пленок |
Коэффициент пропускания, оптическая плотность |
А |
1,0 |
Применим для нерассеи-вающих прозрачных сред |
|
6. Нефе-лометри-ческий |
Анализ структуры кристаллов |
Коэффициент рассеивания, концентрация включений |
0,6 А |
1,0 |
- |
|
7. Рефракционный |
Контроль оптических сред |
Показатель преломления |
0,6 А |
0,01 |
Применим для оптически прозрачных сред |
|
8. Интер-феромет-рический |
Контроль толщины, шероховатости и размеров изделий |
Толщина, размеры изделий |
0,1 |
0,1 |
Поверхность изделий должна быть отполированной |
|
9. Дифракционный |
Контроль размеров тонких волокон, формы острых кромок, отверстий |
Диаметры волокон, размеры дефектов, острых кромок |
0,1 |
1,0 |
Размеры дефектов должны быть сравнимы с длиной волны света |
|
10. Спектральный |
Контроль спектральных характеристик изделий в проходящем и отраженном свете |
Спектральные коэффициенты отражения, поглощения, пропускания, концентрация вещества |
10-4 |
1,0 |
- |
|
11. Поляризационный |
Контроль напряжений в прозрачных средах, анализ степени поляризации источников света, эллипсо-метрическая толщиномет-рия (одновременно контроль толщины и показателя преломления) |
Вращение плоскости поляризации, толщина и показатель преломления |
|
1,0 |
Применим только для оптически прозрачных сред |
|
12. Стробоскопический |
Дефектоскопия и размерный контроль подвижных объектов |
Угловая скорость, дефектность |
10-6 с |
5,0 |
- |
|
13. Голо-графический |
Контроль геометрии объектов сложной формы (фотошаблонов). |
Деформации, перемещения, отклонения от заданной формы, градиенты показателя преломления |
0,1 |
1,0 |
- |
|
14. Телевизионный |
Оптический анализ структуры веществ, измерение линейных размеров |
Размеры дефектов |
|
1,0 |
- |
Таблица 3
Цвета плёнок двуокиси кремния в зависимости от толщины
|
Цвет пленки |
Толщина пленки двуокиси кремния, мкм |
|
Бежевый |
0,05 |
|
Темно-фиолетовый |
|
|
Светло-красновато-фиолетовый |
0,85 |
Относительная погрешность измерения толщины пленок составляет 10%.
Первый эллипсометрический параметр (отношение амплитуд компонент, параметр условно обозначили через тангенс) определяется из соотношения:

Второй эллипсометрический параметр определяется из соотношения:


Рисунок 8 – Оптическая схема линзового диаскопа (изображение
мнимое, прямое, увеличенное)

Рисунок 9 – Оптическая схема зеркального диаскопа с искусственно-
подсветкой (изображение действительное, обратное, увеличенное)
Таким образом, параметр А есть относительная разность фаз между Р и S компонентами, возникшая вследствие отражения от рассматриваемой структуры. Основное уравнение эллипсометрии имеет вид:

Величина р
для случая тонкой прозрачной диэлектрической
пленки на поверхности полупроводника
является функцией, показателей преломления
окружающей
среды, пленки и подложки
,
толщины пленки d,
длины волны лизерия л
и угла падения луча на образец –
(см. рис. 10).

Конкретная зависимость имеет вид


Рисунок 10 – Ход лучей при отражении линейно поляризованного
света от поверхности полупроводника с пленкой
r>1>>p>, r>2>>p>, r>1>>s>, r>2>>s> – соответственно коэффициенты отражения раздела «воздух-пленка» и «пленка-подложка»;
– изменение фазы, вызванное
прохождением луча света через пленку
толщиной d.

Метод контроля с помощью интерференциональных микроскопов. Для контроля толщины покрытия необходимо получить на подложке, с напыленной на ней пленкой, уступ. Толщина слоя находится как:

где а – величина изгиба полосы
b – расстояние между соседними темными и светлыми полосами.
л – длина волны источника света
Широко распространенный микроскоп МИИ-4 позволяет контролировать толщину пленок от 0,03 до 2,2 мкм с относительной погрешностью 5%.
Метод контроля с помощью лазерной интерферометрии (контроль диэлектрических пленок в процессе их получения).
Вследствие интерференции отраженных от границ («пленка – подложка» и «пленка – среда») лучей, интенсивность сигнала фотоэлемента меняется периодически с изменением толщины наращиваемой пленки. Общая толщина диэлектрической пленки нанесенной на стеклянную или ситалловую подложку:

где Z – суммарное число экстремумов (т.е. максимумов и минимумов); л – длина волны монохроматического света; n – показатель преломления пленки; ц – угол преломления луча в пленки.
Лазерная интерферометрия позволяет контролировать не только суммарную толщину, но и промежуточную. Для измерения толщины эпитаксиальных слоев от 2 до 50 мкм используется спектральный диапазон инфракрасного (ИК) излучения. В диапазоне ИК волн исследуемые пленки прозрачны.
Поляризационный (эллипсометрический) контроль.
Этот метод основан
на изменении поляризации света,
отраженного от подложки
с тонкой прозрачной пленкой на поверхности.
[29;30] При освещении
подложки линейно-поляризованным светом,
составляющие излучения
(параллельная и перпендикулярная
плоскости падения) отражаются по разному,
в результате чего, после отражения
излучение оказывается эллиптически
поляризованным (рис.11). Отсчет положительных
значений угла ведется
против часовой стрелки. Измерив
эллиптичность отраженной волны,
можно определить свойства пленки,
вызвавшей изменения поляризации.
Состояние
эллиптической поляризации определяется
двумя эллипсометрическими
параметрами
и А.
Зная оптические
параметры, толщину пленки d
(изменяется от 0,5 до 10 мкм), длину волны
л
(составляет
0,5-0,6 мкм), угол падения
(изменяется от 45° до 75°) и экспериментально
определив значение
и А
и определяют
показатель преломления
.
Результатами расчета являются номограммы
(рис. 12), на
которых представлены зависимости A,
.
Величины ш
и А
являются периодическими функциями
толщины и повторяются через так
называемый эллипсометрический период
равный 250...300 нм, в зависимости
от показания преломления п, и угла
падения
.
После приближенного
определения
,
а также и в том случае, когда величина
n,
известна
заранее, используют кривые
и
(рис 13), построенные
для определенного значения углов падений
и показателей преломления
для более точного определения толщины
пленки d.
Используя лазерную эллипсометрию,
определяют толщины пленок от
до 17 мкм и показатели преломления от
1,1 до 3,0.
Разновидностью эллипсометрии является инфракрасная эллипсометрия. Она используется для определения толщины пленок и концентрации носителей заряда в сильнолегированных подложках (структуры nn+, pp+, Si, Ge, GaAs). Контроль толщины осуществляется в диапазоне от 1 до 10 мкм в структурах кремния, GaAs на 154мкм. В сильнолегированных положках из-за большого поглощения света на свободных носителях (исследуемая пленка становиться непрозрачной для видимого диапазона длин волн) показатель преломления начинает зависеть от концентрации носителей.
Толщина пленки и концентрация носителей заряда рассчитывается по зависимости:

где d – толщина пленки;
n – концентрация носителей заряда.
Оптические методы контроля обладают высокой разрешающей способностью и хорошей чувствительностью и позволяют перейти от традиционного использования зрительного рецептора оператора к автоматическим методам обработки изображения и использованию полученной информации в процессах испытания РЭСИ.


Рисунок 11 – Номограммы ш и А для приближенного определения
показателей преломления n и толщины d эпитаксиальных пленок

Рисунок 12 – Номограммы для определения толщины пленок

Рисунок 13 – Спектральная зависимость показателя преломления с различной концентрацией свободных носителей от длины волны падающего излучения 1 – N=1018 см3; 2 – N=1019 см3
ЛИТЕРАТУРА
Глудкин О.П. Методы и устройства испытания РЭС и ЭВС. – М.: Высш. школа., 2001 – 335 с
Испытания радиоэлектронной, электронно-вычислительной аппаратуры и испытательное оборудование/ под ред. А.И.Коробова М.: Радио и связь, 2002 – 272 с.
Млицкий В.Д., Беглария В.Х., Дубицкий Л.Г. Испытание аппаратуры и средства измерений на воздействие внешних факторов. М.: Машиностроение, 2003 – 567 с
Национальная система сертификации Республики Беларусь. Мн.: Госстандарт, 2007
Федоров В., Сергеев Н., Кондрашин А. Контроль и испытания в проектировании и производстве радиоэлектронных средств – Техносфера, 2005. – 504с.

