Обладнання Lucent Technologies для побудови інтелектуальних мереж (IN)
Обладнання Lucent Technologies для побудови інтелектуальних мереж (IN)
Компанія Lucent Technologies постачає повний спектр обладнання, визначеного рекомендаціями ITU-T і стандартами ETSI для створення мереж IN: SSP, SCP, IP, SMP, SCEP. Обладнання Lucent Technologies використовується для побудови мереж IN у Північній Америці, Великобританії, Іспанії, Італії та інших країнах.
Для надання послуг IN на основі централізованої платформи на цифровій АТС установлюється спеціальний модуль ПЗ, що дозволяє АТС суміщувати функції CCF/SSF і SCF.
Такий вузол виконує функції інтегрованого вузла комутації та управління послугами SSCP. Станція 5ESS-2000 виробництва Lucent Technologies може функціонувати як вузол SSCP, при цьому не потрібно додаткового обладнання, а пакет ПЗ завантажується безпосередньо в нову або вже встановлену станцію 5ESS-2000.
У випадку розподіленої IN необхідно встановити додаткове обладнання: вузол SCP, вузол SMP, вузол SCEP і IP. На рис. 1 наведено архітектуру IN Lucent Technologies з використанням розподіленої платформи із зазначенням інтерфейсів між окремими мережними елементами. Чим більша кількість станцій нижнього рівня мережі охоплена функціями SSP, тим вища ефективність IN.

Рисунок 1 – Розподілена платформа IN Lucent Technologies
Вузол комутації послуг SSP компанії Lucent Technologies будується на базі комутаційної системи 5ESS-2000 і забезпечує функції управління зв'язком користувача ССF і функції комутації послуг SSF, а також підтримку інтерфейсу з автономними SCP протоколом INAP. 5ESS-2000 може працювати і як вузол доступу NAP, лише виявляючи виклики, що вимагають звернення до послуг IN, щоб направляти їх до SSP.
Можливість роботи 5ESS-2000 як SSP реалізована як прикладна програма, що працює на стандартній програмно-апаратній платформі комутаційної системи, та не вимагає оснащення її додатковими апаратними засобами.
Система 5ESS-2000 складається з одного або декількох концентраторів SM-2000, модуля зв'язку СМ і адміністративного модуля AM (рис. 2).

Рисунок 2 – Архітектура станції 5ESS-2000
Стандартні функції управління зв'язком користувача ССF розширені функціями SSF, що дозволяє SSP 5ESS-2000 виявляти виклики, які вимагають послуг IN, і припиняти процес їхньої обробки в специфікованих ITU-T точках виявлення до одержання інструкцій з боку SCP.
Вузол IP пропонується як самостійне обладнання, а також як обладнання, інтегроване у вузол SSP. Компанія також пропонує персональні комп'ю-тери, виконані на платформі Sun, для зміни записаних на IP мовних повідомлень.
Вузол SCP є виконавчою системою для надання послуг IN. Основу SCP становить сучасне надійне високопродуктивне обладнання та комплект багаторівневого ПЗ.
Компанія пропонує повністю дубльовану багато-процесорну платформу, виконану на процесорах Intel.
Перша версія вузла управління послугами, розроблена в 1981 р. компанією Lucent Technologies (на той час AT&T), називалася 1 NCR. Наступна версія – SCP-II, як і 1 NCR, дотепер використовується в багатьох країнах світу як централізована база даних для мережних послуг.
Версія вузла управління послугами із назвою A-l-Net SCP-2000 поставлялася для мереж AIN у Північній Америці з 1992 р. Пропонований сьогодні варіант називається просто SCP.
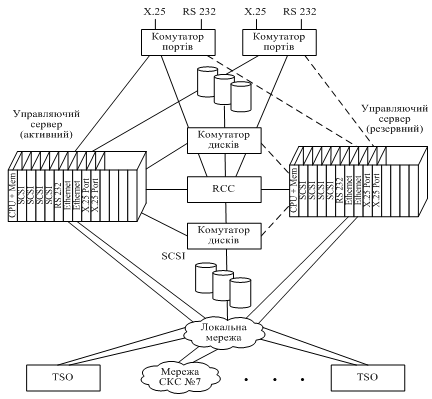
SCP дозволяє поєднувати послуги в індивідуальні пакети послуг – SP (Service Package). Зазвичай такий пакет містить логіку та набір даних, необхідних для реалізації однієї послуги, однак SP дозволяє поєднувати пакети декількох взаємодіючих послуг в один програмний модуль, що може виконуватися в SCP незалежно від інших пакетів послуг. Таким чином, додавання нових SP не зачіпає раніше встановлених і, більше того, дозволяє підтримувати кілька варіантів реалізації однієї й тієї самої послуги в одному SCP. На рис. 3 наведено архітектуру вузла SCP виробництва Lucent Technologies. SCP складається з двох управляючих серверів СС (Control computer) – робочого та резервного – та з чотирьох серверів зв'язку TSO. З метою підвищення надійності використовується спеціальний модуль – RCC, що виконує спостереження за конфігурацією апаратних засобів, пуск системи та перемикання між робочим і резервним серверами. СС виконаний на базі промислового мультипроцесорного варіанта Pentium Pro, оснащеного оперативною пам'яттю обсягом від 512 Мбайт до 2 Гбайт.

Рисунок 3 – Архітектура вузла SCP Lucent Technologies
Високонадійна дискова підсистема управляючих серверів складається із двох окремих шин стандарту SCSI (Small Computer System Interface), приєднаних до робочого сервера через спеціалізований комутатор 2X2.
Одна шина підтримує п'ять дискових накопичувачів ємністю по 4 Гбайт, при цьому кожний накопичувач забезпечений резервним на іншій шині.
Дві шини SCSI, підключені до резервного управляючого сервера, підтримують шосту дискову пару. Загальний доступний обсяг дискового простору – від 48 до 96 Гбайт.
Взаємодія між серверами СС і мережею СКС №7 входить у функції серверів зв'язку TSO, кожний з яких також реалізований на базі Pentium Pro, оснащеного пам'яттю 128 Мбайт. Один сервер зв'язку обслуговує до 8 ланок СКС №7.
Продуктивність SCP залежить від складності підтримуваних ним послуг і від параметрів трафіка, який він обслуговує. Основними обмежуючими ресурсами є процесорний час, оперативна та дискова пам'ять, ланки СКС №7.
У ряді випадків обмежуючим фактором може бути також кількість користувачів.
Для експлуатації IN і управління нею на вузлі SCP може бути передбачено інтерфейс до автоматизованих систем технічної експлуатації та управління трафіком компанії Lucent Technologies, таких як NFM/NOC 1 (для управління мережними елементами IN) і NetMinder (для управління трафіком IN).
Ці системи можуть бути інтегровані в єдиний центр технічної експлуатації оператора зв'язку.
Для взаємодії з мережею СКС №7 сервери зв'язку підтримують прикладні протоколи відповідно до декількох стандартів, у тому числі AIN та ETSI CS-1 INAР, причому один SCP може одночасно підтримувати кілька різних протоколів. Зв'язок між SCP і SMP реалізовано по протоколу Х.25.
Як вузол SMP компанія Lucent Technologies пропонує спеціалізований програмно-апаратний комплекс SMS. Прикладне програмне забезпечення SMS забезпечує платформу IN функціями введення, перевірки, розподілу та спостереження у відношенні глобальних даних і даних, специфічних для абонентів.
Графічний інтерфейс користувача заснований на операційній системі Windows, а доступ до внутрішніх баз даних SMS здійснюється через прикладний програмний інтерфейс API.
Програмне забезпечення SMS установлюється на стандартній апаратній платформі Hewlett Packard, оснащеній процесорами типу K-Class або T-Class. Для підвищення надійності може бути використано дубльовану конфігурацію з робочою та резервною частинами (рис. 4). З'єднання SMS і SCP здійснюється дубльованими каналами, що працюють по протоколу Х.25, через інтерфейсні плати платформи HP.
Високошвидкісний доступ до системи з боку терміналів користувача здійснюється через локальну мережу Ethernet або через маршрутизатори. Можливий також дистанційний доступ через телефонну мережу, для цієї мети призначений модемний пул.
Обсяг оперативної та дискової пам'яті залежить від кількості користувачів системи й кількості мережних елементів. За потреби можна встановлювати додаткову пам'ять. Резервна копія останньої версії програмного забезпечення записується на накопичувач на магнітній стрічці та може бути використана для відновлення поточних даних у разі збою системи.
Програмне забезпечення SMS поділяється на чотири частини. На нижньому рівні знаходиться операційна система UNIX System V. Вище розташовано рівень платформи реального часу, що містить програмні засоби, спільні для багатьох прикладних програм.
Цей рівень управляє реляційною базою даних, підтримує протоколи зв'язку з терміналами користувачів системи та з іншими зовнішніми системами, запускає та зупиняє окремі прикладні програми та програмні процеси, зберігає резервну копію та відновлює поточні дані, управляє конфігураційною базою даних і розподіляє запити користувачів.

Рисунок 4 – Архітектура SMS Lucent Technologies
Над платформою реального часу розташовано рівень підтримки прикладних програм, що містить у собі функції:
захисту доступу до системи,
призначення привілеїв доступу до послуг і абонентських даних,
створення нових форм звітів для абонентів,
пристосування логіки послуг до індивідуальних вимог абонентів,
розподілу даних по мережних елементах,
перевірки сумісності даних перед їхнім завантаженням в SCP,
інсталяції отриманих від середовища створення послуг програм логіки нових послуг.
Вищим рівнем програмного забезпечення є прикладний рівень, що забезпечує адміністрування користувачів системи, доступ користувачів до системи за допомогою графічного інтерфейсу, а також інтерфейс API.
Вузол SCEP застосовується для конфігурації послуг IN і дає оператору зв'язку додаткові можливості щодо надання нових послуг за допомогою спеціально розробленого графічного інтерфейсу методом графічного програмування.
Обладнання для створення послуг є самостійною, але необов’язковою частиною платформи IN компанії Lucent Technologies. Його особливостями є:
можливість використання при створенні послуг декількох спеціалізованих мов, орієнтованих на підтримку прикладних програм,
наявність декількох рівнів програмування мережних елементів,
мінімізація взаємодії послуг за рахунок інкапсуляції спільно використовуваних послуг в індивідуальні пакети,
автоматичне створення файлів експлуатаційного управління, необхідних для нової послуги,
простота створення нових блоків SIB.
Апаратна частина SCEP (рис. 5) складається з файлового сервера SUN Solaris Sparс, робочих станцій розробників послуг Sun Sparс і компілюючих серверів SUN Solaris Pentium, ресурси яких у розділюваному режимі доступні будь-якій робочій станції через локальну мережу Ethernet.

Рисунок 5 – Архітектура SCEP Lucent Technologies
Файловий сервер містить диск ємністю 5 Гбайт і є основною частиною SCEP, що включає інтерфейс користувача, базу даних ORACLE, паролі користувачів і пакети послуг.
Компілюючий сервер містить засоби крос-компіляції та компілятор SUN C++, бібліотеки та спеціалізоване середовище розробки прикладних програм. Завантаження програмного забезпечення в сервери відбувається з накопичувача на магнітній стрічці.
Програмне забезпечення всіх компонентів IN має модульну структуру та побудовано на базі відмовостікої платформи UNIX. Всі програмні модулі відповідають відкритим стандартам UNIX.
Частина логіки послуги створюється з використанням мови програмування логіки послуг SLL, частина – за допомогою мови графів рішень DGL. Мова SLL схожа на мови програмування PASCAL або BASIC, відрізняючись від них такими додатковими властивостями як убудовані автомати кінцевих станів, асинхронні виклики функцій і типи даних, специфічні для телекомунікаційних протоколів.
Більшість функцій створення послуг доступна користувачу через графічний інтерфейс виду OPEN LOOK, який використовується на робочих станціях SUN. При редагуванні розробник вибирає потрібні SIB, з'єднує їх певним чином, задає вхідні параметри. При редагуванні інтерактивно відбувається перевірка коректності параметрів, які вводяться. У режимі симулятора надається можливість виконання ланцюжка SIB як із його початку, так і з будь-якого іншого місця.
Компоненти програмного забезпечення створеної в SCEР послуги завантажуються в SMS і в SCP, причому в SMS направляються схеми організації баз даних, а в SCP – ще й програми логіки виконання. Завантаження можна зробити як зі стрічки, так і дистанційно по протоколу TCP/IP.
Отримані дані використовуються в SMS для створення таблиць підстроювання індивідуальних параметрів під абонентів послуги. В SCP послуги інсталюються або з терміналу технічної експлуатації, або дистанційно з SMS по протоколу Х.25.
Для запобігання витоку інформації в комп'ютерних системах компанією Lucent Technologies розроблено спеціальні модулі, що захищають інформацію від несанкціонованого доступу, а також модулі, що дозволяють відслідковувати зловмисні виклики в IN.
Компанія пропонує для використання пакет основних послуг IN, у який входять: безкоштовний виклик, виклик з додатковою оплатою, телефонне голосування, телефонна карта, персональний номер, віртуальна приватна мережа.