Система для визначення складу вихлопних газів автомобілів
Міністерство освіти і науки України
Вінницький національний технічний університет
Інститут автоматики, електроніки та комп’ютерних систем управління
Факультет функціональної електроніки та лазерної техніки
Кафедра МПА
СИСТЕМА ДЛЯ ВИЗНАЧЕННЯ СКЛАДУ ВИХЛОПНИХ ГАЗІВ АВТОМОБІЛІВ
Пояснювальна записка
до курсового проекту з дисципліни
“Інформаційно-вимірювальні системи”
за спеціальністю
6.091302 “Метрологія та вимірювальна техніка”
08 – 03.ІВС.005.00.000 ПЗ
Керівник курсового проекту
к.т.н., доц. Кулаков П.І.
”___” ____________2010р.
Вінниця ВНТУ 2010
Зміст
Анотація
Вступ
1. Технічне обґрунтування варіанту реалізації
1.1 Вплив вихлопних газів автотранспорту на екосистему та наслідки їх тривалої дії
1.2 Склад вихлопних газів теплових двигунів
1.3 Нормування шкідливих викидів двигунами транспортних засобів
1.4 Існуючі види газоаналізаторів
2. Розробка структурної схеми
2.1 Вибір оптимального варіанту структурної схеми
2.2 Оптимальний варіант структурної схеми
3. Розробка електричної принципової схеми системи для визначення складу вихлопних газів автомобілів
3.1 Вибір мікроконтролера
3.2 Інтерфейс RS-485
3.3 Вибір джерела опорної напруги
3.5 Кисневий датчик А-01
4. Електричні розрахунки
5. Розрахунок похибки вимірювання
Висновки
Перелік посилань
Анотація
УДК. 621.38
Система для визначення складу вихлопних газів автомобілів. Курсовий проект.
ВНТУ, 2010, Українська мова; сторінок; додатки.
В цьому курсовому проекті розроблена система для визначення складу вихлопних газів автомобілів. Проведено аналіз необхідних технічних параметрів системи, що проектується, здійснено огляд можливих варіантів вирішення задачі, та вибрано найкращий принцип роботи автоматизованої системи на базі мікроконтролера фірми Atmel серії ATМеga48. Також у курсовому проекті розроблена електрична і структурна схема системи, проведені розрахунки основних її елементів, розраховані похибки.
В додатках наведена електрична принципова схема і перелік елементів.
Вступ
Атмосфера - це газоподібна оболонка Землі. Наявність атмосфери - одна з найголовніших умов життя на планеті. Без їжі людина може обходитися місяць, без води - тиждень, а без повітря не проживе й кількох хвилин.
Основними забруднювачами атмосфери є різні гази, газоподібні речовини, аерозолі, пил, які викидаються в атмосферу об’єктами енергетики, промисловості й транспорту. На сьогоднішній день довкілля забруднюють більше ніж 7 тис. хімічних сполук, що виділяються в процесі промислового виробництва, багато з яких – токсичні, мутагенні та канцерогенні.
До найпоширеніших і найнебезпечніших забруднювачів повітря належать оксиди нітрогену, оксиди карбону та бензол. Щорічно, в результаті згоряння палива в атмосферу планети викидається приблизно 22 млрд. т діоксиду карбону, транспортні перевезення (в основному автомобілі) є причиною 40 % забруднень атмосфери великих міст.
Становище погіршується ще й тим, що автомобільні викиди концентруються в приземному шарі повітря - саме в зоні нашого дихання. Тому питання забруднення атмосфери оксидами нітрогену та карбону і методи зменшення цього забруднення є досить актуальними в наш час. Розробляється велика кількість методів для очищення повітря від забрудників - як простих та дешевих, так і складних та дорогих, але досконалих. Метод зменшення забруднення атмосфери залежить від джерела викиду та впливу забруднюючої речовини на земну літо- , гідро-, атмо- , біосферу та людину.
Тому метою курсового проекту є розробка системи для вимірювання складу вихлопних газів автомобілів. Розроблена система буде мати високу швидкодію, зручна у використанні і матиме низьку собівартість.
1 Технічне обґрунтування варіанту реалізації системи для визначення складу вихлопних газів автомобілів
Дослідити забруднення атмосфери пересувними джерелами, охарактеризувати забруднюючі речовин, які є складовими вихлопних газів, провести огляд методів виявлення в повітрі шкідливих речовин.
Визначити кількість шкідливих речовин в середовищі, яка не буде шкодити живим організмам. Також встановити ступінь небезпечності речовини, і її допустима концентрація.
Концентрація – хімічні сполуки які припадають на одиницю маси або об’єму тіла навколишнього середовища. За допомогою концентрації можна визначити хімічний, фізичний та іншій вплив речовин на навколишнє середовище. А також досягти допустимої концентрації коли вплив шкідливих речовин на атмосферу буде мінімальним.
1.1 Вплив вихлопних газів автотранспорту на екосистему та наслідки їх тривалої дії
Темпи росту міст, особливо великих і найбільших, значні. Вони нерідко зливаються територіально, утворюючи урбанізовані зони, що характеризуються високою концентрацією всіх їхніх складових – населення, промисловості, транспорту, забудови [9].
Слід зазначити, що в умовах міста зростає несприятливий вплив середовища на людину.
У загальному випадку комфортність середовища існування визначається природно-кліматичними умовами регіону. На сукупність регіональних природно - кліматичних умов у межах урбанізованих територій значний вплив здійснює мезокліматичний ефект урбанізації. Мезоклімат визначається як сукупність стійких особливостей клімату, обумовлених характерними її рисами місцевого (у даному випадку міського) ландшафту.
Мезокліматичний ефект урбанізації обумовлюється визначеними фізичними процесами, серед яких центральне місце займає формування димового і пилового куполу - теплоуловлюючої «сорочки», що складається із шару повітря з включеннями різних аерозолей.
Димопиловий купол формується як єдине ціле з запірним шаром повітря, що створює замкнуту циркуляцію в межах контуру урбанізованої зони на висоту порядку декількох сотень метрів (нижній край шару знаходиться на висоті 100—150 м від рівня землі). У центрі купола потоки спрямовані нагору, а потім радіально розходяться до периферії, де на відстані 15—З0 км від центра горизонтальні потоки переходять у спадні, і поблизу поверхні землі знову направляються до центру [2].
Наявність димопилового куполу викликає парниковий ефект, обумовлений високими концентраціями водяних парів і вуглекислого газу. Підвищення температури підкупольного простору викликане парниковим ефектом, збільшується завдяки теплонадходженням від штучних джерел, у тому числі від автотранспорту. У результаті цього в приземному шарі повітря спостерігається стійке підвищення температури, що є одним з основних ефектів мезоклімату урбанізованих місцевостей.
Заслуговує на увагу і такий ефект мезоклімату, як зміна інтенсивності сонячної радіації внаслідок зміни оптичних властивостей приземного шару повітря.
Мезокліматичний ефект урбанізації позначається також на режимі аерації територій. Як результат відбувається зміна рози вітрів.
І як остаточний підсумок, загальний мезокліматичний ефект урбанізації виражається в зміні таких природно - кліматичних характеристик, як температура, вологість повітря, сонячна радіація, швидкість і напрямок вітру.
Підвищена концентрація автомобілів на обмежених територіях призводить до переходу кількісних змін впливу автомобільного транспорту на середовище в якісні. Так, забруднення автотранспортом атмосферного повітря в урбанізованих зонах з локального, тобто виникаючого навколо окремих джерел забруднення, з ростом автомобілізації перетворюється в дифузійне (загальне) забруднення, при якому розсіювання вихлопних газів, що дозволяє зменшити концентрацію шкідливих речовин у повітрі, призводить тільки до нагромадження загального забруднення повітряного басейну міста під димопиловим куполом [3].
Вносячи свою частку у формування димопилового куполу та інші фізичні процеси, що Визначають мезокліматичний ефект урбанізованих зон, автотранспорт робить і інший вплив на складові міського середовищі [7].
Забруднення атмосферного повітря значно впливає на будинки і спорудження міст, наносить непоправної шкоди пам'ятникам культури, прискорюючи їхнє старіння. Забруднене повітря викликає посилену корозію металів, безжалісно знищує позолоть інтер'єрів музеїв, древні фрески.
Основними штучними джерелами забруднення довкілля, що виникають в результаті діяльності людини, є об'єкти транспорту, промисловості, енергетики, сільського та комунального господарств. Переважаючим серед цих джерел є саме транспорт.
Вплив транспорту на екосистеми полягає у:
- забруднені атмосфери, водних об'єктів і земель, зміні хімічного складу грунтів і мікрофлори, утворенні виробничих відходів, шлаків, замазучування грунтів, котельних шлаків, золи і сміття. Забруднюючі речовини, окрім шкідливого впливу на живу природу, негативно впливають на створені людиною системи — особливо на будівельні матеріали, історичні архітектурні і скульптурні пам'ятники і інші витвори мистецтва, викликають корозію металів, псування шкіряних і текстильних виробів;
- споживанні природних ресурсів — атмосферного повітря, яке необхідне для перебігу робочих процесів в ДВЗ транспортних засобів, нафтопродуктів і природного газу, які є паливом для ДВС, води для систем охолодження ДВЗ і мийки транспортних засобів, виробничих і побутових потреб підприємств транспорту, земельних ресурсів, відчужених під будівництво автомобільних доріг і залізниць, аеродромів, трубопроводів, річкових і морських портів і інших об'єктів Інфраструктури транспорту;
- виділенні теплоти в довкілля під час роботи ДВЗ і установок, в яких спалюють паливо в транспортних виробництвах;
- створенні високих рівнів шуму і вібрації;
- можливості активації несприятливих природних процесів таких як водна ерозія, заболочення місцевості, утворення сельових потоків, зсувів і обвалів;
- травмуванні та загибелі людей, тварин, нанесення великих матеріальних збитків внаслідок аварій і катастроф;
- порушенні грунтово-рослинного покрову і зменшенні врожайності сільськогосподарських культур.
Забруднення повітря транспортними засобами майже виключно пов'язано із споживанням енергії видобувних палив. Згідно до європейської статистики за 2009 рік енерговитрати транспорту сягали 29,8 % загального споживання енергії в Європейському Союзі (ЄС). Це сумарно з промисловим споживанням енергії, що дорівнює третині загального споживання енергії в ЄС.
Автомобільний транспорт є однією з галузей, що в значній мірі визначає розвиток промисловості і сільського господарства будь-якої країни. Тому світовий парк автотранспортних засобів безперервно збільшується. Значну роль відіграє автомобільний транспорт в економіці України. Автомобільним транспортом перевозиться понад 60 % пасажирів і більше половини обсягу вантажів. Якщо оцінювати внесок автомобільного транспорту в загальне забруднення атмосферного повітря в Україні, то його частка за оксидом вуглецю становитиме 49 %, за вуглеводнями – 32 %, за оксидами азоту – 20 %. В багатьох містах України викиди автотранспорту становлять від 60 до 90 %.
Шкідливий вплив автомобільного транспорту на навколишнє середовище проявляється під час руху автомобілів, їх технічного обслуговування, а також в зв'язку з існуванням інфраструктури, що забезпечує функціонування автомобільного транспорту.
Викиди автотранспортних засобів складають біля 40 % всіх шкідливих речовин, що потрапляють в атмосферу. Для ряду міст України (Київ, Львів, Чернівці, Полтава та інші) ця величина перевищує 70 %.
Незважаючи на значне зменшення шкідливих викидів, їх величина залишається значною і складає близько 40 кг на кожного жителя України.
1.2 Склад вихлопних газів теплових двигунів
Відпрацьовані гази теплових двигунів є складною сумішшю, до складу якої входить більш 200 компонентів. Однак різноманітність продукті вихлопу можна звести до декількох груп, кожна з яких поєднує речовини, у тій чи іншій мірі подібні за характером впливу на організм людини або близькі за хімічною структурою і властивостями.
Відповідно до класифікації Ю. Г. Фельдмана , до першої групи відносяться компоненти нетоксичні: азот, кисень, водень, водяна пара і вуглекислий газ. До другої - оксид вуглецю (СО); до третьої – оксиди азоту, що включають оксид азоту (II) (N0) і оксид азоту (IV) (>Ю>2>). Сама численна четверта група речовин складається з вуглеводнів, серед яких є представники всіх гомологічних рядів: алкани, алкени, алкадієни, циклани, а також ароматичні сполуки. До п'ятої групи компонентів ВГ відноситься суміш альдегідів: формальдегід, аліфатичні альдегіди й ароматичні альдегіди; до шостої – сажа, характерна для вихлопу дизельних, газотурбінних і турбореактивних двигунів. Слід зазначити, що в залежності від якості палива і різних присадок, що додаються до палива, у ВГ теплових двигунів можуть міститися сполуки свинцю і сірки [1].
Із складного складу ВГ теплових двигунів найбільш небезпечними як атмосферні забруднювачі є: оксид вуглецю (II), оксиди азоту, вуглеводні, альдегіди, а також сполуки свинцю і сірки — первинні забруднювачі атмосфери. Вторинними забруднювачами є фотооксиданти — продукти фотохімічних перетворень викидів автотранспорту, а також аерозолі [2].
Говорячи про транспорт як джерело забруднення навколишнього середовища, необхідно також згадати і про шум, що виникає при його експлуатації.
1.3 Нормування шкідливих викидів двигунами транспортних засобів
Під час роботи автомобільних двигунів внутрішнього згоряння джерелами викидів шкідливих речовин є:
а) відпрацьовані гази;
б) картерні гази;
в) випаровування з системи живлення.
Нормування екологічних показників автомобілів та їх двигунів проводиться на стадії виробництва і в процесі експлуатації. На стадії виробництва (при схваленні типу автомобілів, перевірці відповідності серійної продукції та реєстрації) екологічні показники невеликих автомобілів перевіряються при випробуванні транспортних засобів на стендах тягових якостей, автомобілі великої вантажопідйомності та пасажиромісткості – при випробуванні їх двигунів на гальмівних стендах.
В процесі експлуатації перевірка відповідності шкідливих викидів нормам проводяться на транспортних засобах під час роботи двигунів в окремих режимах, що легко імітуються і є характерними для експлуатації.
В європейських країнах випробування і нормування дорожніх транспортних засобів з точки зору викидів забруднюючих речовин здійснюється згідно Правил ЄЕК ООН та Директив ЄС.
Правила ЄЕК встановлюють технічну процедуру випробувань. В них не вказується дата введення норм викидів. Допустимі величини викидів і терміни їх введення вказані в Директивах ЕС і вони є обов'язковими для країн-членів ЄС.
В 2009 році керівними органами Європейського Союзу погоджено перспективні норми на 2010 рік і на 2015 рік. Ці норми відомі як "Євро-3" і "Євро-4". Величина їх і термін введення в дію для пасажирських автомобілів категорії М1 повною масою менше 2,5 т.
В дію вказані норми введені Директивою 98/69/ЄС. Крім більш жорстких норм викидів останньою Директивою внесені нові вимоги і до процесу випробування. При випробуванні за їздовим циклом відпрацьовані гази відбираються і протягом 40 с, коли двигун прогрівається. В попередніх Правилах і Директивах відбір газів для аналізу починався після 40 с циклу.
В Україні під час виробництва нових автомобілів їх екологічні показники, поки що, оцінюють згідно прийнятих раніше галузевих стандартів.
В Україні, поки що, в експлуатації автомобілі з бензиновими двигунами з огляду шкідливих викидів перевіряються за ГОСТ 17.2.2.03-87. Згідно цього стандарту перевіряється і обмежується вміст оксиду вуглецю і вуглеводнів в двох режимах роботи двигуна: мінімальної і підвищеної частот обертання холостого ходу. Підвищена частота десь на рівні 2000 хв — 0,8 номінальної частоти обертання колінчастого вала. В режимі мінімальної частоти обертання вміст оксиду вуглецю не повинен перевищувати 1,5 %, вуглеводнів для автомобілів з двигунами, які мають до 4 циліндрів — 1200 млн'', з більшим числом циліндрів — 3000 млн-1. В режимі підвищеної частоти обертання вміст оксиду вуглецю обмежується 2 %, вміст вуглеводнів — 600 млн-1 для автомобілів, двигуни яких мають до 4 циліндрів та 1000 млн"1 для автомобілів з більшим числом циліндрів
1.4 Огляд існуючих видів газоаналізаторів
Газоаналізатор (рос. газоанализатор, англ. gas analyser, gas alarm, gas indicator, нім. Gasanalysator, Gasprüfer) — прилад для визначення якісного і кількісного складу сумішей газів. Робота газоаналізатора основана на вимірюванні фізичних, фізико-хімічних характеристик газової суміші або її окремих компонентів.
В даний час найбільш поширені автоматичні газоаналізатори. За принципом дії вони можуть бути розділені на три основні групи:
а) прилади, дія яких заснована на фізичних методах аналізу, що включають допоміжні хімічні реакції. За допомогою таких газоаналізаторів визначають зміну об'єму або тиску газової суміші в результаті хімічних реакцій її окремих компонентів;
б) прилади, дія яких заснована на фізичних методах аналізу, що включають допоміжні физико-хімічні процеси (термохімічні, електрохімічні, фотоколориметричні і ін.). Термохімічні засновані на вимірі теплового ефекту реакції каталітичного окислення (горіння) газу. Електрохімічні дозволяють визначати концентрацію газу в суміші за значенням електричній провідності електроліту, що поглинув цей газ. Фотоколориметричні засновані на зміні кольору певних речовин, при їх реакції з аналізованим компонентом газової суміші;
в) прилади, дія яких заснована на чисто фізичних методах аналізу (термокондуктометричні, термомагнітні, оптичні і ін.). Термокондуктометрчні засновані на вимірі теплопровідності газів. Термомагнітні газоаналізатори застосовують головним чином для визначення концентрації кисню, що володіє великою магнітною сприйнятливістю. Оптичні газоаналізатори засновані на вимірі оптичної щільності, спектрів поглинання або спектрів випускання газової суміші.
Кожен із згаданих методів має свої плюси і мінуси, опис яких займе немало часу і місце, і виходить за рамки даної статті. Виробниками газоаналізаторів в даний час використовуються практично всі з перерахованих методів газового аналізу, але найбільшого поширення набули електрохімічні газоаналізатори, як найбільш дешеві, універсальні і прості. Мінуси даного методу: невисока вибірковість і точність виміру; недовгий термін служби чутливих елементів, схильних до впливу агресивних домішок.
Принцип дії фотоколориметричних заснований на зміні кольору певних речовин, при їх реакції з аналізованим компонентом газової суміші, застосовують головним чином для виміру мікроконцентрацій токсичних домішок в газових сумішах — сірководню, оксидів азоту і ін.
При цьому мірою концентрації певного компоненту являється інтенсивність окраски утворених продуктів реакції. Газоаналізаторам такого типу властива досить висока чутливість і вибірковість, що досягається вибором характерного хімічного реактиву, який використовується для виготовлення індикаторного засобу. Також ще однією перевагою даного методу є те що на його основі можна створювати універсальні конструкції, оскільки один і той же прилад з різними індикаторними розчинами може бути використаний для встановлення різноманітних шкідливих речовин.
За принципом дії дані газоаналізатори поділяються на рідинні, стрічкові, порошкові.
В рідинних газоаналізаторах реакція відбувається в розчині, а концентрацію компонента, який ми визначаємо вимірюють за світлопоглинанням розчину. Перевагою використання даних приладів є більш висока точність вимірювання і можливість використання індикаторних розчинів, які мають в своєму складі концентровані кислоти. Однак в зв’язку з тим що вони мають велику кількість механічних приладів, які забезпечують перекачку і дозування рідини і газів їх конструкція є досить складною і громіздкою.
В автоматичних газоаналізаторах стрічкового типу хімічна реакція протікає на текстильній або паперовій стрічці, яка була просочена відповідними реагентами. Про концентрацію певної речовини судять із ослабленого світлового потоку, який відбивається від певної області індикаторної стрічки.
В принцип роботи порошкового газоаналізатора покладений принцип багаторазового використання окраски поверхні індикаторного порошку під дією газу або пари, який аналізується. Він надійний в експлуатації, досить простий і може бути використаний в системах автоматичного газового аналізу.
Електрохімічні газоаналізатори. Електрохімічні дозволяють визначати концентрацію газу в суміші за значенням електричній провідності електроліту, що поглинув цей газ. Фотоколориметричні засновані на зміні кольору певних речовин, при їх реакції з аналізованим компонентом газової суміші.
Електрохімічні газоаналізатори найбільшого поширення набули електрохімічні газоаналізатори, як найбільш дешеві, універсальні і прості. Мінуси даного методу: невисока вибірковість і точність виміру; недовгий термін служби чутливих елементів, схильних до впливу агресивних домішок
Електрохімічні методи газового аналізу отримали широке використання для визначення концентрації різноманітних компонентів в лабораторних і в промислових умовах.
Велике визнання отримав хроматографічний метод, який базується на використанні властивостей розподілу складних сумішей на хроматографічній колонці (за фізико-хімічними властивостями), яка заповнюється сорбентом.
Лазерний газоаналізатор використовує особливості поглинання метаном випромінювання при довжині хвилі, що співпадає з однією з довжин хвиль спектра випромінювання метану.
Термохімічні газоаналізатори застосовуються для аналізу горючих компонентів газової суміші. З їхньою допомогою визначають більш 100 найменувань горючих газів, пар і їхніх сумішей.
Робота термомагнітних газоаналізаторів заснована на русі в неоднорідному магнітному полі при наявності температурного градієнта парамагнітних часток — молекул кисню й оксидів азоту. Це явище називається термомагнітною конвекцією. Зміни температури, тиску і витрати аналізованої газової суміші можуть впливати на результати виміру.
У хемілюмінесцентних газоаналізаторах використовується залежність інтенсивності люмінесцентного випромінювання, що виникає в результаті хімічної реакції аналізованого компонента з реагентом, від концентрації цього компонента. Застосовуються для виміру дуже малих концентрацій ПРО3, N0х і інших речовин.
У вольтамперометричних газоаналізаторах значення струму в електродному ланцюзі залежить від вмісту деполяризуючого компонента, наприклад, кисню, у лужному гальванічному елементі.
У кулонометричних газоаналізаторах вміст аналізованого компонента визначається за кількістю електрики, витраченої при електролізі речовини, що вступає в реакцію з аналізованим. Значення струму, при якому забезпечується нейтралізація розчину з аналізованим компонентом, і служить величиною концентрації цього компонента.
До електрохімічного може бути віднесений і плазменно-іонізаційний газоаналізатор, у якому концентрація аналізованого комплексу визначається за іонізаційним струмом, що утвориться у водневому полум'ї внаслідок іонізації молекул органічних сполук.
Хроматографи відносяться до аналізаторів, що можуть проводити одночасно якісний і кількісний аналіз газоподібних і рідких середовищ. Принцип дії заснований на поділі газових сумішей на окремі компоненти при русі уздовж поверхні сорбенту, наступної ідентифікації компонентів і визначення їхнього вмісту в суміші. Цей метод може бути використаний для визначення вмісту будь-яких газів з концентрацією до 10-5–10-6 %. Хроматографи — прилади періодичної дії з часом аналізу 10—20 хвилин.
2 Розробка структурної схеми системи вимірювального контролю вологості та температури в теплицях
2.1 Вибір оптимального варіанту структурної схеми
Розглянемо три варіанта структурних схем та порівняємо їх між собою за визначеними критеріями, дамо коротку характеристику кожній із них та виберемо оптимальну структурну схему. На основі вибраної системи і буде розроблено інформаційно-вимірювальну систему. При виборі найкращої структурної схеми будемо враховувати такі характеристики кожної з них як собівартість, швидкодію, надійність, простоту реалізації, габаритність та точність. Розглянемо першу структурну схему, яка приведена на рисунку 2.1.

Рисунок 2.1 – Перший варіант реалізації структурної схеми системи для визначення складу вихлопних газів автомобілів
Позначення на схемі:
V/
– датчик концентрації, який використовується
для визначення концентрації вихлопних
газів автомобілів;
МХ – мультиплексор;
–
аналого-цифровий
перетворювач;
MCU – мікроконтролер;
РС – персональний комп’ютер.
RS485 – прилад який призначений для перетворення інтерфейсу з USART в RS485;
Принцип роботи наведеної схеми полягає в тому що вимірювана величина вимірюється і перетворюється в аналоговий сигнал за допомогою спеціального датчика вихідний сигнал датчика поступає на мультиплексор. Далі з мультиплексора інформація потрапляє на АЦП, де перетворюється з аналогового сигналу в цифровий код. Інформацію з АЦП отримує мікроконтролер і за допомогою інтерфейсу обміну даних передається на ПК.
Ця схема характеризується високою швидкодію, малою габаритністю системи, значна частина вартості системи припадає на вартість первинних датчиків.
Друга структурна схема має наступний вигляд (рисунок 2.2).

Рисунок 2.2 – Другий варіант реалізації структурної схеми системи для визначення складу вихлопних газів автомобілів
Позначення на схемі:
ПВП - первинний вимірювальний перетворювач;
ВВП - вторинний вимірювальний перетворювач;
-
аналого-цифровий перетворювач, який
перетворює аналогову величину у цифровий
код.
MCU – мікроконтролер;
РС – персональний комп’ютер.
RS485 – інтерфейс.
Принцип дії цієї системи аналогічний попередній але в ції схемі перетворений сигнал з кожного вимірювального каналу безпосередньо подається на відповідний окремий АЦП. З АЦП вимірювальна інформація знімається мікроконтролером і за допомогою інтерфейсу передається на ПК.
Ця система має високу швидкодію, але в той же час підвищується її собівартість через те що в даній схемі використовується велика кількість АЦП.
Третя структурна схема приведена на рисунку 2.3.

Рисунок 2.3 – Третій варіант реалізації структурної схеми системи для визначення складу вихлопних газів автомобілів
Позначення на схемі:
ПВП – первинний вимірювальний перетворювач.
ВВП – вторинний вимірювальний перетворювач.
МХ
– мультиплексор;
– аналого-цифровий перетворювач;
MCU – мікроконтролер;
РС – персональний комп’ютер;
USART/RS485 – прилад який призначений для перетворення інтерфейсу з USART в RS485;
Принцип дії цієї схеми полягає в тому, що на вхід первинного перетворювача поступає концентрація вимірюваної речовини, яка перетворюється в ємність, після чого вторинний перетворювач перетворює ємність у напругу, яка поступає на мультиплексор. З мультиплексора інформація подається на АЦП, де перетворюється з аналогового сигналу в цифровий код. Інформація з АЦП знімається мікроконтролером і за допомогою інтерфейсу обміну даних передається на ПК.
Ця схема досягає високої точності у вимірюваннях, але має великі габарити та невисоку швидкодію.
Для того, щоб порівняти вище наведені структурні схеми занесемо основні параметри системи до таблиці і порівняємо (таблицю 2.1).
Таблиця 2.1 – Порівняння структурних схем
|
Параметр |
І |
II |
ІІI |
Ідеальна система |
|
Собівартість |
0 |
0 |
1 |
1 |
|
Швидкодія |
1 |
1 |
0 |
1 |
|
Надійність |
1 |
0 |
1 |
1 |
|
Простота реалізації |
1 |
0 |
0 |
1 |
|
Габаритність |
1 |
1 |
0 |
1 |
|
Точність |
1 |
0 |
1 |
1 |
|
Σ Е>і> |
5 |
2 |
3 |
6 |
|
|
0,83 |
0,33 |
0,50 |
1 |
Узагальнений коефіцієнт якості знайдемо за наступною формулою:
. (2.1)
Коефіцієнт якості першої схеми:
.
Коефіцієнт якості другої схеми:
.
Коефіцієнт якості третьої схеми:
.
Отже, критерій якості першої схеми більший, ніж для інших структурних схем. Тому з цих розрахунків можна зробити висновок, що для поставленої нами задачі найкраще нам підходить структурна схема, представлена на рисунку 2.1.
Ми отримали оптимальний варіант структурної схеми. Використаємо цю схему для побудови електричної принципової схеми системи, що розробляється [4].
2.2 Оптимальний варіант структурної схеми
На основі досліджень проведених у попередньому пункті даного курсового проекту зроблено висновок, що наша система буде розроблятися за такою схемою як зображена на рисунку 2.3. Система побудована за такою схемою матиме найкращі технічні характеристики та задовольнятиме технічним вимогам поставленим в завданні (рисунок 2.4).

Рисунок 2.4 – Структурноа схема системи для визначення складу вихлопних газів автомобілів
Розглянемо детальніше переваги і робота системи для визначення складу вихлопних газів автомобілів.
V/
– датчик концентрації, який використовується
для визначення концентрації вихлопних
газів автомобілів;
М
Х
– мультиплексор;
– аналого-цифровий перетворювач;
MCU – мікроконтролер;
РС – персональний комп’ютер.
RS485 – прилад який призначений для перетворення інтерфейсу з USART в RS485;
Принцип роботи наведеної схеми полягає в тому що вимірювана велечина вимірюється і перетворюється в аналоговий сигнал за допомогою спеціального датчика вихідний сигнал датчика поступає на мультиплексор.
Далі з мультиплексора інформація потрапляє на АЦП, де перетворюється з аналогового сигналу в цифровий код. Інформацію з АЦП отримує мікроконтролер і за допомогою інтерфейсу обміну даних передається на ПК.
Першою перевагою даної реалізації системи це є її проста конструкція яка дозволяє не затрачувати багато конструкторських зусиль, але недоліком є те що потрібно більш складне програмне забезпечення для мікроконтролера яке складне і вимагає більшої праці і затраченого часу програмістів. Так як дана схема має малу кількість комплектуючих деталей вона є більш завадостійкою ніж будь-яка з розглянутих схем і тому має вищу точність і надійність у роботі. І так само енергоспоживання даної схеми також більш низьке.
Тепер розглянемо роботу системи для визначення складу вихлопних газів автомобілів. Після того як датчики для визначення концентрації вихлопних газів автомобілів підключені до живлення вони починають вимірювати концентрацію вихлопних газів в середовищі, де вони безпосередньо знаходяться і під дією зовнішніх факторів починають формувати аналоговий сигнал. Після того, як з персонального комп'ютера буде поданий запит про стан того чи іншого датчика, мікроконтролер подає сигнал мультиплексору про підключення того чи іншого вимірювального каналу, далі аналоговий сигнал з будь-якого датчика подається на АЦП, де аналоговий сигнал перетворюється в цифровий код і потім подається на мікроконтролер. Мікроконтролер обробляє ці дані і через блок гальванічної розв'язки передає на перетворювач інтерфейсів інформацію формату інтерфейсу USART, перетворювач міняє формат даних в зручну для порту RS – 485, яким обладнаний комп’ютер, вже підготовлену кодову інформацію комп’ютер в свою чергу розшифровує її і подає в зручній для оператора формі або на пристрої контролю, які можуть керувати процесом і надалі при будь-яких критичних ситуаціях.
3 Розробка електричної принципової схеми системи для визначення складу вихлопних газів автомобілів
3.1 Вибір мікроконтролера
Оберемо мікроконтролер для реалізації даної ІВС. Використаємо 8-розрядний мікроконтролер фірми Atmel серії ATMega48.
ATMega48 - низкьопотребуючі 8-бітні мікроконтролери з AVR RISC архітектурою. Виконуючи команди за один цикл, ATMega48 досягають продуктивності 1 MIPS при частоті генератора, що задає 1 МГц, що дозволяє розробнику досягти продуктивності.
AVR ядро об'єднує велику систему команд і 32 робочих регістра загального призначення. Усі 32 регістра безпосередньо пов'язані з арифметико-логічним пристроєм (АЛУ), що дозволяє отримати доступ до двох незалежних регістрів при виконанні однієї команди. У результаті ця архітектура дозволяє забезпечити в десятки разів більшу продуктивність, ніж стандартна CISC архітектура.
ATMega48 мають наступні характеристики: 4КБ внутрішньосистемної програмованої Flash пам'яті програми, 256 байтну EEPROM пам'ять даних, 512 байтну SRAM, 23 лінії введення - виведення загального застосування , 32 робочих регістра загального призначення, три гнучких таймера / лічильника зі схемою порівняння, внутрішні та зовнішні джерела переривання, послідовний програмований USART, проводний інтерфейс, 6 канальний АЦП (8 - канальний у приладів в TQFP і MFL корпусах) , 4 із (6) каналів яких мають 10 - бітну розрядність, а 2 - 8 - бітну, програмований сторожовий таймер з вбудованим генератором, SPI порт і п'ять програмно ініціалізіруємих режимів зниженого споживання. У режимі Idle зупиняється ядро, а SRAM, таймери / лічильники, SPI порт і система переривань продовжують функціонувати. У Power-down режимі вміст регістрів зберігається, але відключаються всі внутрішні функції мікропроцесора до тих пір, поки не відбудеться
переривання або апаратне скидання. У режимі Power-save асинхронні таймери продовжують функціонувати, дозволяючи відраховувати тимчасові інтервали в той час, коли мікропроцесор знаходиться в режимі сну. У режимі ADC Noise Reduction зупиняється обчислювальне ядро і всі модулі введення-виведення, за винятком асинхронного таймера і самого АЦП, що дозволяє мінімізувати шуми протягом виконання аналого-цифрового перетворення. У Standby режимі задає генератор працює, в той час як інша частина приладу не діє. Це дозволяє швидко зберегти можливість швидкого запуску приладів при одночасному зниженні споживання.
Прилад виготовлений за високощільної енергонезалежній технології виготовлення пам'яті компанії Atmel. Вбудована ISP Flash дозволяє перепрограмувати пам'ять програми в системі через послідовний інтерфейс SPI програмою-завантажувачем, що виконується в AVR ядрі, або звичайним програматором енергонезалежній пам'яті. Програма-завантажувач здатна завантажити дані з будь-якого інтерфейсу, що є у мікроконтролера. Програма в завантажувальному секторі продовжує виконуватися, навіть при заванта-женні області пам'яті прикладної програми, забезпечуючи реальний режим "зчитування при запису". Об'єднавши 8 - бітове RISK ядро і самопрогра-муються усередині системи Flash пам'яттю корпорація Atmel зробила прилади ATMega48/ATMega88/ATMega168 потужними мікроконтролера, що забезпечують більшу гнучкість і цінову ефективність широкому колу керуючих пристроїв.
ATMega48 підтримується різними програмними засобами та інтегрова-ними засобами розробки, такими як компілятори C, макроассемблери, про-грамні відладчики / симулятори, внутрішньосхемного емулятори та ознайомчі набори.
AVR ядро об'єднує потужну систему команд з 32 8-розрядними регістрами загального призначення і конвеєрне звернення до пам'яті програм.
Виконання відносних переходів і команд виклику реалізується з прямою адресацією всього обсягу (4К) адресного простору. Адреси периферійних функцій містяться в просторі пам'яті вводу/виводу. Архітектура ефективно підтримує як мови високого рівня, так і програми на мовах асемблера.
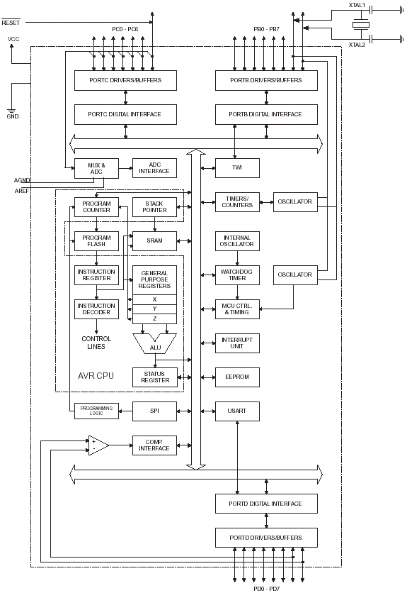
Блок-схема мікроконтролера ATMage48 зображено на рисунку 3.1.

Рисунок 3.1 - Блок-схема мікроконтролера ATMage48
Максимальне споживання приладів в активному режимі складає 3.0 мА і в пасивному режимі 1.2 мА (при VCC =3 В і f = 4 МГЦ). В стоповому режимі, при працюючому сторожовому таймері, мікроконтролер споживає 15 мкА.
Об'єднання на одному кристалі вдосконаленого 8-розрядного RISC ЦПУ з Flash ПЗУ, яка завантажується дозволило фірмі створити потужний мікроконтролер, що забезпечує високу гнучкість і економічність в використанні приладу в якості вбудованого контролера.
Port B (PB5... PB0) 6-розрядний двонаправлений порт I/O із вбудованими навантажувальними резисторами. Вихідні буфери забезпечують втікаючий струм 20 мА. При використанні виводів порта в якості входів і установці зовнішнім сигналом в низький стан, струм буде витікати тільки при підключених вбудованих навантажувальних резисторах. Порт B використовується також при реалізації різноманітних спеціальних функцій.
Port C (PC5... PC0) 6-розрядний двунаправлений порт I/O із вбудо-ваними навантажувальними резисторами. Вихідні буфери забезпечують втіка-ючий струм 20 мА. При використанні виводів порта в якості входів і уста-новці зовнішнім сигналом в низький стан, струм буде витікати тільки при підключених вбудованих навантажувальних резисторах. Входи порта використовуються також як аналогові входи аналого-цифрового перетворювача.
Port D (PD7.. PD0) 8-розрядний двунаправлений порт I/O із вбудованими навантажувальними резисторами. При використанні виводів порта в якості входів і установці зовнішнім сигналом в низький стан, струм буде витікати тільки при підключених вбудованих навантажувальних резисторах.
RESET Вхід скидання. Для виконання скидання необхідно утримувати низький рівень на вході протягом двох машинних циклів.
XTAL1 Вхід інвертуючого підсилювача генератора і вхід схеми вбудованого генератора тактової частоти.
XTAL2 Вихід інвертуючого підсилювача генератора.
AVCC Напруга живлення аналого-цифрового перетворювача. Виводи під’єднується до зовнішнього VCC через низькочастотний фільтр.
AREF Вхід аналогової напруги порівняння для аналого-цифрового перетворювача. На цей вивід, для забезпечення роботи аналого-цифрового перетворювача, подається напруга в діапазоні між AGND і AVCC.
AGND Цей вивід повинен бути під’єднаний до окремої аналогової землі, якщо плата оснащена нею. В іншому випадку вивід від’єднується до загальної землі.
Мікроконтролер ATMega48 має такі технічні характеристики:
діапазон напруги живлення: - від 1.8 до 5.5 В;
діапазон робочої частоти: - от 0 до 1 МГц
клас точності 0,05 [8].
Схема включення мікроконтролера зображено на рисунку 3.2.

Рисунок 3.2 - Схема включення мікроконтролера
3.2 Інтерфейс RS-485
Обмін інформацією між інформаційно - вимірювальною системою і персональним комп’ютером здійснюється за допомогою інтерфейсу RS - 485.
При проектуванні системи на базі технічних засобів, слід враховувати ряд важливих факторів: кількість передавачів і приймачів, швидкість передачі даних та відстань обіну даними. За допомогою інтерфейсу RS 485 можна передавати код, як в послідовному так і в паралельному форматі. У 99% випадків передача даних відбувається у послідовному форматі.
Згідно стандарту на інтерфейси RS-485, драйвер інтерфейсу не повинен виходити з ладу при закороченні будь-якого із сигнальних дротів на шину живлення або на землю. Також згідно стандарту всі драйвери цих інтерфейсів повинні мати захист від перегріву і автоматично вимикатись при нагріві 150 0С.
Мережа, побудована на інтерфейсі RS-485, являє собою прийомопередавач з'єднаний за допомогою кручениої пари - двох скручених проводів. В основі інтерфейсу RS-485 лежить принцип диференціальної (балансової) передачі даних. Суть його полягає в передачі одного сигналу по двох проводах. Причому по одному проводі (умовно A) йде оригінальний сигнал, а по іншому (умовно B) - його інверсна копія. Іншими словами, якщо на одному проводі "1", то на іншому "0" і навпаки. Таким чином, між двома проводами крученої пари завжди є різниця потенціалів: при "1" вона позитивна, при "0" - негативна.
Саме цією різницею потенціалів і передається сигнал. Такий спосіб передачі забезпечує високу стійкість до синфазної перешкоди. Синфазною називають перешкоду, що діє на обох проводів лінії однаково.
Апаратна реалізація інтерфейсу - мікросхеми приймачів і передавачів з диференціальними входами/виходами (до лінії) і цифровими портами.
Отже для використовуваного в даному курсовому проекті інтерфейсу RS-485. Цифровий вихід приймача (RO) підключається до порту приймача UART (RX). Цифровий вхід передавача (DІ) до порту передавача UART (TX). Оскільки на диференціальній стороні приймач і передавач з'єднані, то під час прийому потрібно відключати передавач, а під час передачі - приймач.
Для цього служать керуючі входи - дозвіл приймача (RE) і дозволу передавача (DE). Тому що вхід RE інверсний, то його можна з'єднати з DE і переключати приймач і передавач одним сигналом з будь-якого порту мікроконтролера. При рівні "0" - робота на прийом, при "1" - на передачу.
Приймач, одержуючи на диференціальних входах (AB) різниця потенціалів (UAB) переводить їх у цифровий сигнал на виході RO. Чутливість приймача може бути різної, але гарантований граничний діапазон розпізнавання сигналу виробники мікросхем приемопередавачів пишуть у документації. Звичайно ці пороги складають ± 200 мв. Тобто, коли UAB > +200 мв - приймач визначає "1", коли UAB < -200 мв - приймач визначає "0".
Якщо різниця потенціалів у лінії настільки мала, що не виходить за граничні значення - правильне розпізнавання сигналу не гарантується. Крім того, у лінії можуть бути і не синфазні перешкоди, що спотворять настільки слабкий сигнал.
Усі пристрої підключаються до однієї крученої пари однаково: прямі виходи (A) до одного проводу, інверсні (B) - до іншого. Вхідний опір приймача з боку лінії (RAB) звичайно складає 12 кОм, тому що потужність передавача не безмежна, це створює обмеження на кількість приймачів, підключених до лінії. Відповідно до специфікації RS-485 з обліком
резисторів, передавач може вести до 32 приймачів. Однак є ряд мікросхем з підвищеним вхідним опором, що дозволяє підключити до лінії значно більше ніж 32 пристрої.
Максимальна швидкість зв'язку по специфікації RS-485 може досягати 10 Мбіт/сек. Максимальна відстань - 1200 м. Якщо необхідно організувати зв'язок на відстані більшому 1200 м або підключити більше пристроїв, чим допускає навантажувальна здатність передавача - застосовують спеціальні повторювачі (репитери).
Стандартні параметри інтерфейсу RS-485
- припустиме число передавачів / приймачів 10;
- максимальна довжина кабелю 1200 м;
- максимальна швидкість зв'язку 10 Мбіт/с;
- діапазон напруг "1" передавача +2...+10 В;
- діапазон напруг "0" передавача -2...-10 В;
- діапазон синфазної напруги передавача -3...+3 В;
- припустимий діапазон напруг приймача -7...+7 В;
- вхідний опір приймача 4 кОм;
На рисунку 3.3 наведена функціональна схема інтерфейсу RS-485.

Рисунок 3.3- Схема інтерфейсу RS-485
Мікроконтролер DD3 має у своєму складі стандартний USART за допомогою, якого здійснюється обмін даними із зовнішнім пристроєм в послідовному форматі. Сигнал TхD (передача даних) поступає на вхід мікросхеми на вхід інтерфейсу RS-485 (DD5) і перетворюється в несиметричний сигнал у форматі стандартного USART. Сигнал стандартного USART, який має рівень від 0 до 5 В.
3.3 Вибір джерела опорної напруги
Живлення
всіх елементів має бути стабільним, щоб
уникнути збоїв у роботі системи. Для
забезпечення високої стабільності
використаємо джерело опорної напруги.
Найкращими джерелами, які випускаються
в теперішній час є: REF-02, AD586, МС7805, LM113,
TL431. Одним з найкращих джерел опорної
напруги є мікросхема МС7805. Схема
підключення опорного джерела живлення
МС7805
показана на рисунку 3.4.

Рисунок 3.4 – Схема включення джерела живлення
Джерело опорної напруги МС7805 має такі технічні характеристики:
відхилення напруги від опорного значення: ± 0,02 % В;
струм споживання 2 μА;
діапазон струму навантаження: від 0 до 10 mА;
- температурний коефіцієнт вихідної напруги: 10-5/ ºС .
3.4 Кисневий датчик А-01
Кисневі датчики для автомобільних газоаналізаторів фірми IT працюють за добре відомим принципом гальванічних осередків, що дає споживачеві
достовірний сигнал по парціальному тиску кисню в вимірювальної голівці.
Кисень проникає крізь синтетичну кіслородопроводящую мембрану в головці датчика і потім відновлюється на поверхні катода. Цей процес відновлення генерує електричний струм, прямо пропорційний парціальному тиску кисню перед датчиком.
Електрохімічна реакція, яка відбувається на поверхні катода, дуже складна. Спрощено, процес може бути виражений наступним хімічним рівнянням:
O2 + 2 H3O + 4 e-=> 4 OH-(1) .
Матеріал анода окислюється для забезпечення балансу електрохімічних реакцій осередку за формулою:
2 Pb => 2 Pb2 + + 4 e-(2) .
Повна хімічна реакція осередку:
2 Pb + O2 => 2 PbO (3) .
При наявності кисню і коли анод і катод електрично з'єднані з провідником, має місце відновний процес, і іони утворюють потік всередині датчика. Зовнішній електричний струм, потрібних для врівноваження потоку іонів, може бути виміряна на резисторі, послідовно з'єднаний з катодом і анодом, як показано на рис. (1). Відповідно до рівнянням (2), матеріал анода поступово споживається процесами, що відбуваються на аноді. Тому датчик має обмежений термін служби, який залежить від доступної маси матеріалу анода та ефективності катодного процесу.
Електрохімічна реакція, також як і процес дифузії кисню крізь мембрану, залежить від температури. У більшості практичних випадків потрібно отримувати температурно-незалежний сигнал у всьому цьому температурному діапазоні. Для компенсації температурної залежності сигналу датчик забезпечений термісторним зв'язком, що має відповідні температурні характеристики.
Датчики серії А фірми IT спроектовані для застосування в автомобільних газоаналізатора. Максимальна ефективність використання буде досягнута, якщо: датчик не буде працювати при температурах, що виходять за межі рекомендованої області, зазначеної у технічній характеристиці датчика; буде захищена від водяного конденсату головка датчика; не підключений ні до якого виду зміщених напруг або не заряджається зовнішнім електричним потенціалом; приєднаний до вимірювальної апаратури з мінімальним вхідним опором 10 кОм; установка / заміна датчика повинна здійснюватися підготовленими фахівцями
С
Катод
труктурна схема датчика A-01 зображена на рисунку 3.5.
Механічна
фіксація
Провідна
мембрана
Електроліт
Анод
Корпус
Рисунок 3.5 – Структурна схема датчика А-01
Його характеристики:
- діапазон: від 0 до 100% кисню;
- електричний інтерфейс: РCB;
- електричний роз'єм: 3 pin molex;
- робоча температура: від 0 до 50 ° C ;
- вихідна напруга: від 7 до 13 мВ, або на вимогу замовника;
- від 25.1 до 100% кисню: ± 1.0% відносно;
- рекомендоване навантаження: не менше 10 кОм;
- температурна компенсація: вбудована NTC компенсація;
- оптимальна температура зберігання: від 5 до 25 ° C;
- максимальна температура зберігання: від -15 до 60 ° C;
- вага: приблизно 25 г.
Матеріали, з якими можливий контакт: Поліамід 12, нержавіюча сталь
На рисунку 3.6 показаний зовнішній вигляд кисневого датчика А-01 [7].

Рисунок 3.6 – Кисневий датчик А-01
4 Електричні розрахунки компонентів системи вимірювального контролю вологості та температури в теплицях
Здійснимо електричний розрахунок елементів принципової схеми системи для визначення складу вихлопних газів автомобілів.
З документації на мікросхему AD780 визначаємо номінали конденсаторів С>2>, С>1>. Отже, обираємо конденсатори С>2> =С>1>= 100 мФ.
До
портів мікроконтролера ХТAL1 та ХТAL2
під’єднано конденсатори
та
,
між якими розташований кварцовий
резонатор ZQ, призначений для того, щоб
задавати такт роботи мікроконтролера.
Його частота f=1 МГц.
(4.1)

Візьмемо
пФ.
Схема інтерфейсу RS 485 зображена на рисунку 3.3. Для забезпечення подавлення високочастотних завад живлення кожної мікросхеми, безпосередньо близько до її корпусу шунтуються керамічні конденсатори, а саме С>5>, С>6>, С>7> ємність яких не перевищує 0,1 мкФ . Звідси випливає, що ємність конденсаторів С>5>=С>6>=С>7> = 0,1 мкФ.
З документації на мікросхему MC7805 визначаємо номінали конденсаторів С>8> – С>9>..> >Отже, обираємо конденсатори С>8>= С>9>=0,1 мкФ.
Для забезпечення стабілізації п’яти-вольтового живлення для мікросхем DA1, DA4 використовуємо діоди VD1, VD2, VD3 - діоди напівпровідникові імпульсні 1N4148, які мають такі характеристики:
постійна зворотна напруга, U>R >- 75 В;
робоча температура навколишнього середовища - від –65 до +150 °C;
5 Розрахунок похибки вимірювання системи вимірювального контролю вологості та температури в теплицях
Розрахуємо похибку квантування АЦП мікроконтролеру за такою формулою:
(5.1)
де n- розрядність АЦП n=12;
- напруга АЦП;
= 10 (В).
Підставивши значення, отримаємо:
.
Похибка розробленої системи в основному буде складатись із похибки датчика, похибки джерела опорної напруги та похибки перетворення АЦП мікроконтролера. І буде знаходитись у межах 1%.
Розрахуємо середньоквадратичне значення похибки мікроконтролера за такою формулою:
(5.2)
Підставивши значення маємо:

Висновки
У курсовому проекті була розроблена система для вимірювання складу вихлопних газів автомобілів.
Висвітлено питання забруднення атмосфери пересувними джерелами, наведені статистичні дані з цього питання, проведена коротка характеристика вмісту викидів автомобілів з бензиновими та дизельними двигунами. Крім цього, в першому розділі охарактеризовано автомобільний транспорт як одне з основних джерел забруднення повітря навколишнього середовища.
Описано шляхи покращення екологічних показників автомобілів. Також цей розділ містить визначення масових викидів шкідливих речовин автомобілів і соціально-економічних збитків, що наносяться довкіллю.
В першому розділі ми розглянули вплив речовин, що утворюються при горінні на навколишнє середовище та на людину, розглянули методи за допомогою яких можливо визначити концентрацію шкідливих речовин у вихлопних газах автомобілів. Зробили огляд існуючих газоаналізаторів.
В другому розділі було подано різні варіанти структурних схем систем для визначення складу вихлопних газів автомобілів. З запропонованих нами варіантів ми обрали один найоптимальніший.
В третьому розділі ми вибрали мікроконтролер фірми Atmel моделі ATMega48 з вбудованим аналого-цифровим перетворювачем, інтерфейс зв’язку між вимірювальною системою і персональним комп’ютером – RS-485, джерело живлення MC7805 та вимірювальний датчик А-01.
В четвертому розділі були проведені розрахунки основних вузлів системи для визначення складу вихлопних газів автомобілів.
В п’ятому розділі розрахували загальну похибку системи.
Розроблена система має високі метрологічні характеристики та придатна до використання.
Перелік посилань
Антропогенные проблемы экологии: Методическое пособие. – К.: Вища школа, 1997. – 144 с.
2. Аксенов И.Я., Аксенов В.И. Транспорт и охрана окружающей среды. – М.: Транспорт, 1986. – 176 с.
3. Желібо Е.П., Заверуха Н.М., Зацарнкий В.В. “Безпека життєдіяльності”. – Вінниця: ВНТУ, 2004. – 185 с.
4. Клименко Л.П. Техноекологія – О: Таврія, 2000. – 542 с.
5. Бреслер П.І. Оптичні абсорбційні газоаналізатори і їх використання.– Л.: Енергія, 1980. - 164с.
6. ДСТУ 4277 – 2004: Норми і методи вимірювань вмісту оксиду вуглицю та вуглеводнів у відпрацьованих газах автомобілів з двигунами, що працюють на бензині або газовому паливі.
7. Ю.Ф.Гутаревич, Д.В.Зеркалов, А.Г.Говорун, А.О.Корпач, Л.П.Мержиєвська Екологія автомобільного транспорту: Навч. Посібник – К.: Основа, 2002. – 312с.
8. http://www. atmel.сom
9. Проектирование микропроцесорных измерительных приборов и систем/В.Д. Циделко, Н.В. Нагаец, Ю.В. Хохлов и др.- К.: Техніка, 1984.-215с.
