Электрические схемы технологического контроля и сигнализации
Электрические схемы технологического контроля и сигнализации
Оптимизация технологических процессов, повышение их рабочих параметров до критических и сверхкритических, сложные взаимосвязи между различными технологическими участками, не допускающими отклонения в работе отдельных агрегатов от предписанных режимов, требуют всё возрастающего количества точек контроля допускаемых значений различных параметров автоматизируемых объектов. В связи с этим в проектах автоматизации широкое применение находят специальные схемы технологической сигнализации большого числа параметров. Алгоритм работы этих схем сводится к следующему:
при отклонении параметра от заданного значения подаются звуковой и световой сигналы;
звуковой сигнал снимается кнопкой съёма звукового сигнала;
световой сигнал исчезает при уменьшении отклонения параметра до допускаемого значения.
в случае необходимости каждый вновь поступивший сигнал выделяется мигающим светом. При съёме звукового сигнала оператором сигнальная лампочка переходит на ровный свет.
В настоящее время для технологической сигнализации наиболее часто применяются унифицированные блоки технологической сигнализации, многоканальные комплектные устройства сигнализации и бесконтактные логические элементы, на которых реализуются различные системы технологической сигнализации с требуемым алгоритмом работы.
Блоки технологической сигнализации
Блоки технологической сигнализации предназначены для индивидуальной световой и общей звуковой сигнализации конечных состояний объектов и дискретных значений технологических параметров.
Блоки технологической сигнализации реализуют аварийную сигнализацию предельных значений отдельных параметров, характеризующих ход технологического процесса, и позиционную сигнализацию состояний (включен, отключен, открыт, закрыт) аппаратуры, агрегатов и механизмов, участвующих в технологическом процессе.
Алгоритм работы аварийной сигнализации:
в исходном состоянии (технологический контакт разомкнут) сигнальная лампочка, соответствующая данному технологическому параметру, погашена, звуковая сигнализация выключена;
при нарушении технологического параметра (технологический контакт замыкается) сигнальная лампочка загорается мигающим светом, включается звуковая сигнализация;
при квитировании сигнальная лампочка переходит на ровное горение, звуковая сигнализация выключается;
при восстановлении нормального значения технологического параметра (технологический контакт размыкается) сигнальная лампочка гаснет;
при восстановлении технологического параметра до квитирования сигнальная лампочка гаснет, звуковая сигнализация выключается, схема переходит в исходное состояние.
Алгоритм работы позиционной сигнализации:
при включенном (открытом) состоянии механизма, соответствующем нормальному протеканию технологического процесса (технологический контакт замкнут), сигнальная лампочка горит ровным светом, звуковая сигнализация выключена;
при несанкционированном отключении (закрытии) механизма (технологический контакт размыкается) сигнальная лампочка горит мигающим светом, включается звуковая сигнализация;
при квитировании сигнальная лампочка гаснет, звуковая сигнализация выключается.
Номенклатура унифицированных блоков технологической сигнализации следующая:
блок аварийной сигнализации (БАС) на пять индивидуальных точек сигнализации;
блок позиционной сигнализации (БПС) на пять индивидуальных точек сигнализации;
блоки общих цепей (БОЦ-1 - БОЦ-3), выполняющие функции управления мигающим светом, звуковой сигнализацией и питания блоков БАС и БПС (общим числом не более 20 блоков.
Блок аварийной сигнализации БАС
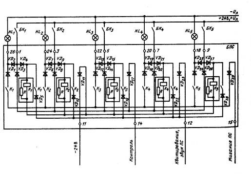
Принципиальная электрическая схема блока аварийной сигнализации представлена на рис.1.

Рис.1
Функционально БАС состоит из пяти каналов индивидуальной сигнализации, объединённых общими шинами.
В исходном состоянии технологический контакт ТК>1> разомкнут, соответствующая ему лампочка сигнализации HL>1> погашена, звука нет. При замыкании ТК>1> лампочка HL>1 >подключается к шине мигающего света по цепи ТК>1> - VD>3> - VD>5> - HL>1> - VD>7> - VD>8> - шина Мигание АС; одновременно по цепи ТК>1> - VD>3> - VD>4> - К>1> - VD>6> - VD>16> - шина Квитирование, звук АС включается звуковой сигнал. Включения реле К>1> при этом не происходит, так как ток, протекающий по его обмотке, ограничен по уровню ниже тока срабатывания резисторами R>1>, R>2>, которые находятся в блоке БОЦ-2. При нажатии оператором кнопки Квитирование АС шина Квитирование, звук АС подключается непосредственно к шине - 24 В, реле К>1> срабатывает и через собственный контакт (1,2) и диод VD>40> подключается к цепи - 24 В (становится на самоблокировку). Лампочка через замкнутый контакт (3,4) реле К>1> подключается к шине +U>Л> и переходит на ровное горение (VD>7> запирается); звуковой сигнал выключается, так как замкнутый контакт (1,2) реле К>1> шунтирует шину Квитирование, звук АС и диод VD>6>, который запирается, выключая ток, проходивший на вход узла звуковой сигнализации.
При размыкании ТК>1> лампочка HL>1> гаснет, но контакты реле К>1> остаются замкнутыми, так как реле продолжает получать питание от узла задержки через шину Задержка и диоды VD>32> и VD>2>. По окончании времени задержки, определяемого времязадающей цепью узла задержки С>3> и R>16> в блоке БОЦ-2, реле К>1> выключается. Таким образом, кратковременное размыкание датчика, при котором он успевает замкнуться до окончания задержки, воспринимается схемой как случайное и разблокировки реле К>1> не происходит.
Контроль исправности сигнальных лампочек и каналов индивидуальной сигнализации осуществляется оператором нажатием кнопки Контроль, которая подключает шину Контроль и диоды VD>1> (VD>9>, VD>17>, VD>25>, VD>33>) к шине +24 В, +U>Л>, что равнозначно включению всех ТК.
Диоды VD>3>, VD>11>, VD>19>, VD>27>, VD>35 >являются развязывающими и обеспечивают возможность подключения к ТК других ячеек сигнализации или входов схем блокировок.
В целях защиты общих шин от короткого замыкания подключаемых к ним по схеме ИЛИ полупроводниковых диодов общие шины заводятся в БАС через дополнительные схемно-избыточные диоды VD>8>, VD>16>, VD>24>, VD>32>, VD>40>. Это увеличивает эксплуатационную надёжность аппаратуры за счёт возможности локализации аварийного отказа в аппаратуре.
Блок позиционной сигнализации БПС
Принципиальная электрическая схема блока позиционной сигнализации представлена на рис.2.
Функционально БПС состоит из пяти каналов индивидуальной сигнализации, объединённых общими шинами.
В исходном состоянии блок-контакт БК>1> замкнут, соответствующая ему лампочка HL>1> горит ровным светом, звука нет. Лампочка HL>1> получает питание по цепи шина +24 В, +U>Л> - БК>1> - VD>2> - HL>1> - шина - U>Л>. Одновременно по цепи: БК>1> - VD>4> - реле К>1> - VD>11> - шина - 24 В получает питание реле К>1> и держит замкнутыми свои замыкающие контакты. Однако несмотря на то, что замыкающие контакты реле К>1> замкнуты, тока в цепи этих контактов и соединённой с ним шины Квитирование, звук ПС нет, так как эта цепь зашунтирована БК>1> и диодом VD>4>. Узел звуковой сигнализации, вход которого соединён с шиной Квитирование, звук ПС, включён.
При размыкании БК>1> реле К>1> получает питание по цепи шина Квитирование, звук ПС - VD>23> - VD>15> - К>1> - VD>11> - шина - 24 В.
Ток этой цепи удерживает реле К>1> во включенном состоянии и, кроме того, включает звуковой сигнал. Лампочка HL>1> получает питание по цепи шина Мигание ПС - VD>29> - К>1> - VD>1> - HL>1> - шина - U>Л> и горит мигающим светом.
При нажатии оператором кнопки Квитирование ПС разрывается цепь тока, проходящая по шине Квитирование, звук ПС, реле К>1> выключается, замыкающие контакты реле К>1> размыкаются, HL>1> гаснет, выключается звуковой сигнал.
Контроль исправности сигнальных лампочек и каналов индивидуальной сигнализации осуществляется оператором нажатием кнопки Контроль, которая подключает шину Контроль к шине +24 В, +U>Л>, что равнозначно включению всех БК.
В целях защиты общих шин от короткого замыкания подключаемых к ним по схеме ИЛИ полупроводниковых диодов общие шины заводятся в БПС через дополнительные схемно-избыточные диоды VD>11>, VD>17>, VD>23>, VD>29>. Это увеличивает эксплуатационную надёжность аппаратуры за счёт возможности локализации аварийного отказа в аппаратуре.

Рис.2
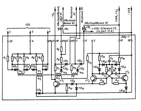
Блок общих цепей БОЦ-1
Принципиальная электрическая схема БОЦ-1 представлена на рис.3.
Функционально блок БОЦ-1 выполняет функции организации и управления мигающим светом. Основу этого узла составляет симметричный мультивибратор на транзисторах VT>2>, VT>3> с частотой колебаний 1 Гц.
Диодно-трансформаторный компаратор формирует на обмотке w>3> трансформатора TV запускающие импульсы длительностью0.5 мс с частотой следования 100 Гц в начале каждой полуволны напряжения фазы А.
При совпадении импульсов с обмотки w>3 >трансформатора TV и импульсов разрешения, снимаемых с эмиттера транзистора VT>2> мультивибратора, открывается транзистор VT>1> и через обмотки w>5> и w>6> трансформатора TV пачки запускающих импульсов (длительность пачки определяется мультивибратором и составляет 0.5 с) поступают на управляющие переходы тиристоров VD>7> и VD>11>. Тиристор, включённый запускающим импульсом, остаётся в открытом состоянии до окончания полуволны питающего напряжения (фаза А), а затем выключается и включается вначале следующей полуволны следующим импульсом. Таким образом, при наличии пачки запускающих импульсов тиристор открыт, а при отсутствии - закрыт.
Фазовые соотношения на входе компаратора выбраны таким образом, что запускающие импульсы формируются в момент, когда напряжение фазы А нарастает не более чем до 30 % амплитудного значения. Это позволяет защитить замыкающийся ТК от возможной токовой перегрузки при коммутации холодной лампочки накаливания в случае аварийной сигнализации, так как максимальная мощность, коммутируемая ТК, благодаря принятым мерам в 5-10 раз меньше, чем при обычной коммутации холодной лампочки.

Рис.3
Квитирование аварийной сигнализации и связанное с ним переключение лампочки накаливания герконовым замыкающим контактом реле К>1> на ровный свет происходит при уже разогретой лампочке, что снижает нагрузку на геркон. Кроме того, с целью повышения надёжности герконового контакта предусмотрено включение тиристора VD>7> при квитировании с помощью дополнительных контактов кнопки Квитирование АС и резисторов R>8> и R>9>, так что коммутация рассматриваемого герконового контакта происхолдит на уровне напряжения не более 5 В. Это позволяет значительно снизить нагрузку на контакты и повысить их надёжность до уровня надёжности полупроводниковых элементов.
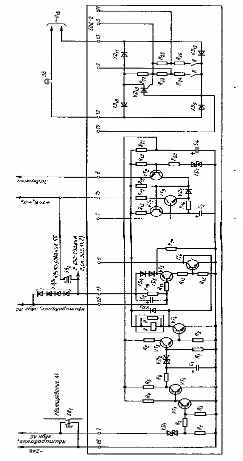
Блок общих цепей БОЦ-2
Принципиальная электрическая схема БОЦ-2 представлена на рис.4.
Функционально блок БОЦ-2 выполняет функции управления звуковой сигнализацией и организации задержки.
Рассмотрим работу блока в режиме аварийной сигнализации.
Как было описано выше, при замыкании любого ТК появляется ток в шине Квитирование, звук АС, которая подключена к входу усилителя на транзисторах VT>1> - VT>4> узла звуковой сигнализации. Ток, протекающий через обмотку реле К>1>, ограничен резисторами R>1> и R>2> на уровне ниже уровня срабатывания реле К>1> (БАС), но достаточном для насыщения транзистора VT>1> и срабатывания усилителя на транзисторах VT>1> - VT>4>. В коллекторной цепи транзистора VT>4> включено реле К>1>. Контакты реле К>1> запускают тириссторный ключ на тиристоре VD>10>, который подключает источник звукового сигнала Зв к источнику переменного напряжения U>зв>.

Рис. 4
Конденсатор С>1> и резисторы R>5>, R>6> образуют времязадающую цепь, определяющую задержку на включение источника звукового сигнала, необходимую для предотвращения ложных срабатываний звукового сигнализатора при кратковременных (менее 0.2 с) замыканиях ТК.
При нажатии оператором кнопки SB>1> Квитирование АС закрывается транзистор VT>1>, открывается VT>2>, происходит разряд ёмкости С>1> через резистор R>6>, транзисторы VT>3> и VT>4> закрываются и звуковой сигнал выключается. При отпускании кнопки SB>1> Квитирование АС шина Квитирование, звук АС остаётся обесточенной благодаря шунтирующему действию замыкающих контактов реле К>1> в блоке БАС.
Узел задержки обеспечивает задержку на отпускание герконового реле К>1> заквитированного индивидуального канала аварийной сигнализации (блок БАС) при кратковременном (случайном) размыкании технологического контакта датчика. Время задержки определяется временем разряда конденсатора С>3>. Как описано выше, после квитирования катушка реле К>1> индивидуального канала сигнализации (блок БАС) получает питание по цепи шина +24 В, +U>Л> - ТК - VD>3>, VD>4> - контакты реле К>1> - VD>40> - шина - 24 В. Диод VD>2> при этом закрыт. При размыкании ТК диод VD>2> открывается. Катушка реле К>1 >подсоединяется к шине +24 В по цепи - VD>2> - VD>32> - шина Задержка - эмиттер-база VT>9> - R>19>, R>21>. Транзистор VT>9> открывается, через него начинает протекать ток разряда конденсатора С>3>, при этом открывается транзистор VT>8>. Через открытый транзистор VT>8> проходит ток удержания реле К>1> по цепи шина +24 В - U>Л>, R>17> - коллектор-эмиттер VT>8>. VD>6> - коллектор-эмиттер VT>9>, VD>2> (БАС) - замыкающие контакты реле К>1> - шина - 24 В. Этот ток существует на время разряда конденсатора С>3>, пока открыт транзистор VT>8>. По окончании разряда конденсатора С>3> транзистор VT>8> закрывается, транзистор VT>7> открывается. Ток удержания реле К>1> исчезает, реле К>1> отпускает и замыкающими контактами разрывает цепь на шину - 24 В.
Через резистор R>15> и открытый транзистор VT>7> проходит ток заряда конденсатора С>3>. Схема возвращается в исходное состояние.
Рассмотрим работу блока БОЦ-2 в режиме позиционной сигнализации.
При размыкании любого БК от шины +U>Л>, +24 В через размыкающие контакты кнопки SB>2> Квитирование ПС и вход усилителя на транзисторе VT>5>, зашунтированный четырьмя диодами ДШ, начинает протекать ток в шину Квитирование, звук ПС. Транзистор VT>5> этим током открывается и с помощью транзистора VT>6> включает реле К>1>, контакты которого включают цепь источника звукового сигнала Зв.
При нажатии оператором кнопки SB>2> Квитирование ПС разрывается цепь питания реле К>1>, замыкающие контакты реле К>1> размыкаются, шина Квитирование, звук ПС обесточивается, транзисторы VT>5>. VT>6> закрываются и звуковой сигнал Зв выключается.
Диоды ДШ необходимы для предохранения входа усилителя на транзисторе VT>5> от перегрузок. Они должны быть рассчитаны на суммарный ток реле всех каналов позиционной сигнализации. В качестве таких диодов могут быть использованы, например диоды выпрямительного моста БОЦ-3.
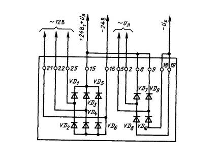
Блок общих цепей БОЦ-3
Принципиальная электрическая схема блока общих цепей БОЦ-3 представлена на рис.5. Функционально блок БОЦ-3 выполняет функцию блоков питания для аварийной и позиционной сигнализации.
Схема питания собрана по трёхфазной двухтактной схеме (схеме Ларионова), где с каждой фазной обмоткой одного из трёх трансформаторов соединены два полупроводниковых диода: один - анодом, другой - катодом. Первичные и вторичные обмотки трансформаторов соответственно соединены звездой.

Рис.4
Второй выпрямитель для лампочек сигнализации собран по однофазной двухконтактной (мостовой) схеме.
Вы можете обсудить материал на нашем форуме.
Свои пожелания Вы можете оставить в гостевой книге
Если у Вас имеется материал, дополняющий данный раздел, просьба выслать на мой ящик.