Прямоугольный волновод
Республика Казахстан
Алматинский институт Энергетики и Связи
Кафедра Радиотехники
Контрольная работа
По дисциплине: Теория передачи электромагнитных волн
Прямоугольный волновод
Выполнил: ст. гр. БРЭ-07-9
Джуматаев Е. Б.
Зачетная книжка № 073013
Принял: доцент Хорош А.Х.
Алматы 2009
Задание
1. Построить амплитудно-частотную (АЧХ) и фазо-частотную (ФЧХ) характеристики отрезка волновода длиной L в заданном диапазоне длин волн.
2. Изобразить картину силовых линий электромагнитного поля всех типов волн, которые в этом диапазоне длин волн могут участвовать в переносе активной энергии. Построить зависимости их продольных составляющих от поперечных координат. Привести картины распределения плотности поверхностного тока, соответствующего распределению поля этих типов волн на стенках волновода.
3. Во сколько раз изменится длительность импульса прямоугольной формы на выходе волновода по сравнению со входом, если частота заполнения импульса равна центральной частоте рабочего диапазона волновода.
Исходные данные из таблиц 3-5:
Амплитуда поля
,
В/м: 10
Длина отрезка L, м: 15
Материал стенок: медь
Тип волновода: □ (прямоугольный)
Характерные размеры
волновода, мм: 28.5x12.6
Рабочий диапазон
,
м: 0.029 – 0.056
Длительность импульса, нс: 1
Примечание:
Считать, что волновод идеально согласован по входу и выходу, а потери в диэлектрике пренебрежимо малы.
Учитывать, что независимо от количества мод, участвующих в переносе энергии по волноводу, мощность генератора не меняется (можно принять равенство амплитуд всех мод).
Задание 1


Рис. 1. Амплитудно-частотная характеристика


Рис. 2. Фазо-частотная характеристика
Задание 2
волновод электромагнитный поле импульс
Прямоугольный волновод представляет собой полую металлическую трубу прямоугольного сечения.

При падение плоской волны с параллельной поляризацией на идеально проводящую плоскость, структуры полей электрического и магнитного векторов Магнитный вектор с единственной проекцией H>y> чисто поперечен, в то время как электрический вектор имеет и поперечную проекцию E>x>, и продольную проекцию E>y>. Неоднородные плоские волны такой структуры принято называть Е-волнами.[1](131 стр.)
При падении плоской волны
с перпендикулярной поляризацией на
идеально проводящую плоскость
электрическое поле имеет единственную
отличную от нуля проекцию
и является чисто поперечным.
Вектор напряженности магнитного поля,
напротив, кроме поперечной проекции H>x>
имеет также продольную
проекцию H>y>.
По этой причине такие
направляемые волны принято называть
Н-волнами.
[1](133 стр.)
Характер зависимостей проекций векторов электромагнитного поля волн Е- и Н-типов вдоль продольной координаты z и поперечной координаты х совершенно различен: по оси z устанавливается бегущая, а по оси х - стоячая волна. Чтобы учесть эту особенность рассматриваемого волнового процесса, вводят два параметра: продольное волновое число [1](7.18-7.20)
(1)
и поперечное волновое число,
(2)
такие, что
(3)
при любом угле падения
.
Где,
-
коэффициент фазы волны.
Пограничный случай
возникает на такой рабочей частоте,
когда
.
При этом h=0 и,
как следствие, длина волны в волноводе
.
Принято говорить, что волновод с выбранным
типом волны оказывается в критическом
режиме. Длину волны генератора,
соответствующую случаю
,
называют критической
длиной волны данного типа
и обозначают
.
[1](стр. 158-159)
Из приведенных рассуждений следует, что в критическом режиме коэффициент фазы

Отсюда получается формула для вычисления критической длины волны [1](8.29)
(4)
Где, a и b – размеры волновода, числа т и п называют индексами волны данного типа. Физически они означают количества стоячих полуволн, возникающих внутри волновода вдоль координатных осей х и у соответственно. Поскольку индексы могут быть любыми, в прямоугольном металлическом волноводе возможно раздельное существование сколь угодно большого числа волн типа Е>тп>. Однако, волны типа E>0n> и E>m0> не существует. Для волн типа Н>тп>, также, справедлива формула (4).
Значит, для критической длины волны должно выполнятся следующее условие, при котором поле представляет собой распространяющуюся волну
Или, подставив значения рабочего диапазона и размеры волновода, получим

(5)
Условие выполняется,
только при m=1 и
n=0 (
становится
равным 0.057).
Значит, в данном волноводе будет
распространяться волна типа H>10>.

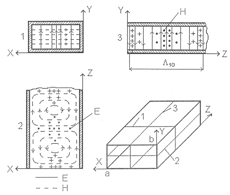
Рис. 4. Структура силовых линий векторов электромагнитного поля типа H>10> в прямоугольном волноводе
Длину волны в волноводе можно найти преобразовав формулы (3) и (4):
(6)
Это равенство показывает,
что при изменении длины волны генератора
длина волны в волноводе
изменяется не пропорционально ей. Закон
зависимости длины волны в волноводе от
длины волны в свободном пространстве
называют дисперсионной
характеристикой волновода.
В явном виде эта характеристика
описывается формулой, вытекающей из
выражения (6) [1](8.32):
Зависимость длины волны в волноводе от длины волны генератора показано на рис. 3.


Рис. 5. Дисперсионная характеристика волновода
Чтобы найти плотность поверхностного электрического тока на идеально проводящих стенках волновода, следует воспользоваться следующей формулой [1](4.21)
Приведем выражения, определяющие пространственную зависимость комплексных амплитуд декартовых проекций векторов электромагнитного роля для волны типа Н>10> [1](8.52):
(6)
Иногда бывает удобным
несколько преобразовать систему равенств
(6), выразив все комплексные амплитуды
через
-максимальную
амплитуду напряженности электрического
поля, наблюдаемую в центре широкой
стенки волновода [1](8.53):
(7)
Поскольку картина
распределения силовых линий вектора
в волне рассматриваемого типа известна,
построение линий тока на стенках не
представляет затруднений: эти линии
образуют семейство кривых, ортогональных
семейству силовых линий напряженности
магнитного поля Рис.4.. Подчеркнем еще
раз, что здесь изображена картина
мгновенного распределения токов; во
времени она перемещается вдоль оси
волновода с фазовой скоростью.

Рис. 6. Распределение векторов плотности поверхностного электрического тока на стенках прямоугольного волновода с волной типа Н>10>
Картины распределения плотности поверхностного тока, соответствующего распределению поля этих типов волн на стенках волновода: [1] (стр.280 рис 10.10).

Рис. 7. Распределение векторов плотности поверхностного электрического тока на стенках прямоугольного волновода с волной типа Н>10>
,
учитывая, что

находим



Рис. 8. Зависимость продольной составляющей Hz от поперечных координат x


Рис. 9. Зависимость продольной составляющей Hz от поперечных координат y
Ez(x)=Ez(y)=0
Задание 3
Найдём центральную частоту рабочего диапазона:
,
.

Рис.10. Частотная зависимость модуля спектральной плотности прямоугольного радиоимпульса
Модуль спектральной плотности входного импульса будет иметь вид, представленный на рисунке 1. При этом основная доля энергии заключена в пределах центрального лепестка спектрального диаграммы, т.е. между частотами:

Найдем критическую частоту:

Найдём групповую скорость по формуле:
Рассчитаем её для нижней и верхней частоты:


Так как
,
то, учитывая
,
получаем, что низкочастотная группа
волн “отстанет” от высокочастотной
на отрезок времени длительностью:

Чтобы найти во сколько раз изменяется длительность импульса прямоугольной формы на выходе волновода по сравнению со входом, нужно найти отношение
раз
Вывод
Полый металлический
волновод прямоугольного сечения –
линия передачи, находящая наибольшее
применение в технике СВЧ. В моем варианте
как раз рассмотрены диапазоны длин волн
:
0.029 – 0.056 м, что соответствует
:
5.357 – 10.034 Ггц.
Я определил и построил в программе Mathcad 2001 амплитудно-частотную (АЧХ) и фазо-частотную (ФЧХ) характеристики отрезка волновода стенки которого сделаны из меди и длиной L=15 м. в заданном диапазоне длин волн. Оказалось, что при повышении частоты электромагнитных волн, повышается и коэффициент передачи E(f) в АЧХ и увеличение сдвига по фазе, колеблющийся в пределах 0.867-359.791 градусов.
Найдя и проанализируя всю совокупность электромагнитных волн, которые описываются решениями уравнении Максвелла и могут существовать внутри волновода на всем протяжении оси, я вычислил, что характерным размерам волновода моего варианта соответствует лишь волна типа. H>10>. Таким образом по прямоугольному волноводу можно передавать колебания, у которых длина волны в свободном пространстве не превышает удвоенного размера широкой стенки волновода.
Приведя пространственные зависимости комплексных амплитуд проекций векторов электромагнитного поля волны типа H>mn>>.>

И, подставив значения x и y, я построил графики зависимости их продольных составляющих от поперечных координат x в пределах от 0-0.0285 и y от 0-0.0126 (т.к. за пределами волновода поля нет). В зависимости H>z> от х наблюдается с повышением х гармоническое изменение H>z>. А в зависимости H>z> от у зависимости нет, т.к. у нас используется волна типа. H>10.>
В современных радиотехнических системах возникает потребность передавать по волноводам весьма короткие радиоимпульсы, длительность которых может составлять единицы и даже доли наносекунды. В третьем задании надооценить искажения таких импульсов из-за дисперсионных свойств волновода. Данную задачу я решил опираясь на частотную зависимость модуля спектральной плотности прямоугольного радиоимупульса. У меня длительность импульса увеличился в 16,1 раз, т.к. импульс на выходе значительно превышает длительность передаваемого имупульса. Импульс на выходе несомненно искажен. При больших длинах волноводного тракта явление «расплывания» радиоимпульса может послужить серьезным препятствием к реализации импульсных систем. Единственный путь, позволяющий избежать этого, заключается в переходе к линиям передачи с Т-волнами.
Полые металлические волноводы используют в диапазоне рабочих длин волн приблизительно от 50 см до 1 мм. Если говорить о радиочастотных линиях передачи — наиболее типичной области применения волноводов, то на волнах дециметрового диапазона волноводы используются лишь в мощных устройствах, а начиная с длины волны приблизительно 6 см — повсеместно. Широкое применение полых металлических волноводов обусловлено рядом их достоинств — высокой технологичностью волноводных конструкций, достаточно малыми потерями, отличной защищенностью от внешних помех, способностью передавать огромные импульсные мощности.
Список использованной литературы
Баскаков С.И. Электродинамика и распространение радиоволн. – М.: Высшая школа, 1992. – 416с
Пименов Ю.В. Техническая электродинамика. – М.: Радио и связь, 2000. - 536 с.
Баскаков С.И. Радио/технические цепи и сигналы. – М.: Высшая школа, 2000. – 462 с.
