Схема частотоміра
1. ЧАСТОТОМІРИ З ЛОГОМЕТРИЧНИМИ ВИМІРЮВАЛЬНИМИ МЕХАНІЗМАМИ
Частотоміри з електродинамічними, феродинамічними, електромагнітними й магнітоелектричними вимірювальними механізмами, вібраційні частотоміри, застосовуються для виміру низьких частот. Особливо широке поширення одержали електродинамічні й феродинамічні частотоміри. частотомір електромагнітний вібраційний

Рис. 1. Схема електродинамічного частотоміра
Електродинамічний частотомір. Кут повороту будь-якого логометра залежить від відношення струмів. Якщо ці струми або один з них зробити частотно-частотно-залежними, то логометр може служити частотоміром.
Одна з можливих схем електродинамічного частотоміра представлена на рис. 1. До приладу підводить напруга вимірюваної частоти. Котушки логометра включаються в частотно-частотно-залежні ланцюги: котушки А и Б>1> — послідовно з коливальним контуром, що складається з L і С>1>, і додатковим резистором R>д>; котушка Б>2> включена послідовно з конденсатором С>2>. На резонансній частоті значення струму I>1> максимально. Зі зміною частоти струм зменшується, змінюється також і кут зрушення між струмами I>1> й I>2>. Таким чином, кут повороту рухливої частини, обумовлений для електродинамічного логометра рівнянням, залежить від частоти. Шкала приладу градуюється безпосередньо в герцах.
Електродинамічні частотоміри випускаються різних класів точності, аж до 0,5. Межі їхнього виміру звичайно становлять ±10% деякого середнього значення, що звичайно лежить у діапазоні від 50 до 1500 Гц.
Випрямний частотомір. Випрямний частотомір, схема якого представлена на мал. 2, складається з магнітоелектричного логометра й двох випрямлячів, що харчують його обмотки.

Рис. 2. Схема випрямного частотоміра
У ланцюг першої обмотки логометра включена індуктивність L й ємність С, у ланцюг другої обмотки - активний опір R. Опір першої галузі, що включає реактивні опори, індуктивності і ємності, залежить від частоти, опір другої галузі від частоти не залежить. Струми, як відомо, обернено пропорційні опорам тих ланцюгів, по яких вони протікають. Отже, у рівнянні рухливої частини магнітоелектричного логометра відношення струмів можна замінити відношенням опорів:

де Z>1> — повний опір першої галузі.
Оскільки величина Z>1> залежить від частоти, кут повороту рухливої частини логометра також залежить від частоти й прилад може використатися для її виміру.
Найчастіше випрямні частотоміри випускаються у вигляді самописних приладів з межами вимірів порядку 45-55 Гц і звичайно мають клас точності 2,5.
2. ВИМІРЮВАЛЬНІ МЕХАНІЗМИ ВІБРАЦІЙНОЇ СИСТЕМИ
Вібраційні вимірювальні механізми (язичкові) є різновидом електромагнітної системи. Вони застосовуються в частотомірах, призначених для виміру низької частоти, головним чином промислової.

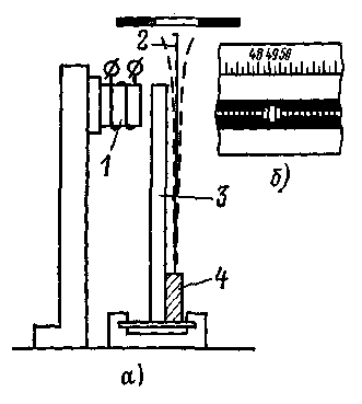
Рис. 3. Пристрій вібраційного частотоміра
Схема пристрою вібраційного частотоміра показана на рис. 3, а. Обмотка електромагніта 1 живиться змінним струмом, частоту якого потрібно виміряти. Тонкі сталеві пластини 2, називані язичками (на рисунку видний тільки один язичок), укріплені на загальній планці 4. Ця планка жорстко скріплена з якорем 3, розташованим поблизу сердечника електромагніта. Язички мають різні частоти власних коливань. Для зручності спостереження їхні загнуті наконечники пофарбовані світлою фарбою.
Під дією змінного магнітного поля якір двічі за період притягається до сердечника й відходить від нього. Разом з якорем вібрують язички. Найбільшої буде амплітуда коливань того язичка, у якого частота власних коливань збігається із частотою змушених. На шкалі приладу поруч із кожним, язичком зазначена частота, з якої він резонує. Для спостерігача коливний язичок має вигляд білої смужки, по якій і відраховують показання. На рис. 3, б показаний вид шкали, коли вимірювана частота дорівнює 49 Гц. Вібраційні частотоміри, як правило, мають невеликі межі виміру, наприклад від 45 до 55 Гц. Точність їх визначається в основному точністю настроювання язичків. Вібраційні частотоміри звичайно мають погрішність порядку ±1%. Ці прилади можуть використатися тільки в стаціонарних умовах, тому що частота зовнішніх вібрацій може збігатися із власною частотою окремих язичків, що викликає резонанс й, отже, неправдиві свідчення.
3. ГЕТЕРОДИННИЙ ЧАСТОТОМІР
Недоліком найпростішого гетеродинного частотоміра, що складає із градуйованого гетеродина й детектора, є його порівняно низька точність виміру частоти, складова трохи сотих відсотка. Це порозумівається відсутністю в схемі можливості періодичної перевірки градуйовки гетеродина за допомогою більше стабільного генератора.
Більше зроблений гетеродинний частотомір додатково містить кварцовий генератор і підсилювач низької частоти (рис. 4). Кварцовий генератор служить для перевірки градуйовки гетеродина частотоміра на фіксованих частотах, що відповідають гармонікам кварцового генератора. Підсилювач низької частоти призначений для підвищення чутливості виявлення звукових і нульових биттів.
Для зменшення температурних погрішностей у контури гетеродина й кварцового генератора звичайно включають температурні компенсатори у вигляді додаткових конденсаторів з негативним температурним коефіцієнтом.
Подібну схему має гетеродинний частотомір промислового типу Ч4-1, що одержав широке поширення.
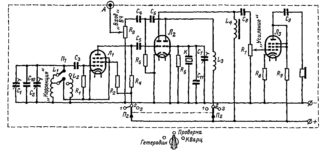
Спрощена принципова схема цього частотоміра зображена на рис. 5, а його лицьова панель керування - на рис. 6.
Плавний гетеродин частотоміра, зібраний на лампі Л>1> має два діапазони основної частоти — перший 125-250 кГц і другий 2-4 МГц. Перехід від одного діапазону до іншого здійснюється перемикачем П>1> перемикаючої котушки індуктивності L>1> й L>2>.

Рис. 4. Блок-схема приладу Ч4-1
Настроювання контуру гетеродина здійснюється змінним конденсатором С>1>. Точність установки частоти підвищується завдяки великій кількості розподілів шкали конденсатора (5000 розподілів). Конденсатор C>10> компенсує зміни частоти генератора при зміні температури.
Використання вищих гармонік гетеродина дозволяє перекрити загальний діапазон частотоміра від 125 кГц до 20 МГц, при цьому в першому діапазоні використається 1, 2, 4 й 8-а гармоніки, а в другому - 1, 2, 4 і частково 5-а гармоніки. Наприклад, якщо основна частота гетеродина, тобто його 1-а гармоніка, дорівнює 125 кГц, те його 2-а гармоніка дорівнює 250 кГц, 4-а - 500 кГц й 8-а - 1000 кГц.
При плавній зміні основної частоти до 126 кГц її вищі гармоніки відповідно будуть рівні 252, 504 й 1008 кГц. Отже, якщо 1-а гармоніка перекриє діапазон частот від 125 до 250 кГц, то 2-а перекриє від 250 до 500 кГц, 4-а - від 500 до 1000 кГц й 8-а від 1000 до 2000 кГц. Подібним же чином перекривається другий діапазон гетеродина від 2 до 20 МГц при включенні іншої котушки індуктивності.

Рис. 5. Спрощена схема частотоміра Ч4-1

Рис. 6. Лицьова панель керування приладом Ч4-1
Кварцовий генератор частотоміра виконаний на правій половині подвійного тріода Л>2>. Коливальний контур генератора утворять індуктивність котушки L>3>, еквівалентна індуктивності L>э> кварцу, і міжелектродна ємність анод — сітка. За допомогою підстроєчного конденсатора С>7> виробляється точне настроювання генератора на частоту 1 МГц при його калібруванні по стандарті частоти.
Конденсатор С>11> компенсує відхилення частоти контуру зі зміною температури.
Кварцовий генератор із глибоким позитивним зворотним зв'язком, крім основної частоти 1 МГц, дає велика кількість гармонік, використовуваних як зразкові частоти при перевірці градуйовки частотоміра.
Перевірка градуйровки гетеродина частотоміра виробляється методом нульових биттів по гармоніках кварцового генератора. Наприклад, на основній частоті плавного гетеродина 200 кГц нульові биття виходять між його 5-ю гармонікою й 1-ю гармонікою кварцового генератора.
Змішувач, зібраний на лівій половині подвійного тріода Л>2>, зв'язаний за допомогою конденсаторів С>4>, С>5> і С>6> з кожним із трьох джерел порушення: досліджуваним джерелом коливань, плавним гетеродином і кварцовим генератором.
Коливання досліджуваного генератора або радіопередавача подаються на керуючу сітку змішувача від спеціального гнізда А частотоміра. На це ж гніздо надходять коливання плавного гетеродина й кварцового генератора у випадку використання частотоміра для перевірки градуйовки радіоприймача.
Регулювання рівня досліджуваного сигналу на вході змішувача здійснюються за допомогою резистора R>3> (Вхід ВЧ). Залежно від положення перемикача У72 на вхід змішувача одночасно можуть бути подані тільки дві які-небудь частоти.
При лівому положенні перемикача П>2> Гетеродин (рис. 5) на вхід змішувача подається частота плавного гетеродина й джерела коливань вимірюваної частоти.
При середнім положенні перемикача Перевірка до змішувача разом із частотою плавного гетеродина підводить для перевірки його градуйовки частота кварцового генератора. Підстроювання плавного гетеродина здійснюється за допомогою конденсатора С>2> Корекція.
При правому положенні перемикача Кварц прилад використається як кварцовий калібратор при перевірці градуйовки досліджуваного джерела коливань високої частоти або радіоприймача на частотах, що збігаються з гармоніками кварцового генератора. У першому випадку на змішувач подається напруга від джерела, що перевіряє, і гармоніки кварцового генератора, а в другому - приймач настроюється на гармоніки кварцового генератора.
Підсилювач низької частоти частотоміра, призначений для посилення коливань різницевої частоти, виділюваних змішувачем, виконаний на пентоді Л>3>, що працює в тріодному режимі. Ручне регулювання гучності здійснюється за допомогою потенціометра R>7> Посилення.
Живлення частотоміра виробляється напругою мережі 110-127-220 В, частотою 50 Гц через випрямляч або ж від джерела постійного струму напругою 120 й 6 В.
Основні технічні характеристики частотоміра Ч4-1 наступні:
Діапазон вимірюваних частот 125 кГц - 20 МГц (I - від 125 кГц до 2 МГц й II - від 2 до 20 МГц.).
Погрішність виміру частоти при нормальних умовах експлуатації приладу не перевищує на першому діапазоні 50 Гц і на другому 400 Гц.
Нестабільність кварцового генератора при нормальних умовах експлуатації 10-6.
Нестабільність частоти плавного гетеродина після попереднього прогріву не перевищує за 5-7 хв. на максимальній частоті першого діапазону 8∙10-5 і найбільшій частоті другого діапазону 5∙10-6.
Відлік частоти при вимірах виробляється по градуйовочної книзі, що є невід'ємною частиною приладу.
У додатку 4 приводиться зразок однієї зі сторінок градуйовочної книги гетеродинного частотоміра Ч4-1.
Колонки основних частот гетеродина і їхніх використовуваних гармонік у градуйовочних книгах друкуються заздалегідь. Значення відліку по лімбі конденсатора настроювання плавного гетеродина вносяться в книгу кожного екземпляра приладу в процесі його заводський градуйовки.
У лівому нижньому куті сторінки зазначені найближча кварцова перевірочна крапка, використовувана для перевірки плавного гетеродина.
У правому нижньому куті сторінки наведені дані для знаходження виправлень, тобто для їхнього перекладу зі значень відліку в герци й навпаки.
4. ЦИФРОВІ ЧАСТОТОМІРИ
У цей час цифрові вимірники частоти й інтервалів часу становлять найбільш численну групу серед ЦИП. Вони зручні в експлуатації й відрізняються високою точністю (погрішність близько 10-6 і менш). Сучасні цифрові частотоміри виконуються на напівпровідникових приладах й інтегральних схемах, що підвищило їхню надійність у порівнянні з першими ламповими зразками, зменшило габарити й споживану потужність.
Цифрові частотоміри (часто називають також електронно-рахунковими частотомірами) використовують час-імпульсне перетворення, що є різновидом число-імпульсного методу.

Рис. 7. Структурна схема цифрового частотоміра
Звичайно цифрові частотоміри виконуються як універсальні прилади й дозволяють крім частоти вимірювати період, часовий інтервал, тривалість імпульсу, відношення частот, робити рахунок послідовності імпульсів і самоконтроль, реєструвати результати виміру на стрічці цифропечатаючої машини й робити дистанційні виміри.
Структурна схема цифрового частотоміра. Принцип дії електронно-рахункових частотомірів заснований на підрахунку числа періодів вимірюваної частоти за певний проміжок часу.
Спрощена структурна схема такого частотоміра наведена на рис. 7.
Напруга вимірюваної частоти f>x> подається на формуючий пристрій, на виході якого виходять однополярні імпульси такої ж частоти.
Ці імпульси надходять на електронний лічильник тільки в строго певні інтервали часу, коли відкритий часовий селектор. Роботою селектора, тобто його відмиканням і запиранням, управляє прямокутний імпульс, сформований керуючим пристроєм. Тривалість цього імпульсу, а виходить, і зразкового тимчасового інтервалу стабілізована кварцовим генератором. На виході кварцового генератора ставляться дільники частоти, що дозволяють одержати інтервали часу, кратні десяти.
Крім зразкових тимчасових інтервалів керуючий пристрій забезпечує певну тривалість часу відліку результату виміру з наступним скиданням показань лічильника. Для збільшення часу відліку керуючий пристрій має спеціальну схему, за допомогою якої керуючі імпульси не допускаються на селектор і він залишається закритим на час, протягом якого на цифровому табло приладу зберігається отриманий результат.
Оскільки вимірювана частота f>x> являє собою число коливань, а в цьому випадку — число імпульсів на виході селектора, в одиницю часу, те

де n - показання лічильника, тобто число імпульсів за калібрований інтервал часу Δt.
Час рахунку імпульсів вимірюваної частоти Δt, звичайно рівне 0,001; 0,01; 0,1; 1 або 10 с, задається шляхом підключення до керуючого пристрою відповідного дільника частоти. Наприклад, якщо вимірювана частота f>x>=100000 Гц, а селектор відкритий протягом часу Δt=1 с, те лічильник покаже 100000, якщо Δt=0,1 с, те n =f>x>Δt=10000, а при Δt=10 с відповідно n=1000000.
Таким чином, чим більше час рахунку Δt при незмінній частоті, тим більше показання лічильника, а виходить, і точність виміру.
Погрішність виміру частоти електронно-рахунковим частотоміром залежить від моментів надходження на лічильник першого й останнього імпульсу за час рахунку, що пояснюється рис. 8. Ця погрішність дискретності може бути порядку ±1 рахунку, і її доводиться враховувати при вимірі порівняно низьких частот. Крім того, на погрішність частотоміра впливає нестабільність кварцового генератора й нестійкість фази в дільнику частоти.
При вимірі низьких частот розглянутий метод не може забезпечити досить високої точності, тому що кількість імпульсів, підрахована навіть за максимальний для приладу інтервал часу (звичайно 1 або 10 с), невелике. Тому на низьких частотах вимірюють не частоту, а період коливань.
Електронний лічильник. Найважливішим елементом цифрового частотоміра є електронний лічильник.
Найбільше поширення одержав декадний, тобто десятковий, лічильник.

Рис. 8. Залежність показань лічильника від моменту подачі імпульсів на його вхід
Такий лічильник складається з певного числа рахункових декад, кожна з яких характеризується десятьма стійкими станами. Побудова рахункової декади можливо різними способами залежно від елементів, що застосовуються в ній. У цей час найбільше поширення знаходять декади, виконані на статичних тригерних осередках (тригерах).
Тригер — це електронне безконтактне реле, що складається із двох ідентичних каскадів імпульсного підсилювача напруги, вихід кожного з яких гальванично з'єднаний із входом іншого.
Тригер має два стани стійкої рівноваги, кожне з яких характеризується певним рівнем вихідного сигналу. Зміна одного стану на інше відбувається в результаті впливу вхідного пускового імпульсу. У лічильниках використається тригер з рахунковим: входом, коли два його входи об'єднані в один. У режимі рахункового запуску кожне із двох стійких станів; тригера повторюється через один вхідний імпульс. Один стійкий стан осередку умовно прийнято за Нуль (у тригері записаний 0), інше - за одиницю (у тригері записана 1).
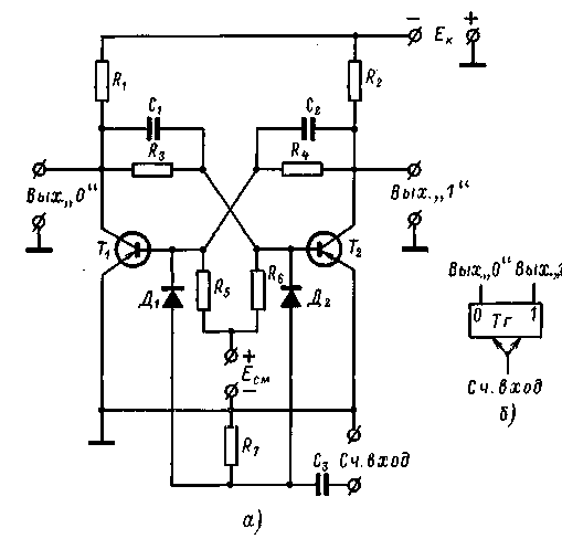
На рис. 9, а зображена принципова електрична схема тригера на транзисторах з колекторно-базовими зв'язками, а на рис. 9, б - його функціональна схема.

Рис. 9. Схема статичного тригера
У стійкому стані схеми один транзистор відкритий, 1 іншої закритий. Стан, коли струм тече через обоє транзисторів, є нестійким. Припустимо, що відкрито обоє транзистора. Однак, через того що ідеальна симетрія схеми неможлива, струми першого й другого транзистора відрізняються друг від друга. Досить незначної різниці між струмами, щоб схема з нестійкого перейшла в один із двох стійких станів.
Наприклад, якщо колекторний струм другого транзистора I>к2> трохи збільшився, то потенціал його колектора стане менш негативним, тому що збільшиться спадання напруги на R>2>. У результаті негативний потенціал на базі транзистора Т>1> зменшиться й він буде підзакриватися. Це викличе зменшення I>к1>, зниження потенціалу на колекторі Т>1> а виходить, і на базі Т>2>, внаслідок чого I>к2> зростає ще більше. Цей процес протікає лавинообразно, тому що запирання одного транзистора викликає відмикання іншого й навпаки, доти, поки колекторний струм першого транзистора не досягне максимуму. У результаті схема перекинеться в перший стійкий стан.
Якщо ж по випадкових обставинах струм I>к2> не збільшиться, а зменшиться, то в результаті лавинообразного процесу транзистор Т>2> буде закритий, а Т>1> відкритий. Це буде визначати другий стійкий стан схеми.
У тригера два виходи: нульовий (Вих. «0») і одиничний (Вих. «1»). Одиничним називають вихід, на якому з'являється робочий сигнал при переході тригера зі стану «1» у стан «0». Другий вихід називається нульовим. Умовимося вважати, що в тригері записаний 0, якщо транзистор Т>1> закритий, а Т>2> відкритий. Зворотний стан приймемо за 1. Для того щоб тригер після підключення джерел живлення до нього виявився в певному стійкому (звичайно нульовому) стані, на його подається імпульс скидання, під дією якого тригер штучно переводиться в цей стан. Надалі перехід схеми з одного стану в інше відбувається при подачі на вхід позитивних імпульсів.
Нехай до моменту запуску тригер перебуває в нульовому положенні. При цьому негативна напруга на колекторі й базі транзистора Т>2> близько до нуля, на колекторі Т>1> приблизно дорівнює Е>к>, на базі Т>1> позитивна напруга близько до нуля. Позитивний імпульс або перепад напруг, поданий на рахунковий вхід, коротшає за допомогою ланцюга, що диференціює, >R>7>C>3 і надходить на бази обох транзисторів. На відкритий транзистор цей імпульс робить замикаючу дію. Це приведе до виникнення лавинообразного процесу, у результаті якого тригер перейде в протилежний стійкий стан, коли Т>1> відкритий, а Т>2> закритий.
С приходом другого імпульсу тригер повернеться в нульовий стан, а на його одиничному виході з'явиться позитивний перепад напруг (Т>2> відкривається), що є робочим сигналом для наступного тригера лічильника. Завдяки діодам Д>1> і Д>2> тригер перекидається тільки від позитивних імпульсів.
Список використаної літератури
Жарковский
Б.И.
Приборы
автоматического контроля и регулирования
(устройство и ремонт): Учеб. для ПТУ.
— 3-е
изд., перераб. и
доп. — М.:
Высш. шк., 1989.
Крыскин А.М., Наумов И.З. Слесарь механосборочных работ. — М.: Высшая школа, 1974.
Атабеков В.Б. Ремонт электрооборудования промышленных предприятий: Учеб. для сред. ПТУ — 5-е изд., испр. М.: Высш. шк., 1985.
Беркович М.А. и др. Основы техники релейной защиты /М.А. Беркович, В.В. Молчанов, В.А. Семенов. — 6-е изд., перераб. и доп.—М.: Энергоатомиздат, 1984.
Бокман Г.А., Пузевский И.С. Конструкция и технология производства электрических машин. — М.: Высшая школа, 1977.
Вернер В.В., Вартанов Г.Л. Электромонтер-ремонтник. — М.: Высшая школа, 1982.
Коротков Г.С., Членов М.Я. Ремонт оборудования и аппаратуры pacпределительных устройств. — М.: Высшая школа, 1984.
Никулин Н.В. Справочник молодого электрика по электротехническим материалам и изделиям. — М.: Высшая школа, 1982.
Перельмутер Н.М. Электромонтер-обмотчик и изолировщик по ремонту электрических машин. — М.: Высшая школа, 1980.