Всенаправлений азимутальний радіомаяк VOR-4000
НАЦІОНАЛЬНИЙ АВІАЦІЙНИЙ УНІВЕРСИТЕТ
Інститут Аеронавігації
Кафедра Авіоніки
Реферат
з дисципліни "ОАРРР"
На тему: «Всенаправлений азимутальний радіомаяк VOR-4000»
Київ – 2011
Всенаправлений азимутальний радіомаяк VOR-4000
Всенаправлений азимутальний радіомаяк VOR-4000 за своїми характеристиками відповідає вимогам ІСАО, висунутим до АРМ РСБН, які використовуються в цивільній авіації.
Принцип роботи радіомаяка VOR-4000 заснований на фазовому методі вимірювання навігаційного параметра. РадіомаякVOR-4000 формує та випромінює ВЧ модульовані коливання в діапазоні МХ. Інформація про навігаційний параметр визначається фазовими співвідношеннями сигналів модуляції частотою 30 Гц опорного та азимутального.
У бортовому обладнанні значення азимута визначається вимірюванням різниці фаз сигналів частотою 30 Гц. На борту ПС крім значення азимута, визначається та відбивається наявність відхилення ПС від лінії курсу з одночасною індикацією напрямку польоту відносно тoчки розташування радіомаяка («На»-«Від»). У радіомаяку VOR 4000 передбачена можливість передачі на борт мовної інформації та сигналів розпізнавання радіомаяка. Радіомаяки VOR-4000 можна застосовувати як автономно, так і разом з радіомаяками DME створюючи РСБН типу VOR/DME.
В основу побудови радіомаяка VOR-4000 покладена уніфікована апаратура типу SYSTEM-4000, яка розроблена фірмою SEL (Німеччина).
В апаратурі SYSTEM-4000 використовується цифро-аналоговий принцип формування моделюючих НЧ сигналів, а також побудова трактів контролю та керування із застосуванням мікропроцесорів (типу 8085), які з додаванням блоків пам’яті створюють міні-ЕОМ. Влаштована апаратура контролю забезпечує автоматичну перевірку роботоздатності з реєстрацією значень відхилення контрольованих параметрів від встановлених норм, пошук та визначення відмов з формуванням відповідних сигналів керування. Результати контролю відбиваються на двох букво-цифрових дисплеях на 16 знаків, які дозволяють оператору працювати з комп’ютером в діалоговому режимі. Доступ оператора до системи здійснюється через клавіатуру. За допомогою клавіатури до комп’ютера вноситься спеціальний пароль, що виключає несанкціонований доступ до системи (рис. 1).
Рис.1
Рис. 1
Обираючи відповідне програмне забезпечення, на базі SYSTEM-4000 можна створити наземні азимутальні радіомаяки типу VOR, DVOR, а також курсові та глісадні радіомаяки систем посадки діапазону МХ типу ILS.
До радіомаяка VOR-4000 входять два комплекти передавальної апаратури з влаштованими системами контролю, керування та електроживлення, які розміщені на загальному стояку (стояк ПРД); резервне джерело електроживлення (акумуляторна батарея напругою 48 В); антенно-фідерна система; система дистанційного контролю та керування.
Обладнання радіомаяка VOR-4000 розміщують в будівлі (або в спеціальному будинку-укритті). Антенну систему встановлюють на даху будинку-укриття, який одночасно виконує роль антенної противаги. Антенна система з’єднується з апаратурою радіомаяка кабелями. При двох контрольних антенах до комплекту радіомаяка додають додаткові кабелі для з’єднання з другою контрольною антеною (Рис. 2).

Рис. 2 - Схема розміщення апаратури радіомаяка VOR-4000
Основні технічні характеристики радіомаяка VOR-4000
Точність вимірювання азимута, не гірш...1,5
Діапазон частот, МГц..... .108...112
Рознесення частот, кГц......50
Стабільність частоти,%..... . 0,01
Рівень гармонічних складових... .Не більше 2·10-5
Частота модуляції, Гц.... ..30 0.01 %
Частота піднесучої, Гц.... ..99600,1%
Глибина АМ, %......301
Індекс ЧМ...... ..160.1
Частота сигналу розпізнавання, Гц....10200,01%
Діапазон частот мовного сигналу, Гц....300...3000
Вихідна потужність передавача, Вт....50
Потужність споживання по колу змінної напруги 230 В, ВА:
для ПРД 100 Вт.... ..3450
для ПРД 50 Вт... ..2300
Потужність споживання по колу постійної напруги, Вт:
для ПРД 100 Вт.... ..700
для ПРД 50 Вт... ..540
Умови роботи у приміщенні:
температура повітря, град. .... .10...+50
відносна вологість:
при температурі до плюс 35°С, %.. ..Не більше 95
при температурі вище плюс 35° C, %.. .Не менше 60
Умови роботи поза приміщенням:
температура повітря, град... .-40...+70
відносна вологість, %....100
Вітрове навантаження, км/г.... .До 160
Резервування
(ПРД, монітор, електроживлення), %... 100
Індикація параметрів та програмних значень - букво-цифрова (на дисплеї з полем даних 2 слова по 16 знаків).
До узагальненої структурної схеми радіомаяка VOR-4000 (рис.3) входять такі апаратні функціональні групи:
апаратура формування сигналів з генераторами ВЧ та модулюючих сигналів, трактом підсилення та антенним розподілювачем сигналів ПРД;
апаратура контролю та керування радіомаяком з центральним процесором, монітором, блоком клавіатури та дисплея, системою дистанційного контролю та керування;
апаратура електроживлення;
антенна система.
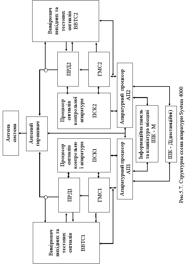
Один з подвоєних комплектів основного обладнання радіомаяка використовується в робочому режимі, другий знаходиться в резерві. Функціональна схема одного комплекту радіомаяка наведена на рис.5.10.
Генератор ВЧ сигналів (збуджувач) формує несучу частоту ПРД радіомаяка в діапазоні частот 108...112 МГц. У радіомаяку VOR 4000 формування азимутального й опорного сигналів здійснюється АМ несучої частоти у відповідних каскадах підсилювального тракту двома напругами частотою 30 Гц (зсунутих за фазою на 90°), напругою піднесучої частоти 9960 Гц й напругою розпізнавання 1020 Гц від генераторів модулюючих сигналів.

Рис. 3 - Структурна схема радіомаяка VOR-4000
радіомаяк азимут сигнал частота

Рис. 4 - Функціональна схема одного комплекту радіомаяка VOR-4000
В апаратурі контролю та керування функціональна група монітора разом з контрольною антеною А>К> (з одним або з двома вібраторами) складає тракт зовнішнього контролю радіомаяка. Сигнали від контрольної антени через підсилювач з регульованим за командами клавіатури коефіцієнтом підсилення обробляються в блоці монітора. Тут же ВЧ сигнали детектуються та подаються на схеми вимірювання азимута, глибини модуляції частотами 30 та 9960 Гц, девіації частоти піднесучої та коду розпізнавання. Блок монітора взаємодіє з блоком центрального процесора, де використовуються субблоки пам’яті та пристрої обробки сигналу монітора. Значення допусків на контрольовані параметри встановлюються за командами клавіатури. Влаштована контрольна апаратура разом з блоком центрального процесора забезпечує оперативну перевірку роботоздатності радіомаяка, регулювання параметрів, пошук та визначення відмов.
Основні функції центрального процесора (з додатковим блоком пам’яті):
обчислення та встановлення номінальних значень параметрів радіомаяка;
обробка сигналів зовнішнього та влаштованого контролю й за необхідністю перемикання робочого комплекту на резервний або вимкнення радіомаяка; забезпечення діагностики з глибиною до рівня зйомних плат;
забезпечення зв’язків з блоком клавіатури та дисплея.
З клавіатури вводяться такі команди:
виклик програм та підпрограм;
встановлення номінальних значень та регулювання параметрів радіомаяка, значень експлуатаційних та попереджувальних допусків на контрольовані параметри;
запит даних для індикації на дисплеї.
На дисплей може виводитися:
інформація про технічний стан радіомаяка;
результати контрольних та діагностичних операцій;
команди та підтвердження введених даних, а також результати проведених корекцій.
Поле даних дисплея становить два рядки по 16 знаків у кожному. Розподіл сигналів робочого комплекту ПРД по вібраторах антенної системи та увімкнення еквівалента антени (антенного навантаження) до виходу резервного ПРД здійснюється блоком розподілення сигналів, з якого частина ВЧ сигналів знімається та після попередньої обробки передається у тракт контролю радіомаяка.
Антенна система ПРД радіомаяка складається з двох схрещених вібраторів для випромінювання азимутального сигналу та двох всенаправлених вібраторів для випромінювання опорного сигналу. Живлення вібраторів іде через кабельні трансформатори, які симетрують та узгоджують ВЧ кола. Як противагу антені використовують металевий лист діаметром 5 м, який встановлений на даху будинку-укриття. Він забезпечує рівномірність ДН антенної системи в прямовисній площині.
Для забезпечення електроживленням блоків, вузлів (плат) апаратури в радіомаяку VOR-4000 напругами плюс 28, плюс 15 та плюс 5 В застосовують перетворювачі, на входи яких подається постійна напруга плюс 54 В.
Телекерування та телесигналізація радіомаяка VOR-4000 забезпечується системою дистанційного контролю та керування (СДКК). Блок СДКК, який розміщений на КДП, з’єднується з апаратурою радіомаяка двопровідною лінією через модем і адаптер зовнішнього інтерфейсу.
Апаратура формування сигналів контролюта керування
Радіомаяк VOR-4000 формує та випромінює складну сукупність сигналів азимутального, опорного та розпізнавання (рис.5.11). Крім того, в радіомаяку передбачена можливість передачі на борт ПС мовного сигналу.
В технічній документації до радіомаяка VOR-4000 азимутальні та опорні сигнали позначені відповідно “сигнали бокових частот” і “сигнали несучої частоти”, чим підкреслено відсутність у випромінюваному азимутальному сигналі несучої частоти та наявність повного спектра частот в опорному сигналі.
Азимутальний сигнал (бокових частот) отримують після балансної модуляції (БМ) несучої частоти двома сигналами частотою 30 Гц, які відрізняються за фазою на 90°. Два БМ сигнали випромінюються схрещеними вібраторами. Опорний сигнал (несучої) є ВЧ коливання несучої частоти, які АМ напругою піднесучої частоти 9960 Гц. Піднесуча частота сигналу у свою чергу ЧМ напругою частотою 30 Гц, фаза якого однакова з фазою НЧ напруги 30 Гц однієї із складових азимутального сигналу. Спектр випромінюваних сигналів наведений на рис.6. Опорний сигнал випромінюється всенаправленою антеною.

Рис. 5 - Формування азимутального сигналу радіомаяка VOR-4000: а - діаграма напрямленості антен; б - форма азимутальних сигналів бокових частот

Рис. 6 - Спектр сигналів радіомаяка VOR-4000
Апаратура формування сигналів складається із збуджувача, трьох підсилювачів-модуляторів (Exiter-AF), генератора модулюючих коливань і підсилювачів потужності (рис.7).
Збуджувач формує високостабільний сигнал несучої частоти в діапазоні 108...112 МГц. Крім того, частина сигналу збуджувача використовується в апаратурі контролю та керування радіомаяка як еталонний (опорний) сигнал. Збуджувач налаштовується на частоту робочого каналу заміною зйомного кварцового резонатора. У збуджувачі сигнали кварцового генератора підсилюються і через подільники та буферні підсилювачі розподіляються по входах підсилювачів-модуляторів MOD 110, несучої CSG і бокових частот SB1 і SB2. Для забезпечення сталості амплітуди вихідного сигналу в підсилювачі збуджувача застосована схема автоматичного підсилення сигналів кварцового генератора. З вихідних каскадів збуджувача частина сигналів знімається для контролю. Вихідні сигнали збуджувача модулюються за амплітудою трьома підсилювачами MOD-110.
В підсилювачах MOD-110 формуються азимутальний та опорний сигнали радіомаяка. В каналі формування опорного сигналу MOD-110 забезпечує АМ несучої частоти сигналом розпізнавання радіомаяка та за необхідністю - мовним сигналом. Усі три підсилювачі зібрані за однаковою схемою.
Високочастотні сигнали подаються на вхід підсилювача надвисокої частоти (НВЧ) через фазокоректуючі каскади та попередній підсилювач. До НВЧ підсилювача сигнали генератора модулюючих коливань поступають після підсилення у каскаді підсилення НЧ. У підсилювачі MOD-110 передбачена схема корекції фази ВЧ сигналу з каскадами підсилення та лінеаризації керуючих напруг, які надходять з блоку ССР, а також можливість автоматичного керування підсиленням та полосою перепускання НЧ підсилювача по сигналах апаратури контролю та керування. У режимі БМ вмикається схема керування фазоінвертором. Вибір режиму роботи та керування MOD-110 здійснюється за допомогою набору перемикачів (S1-S10). З виходу НВЧ підсилювача АМ коливання поступають на відповідний підсилювач потужності. Частина вихідного сигналу підсилювачаMOD-110 знімається для контролю. Підсилювачі MOD-110 забезпечують підсилення сигналів до 20 мВт, якщо рівень вхідних сигналів становить 10 мВт.

Рис. 7 - Структурна схема апаратури формування сигналів VOR-4000
Побудова апаратури контролю та керування радіомаяка базується на застосуванні мікропроцесорної техніки з додатковими блоками пам’яті. В радіомаяку VOR-4000 використовується два виду контролю: влаштований і зовнішній. Влаштований контроль параметрів здійснюється перетворенням вихідних сигналів основних блоків і вузлів радіомаяка в числовий код та порівнянням їхніх значень із збережуваними в блоках пам’яті номінальними значеннями параметрів контрольованих сигналів. Тракт зовнішнього контролю складається з контрольного вібратора і блока монітора. Результати контролю обробляються центральним апаратурним процесором.
В радіомаяку є можливість встановлювати (регулювати) та відображати на дисплеї значення ряду параметрів радіомаяка:
потужність ПРД (сигналів несучої та бокової частот);
глибину модуляції та фази ВЧ сигналів ПРД;
напругу та струми електроживлення.
Встановлення потрібних значень параметрів, а також виклик та відбиття їхніх значень здійснюється з блока клавіатури і дисплея. При цьому на дисплеї відображуються номінальне і поточне значення цих параметрів.
Центральний процесор складається з апаратурного процесора CPU і блока пам’яті МЕМ. Зв’язок центрального процесора з апаратурою формування сигналів радіомаяка здійснюється за трьома шинами зв’язку: керування і перевірки ПРД, контролю та зміни станів.
Сполучення процесора CPU з блоком клавіатури і дисплея здійснюється через стандартний інтерфейс.