Передача даних, сигналів звукового мовлення, частотних груп і телевізійних сигналів по цифрових каналах
Передача даних, сигналів звукового мовлення, частотних груп і телевізійних сигналів по цифрових каналах
1. Методи передачі даних по цифровому каналу
Існують два методи передачі низькошвидкісних даних по цифровому каналу: метод простого накладення і метод кодування фронтів.
Метод накладення передбачає стробування інформаційних імпульсів послідовністю більш коротких імпульсів, у результаті чого кожен інформаційний імпульс перетворюється в пачку коротких імпульсів (рис. 1). Зазначене перетворення легко реалізується за допомогою схеми збігу, на один вхід якої подаються інформаційні, а на інший – стробуючі імпульси (CI).

Рисунок 1
У приймальному
устаткуванні інформаційні імпульси
відновлюються за огинаючою прийнятою
імпульсною послідовністю. Оскільки при
такому методі передачі інформаційні і
стробуючі імпульси не синхронізовані
між собою, то відновлення інформаційних
імпульсів відбувається з крайовими
перекручуваннями, максимальна величина
яких (
)
дорівнює тактовому інтервалу (періоду
повторення) стробуючих імпульсів (
),
тобто

,
а відносна величина крайових перекручень
,
де
і
− швидкості потоків інформаційних і
стробуючих імпульсів відповідно.
Чим вище частота
проходження стробуючих імпульсів (
)
у порівнянні з частотою повторення
інформаційних імпульсів (
),
тим менше величина крайових перекручувань.
Для заданих значень
і
припустима швидкість передачі
інформаційних імпульсів складає величину
=
.
Наприклад, для
=0,05
і
=8
припустима швидкість передачі даних
.
Для передачі низькошвидкісних даних
(наприклад, телеграфних сигналів) по
каналу передачі дискретної інформації
ЦСП ІКМ-30 використовується послідовність
імпульсів першого розряду (Р1) канального
інтервалу КIО. Швидкість передачі цього
каналу
=8
.
Оскільки,зазвичай,
>
,
то для повного використання пропускної
спроможності цифрового каналу в ньому
можна організувати кілька каналів
передачі даних. Кількість цих каналів
визначається співвідношенням
.
Наприклад, для заданих
значень
=5%,
=8
і
=50
Бод величина
каналів.
Перевагою методу
накладення є його простота. Недолік –
низька ефективність використання
цифрового каналу. Коефіцієнт використання
цього каналу (К) чисельно дорівнює
відносній величині крайових перекручувань,
тобто
.
Метод накладення через
низьку ефективність використання
пропускної спроможності цифрового
каналу використовується для передачі
сигналів зі швидкістю не вище 1200
.
Так, наприклад, при значеннях
=64
(для передачі даних використовується
ОЦК) і
=1200
величина
,
тобто крайові перекручування невеликі,
але і коефіцієнт використання цифрового
каналу вкрай низький (К=0,02).
Існують більш ефективні, хоча і більш складні методи передачі даних, що забезпечують підвищення ефективності використання цифрового каналу. Одним з цих методів є метод кодування фронтів інформаційних імпульсів (метод ковзного індексу).
Метод кодування фронтів
передбачає передачу інформації про
наявність і напрямок переходів у
дискретному сигналі (фронтів інформаційних
імпульсів) всередині тактового інтервалу
імпульсної послідовності цифрового
каналу. Ця інформація передається
кодовими комбінаціями, що складаються
з
розрядів. Значення першого (стартового)
розряду визначає наявність фронту
(переднього або заднього) інформаційного
імпульсу в середині тактового інтервалу
,
значення другого – напрямок переходу
інформаційного імпульсу (з нижнього
рівня "0" у верхній "1" – 1, з
верхнього рівня "1" у нижній "0"
– 0). Значення інших n-2 розрядів визначають
положення фронту інформаційного імпульсу
в середині тактового інтервалу. Для n=3
значення 1 може відповідати положенню
фронту в лівій половині тактового
інтервалу
,
а 0 – у правій половині інтервалу
.
Якщо n=4, то положення фронту визначається
з точністю до
тривалості інтервалу
.
Приклад, що пояснює розглянутий метод передачі даних для n=3, наведений на рис. 2.

Рисунок 2
Відновлення переданого
сигналу в приймачі здійснюється із
затримкою на З
(за n=3). Відносна величина крайових
перекручувань складає значення
,
тобто
в
рази менше, ніж при методі простого
накладення тією самою частотою стробуючих
імпульсів і швидкістю передачі цифрового
каналу.Оскільки для кодування фронту
інформаційного імпульсу необхідно не
менше трьох імпульсів цифрового каналу,
то максимальне значення коефіцієнта
використання цього каналу складає
величину
.
У методі кодування фронтів момент змiни рівня інформаційного імпульсу і положення стартового імпульсу, що вказує наявність цієї зміни, не синхронізовані між собою. Це викликає "ковзання" стартового імпульсу по часовій осі, що визначило іншу назву цього методу – "метод ковзного індексу".
2. Передача сигналів звукового мовлення
сигнал кодування телевізійний звуковий частотний
Існує три класи сигналів
ЗМ, що розрізнюються смугою ефективно
переданих частот. Її величина складає
6.4, 10 і 15 кГц для каналів ЗМ 2-го, 1-го і
вищого класу відповідно. Тому частота
дискретизації (
)
сигналів 3В має бути не менше 12,8 , 20 і 30
кГц для каналів 3В 2-го, 1-го і вищого
класів відповідно. Оскільки частота
дискретизації має бути кратною частоті
дискретизації мовних сигналів одного
каналу (8 кГц ), то канал 3В 2-го класу
організовується в ЦСП ІКМ-15 замість
двох ОЦК (що відповідає частоті
дискретизації Fд=16кГц). Для організації
каналу 3В-1-го класу в ЦСП ІКМ-30 частота
дискретизації вибирається рівною 32кГц,
тобто використовуються чотири канали
(канальні інтервали КІ 1, КІ 9, КІ 17 і КІ
25). Тому швидкість передачі сигналу 3В
складає
.
Структурна схема приймача-передавача сигналів ЗМ 1-го класу наведена на рис.

Рисунок 3
Аналоговий сигнал ЗМ проходить через попередньо перекручуючий контур (ПрК), що послаблює низькочастотні складові сигналу ЗМ. Фільтр НЧ обмежує спектр сигналу частотою 10 кГц. Далі модулятор (М) дискретизує сигнал ЗМ, після чого АIM-сигнал ЗМ надходить у груповий тракт АIM сигналів, кодується і після перетворювання в лінійний код груповий ІКМ-сигнал передається в цифровий лінійний тракт (ЦЛТ).
На приймальній стороні
після декодування з групового АIM-сигналу
за допомогою часового селектора (ЧС)
виділяються відліки ЗМ-сигналу, що
виникають з частотою F=4*8=32кГц. Фільтр
НЧ перетворює АIM-сигнал
ЗМ в АМ-сигнал. Відновлюючий контур (ВК)
компенсує попередні перекручування,
що були внесені на передавальній стороні
попередньо перекручуючим контуром. Для
компенсації цих попередніх перекручувань
необхідно, щоб залежності загасання
від частоти попередньо перекручувального
(
) контуру і контуру, який вiдновлює
(
),
були взаємно-зворотні, тобто
.
Для цього необхідно, щоб виконувалася
умова (у дБ)
Загальний характер частотних залежностей
загасання контурів ПК і ВК наведено на
рис.4.

Рисунок 4
Доцільність попередніх перекручувань можна пояснити таким чином.
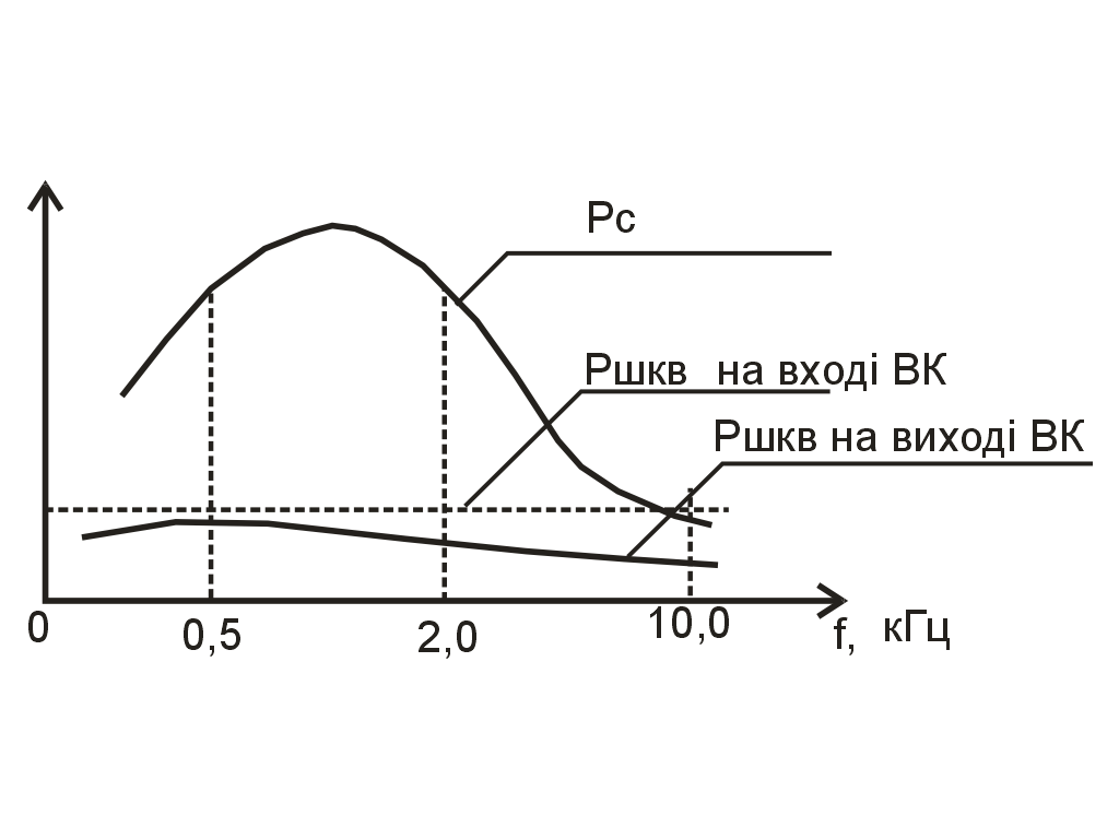
Частотний спектр сигналу ЗМ нерівномірний. Його основна частина зосереджена в області 0,5...2 кГц. Зі збільшенням частоти спектральна щільність сигналу ЗМ різко зменшується. На противагу цьому спектр шумів квантування рівномірний у всій смузі частот сигналів ЗМ. У результаті цього на верхніх частотах потужність шумів квантування стає порівняною з потужністю сигналу. Внаслідок цього вплив шумів квантування стає помітним на слух. На рис. 5 наведено залежності спектральної щільності потужності сигналу і спектральної щільності потужності шумів квантування від частоти.

Рисунок 5
За рахунок того, що загасання ВК зростає зі збільшенням частоти, спектральна щільність потужності шумів квантування зменшується, що робить шуми квантування в області цих частот менш помітними.
Для якісної передачі сигналу ЗМ використовується апаратура АЦМ-480, що забезпечує дискретизацію сигналу ЗМ із частотою 40 кГц, нелінійне квантування і 12-розрядне кодування. Збільшення розрядності з 8-ми до 12-ти призводить до збільшення в 16 разів точності відліку кожної дискрети, що у свою чергу забезпечує підвищення захищеності сигналу від шумів квантування на 24 дБ. Апаратура АЦМ-480 поєднується з первинним цифровим трактом апаратури ІКМ-30 і дозволяє організувати у ньому 4 моно, або 2 стерео каналів ЗМ, або 8 каналів ЗМ 2-го класу.
Для підвищення завадостійкості сигналу від перешкод у цифровому тракті в кожну кодову групу вводиться додатковий біт перевірки на парність 6-ти старших розрядів, використовується перестановка розрядів, що підвищує захищеність сигналу від зосереджених перешкод (групові помилки перетворюються в одиночні, які виявляються). З урахуванням надлишковості швидкість передачі по кожному з 4-х каналів ЗМ становить 512 кбіт/с.
Структурна схема апаратури АЦМ-480 наведена на рис. 6.

Рисунок 6
На передавальній стороні в апаратурі ККВ (комплект кодування) сигнал ЗМ перетворюється в цифровий. Сформовані цифрові сигнали 4-х каналів ЗМ надходять зі швидкістю 512 кбіт/c на комплект апаратури первинного часового групоутворення (КПЧГ), де здійснюється синхронне об'єднання у цифровий потік зі швидкістю 2048 кбіт/с, а на приймальній стороні виконується поділ загального потоку на 4 потоки зі швидкістю 512 кбіт/c кожний. Після декодування в апаратурі комплекту декодування (КДВ) сигнали ЗМ надходять на термінали.
В апаратурі цифрової передачі сигналу ЗМ ІКМ-В 6/12 за рахунок удос-коналення методу аналого-цифрового перетворення необхідна швидкість передачі зменшена до 316 кбіт/с. У свою чергу це забезпечило можливість передавати сигнали 6-ти моно, або 3-х стереоканалів вищого класу, або 12 каналів 2-го класу (зі смугою частот до 7 кГц).
3. Передача сигналів частотних груп
На практиці в процесі впровадження ЦСП виникає необхідність стикування широкосмугових аналогових трактів з цифровими. Зокрема, така необхідність виникає під час заміни апаратури АСП на апаратуру ЦСП. Тому використовується спеціальне аналого-цифрове обладнання (АЦО), що забезпечує перетворення сигналу АСП (в основному сигналів вторинної і третинної груп) у цифровий і навпаки. У процесі перетворення груповий сигнал АСП дискретизуєтся і кодується. Вихідний цифровий сигнал розділяється на декілька потоків того чи іншого ступеня ієрархії ЦСП, після чого ці потоки надходять на вхід апаратури більш високого ступеня ієрархії ЦСП. Швидкість вихідного потоку (В) визначається частотою дискретизації F>д> і розрядністю кодових груп цифрового сигналу m. Спiввiдношення для розрахунку швидкостi передачi має вигляд В=mF>д>.
Значення частоти дискретизації залежить від варiанта аналого-цифрового перетворення сигналу, який використовується:
з перетворенням частоти для зниження верхньої межі спектра сигналу;
без перетворення частоти.
Розглянемо перший варіант на прикладі перетворення сигналу вторинної групи (ВГ) АСП. Структурнi схеми передавальної i приймальної частин апаратури АЦО-ЧД (аналого-цифрове перетворення багатоканального сигналу з частотним ущільненням) наведено на рис. 7,а i 7, б вiдповiдно.

Рисунок 7
Відповідно до теореми
Котельникова частота дискретизації
має бути
.
Для зменшення частоти дискретизації
спектр ВГ переносять у смугу частот
12…252 кГц. Значення частоти дискретизації
вибирають рівною 512 кГц (замість
F>д>=2F>ш>=2252=504
кГц).
Необхідна кількість
розрядів у кодовій групі залежить від
виду шкали квантування (рівномірної
або нерівномірної) і припустимого рівня
шумів квантування (3 пВт/км, що відповідає
допустимому рівню шумів на 1 км аналогового
тракту передачі). Оскільки середній
рівень групового сигналу практично
постійний, порівняно невеликий, і
пік-фактор цього сигналу постійний (14,
12 і 10дБ для ПГ, ВГ і ТГ відповідно), то
використовувати нерівномірне квантування
недоцільно (виграш у довжині кодових
груп не перевищує одного розряду). Можна
сказати, що з урахуванням вищенаведеного
розрядність кодових комбінацій ІКМ
сигналу має бути не менше m≥9 біт.
Вибирають m=12 (11 інформаційних і один
розряд для передачі службової інформації).
Таким чином, швидкість передачі цифрового
потоку складає величину: B=mF>д>=12512=6144
.
Вихідний цифровий потік кодера в пристрої
розподілу розділяється на 3 первинних
зі швидкістю
кожний.
Далі ці потоки надходять на 3 входи
апаратури вторинної групи (ЦСП ІКМ-120)
і передаються по ЦЛТ. На
приймальній стороні рис. 7,б здійснюється
зворотне перетворення. У пристрої
об'єднання три потоки поєднуються в
один зі швидкістю
,
після чого цей ІКМ сигнал декодується,
перетворюється в аналоговий зі смугою
частот 12…252
і переноситься в смугу частот ВГ 312…552
кГц. Як
приклад розглянемо структуру циклу
передачi
апаратури АЦО-60, яка забезпечує
перетворення аналового сигналу ВГ у
цифровий.
Цикл передачі АЦО-60 характеризується такими параметрами:
– швидкість передачі

;
– тривалість циклу
передачi

(4
біти);
– кількість розрядів
(у
складi
яких 11 інформацiйних
i
один службовий);
– частота передачі
циклів

.
На рис.8 наведено розміщення бітів у кожному з 3-х потоків.

Рисунок 8
Таким чином, iз
рис 8 видно, що 12-розрядна кодова комбінація
розміщується в 3 цифрових потоках 2048
по 4 розряди у кожному.
Полярність сигналу (дискрети) зазначується на 1-й позиції. Номер сегмента розміщується на позиціях 2 і Номер рівня в сегменті – на позиціях 4...11. Дванадцята позиція цієї кодової комбінації використовується для організації службового зв'язку, передачі сигналів аварії (вид модуляції – ДМ).
Аналогічно здійснюється
перетворення в апаратурi
АЦО-300 групового
сигналу третинної групи АСП і формування
цифрового потоку зі швидкістю
.Цей
потiк
розділяється на
три вторинних iз
швидкiстю
8448
кожний, що вiдповiдає
3·120=360 ОЦК.
Під час використання другого варіанта аналого-цифрового перетворення (АЦП) сигналу значення частоти дискретизації вибирається вище верхньої частоти спектра групового аналогового сигналу, причому вибір частоти дискретизації не має супроводжуватися перекриттям спектра сигналу з бічними смугами при частоті дискретизації і її другій гармоніці. Спектр сигналу має вигляд, наведений на рис. 9, де 1 і 4 – відповідно нижня і верхня бічні смуги спектра сигналу при першій гармоніці частоти дискретизації; 2 – спектр групового сигналу АСП; 3 – нижня бічна частота спектра сигналу при другій гармоніці частоти дискретизації.

Рисунок 9
З рис.9 можна переконатися в тому, що перекриття спектрів бічних смуг 1 і 3 зі спектром сигналу 2 буде виключено під час виконання умов (нерівностей)

Крім того, доцільно забезпечити рівність захисних проміжків (ЗП) по ширині між спектром сигналу (2) і бічних смуг (1 і 3), тобто:
.
Звідки випливає, що значення частоти дискретизації визначається співвідношенням
.
Для ВГ АСП F>min> і F>max> рівні відповідно 312 і 552 кГц, тому значення частоти дискретизації складає:
.
Це значення частоти дискретизації вище, ніж у варіанті АЦП із перетворенням частоти і з однаковою розрядністю призводить до недоцільного збільшення швидкості передачі. Тому на практиці використовується варіант АЦП сигналів частотних груп з перетворенням частоти.
Недоліком розглянутих перетворень групового сигналу АСП у цифровий є зниження пропускної спроможності ЦЛТ, що використовують апаратуру ІКМ-ВД. Дійсно, для передачі сигналiв 60 або 300 каналів АСП приходиться використовувати 90 або 360 каналів ЦСП.
В останні роки розроблено трансмультиплексори, що забезпечують поєднання АСП і ЦСП без втрати пропускної здатності.
4. Передача телевізійних сигналів
Телевізійний (ТВ)
сигнал займає смугу частот, яка становить
6МГц, тому частота дискретизації має
бути не менше 12Мгц. На практиці її
значення становить
= 12,888МГц, що дозволяє для передачі ТВ
сигналу використовувати ЦСП ІКМ-1920.
Необхідна розрядність (m) кодових груп має забезпечувати передачу N помітних градацій яскравості. Оскільки N = 200, то m = ]log200[ = 8 розрядів, а швидкість передачі ТВ сигналу
B =
∙ m = 12,888 ∙ 8 = 103,104 Мбіт/c.
Цей цифровий потік розділяється на 3 стандартних третинних потоки (Е3) зі швидкостями 103,104 : 3 = 34,368 Мбіт/с, що подаються на входi апаратури четвертинної групи устаткування часового групоутворення. На приймальній стороні цифрові потоки поєднуються в один ІКМ сигнал ТВ, потім ІКМ сигнал декодується і після демодуляції відновлюється вихідний ТВ сигнал.
Слід зазначити, що швидкість передачі ТВ сигналу може бути знижена до величини порядку 40 Мбіт/c за рахунок стиску сигналу ТВ, використання таких методів модуляції, як ДІКМ і ДМ, що дозволяє використовувати для передачі ЦСП ІКМ-480.
Оскільки вимоги щодо припустимої імовірності помилки порівняно низькі (помилка з імовірністю 10-7 непомітна, а помилка з імовірністю 10-6 майже непомітна), то передача сигналів ТВ може здійснюватися без захисту від помилок. Якщо ввести незначну надмірність для забезпечення захисту від помилок, то вплив цих помилок буде практично виключено.