Исследование принципов формирования яркостного и цветоразностных сигналов в системе вещательного телевидения
1
РЕСПУБЛИКА КАЗАХСТАН
АЛМАТИНСКИЙ ИНСТИТУТ ЭНЕРГЕТИКИ И СВЯЗИ
Кафедра Радиотехники
Контрольная работа №1
Тема: «Исследование принципов формирования яркостного и цветоразностных сигналов в системе вещательного телевидения»
Студент
Кайранбаева М.
Группа ТСВ-06
Алматы 2009
1.1 Цель работы: изучение принципов формирования сигнала яркости Еy и цветоразностных сигналов Еr-y, Еb-y и их обратное преобразование в исходные сигналы основных цветов Er, Ев, Eg.
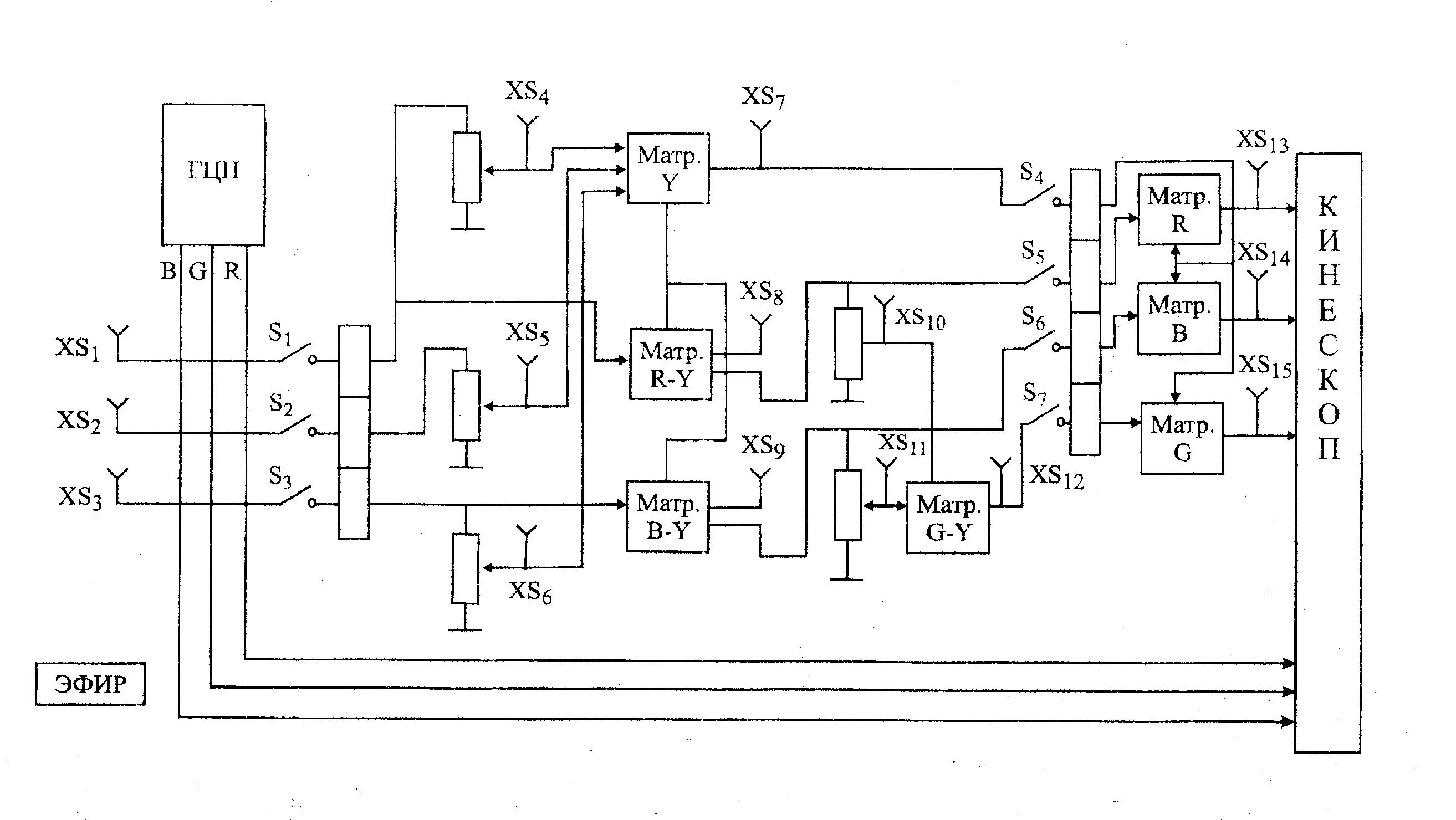
1.2 Структурная схема лабораторной работы
Блок контрольной работы представляет собой пакет устройства формирования яркостного Еy и цветоразностных сигналов Еr-y, Еb-y тракта передачи изображения системы вещательного телевидения, а также блока формирования исходных сигналов основных цветов Er, Ев, Eg канала изображения ТВ приемника.
Структурная схема лабораторной работы показана на рисунке 1.1 и содержит:

Рисунок 1.1 – Структурная схема
а) датчик испытательных сигналов — генератор цветных полос (ГЦП);
б) участок ТВ тракта (эталонный и исследуемый), включающий блок аттенюаторов матрицы (схемы сложения и вычитания) формирования сигнала яркости Rl, R2, R3;
в) матрицы яркостного ey и цветоразностных сигналов Еr-y, Еb-y;
г) блок аттенюаторов R4, R5 и матрицу формирования цветоразностного сигнала Е g-y;
д)матрицы формирования исходных сигналов основных цветов Er,Ев, Eg
Блок контрольной работы содержит коммутатор, позволяющий переключать и наблюдать одновременно изображение цветных полос эталонного (в верхней части растра) и исследуемого (в нижней части растра) канала.
Генератор цветных полос (ГЦП) - вырабатывает три вида сигналов основных цветов одинакового размаха и разной длительности (рисунок 6.2), образующих на экране изображение вертикальных цветных полос: белую, желтую, голубую, пурпурную, зеленую, красную, синюю, черную. Яркость этих цветных полос убывает слева направо. Сопоставление временных диаграмм исходных сигналов основных цветов Er, Ев, Eg показывает, что изображение белой полосы получается при одновременной подаче на катоды цветного кинескопа одинаковых по амплитуде сигналов Er, Ев, Eg. Изображения цветных полос основных цветов (красного, синего, зеленого) получаются при модуляции цветного кинескопа только одним из сигналов, дополнительного цвета (голубой, желтый, пурпурный) получаются смешением двух основных цветов (например, желтый - смешением красного и зеленого).
Формирование сигнала яркости Еy требует точного подбора соотношения между сигналами основных цветов Er, Ев, Eg в соответствии с уравнением
Еy = а Er + cЕв + dEg. (1.1)
Значения коэффициентов матрицирования устанавливаются потенциометрами R1-R3 путем изменения амплитуд сигналов Er, Ев, Eg. Контроль амплитуды производится с помощью осциллографа с методической сеткой на экране. Для принятого стандарта ТВ вещания значения коэффициентов равны: а=0,3; с=0,59; d= 0,11.
Контроль амплитуды сигналов осуществляется в гнездах XS4-XS6.
Для получения цветоразностных сигналов Еr-y, Еb-y на входы соответствующих матричных схем подаются единичные амплитуды сигналов Er, Ев, Eg, т.е. сигнал Еy инвестируется.
Контроль правильности формирования сигналов Еy, Еr-y, Еb-y осуществляется в гнездах XS7, XS8, XS9 соответственно.
Формирование исходных сигналов основных цветов Er, Ев, Eg канала изображения ТВ приемников осуществляется в два этапа. Сначала из двух известных цветоразностных сигналов Еr-y, Еb-y в соответствии с уравнением ( 6.2) образуется цветоразностный сигнал Е g-y
Е g-y = -а/с(Е >R-Y>) - (d/с(Ев-у), (1.2)
а затем путем суммирования цветоразностных сигналов с сигналом яркости восстанавливаются исходные сигналы основных цветов: Er, Ев, Eg
E r-y + Ey =Er,
E g-y +Ey = Eg, (6.3)
E b-y+ Ey = Ев.
Установка матрицирования уравнения 6.2 потенциометрами R4 и R5 и контроль размахов инвертированных цветоразностных сигналов -a/c(E >R-Y>) и -d/c(E >В-Y>) в гнездах XS10 и XS11 позволяют получить в матрице сигнал Eg-y, который можно наблюдать в гнезде XS12.
Правильность проведенных преобразований можно оценить путем сопоставления сигналов основных цветов на входе (гнезда XS1, XS2, XS3) и выходе (гнезда XS13, XS14, XS15) ТВ тракта, а также сравнением эталонного и сформированного в исследуемом канале изображения на экране ЦВКУ.
1.3 Порядок выполнения работы
1.3.1 Изучить соответствующие разделы курса и ответить на контрольные вопросы.
1.3.2 Включить лабораторную установку и ЦВКУ. Подать на вход блока сигнал ГЦП. Проверить правильность чередования цветов эталонного изображения цветных полос на ВКУ.
1.3.3 Зарисовать фрагмент изображения цветных полос и сопоставить осциллограммы сигналов в активной части строки с эталонным изображением.
1.3.4 Зарисовать осциллограммы исходных сигналов основных цветов в активной части строки Er, Ев, Eg соответственно изображению на экране ЦВКУ (гнезда XS1, XS2, XS3). Эти и все остальные осциллограммы зарисовать в одном временном масштабе.

Рисунок 1.2 – Сигналы генератора цветных полос
1.3.5 С помощью потенциометров R1-R3 установить требуемые коэффициенты матрицирования сигнала Ey, контролируя амплитуду сигналов на гнездах XS4-XS6.
Е>У> = 0.3E>R> + 0.59E>G> + 0.11E>B>
0.96 1.89 0.35
1.3.6 Зарисовать осциллограмму сигнала Ey в гнезде XSY. Измерить уровни сигнала Ey на основных и дополнительных цветах. Сопоставить результаты измерений с расчетом.

Рисунок 1.3 - Осциллограмма сигнала Ey в гнезде XSY
1.3.7 Зарисовать осциллограммы цветоразностных сигналов Er-y, Eb-y. Измерить уровни цветоразностных сигналов на основных и дополнительных цветах.

Рисунок 1.4 - Осциллограмма цветоразностного сигнала Er-y

Рисунок 1.5 - Осциллограмма цветоразностного сигнала Eb-y
1.3.8 Установить полученные значения коэффициентов матрицирования при помощи потенциометров R4 и R5, контролируя размахи инвертированных цветоразностных сигналов в гнездах XS10 и XS11. Зарисовать осциллограмму этих сигналов.
а/с =0.51; d/с = 0.19

Рисунок 1.6 - Инвертированный цветоразностный сигнал Er-y

Рисунок 1.7 - Инвертированный цветоразностный сигнал Eb-y
1.3.9 Поочередно выключая и включая тумблеры S1-S3., сопоставить осциллограммы сигналов в гнездах XS13-XS15 с изображением исследуемого канала на экране ЦВКУ. Объяснить полученный эффект.

Рисунок 1.8 – Осциллограмма сигнала Er-y

Рисунок 1.9 – Осциллограмма сигнала Eb-y
Вывод
В ходе выполнения контрольной работы получены следующие результаты:
– Сигнал основного цвета Er участвует в формировании цветных полос «два через два» (белый, желтый, пурпурный, красный, черный); cигнал основного цвета Eb участвует в формировании цветных полос «через одну» (белый, голубой, пурпурный, синий, черный), сигнал основного цвета Eg участвует в формировании цветных полос «по четыре» (белый, желтый, голубой, зеленый,черный).
– при подборе коэффициентов матрицирования полученный сигнал на экране кинескопа и осциллографа несколько отличается от эталонного, что обуславливается износом некоторых элементов схемы. Однако в целом результаты совпадают с теоретическими.
В вещательной системе цветного телевидения вместе с сигналом яркости передаются не все три сигнала цвета (красный, синий и зеленый), а цветоразностные сигналы красного и синего цвета. Зеленый цвет восстанавливается на основе цветоразностных сигналов красного и синего.
сигнал яркость цвет осциллограмма
Список литературы
1. Основы радиосвязи и телевидения. Конспект лекций. С. В. Коньшин, А. Д. Сартбаев. – АИЭС. Алматы, 2003. – 80 с.
2. Радиовещание и электроакустикс: Учебное пособие/А. З. Айтмагамбетов, Г. Г. Сабдыкеева. – АИЭС. Алматы, 1998. – 80 с.
3. Телевидение: Учебник для вузов. Под ред. В. Е. Джаконии. – М.: Радио и связь, 2004. – 616 с.
4. Смирнов А. В. Основы цифрового телевидения: Учебное пособие. – М.: Горячая линия – Телеком, 2001. – 224 с.
5. Смирнов А. В. Пескин А. Е. Цифровое телевидение: от теории к практике. – М.: Горячая линия – Телеком, 2005. – 352 с.