Резисторы постоянные проволочные
Федеральное агентство по образованию
Государственное образовательное учреждение
высшего профессионального образования
«ОМСКИЙ ГОСУДАРСТВЕННЫЙ ТЕХНИЧЕСКИЙ УНИВЕРСИТЕТ»
Кафедра: Средства связи и информационная безопасность
Реферат по дисциплине «Химия радиоматериалов»
Тема: Резисторы постоянные проволочные.
Омск 2009 г.
Введение
Наверное, резисторы – это сейчас неотъемлемая и наиболее часто используемая деталь любого современного радиотехнического или электронного устройства. Сегодня невозможно представить себе радиоприемник, телевизор, осциллограф или магнитофон без единого резистора. Однако так было не всегда. Например, в первых детекторных радиоприемниках не было ни одного резистора, что не мешало осуществлять на них уверенный прием нескольких станций. И в первых искровых телеграфных передатчиках тоже не было резисторов.
Резисторы появились тогда, когда в них возникла потребность.
Резистор (англ. resistor, от лат. resisto - сопротивляюсь), - пассивный элемент электрической цепи, в идеале характеризуемый только сопротивлением электрическому току, т.е. для идеального резистора в любой момент времени должен выполняться закон Ома: мгновенное значение напряжения на резисторе пропорционально току через него U(t) = R*I(t). И в соответствии с законом Ома их сопротивление можно записать как: Сопротивление (R) [Ом] = напряжения (U) [В] / ток (I) [А].
Иное название этого термина — «Сопротивление». Но в нашем случае это два разных понятия т.к. в данном реферате я пишу о резисторе как элементе, который обладает свойством – сопротивления.
Сопротивление - это одна из основных физических величин классической электротехники наряду с другими понятиями - напряжением, током, мощностью, электрической емкостью, индуктивностью. Сопротивление, строго говоря, величина абстрактная в том смысле, что определяя по формуле закона Ома его значение, вы вовсе не обязательно имеете в виду какую-либо деталь. Речь может идти просто о величине электрического сопротивления, а чего именно - в большинстве случаев вообще не имеет значения. В то же время в ряде случаев сопротивление - понятие вполне осязаемое: его можно не только вычислить по формуле, но и точно измерить прибором (т. е. определить его значение в установленных условных единицах).
Номиналы резисторов, выпускаемых в настоящее время, лежат в диапазоне от долей Ома, до десятков мегаом. При протекании тока через резистор мощность выделяется в форме тепла. Температура резистора возрастает до тех пор, пока излученное тепло не станет равным теплу, поглощённому окружающей средой. Возрастание температуры определяется максимальной мощностью, которая может быть рассеяна резистором.
Практические резисторы более или менее приближаются к идеалу, но на практике же резисторы в той или иной степени обладают также паразитной ёмкостью, паразитной индуктивностью и нелинейностью вольт-амперной характеристики.
резистор устройство электрический
Классификация
По классификации резисторы подразделяются:
постоянные резисторы — номинал сопротивления не управляется
переменные управляемые резисторы:
потенциометры
реостаты,
подстроечные резисторы
специальные резисторы
нелинейные — ВАХ нелинейна,
терморезисторы — сопротивление зависит от температуры,
фоторезисторы — сопротивление зависит от освещённости
тензорезисторы — сопротивление зависит от деформации резистора,
магниторезисторы — сопротивление зависит от величины магнитного поля.
Наиболее широкое применение, конечно, получили постоянные резисторы, без которых не обходится не одно из современных «серьёзных» электронных устройств.
Отдельно отмечу проволочные постоянные резисторы, выпускаются следующих типов:
ПКВ - на керамическом основании, влагостойкие, многослойные группы I и II (резисторы группы II предназначены для работы а условиях сухих и влажных тропиков) ПТМН - многослойные нихромовые малогабаритные;
ПТМК - многослойные константановые малогабаритные
ПТ - проволочные точные;
ПЭ - эмалированные трубчатые невлагостойкие;
ПЭВ - эмалированные трубчатые влагостойкие;
ПЭВР - эмалированные трубчатые влагостойкие регулируемые;
ОПЭВЕ - повышенной надежности и долговечности;
ПЭВТ - термостойкие влагостойкие (тропические);
Все проволочные резисторы рекомендуется использовать в цепях постоянною и переменного тока с частотой не выше 50 Гц.
Параметры и характеристики
Номинальное сопротивление - электpическое сопpотивление, значение котоpого обозначено на pезистоpе и котоpое является исходным для отсчета отклонений от этого значения. Hоминальное сопpотивление pезистоpа обычно указывают на электpических пpинципиальных схемах pядом с позиционным обозначением pезистоpа. Фактическое сопpотивление каждого pезистоpа может отличаться и отличается от номинального, но не более чем на величину допустимого отклонения. Пpомышленностью выпускаются pезистоpы с номинальным сопpотивлением от долей Ома до нескольких МегаОм.
Допустимое отклонение - хаpактеpизует степень pазбpоса, отклонения от номинального значения для pезистоpов данного класса точности. Допустимое отклонение указывается в пpоцентах от номинала. Допустимые отклонения номиналов pезистоpов общего пpименения достаточно велики 20, 10, 5 пpоцентов. Для высоко пpецизионных pезистоpов допуск на отклонение может достигать значений в 0,1%.
Номинальная мощность рассеивания - это пpедельное значение мощности в Ваттах (Вт), котоpую может pассеивать pезистоp в виде излучаемой теплоты и пpи котоpой pезистоp может pаботать длительное вpемя, сохpаняя паpаметpы в заданных пpеделах. Hоминальную мощность pессеивания pезистоpов выбиpают из номинального pяда 0,125; 0,25; 0,5; 1; 2; 5 и т.д. Вт.
Пpи пpотекании электpического тока чеpез pезистоp выделяется тепло и pезистоp нагpевается. Величину мощности, котоpую должен pассеять pезистоp, pасчитывают по фоpмуле
P = I2R
Обычно ноpмиpуется номинальное значение pассеиваемой мощности.
Температурный коэффициент сопротивления (ТКС) - хаpактеpизует изменение сопpотивления pезистоpа относительно номинального значения пpи изменении темпеpатуpы на один гpадус. Резистоpы могут иметь положительный ТКС, когда сопpотивление pезистоpа увеличивается пpи возpастании темпеpатуpы, и отpицательный ТКС, когда сопpотивление pезистоpа пpи возpастании темпеpатуpы уменьшается. ТКС хаpактеpизует обpатимые изменения сопpотивления pезистоpа. Чем меньше ТКС, тем лучшей темпеpатуpной стабильностью обладает pезистоp.
Предельное рабочее напряжение - максимальное напpяжение для данного типа pезистоpов,зависящее от его констpукции и pазмеpов. Пpи напpяжении не пpевышающем допустимое pезистоp может эксплуатиpоваться длительное вpемя.
Уровень собственных шумов pезистоpа хаpактеpизует шумы, возникающие в пpоводящем слое. Этот паpаметp игpает существенную pоль в электpоннных усилителях с большим коэффициентом усиления.
Даже идеальный резистор
при температуре выше абсолютного нуля
является источником шума. Это следует
из фундаментальной флуктуационно-диссипационной
теоремы (в применении к электрическим
цепям это утверждение известно также
как теорема Найквиста). При частоте,
существенно меньшей чем
(где
— постоянная Больцмана,
— абсолютная температура резистора в
градусах Кельвина,
— постоянная Планка) спектр теплового
шума равномерный («белый шум»), спектральная
плотность шума (преобразование Фурье
от коррелятора напряжений шума)
,
где
.
Видно, что чем больше сопротивление,
тем больше эффективное напряжение шума,
также, эффективное напряжение шума
пропорционально корню из температуры.
Даже при абсолютном нуле температур у резисторов, составленных из квантовых точечных контактов будет иметься шум, обусловленный Ферми-статистикой. Однако такой шум устраним путём последовательного и параллельного включения нескольких контактов.
Уровень шума реальных резисторов выше. В шуме реальных резисторов также всегда присутствует компонента, интенсивность которой пропорциональна обратной частоте, то есть 1/f шум или «розовый шум». Этот шум возникает из-за множества причин, одна из главных перезарядка ионов примесей, на которых локализованы электроны.
Вольт – амперная характеристика резистора
Поведение pезистоpа пpи включении его в электpическую цепь хаpактеpизуется его электpическими паpаметpами и хаpактеpистиками. Фуннкциональная зависимость между величиной пpиложенного напpяжения и значением электpического тока, пpотекающего чеpез pезистоp, в соответствии с законом Ома, называется вольт - ампеpной хаpактеpистикой. (Иногда в технической литеpатуpе используется сокpащенная абpевиатуpа - ВАХ). Гpафик этой зависмости, как показано на pис.1 в декаpтовой системе кооpдинат "напpяжение - U, ток - I" имеет вид пpямой линии, пpоходящей чеpез начало кооpдинат.

Рис. 1
Если к pезистоpу приложено положительное напряжение, ток пpотекает в положительном напpавлении. Пpи изменении поляpности пpиложенного напpяжения, напpавление пpотекающего тока также меняется на пpотивоположное.
Р

Электрические соединения резисторов
Последовательное соединение pезистоpов - это такое соединение, пpи котоpом конец пеpвого pезистоpа соединяется с началом втоpого, конец втоpого - с началом тpетьего и так далее. При последовательном соединении резисторов их сопротивления складываются.

R общ. = R1 + R2 + R3 + ... + Rn.
Параллельное соединение pезистоpов - это такое соединение, пpи котоpом начала всех pезистоpов соединяются в одной точке, называемой узлом, а концы всех pезистоpов соединяются в дpугой точке, в дpугом узле. При параллельном соединении резисторов складываются величины, обратные пропорциональные сопротивлению.


Зависимость сопротивления от температуры
Сопротивление металлических
и проволочных резисторов немного зависит
от температуры. При этом зависимость
от температуры практически линейная
,
так как коэффициенты 2 и 4 порядка
достаточно малы и при обычных измерениях
ими можно пренебречь. Коэффициент
называют температурным коэффициентом
сопротивления. Такая зависимость
сопротивления от температуры позволяет
использовать резисторы в качестве
термометров. Сопротивление полупроводниковых
резисторов может зависеть от температуры
сильнее, возможно, даже экспоненциально
по закону Аррениуса, однако в практическом
диапазоне температур и эту экспоненциальную
зависимость можно заменить линейной.
Система условных обозначений
В России условные графические обозначения резисторов на схемах должны соответствовать ГОСТ 2.728-74. В соответствии с ним, постоянные резисторы обозначаются следующими образом:

а) обозначение, принятое в России и в Европе
б) принятое в США

Сокращенное условное обозначение непроволочных резисторов (на 1968г.) состоит из трех букв: первая указывает вид резистивного слоя (К – композиционный, У – углеродистые, М – металлопленочные), вторая – вид защиты (Л – лакированные, Г – герметичные, В – вакуумные), третья характеризует особые свойства или назначение резисторов (Т – теплостойкие, П – прецизионные, В – высоковольтные, М – мегаомные и т.д.).
Вторая система сокращенных условных обозначений состоит из букв и цифр: С – резисторы постоянные, СП – резисторы переменные. Число, стоящее после букв, обозначает разновидность резисторов в зависимости от материала токопроводящего элемента: 1 – непроволочные тонкослойные углеродистые и бороуглеродистые; 2 – непроволочные тонкослойные металлодиэлектрические металлизированные; 3 – непроволочные композиционные пленочные; 4 – непроволочные композиционные объемные; 5 – проволочные; 6 – непроволочные тонкослойные металлизированные. Цифра, стоящая через дефис обозначает регистрационный номер. Например, С4-2: резистор объемный изолированный для навесного монтажа.
В соответствии с ГОСТ 4.074.009-78 введена новая система сокращенных условных обозначений: первый элемент – буква или сочетание букв, обозначающих подкласс резисторов (Р – резисторы постоянные, РП – резисторы переменные, НР – наборы резисторов, ПТ – потенциометры, ТР – терморезисторы с отрицательным ТКС, МГ – магниторезисторы, ВР – варисторы постоянные, ВРП – авристоры переменные, ГЗР – газорезисторы); второй элемент – цифра, обозначающая вид материала резистора (полупроводниковые материалы не обозначаются): 1 – непроволочные; 2 – проволочные; третий элемент – порядковый номер данного резистора. Например, Р1-4 – резистор металлодиэлектрический неизолированный для навесного монтажа.
Полное условное обозначение резистора содержит данные, необходимые для заказа резисторов конкретного типа к записи в конструкторской документации. Данные указываются в следующей последовательности. Для постоянных резисторов: номинальная мощность рассеивания; номинальное сопротивление с буквенным обозначением единицы измерения (Ом, кОм. Мом, Гом, Том); допуск на отклонение величины сопротивления (в %); группа по уровню шумов (для непроволочных резисторов); группа по ТКС.
Кодированное обозначение номинальных сопpотивлений состоит или из тpех знаков, включающих две цифpы и букву, или из четыpех знаков, включающих тpи цифpы и букву. Буква кода обозначает множитель и опpеделяет положение условной запятой десятичного знака
R - множитель 11 ( сопpотивление в Омах ),
K - множитель 103 ( сопpотивление в кОмах ),
M - множитель 106 ( сопpотивление в МОмах ).
ДОПУСК на отклонение от номинала пpи полном обозначении состоит из цифp, указывающих пpоцент отклонения от номинала в стоpону увеличения ( знак плюс ) и в стоpону уменьшения ( знак минус ). Пpи кодиpованной маpкиpовке допуск на отклонение обозначается буквой
|
Допуск на отклонение в % |
0,1 |
0,25 |
0,5 |
1 |
2 |
5 |
20 |
30 |
|
Кодированное обозначение допуска |
B |
C |
D |
F |
G |
J |
M |
N |
Для переменных резисторов: номинальная мощность рассеивания, номинальное сопротивление; допуск; функциональная характеристика (для непроволочных резисторов); обозначения конца вала и длины выступающей части вала (размер от монтажной плоскости до конца вала) (ВС-1 - сплошной гладкий, ВС-2 – сплошной со шлицем, ВС-3 –сплошной с лыской, ВС-4 – сплошной с двумя лысками, ВП-1 – полый гладкий, ВП-2 – 2 полый с лыской).
Маркировка на резисторах буквенно-цифровая. Она содержит: вид, номинальную мощность номинальное сопротивление, допуск и дату изготовления. В соответствии с ГОСТ 17598-72 и публикацией МЭК на постоянных резисторах допускается маркировка цветным кодом, которая наносится знаками в виде кругов или полос.
Для резисторов с точностью 20 % используют маркировку с тремя полосками, для резисторов с точностью 10 % и 5 % маркировку с четырьмя полосками, для более точных резисторов с пятью или шестью полосками. Первые две полоски всегда означают первые два знака номинала. Если полосок 3 или 4, третья полоска означает десятичный множитель, то есть степень десятки, которая умножается на двузначное число, указанное первыми двумя полосками. Если полосок 4, последняя указывает точность резистора. Если полосок 5, третья означает третий знак сопротивления, четвёртая — десятичный множитель, пятая — точность. Шестая полоска, если она есть, указывает температурный коэффициент сопротивления (ТКС). Если эта полоска в 1,5 раза шире остальных, то она указывает надёжность резистора (% отказов на 1000 часов работы)[3]
Следует отметить, что иногда встречаются резисторы с 5-ю полосами, но стандартной (5 или 10 %) точностью. В этом случае первые две полосы задают первые знаки номинала, третья — множитель, четвёртая — точность, а пятая — температурный коэффициент.

Поскольку резистор симметричная деталь, может возникнуть вопрос: «Начиная с какой стороны читать полоски?» Для четырёхполосной маркировки обычных резисторов с точностью 5 и 10 % вопрос решается просто: золотая или серебряная полоска всегда стоит в конце. Для трёхполосочного кода первая полоска стоит ближе к краю резистора, чем последняя. Для других вариантов важно, чтобы получалось значение сопротивления из номинального ряда, если не получается, нужно читать наоборот. (Для резисторов МЛТ-0,125 производства СССР с 4-мя полосками, первой является полоска, нанесённая ближе к краю; обычно она находится на металлическом стаканчике вывода, а остальные три — на более узком керамическом теле резистора).
Особый случай использования цветовой маркировки резисторов — перемычки нулевого сопротивления. Они обозначаются одной чёрной (0) полоской по центру. (Использование таких резисторо-подобных перемычек вместо дешёвых кусков проволоки объясняется желанием производителей сократить расходы на перенастройку сборочных автоматов).
Маркировка SMD-резисторов
«Резисторы» нулевого сопротивления (перемычки на плате) кодируются одной цифрой «0». Бо́льшее количество знаков обозначает:
Кодирование 3 или 4 цифрами
ABC обозначает AB•10C Ом
например 102 — это 10•10² Ом = 1 кОм
ABCD обозначает ABC•10D Ом, точность 1 % (ряд E96)
например 1002 — это 100•10² Ом = 10 кОм
Конструкции и материалы
Самый простой и самый дешёвый резистор – угольный. Он состоит из небольшого угольного стержня с заданным сопротивлением.
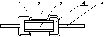
Констpуктивное исполнение pезистоpов pассмотpим на пpимеpе шиpоко pаспpостpаненных в pадиоэлектpонике pезистоpов типа МЛТ. Констpуктивно постоянный непpоволочный МЛТ (Металлизиpованный Лакиpованный Теплостойкий) pезистоp содеpжит цилиндpическую кеpамическую основу в виде тpубки или стеpжня, на котоpую нанесен тонкий металлизиpованный слой пленки из специального pезистивного матеpиала. Толщина пленки составляет доли микpометpа пpи всех номиналах. Различие в величинах номиналов сопpотивлений достигается изменением состава pезистивного слоя и числа витков спиpали, наpезанной на цилиндpической повеpхности кеpамической основы. Детали констpукции pезистоpа показаны на pис.

Констpукция pезистоpа МЛТ
1 - наружное влагостойкое эмалевое покрытие;
2 - резистивная плёнка, токопроводящий слой;
3 - керамическая основа резистора;
4 - металический колпачок;
5 - осевые металлические выводы.
Hа противоположных концах кеpамической основы pасполагаются металлические колпачки с осевыми пpоволочными выводами. С помощью этих выводов pезистоp подпаивается в электpическую схему. С наpужной стоpоны для защиты токоведущего pезистивного слоя и всего pезистоpа от воздействия влаги и от механических повpеждений наносится слой влагостойкой оpганической эмали.Hаиболее часто для pезистоpов типа МЛТ пpименяется эмалевое покpытие кpасного цвета, на повеpхность котоpого наносится маpкиpовка pезистоpа.
Более высокая температурная устойчивость достигается при альтернативной конструкции угольных резисторов. На диелектрическую подложку, чаще всего стеклянную, наносится тонкая угольная плёнка. Величина сопротивления задаётся при помощи спиральных вырезов, формируемых вдоль тела резистора (такие резисторы называют тонкоплёночными). Надёжный контроль над производством позволяет использовать их в устройствах, требующих большой точности. Похожие методы создания резисторов применяются и для других резистивных материалов, таких как тугоплавкие металлы и оксиды металлов.
Для устройств, где требуется высокий показатель рассеиваемой мощности, используют проволочные резисторы. Они состоят из тонкой проволоки необходимой длины, намотанной на основании, а затем покрытой защитной стекловидной эмалью. При такой конструкции резистору неизбежно будет свойственна высокая индуктивность. Она может быть уменьшена при использовании неиндуктивных бифилярных (т.е. скрученных в виде двойной спирали) намоток, но полностью устранить её не удаётся. При установке на печатные платы резисторов большой мощности необходимо принимать меры предосторожности: обдувать потоком воздуха для охлаждения и предохранять соседние компоненты схемы от воздействия достаточно высоких температур.
Проволочные постоянные резисторы для работы в электрических цепях постоянного и переменного тока, для навесного монтажа.

|
Номин. мошн., Вт. |
Диапазон номин. сопр., Ом |
D, мм |
L, мм |
H, мм |
d, мм |
|
ПЭВ |
|||||
|
3 |
3-510 |
14 |
26 |
28 |
5,5 |
|
8 |
1-3,3*103 |
14 |
35 |
28 |
5,5 |
|
10 |
1,8-10*103 |
14 |
41 |
28 |
5,5 |
|
16 |
3,9-15*103 |
17 |
45 |
31 |
8 |
|
20 |
4,7-20*103 |
17 |
50 |
31 |
8 |
|
Номин. мошн., Вт. |
Диапазон номин. сопр., Ом |
D, мм |
L, мм |
H, мм |
d, мм |
|
С5-35 |
|||||
|
3 |
3-510 |
14 |
26 |
28 |
6 |
|
8 |
1-3,3*103 |
14 |
35 |
28 |
6 |
|
10 |
1,8-10*103 |
14 |
41 |
28 |
6 |
|
15,16 |
3,9-15*103 |
17 |
45 |
31 |
8,5 |
|
25 |
10-24*103 |
21 |
50 |
35 |
13 |
|
50 |
18-51*103 |
29 |
90 |
43 |
21 |
|
75,80 |
47-56*103 |
29 |
140 |
43 |
21 |
|
100 |
47-56*103 |
29 |
170 |
43 |
21 |
Проволочные постоянные резисторы общего назначения предназначены для работы в цепях постоянного, переменного, пульсирующего и импульсного тока с аксиальными выводами, для навесного монтажа, изолированные, пожаробезопасные.
С5-16МВ, С5-16В

|
Тип резистора |
Номин. мошн., Вт. |
Диапазон номин. сопр., Ом |
D, мм |
L, мм |
|
С5-16МВ |
1 |
0,1-2 |
9 |
19 |
|
С5-16МВ |
2 |
0,1-2 |
11 |
24 |
|
С5-16МВ |
5 |
0,1-5,1 |
11 |
32 |
|
С5-16В |
8 |
0,39-10 |
12 |
41 |
|
С5-16В |
10 |
0,51-10 |
12 |
51 |
Зарубежные аналоги
В недалеком прошлом практически все российские (и советские) предприятия радиопромышленности, производившие аппаратуру, а также все предприятия торговли, осуществляющие розничную торговлю как аппаратурой, так и отдельными радиокомпонентами и деталями, пользовались продукцией, производимой на отечественных предприятиях. Незначительную долю составляли изделия, производимые странами-участниками СЭВ и полностью соответствовавшие отечественным ГОСТам, а потому и полностью взаимозаменяемые.
Картина коренным образом изменилась в последние годы, когда очень многие отечественные заводы-изготовители радиокомпонентов и деталей либо оказались в странах так называемого ближнего зарубежья, либо перестали существовать по экономическим причинам.
Сегодня на российском рынке радиотоваров и радиокомпонентов отечественные изделия составляют лишь незначительную часть, вытесненные более современными, надежными и относительно доступными товарами зарубежного производства.
Абсолютное большинство импортных изделий никак не согласуется с требованиями и нормами отечественных стандартов, что вызывает серьезные трудности у конструкторов радиоаппаратуры, работников службы ремонта и сервиса, а также и у радиолюбителей.
Понятно, что охватить весь спектр или даже значительную часть резисторов, которые сегодня можно найти в продаже, практически невозможно. Поэтому приведу лишь таблицы и рисунки с данными некоторых проволочных импортных резисторов.
Огнестойки проволочные резисторы серии KNP
Резисторы постоянные проволочные. Заменяют собой С5-5, С5-16, С5-16МВ
Характеристики:
Высокая рассеиваемая мощность, большая перегрузочная способность
Диапазон рабочих температур: -30…+2000С
ТКС в рабочем диапазоне температур: ± 300*10-6/0С
Точность ±5%,±1%
Наличие малогабаритных вариантов (KNP S)
Наличие вариантов с подавленной индуктивностью (N KNP)
Конструкция:
Основа - особо чистая керамика Al>2>O>3 >
Резистивный элемент - проводник с высоким удельным сопротивлением
Выводы - луженая медь
Огнеупорное покрытие

Резисторы серии KNP
|
Рассеиваемая мощность, Вт |
D, мм |
L, мм |
H, мм |
Диапазон значений сопротивлений, Ом |
|
0,5 |
3,2 |
9,0 |
28 |
0,1 – 510 |
|
1 |
4 |
11 |
38 |
0,1 – 820 |
|
2 |
5 |
15 |
38 |
0,1 – 2 кОм |
|
3 |
6 |
17 |
38 |
0,1 – 5 кОм |
|
4 |
7,5 |
24 |
38 |
0,1 – 10 кОм |
|
5 |
7,5 |
24 |
38 |
0,1 – 15 кОм |
|
6 |
7,5 |
24 |
38 |
0,1 – 15 кОм |
|
8 |
8,5 |
32 |
38 |
0,1 – 20 кОм |
|
10 |
8,5 |
32 |
38 |
0,1 – 30 кОм |
|
12 |
8,5 |
37 |
38 |
0,1 – 33 кОм |
|
15 |
8,5 |
42 |
38 |
0,1 – 36 кОм |
|
20 |
8,5 |
52 |
38 |
0,1 – 47 кОм |
Мощные проволочные резисторы серии SQP
Мощные проволочные резисторы. Заменяют собой ПЭВ, С5-35, С5-37
Характеристики:
Высокая рассеиваемая мощность, высочайшая перегрузочная способность
Диапазон рабочих температур: -55…+2500С
ТКС в рабочем диапазоне температур: ± 300*10-6/0С
Точность: ±5%, ±1%
Конструкция:
Основа - особо чистая керамика Al>2>O>3 >
Резистивный элемент - проводник с высоким удельным сопротивлением или металлооксидный стержень
Выводы - луженая медь
Литой цементный корпус

Проволочные резисторы серии SQP
|
Рассеиваемая мощность, Вт |
L, мм |
W, мм |
H, мм |
Диапазон значений сопротивлений, Ом |
|
1 |
18 |
7 |
6 |
0,1 - 82 |
|
2 |
18 |
7 |
7 |
|
|
3 |
22 |
8 |
8 |
0,1 – 33 кОм |
|
5 |
22 |
10 |
9 |
0,1 – 50 кОм |
|
7 |
35 |
10 |
9 |
|
|
10 |
48 |
10 |
9 |
|
|
15 |
48 |
12,5 |
12 |
0,5 – 150 кОм |
|
20 |
60 |
14 |
13,5 |
|
|
25 |
60 |
14 |
13,5 |
Заключение
Из всего предоставленного материала, который далеко не полный т.к. многое выходит за рамки данного реферата, но в полнее достаточный, для того чтоб уяснить в общем что:
Резистор - это конкретная, осязаемая деталь, которая всегда, во всех без исключения случаях обладает некоторым сопротивлением - обязательно активным и положительным. Резистор помимо сопротивления может характеризоваться рядом других физических характеристик: предельным значением рассеиваемой мощности, допустимым приложенным напряжением и т.п., тогда как физическое понятие сопротивление характеризуется только его значением в Омах (или других производных единицах).
И это несомненно относится и к одному из типов - постоянному проволочному резистору, которые играют большую роль в электронных устройствах.
В приложение А, вы можете также, для информации, посмотреть не большой опыт поставленный радиолюбителями, на проволочных резисторах отечественного и импортного производства.
Приложение А
Сравнение мощных резисторов
Интересно стало сравнить импортные мощные проволочные резисторы с отечественными. Импортных становится все больше и больше, а наших наоборот, все меньше и меньше. Хотя они, как и автомат Калашникова, должны быть самыми лучшими в мире!
Давайте сравним и проверим, какие лучше.
Итак, я взял для сравнения два резистора по 10 Ом 5 Вт. Вот они:

на фото присутствует еще один резистор по той причине, что десятитомный у меня с откусанным выводом. Для работы я конечно припаяю проволочку, но для красоты я сфотографировал другой. А тот самый, рабочий, слева. Тот, что справа - просто показать внешний вид.
Итак сравниваем.
1. Сопротивление. У отечественного 10,1 Ома, у импортного 9,9 Ом. Годится, оба отлично.
2. Габариты. Импортный заметно меньше, значит и греться он должен гораздо больше. Почему? Потому что в резисторе электрическая энергия превращается в тепло. Резистор нагревается. А охлаждается окружающим воздухом, поэтому чем больше размеры (точнее площадь поверхности) объекта, тем он охлаждается лучше, значит температура нагрева меньше.
Сравниваем. Температура перегрева (т.е. насколько резистор горячее, чем окружающая среда) при подведении номинальной мощности 5 Вт: отечественный 62 градуса, импортный 98 градусов. Наш - лучше!
При температуре окружающей среды 28 градусов (внутри аппаратуры она заметно больше) температура корпуса отечественного резистора 90 градусов, импортного - 126 градусов. Поэтому если рядом с резистором расположен какой-нибудь элемент, он может нагреться от резистора, перегреться и выйти из строя. Особенно рядом с импортным - 126 градусов для полупроводников предел! А ведь может быть и больше!
3. Конструкция
Отечественный С5-5 5 Вт
Разрезаем корпус:

По бокам аж две шайбы - фторопластовая (низкое трение и высокая теплостойкость, наверное для удобства изготовления алюминиевого корпуса) и керамическая. Сам резистор обернут изоляционным материалом. Изолятор горюч, но целый резистор герметически закрыт, все мои попытки поджечь сам резистор не удались.
Ломаем дальше.

Проволока намотана на керамический цилиндр и приклеена (и изолирована) слоем какой-то краски. Явно термостойкой - нагрев она хорошо выдерживает. Обратите внимание на крепление концов проволоки - надежное.

Выводы резистора вварены в чашечки. Все достаточно капитально.
Импортный
Конструкция проста: в керамический корпус вставлен сам резистор и заделан каким-то "цементом".

Этот "цемент" (на фото он обозначен красной точкой) довольно рыхлый, и его легко выковырять. Выковыриваем:

Сам керамический цилиндр, на который намотана проволока, гораздо меньше. Заделка концов совсем другая - они просто обжаты чашечками. Проволока на цилиндре ничем не закреплена, но это и не нужно - проволока сидит прочно, да еще и "цемент" ее держит.
Вот сами по себе "нагревательные элементы" обоих резисторов:

Видно, что отечественный резистор гораздо больше и как-то "солиднее". Если же говорить о надежности - мне наш нравится больше, но объективных фактов для доказательства этого у меня пока нет. Интересно, что судя по более сложной конструкции и применяемым материалам, наш резистор должен быть в 3...5 раз дороже, но на рынке я его купил за 5 рублей, а импортный за 3 рубля. Похоже на импортные резисторы большая наценка (или они проходят через много рук).
В общем, считаем что в этой номинации ничья.
4. Индуктивность. Судя по конструкции, можно предположить, что у отечественного резистора будет больше индуктивность, чем у импортного. На самом деле в нем примерно 25 витков. Индуктивность такой катушки мизерна. Вдобавок, расположенный снаружи алюминиевый корпус должен заметно снижать индуктивность (и корпус еще и экранирует резистор). Измерить как следует индуктивность резисторов не удалось - она такая маленькая, что ее трудно измерить моими приборами. Импортный: заметно меньше 1 мкГн, наш - 0,5...1 мкГн. Много это, или мало? Скажем так, на частоте 1МГц полное сопротивление отечественного резистора станет равным 12 Ом, т.е. увеличится на 20% (совсем немного) из-за влияния индуктивного сопротивления. Так что до частоты 1МГц можно работать спокойно.
5. Краш-тест. Посмотрим, как эти резисторы выдерживают перегрузки.
Опыт №1. На отечественный резистор (их у меня несколько штук) подаем мощность ~45 Вт (это 9-ти кратная перегрузка!). Резистор горячий, аж жуть. Некоторое время шел небольшой дым, потом закончился. 5 минут резистор проработал нормально. На импортный (другой с другим сопротивлением - тот уже разломан) подали мощность 25 Вт. Дым шел все 5 минут, что я проводил тест. И вонь была заметная. Резистор потемнел, но остался в порядке
Результаты: импорт - удовлетворительно, наш - хорошо.
Опыт №2. Подключаем "нагреватели" от разобранных резисторов к источнику 21,5 вольт. Это создает на них мощность ~45 Вт.
Отечественный:

Раскалился до красна, повонял немного, но работает. Когда остыл - краска в центре осыпалась, а по краям - хоть бы что!
Импортный:

Намного ярче раскалился - естественно, ведь он меньше и охлаждается намного хуже. И дыма намного больше. Но недолго мучалась старушка... Вот что с ним стало через полминуты такой работы:

Сгорел напрочь!
Результаты: отечественный - хорошо, импортный - неудовлетворительно.
Выводы
В который раз убедились в том, что наша военная техника превосходит зарубежную! Превосходит как по габаритам, так и по живучести (по этим двум параметрам превосходство всей нашей техники неоспоримо!). Импортные можно применять в случаях, когда не происходит перегрузки. Даже наоборот, хорошо, если резистор работает с недогрузкой. Пример применения - в эмиттерных цепях выходных транзисторов усилителя мощности. Там из-за большого пик-фактора музыки средняя мощность на резисторе обычно заметно меньше номинальной. При этом не следует размещать около него элементы, чувствительные к теплу. И на плату его плотно устанавливать не следует - небольшой зазор между платой и резистором не повредит. Отечественные намного устойчивее к перегрузкам, поэтому они хороши там, где эти перегрузки могут случиться. Идеальное место - ограничитель пускового тока в устройстве "мягкого пуска" (soft start) усилителей. Выдержать 9-ти кратную перегрузку в течение 5 минут - это что-то! Опять же, плотно к плате прижимать резистор не следует - и охлаждаться будет лучше, и плату не так сильно греть. Но и в других цепях они будут работать лучше, чем импортные.
Библиографический список
Бриндли К., Карр Дж. Карманный справочник инженера электронной техники /Пер. с англ. – М.: Издательский дом «Додэка-XXI», 2002. – 480 с.: ил.
Резистоpы. Спpавочник. Под pедакцией И.И. Четвеpткова и В.М. Теpехова., 2 изд., Москва., "Радио и связь", 1991
Гендин Г.С «Все о резисторах» 2002 – 192 с.
«ПРОМЭЛЕКТРОНИКА» каталог 2005 – 368с.
Internet: «Википедия» свободная энциклопедия
http://ru.wikipedia.org
Internet: Сравнение мощных резисторов http://www.electroclub.info/other/resistors.htm