Розрахунок керованого випрямляча та системи імпульсно-фазового керування
ЗАВДАННЯ
на проектування з дисципліни
«Електроніка та мікросхемотехніка»
Кафедра автоматизації виробничих процесів
Варіант № 34
Тема: “Розрахунок керованого випрямляча та системи імпульсно-фазового керування”
Вихідні дані:
Для випрямляча:
напруга живлення (
)
– 380;
напруга на навантаженні
(
)
– 80;
струм на навантаженні
(
)
– 30;
глибина регулювання
(
)
– 10.
Для СІФУ:
напруга живлення (
)
– 380;
напруга управління
(
)
– 0…8.
Для блока живлення:
напруга живлення (
)
– 380;
вихідна напруга (
)
– 12;
струм на навантаженні
(
)
– 0,3;
коефіцієнт стабілізації
(
)
– 100.
ПИТАННЯ ДЛЯ ПРОРОБКИ
Розрахунок силової частини керованого випрямляча.
Проектування системи імпульсно-фазового керування.
Розрахунок джерела живлення.
Моделювання силової частини керованого випрямляча.
Завдання видане15.10.2004р.
Строк захисту13.12.2004р.
Завдання прийняте до виконання __________________(Наталюткін М.І.)
Керівник __________________(Сус С.П.)
Реферат
Курсова робота присвячена розрахунку елементів керованого випрямляча, системи імпульсно-фазового керування для керованого випрямляча та блока живлення СІФУ.
Курсова робота містить 30 сторінок, 12 ілюстрацій, 1 додаток та 1 креслення (схема керованого випрямляча в зборі).
Зміст
Вступ
1 РОЗРАХУНОК СИЛОВОЇ ЧАСТИНИ КЕРОВАНОГО ВИПРЯМЛЯЧА
1.1 Вибір схеми та розрахунок основних параметрів випрямляча в некерованому режимі
1.2 Розрахунок основних параметрів випрямляча в керованому режимі
1.3 Розрахунок регулювальної характеристики керованого випрямляча
1.4 Розрахунок регулювальної характеристики керованого випрямляча
1.5 Вибір захисту тиристорів від перевантажень за струмом та напругою
2 ПРОЕКТУВАННЯ СИСТЕМИ ІМПУЛЬСНО-ФАЗОВОГО КЕРУВАННЯ
2.1 Розрахунок параметрів пускових імпульсів
2.2 Розрахунок параметрів елементів кола керування тиристорами
2.3 Розрахунок параметрів елементів блокінг-генератора
2.4 Розрахунок елементів генератора пилкоподібної напруги
2.5 Розрахунок вхідного кола генератора пилкоподібної напруги
2.6 Розрахунок елементів блока синхронізації
2.7 Побудова регулювальних характеристик випрямляча
3 РОЗРАХУНОК ДЖЕРЕЛА ЖИВЛЕННЯ
3.1 Вибір схеми та розрахунок основних параметрів джерела живлення
3.2 Розрахунок однофазного мостового випрямляча
Висновки
Перелік посилань
Додатки
Додаток А
Вступ
Мета даної курсової роботи – спроектувати керований випрямляч і систему імпульсно-фазового керування для нього.
Випрямляч – пристрій, що перетворює змінний струм у постійний. Він складається з трансформатора, що перетворює напругу ланцюга живлення у необхідну за величиною; вентильного блоку, що перетворює змінну напругу в пульсуючу та фільтра, що згладжує пульсації випрямленої напруги до необхідної для нормальної роботи споживача величини. У даній курсовій роботі розглядається трьохфазний керований випрямляч, побудований з використанням керованих вентилів (тиристорів). В такому випрямлячі використовується трансформатор із двома обмотками. Фільтри, що згладжують, виконані на основі дроселів.
Для керування
тиристорами, що використовуються в
даному випрямлячі, використовується
система імпульсно-фазового керування.
Такий спосіб керування потужними
тиристорами в даний час вважається
найбільш прийнятним. Суть способу
полягає у включенні замкнених тиристорів
майже позитивними прямокутними
імпульсами, що подаються на керуючий
електрод тиристора зсунутими за фазою
на кут
відносно моменту природного включення
некерованих вентилів. Таким чином,
основним завданням системи імпульсно-фазового
керування є перетворення вхідної
регулюючої напруги у відповідний кут
регулювання
(тобто кут відкриття тиристорів). Тому
що в даному випрямлячі використовується
6 тиристорів, то для керування ними
використовується багатоканальна система
імпульсно-фазового керування. При цьому
схеми всіх каналів однакові і відрізняються
тільки фазами синхронізуючих напруг,
що зсунуті за фазою одна відносно одної
на 120 градусів, як і у відповідних анодних
ланцюгах тиристорів.
Для живлення схеми системи імпульсно-фазового керування використовується релейний стабілізатор напруги.
1 РОЗРАХУНОК СИЛОВОЇ ЧАСТИНИ КЕРОВАНОГО ВИПРЯМЛЯЧА
1.1 Вибір схеми та розрахунок основних параметрів випрямляча в некерованому режимі
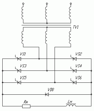
Згідно з завданням приймаємо трьохфазну мостову схему випрямляча на шести тиристорах з нульовим діодом.

Рисунок 1.1 – Схема трьохфазного
мостового випрямляча
на шести тиристорах
з нульовим діодом
Спочатку проводимо
розрахунок у некерованому режимі, тобто
при
У зв’язку з тим, що напруга в мережі
може змінюватись у межах
визначаємо величини випрямлених напруг
на навантаженні:

де
– випрямлена напруга на навантаженні
при нормальній напрузі в мережі;
– випрямлена напруга
на навантаженні при підвищеній напрузі
в мережі.
Визначаємо максимальне
значення зворотної напруги на тиристорах:
середнє значення струму тиристорів
З джерела [1] за обчисленими значеннями обираємо тиристори типу T132-16-13.
Визначаємо активний опір фази трансформатора:

де
– коефіцієнт, що залежить від схеми
випрямлення;
– магнітна індукція
в магнітопроводі;
– частота струму
живлячої мережі;
– число стрижнів
магнітопроводу для трансформаторів.
Визначаємо індуктивність розсіювання обмоток трансформатора:

де
– коефіцієнт, що залежить від схеми
випрямляча.
Визначаємо напругу холостого ходу з урахуванням опору фази трансформатора
:

де
– спадання напруги на вентилях та
обмотках трансформатора,

– спадання напруги
на вентилях,

– спадання напруги
на обмотках трансформатора.

де
– число пульсацій кривої випрямленої
напруги за період мережі.
Визначаємо параметри трансформатора з джерела [2]:
діюча напруга на вторинній обмотці трансформатора

діючий струм вторинної обмотки трансформатора

коефіцієнт трансформації

діючий струм первинної обмотки трансформатора

діюче значення струму діода

типова потужність трансформатора

Визначаємо кут комутації:

де
– індуктивний опір обмоток трансформатора.
Внутрішній опір випрямляча

Коефіцієнт корисної дії

де
– втрати в трансформаторі,

– коефіцієнт корисної
дії трансформатора,

– втрати потужності
на випрямних діодах,

– число тиристорів у
схемі.
Визначаємо струм нульового вентиля:

З джерела [1] за обчисленим значенням обираємо діод типу ВЛ100.
Зовнішня характеристика
випрямляча при
будується за двома точками: Холостий
хід і Номінальне
навантаження, має вигляд
прямої (рис. 1.2).
Таблиця 1.1
-

0
30

107,3015
80

Рисунок 1.2 – Зовнішня характеристика випрямляча
1.2 Розрахунок основних параметрів випрямляча в керованому режимі
Визначаємо максимальний і мінімальний кути регулювання:

Мінімальна випрямлена напруга на навантаженні


Струм на навантаженні

Визначаємо максимальний і мінімальний кути провідності тиристорів:

Струми через тиристори та в нульовому діоді вже розраховано вище.
1.3 Вибір елементів керованого випрямляча
На підставі попередніх розрахунків знаходимо:
для тиристорів –

для нульового діода
–

Тиристори та нульовий
діод обираємо із запасом за зворотною
напругою

Приймаємо тиристори
та діод із припустимою зворотною напругою

Припустимі струми
через тиристори та вентиль залежать
від кута провідності
та швидкості охолоджуючого повітря й
не перевищують
Тоді необхідно обрати:
тиристори на струм

нульовий діод на струм

За обчисленими значеннями з джерела [1] обираємо для випрямляча шість тиристорів VS1-VS6 типу 2Т132-25-20, нульовий діод VD0 типу ВЛ200. Для охолодження тиристорів та діоду застосовуємо типові охолоджувачі М-6А.
1.4 Розрахунок регулювальної характеристики керованого випрямляча
Загальна розрахункова формула для всього сімейства навантажувальних характеристик:
при

при


Де
– напруга холостого ходу;
– спадання напруги
на елементах випрямляча;
– струм на навантаженні.
Результати розрахунків зведемо до таблиці 1.2.
Таблиця 1.2
-

0˚
30˚
60˚
90˚
101,366˚

30
25,981
15
4,019
1,573

6,984
6,343
4,592
2,841
2,451

100,318
86,583
49,059
11,535
3,174

Рисунок 1.3 – Регулювальна характеристика випрямляча
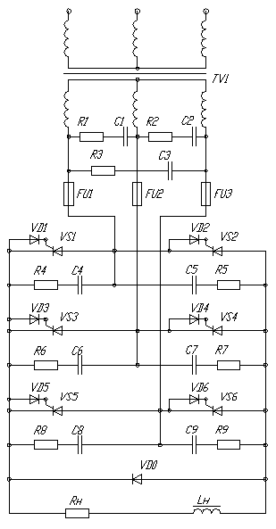
1.5 Вибір захисту тиристорів від перевантажень за струмом та напругою
Захист повинен задовольняти наступним вимогам:
- забезпечувати максимальну швидкодію;
- здійснювати відключення тільки пошкодженого елемента;
- мати високу чуттєвість.
Для захисту тиристорів від перевантажень використовуємо швидкодіючі плавкі запобіжники.
Струм плавкої вставки

де
– коефіцієнт можливого експлуатаційного
перевантаження;
– коефіцієнт, що
характеризує співвідношення струмів
в ідеальному випрямлячі;
– коефіцієнт, що
враховує відхилення форми опорного
струму вентилів від прямокутної;
– коефіцієнт
трансформації трансформатора.
Приймаємо до установки
швидкодіючі запобіжники FU1-FU3
типу
ПНБ-5-380-7.
Для забезпечення
захисту від комутаційних перевантажень
використовуємо на вхідних шинах
перетворювача
ланцюги.
Визначаємо параметри ланцюгів за наступними співвідношеннями:

де
– величина струму холостого ходу
вторинної обмотки трансформатора,
складає 5% від діючого струму вторинної
обмотки трансформатора;
– коефіцієнт запасу
від перевантажень на тиристорі,





З джерела [2] за обчисленими значеннями обираємо конденсатори C1-C3 типу СГМ-4-500 В-0.62 мкФ±10%, резистори R1-R3 типу ПЭВ-10-50 Ом±5%.
Для послаблення
перевантажень тиристорів у момент
комутації використовуємо
ланцюги,
що вмикаються паралельно тиристорам.
Такий ланцюг разом з індуктивністю
навантаження утворює послідовний
коливальний контур. В ньому конденсатор
обмежує комутаційні перевантаження, а
резистор обмежує струм розряду цього
кондесатора при відмиканні та запобігає
коливанням у послідовному контурі.
Параметри ланцюгів визначаємо за наступними співвідношеннями:

Де
– індуктивність розсіювання обмоток
трансформатора;
– діюча напруга
вторинної обмотки трансформатора;
– критична швидкість
наростання напруги на тиристорі;


де
– динамічний опір відкритого тиристора.
З джерела [2] за обчисленими значеннями обираємо конденсатори C4-C9 типу МБГО-0,0025 мкФ±10% на 127 (В), резистори R4-R9 типу ПЭВ-20-620 Ом±10%.

Рисунок 1.4 – Схема захисту вентильних блоків перетворювача від перевантажень за струмом та напругою
2 ПРОЕКТУВАННЯ СИСТЕМИ ІМПУЛЬСНО-ФАЗОВОГО КЕРУВАННЯ
2.1 Розрахунок параметрів пускових імпульсів
Визначаємо потрібну
тривалість імпульсу керування
.
У попередньому розрахунку був визначений
кут комутації вентилів
.
Тривалість імпульсу керування обираємо
з умови
.
Переведемо тривалість імпульсу в секунди
(
=56мкс):
.
Сигнал подається на
тиристор через
,
тому період повторення імпульсів
визначається як

Для тиристора Т151-100-13
струм та напругу керування:

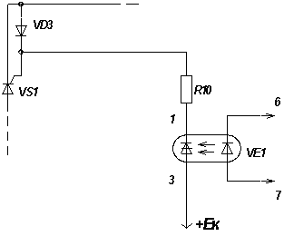
2.2 Розрахунок параметрів елементів кола керування тиристорами
Схема підключення ланцюга керування має такий вигляд (рис. 2.1).

Рисунок 2.1 — Схема підключення ланцюга керування тиристорами
В якості розв’язки застосований діодно-оптотиристорний модуль VE1. Виконаємо розрахунок елементів ланцюга керування тиристорами.
Шунтуючий діод VD3, для надійного закриття тиристора обираємо за умови: Uобр.доп>Uxx=324,24 (B);
.
Приймаємо діод типу ВЛ100.
Через оптотиристор
оптрону проходить струм керування
силового тиристора
=300
(мА). Тоді
величину опору обмежуючого резистора
R10 знаходимо
за такої умови:
,
де Uy – Напруга відкритого тиристора, Uy = 4 (В).
Визначаємо потужність розсіювання на резисторі R10, за умови імпульсного характеру керування:
.
Приймаємо до установки резистор ТВО-2-100 Ом±20%.
З джерела [1] обираємо
стандартний діодно-оптотиристорний
модуль. Вибір провозимо за
– середньому значенню струму через
оптотиристор:

Приймаємо до установки
модуль МДТО80-12
з параметрами:


Рисунок 2.2 — Схема ланцюга керування тиристорами
Крізь світодіод оптрона
проходить струм керування
.
Величина опору обмежуючого резистора
R8 значодимо з умови, що коефіцієнт
трансформації TV2
приймаємо
,
і максимальну напругу на вторинній
обмотці TV2
буде дорівнювати U2 =Eк/5= 30/5=6 (В).
,
де Uy – спадання напруги на свтодіоді оптрону.
Визначаємо потужність розсіювання на риезисторі R8:
.
Приймаємо до установки резистор типу ОМЛТ-0,125-47±1%.
Внутрішній опір керування оптотиристора:
.
Тоді повний опір навантаження ланцюга керування тиристорами:
Rн = Ry + R8 = 47+31,25 = 78,25 (Ом).
Для захисту світодіоду оптрона від перенапруг, які виникають на обмотках трансформатора TV2 при знятті импульсу керування, обмотка TV2 шунтується діодом VD8. Діод обираємо з умови Uобр > 2Eк =60 (B); Iпр = Iм = Iy = 0,08 (А), де Iм – струм намагнічення трансформатора TV2.
Обираємо до установки діод КД109Б з наступними параметрами:
Uобр = 100 (В), Iпр = 0,3 (А).
2.3 Розрахунок параметрів елементів блокінг-генератора
Схема блокінг-генератора представлена на рисунку 2.3.

Рисунок 2.3 — Схема блокінг-генератора
Максимальний струм в
ланцюгу колектора VT2
(струм первинної обмотки Wk) визначимо
як
.
Допустиму напругу на колекторі визначимо як:
.
Визначимо імпульсну потужність колекторного ланцюга:
.
Визначимо середню потужність вихідного каскаду:
.
З довідника за даними Uкэ.доп, Im, Pn обираємо транзистор КТ601М з наступними параметрами:
- максимальна напруга колектор-емітер Uкэ.max = 100 (B);
- максимальний струм колектора Iк.max = 0,03 (А);
- максимальна розсіювана потужність Pк.max = 0,5 (Вт).
З довідника [3] беремо вхідні та вихідні характеристикии (малюнок 2.4) та бужуємо характеристики навантаження за постійним та змінним струмом.

Рисунок 2.4 — Вхідні та вихідні характеристики транзистора КТ601М (КТ601А)
Визначимо приведений опір в ланцюгу колектора:
.
Визначимо струм
короткого замикання
.
Визначимо напругу
холостого ходу
.
Будуємо лінію навантаження за постійним струмом. В момент перетину Iб = 50 (мкА) (струм відсічки) з лінією навантаження отримаємо робочу точку А. В результаті графічних будувань знаходимо: струм спокою Iкo = 5 (мА) и Uкo = 20 (В).
Визначаємо струм
короткого замикання за змінним струмом
:
,
де
- коефіцієнт робочої точки при збільшенні
температури
.
З точки
= 23,3 (мА) крізь точку А проводимо пряму
навантаження за змінним струмом. Графічно
знаходимо максимальний струм бази
Iб.макс = 250 (мкА).
Визначаємо величину опору змінному струму:
.
З графічних побудов знаходимо:
Uкн = 2,5 (B); Iкн = I”к = 23,3 (мА);Uб0 = 1,35 (В); Uб.макс = 2,85 (В).
Тоді
;
.
.
Коефіцієнт підсилення
каскада
.
Задаючись спаданням напруги на резисторі R6 яке дорівнює (0,15…0,2)Eк визначимо величину резистора:
.
Допустима потужність розсіювання на R6:
.
Приймаємо до установки резистор типу ОМЛТ–0,125–1 кОм±10%.
Визначимо опір дільників ланцюга бази.
Звичайно приймають
.
Тоді
.
.
Визначимо потужність розсіювання на резисторах R7 ,R9:
.
.
Приймаємо резистор R7 типу КИМ–0,05–2,4 кОм±10%; резистор R9 типу КИМ–0,05–6,8 кОм±10%.
Ємність конденсатора С5 визначимо з умови найменших відхилень:
.
Приймаємо до установки конденсатор типу К76-П1-63 В-3,3 мкФ.
Визначаємо опір ланцюга стабілізації:

Вхідний опір блокінг-генератора
.
Розрахунок імпульсного
трансформатора поснемо з вибору
коефіцієнта трансформації
який розраховується як:
.
Приймаємо n0 = 2.
Ємність конденсатора С4 визначимо з умови найменший відхилень:
.
приймемо конденсатор з ємність в 10 разів більше ніж ми розрахували. Обираємо конденсатор типу К50-7-50В-56 мкФ±20%.
Визначимо індуктивність колекторної обмотки імпульсного трансформатора:
,
де
– коефіцієнт передачі за струмом
транзистора VT2 
16.
Обираємо тороїдальний сердечник з фериту марки 100НН1 10х6.0х2.0,
Тоді магнітна проникливість:

де
– початкова проникливість феріту марки
100НН1,
=100;
– магнітна стала
феритів,
;
– середня довжина
магнітної лінії,
=
34,84 мм;
S – поперечний переріз, S = 23,06 мм2.
Знаходимо кількість витків колекторної та вхідної обмоток трансформатора:
.
.
Приймаємо
.
.
Діод VD7
обираємо по
.
Приймаємо до установки діод типу КД102Б.
2.4 Розрахунок елементів генератора пилкоподібної напруги
тиристор струм напруга генератор

Рисунок 2.5 — Схема блокінг-генератора
Для того, щоб
блокінг-генератор (далі – ГПН) (рисунок
2.5) працював, необхідно, щоб час відкритого
стану транзистора було набагато менше
часу закритого стану, але достатнім для
розрядки конденсатора С3.
Для цього попередимо включення у вхідний
ланцюг ГПН схеми (рисунок 2.6), яка
складається з дільникового ланцюга,
діоду та дільникового конденсатора.
Така схема включення дозволяє знизити
напругу на базі VT1
на половину амплітуди пульсуючого
сигналу, що дозволить транзистору бути
відкритим приблизно
.
Приймемо час відкритого стану
,
а час закритого стану
.
Сконструюємо ГПН на транзисторі типу ГТ403Ж з параметрами
,
де
– напруга насичення між колектором та
ємитером.
Напруга на конденсаторі С3 змінюється за законом
,
де Тз – постійна часу заряду конденсатора,
,
де Un максимальна напруга на виході ГПН.
Для его знахождення спочатку оберемо діод VD6:
.
Обираємо до установки діод типу КД202М з параметрами:
.
Так як. Uy=0…8 (B), Un розраховується як
.
Приймемо Un=9 (B), тоді:
.
Приймемо максимальний робочий струм
,
де KI – запас стійкості за струмом.
Знаходимо опір резистора R5 :
.
Т.я. напруга змінюється майже лінійно, то потужність розсіювання на резисторі R5:
.
Приймаємо до установки резистор типу С5-35 В-7.5-62 Ом.
Підставивши ці дані в формулу, знаходимо ємність конденсатора С3:
.
Приймаємо до установки конденсатор типу К50-7-50 В-380 мкФ.
Розрахуємо максимальний струм відкритого транзистора:
.
Обираємо струм дільника
,
де
=20
для транзистора типу ГТ403Ж
за частот, близьких до 50 (Гц).
За довідником, визначивши, що при
визначають як
.
Визначаємо параметри опорів R4 та R3:
.
.
.
.
Обираємо резистори типів: R4 С2-11-0.25-3.6±1%, R3 ПЭВ-10-120±5%.
Діод VD7
обираємо за
.
Обираємо діод типу КД102Б.
2.5 Розрахунок вхідного кола генератора пилкоподібної напруги
Вхідний ланцюг ГПН поданий на рисунку 2.6.

Рисунок 2.6 – Вхідний ланцюг ГПН

Ємність конденсатора С2 визначимо з умови найменших відхилень:
.
Напруга на С2:
.
Приймаємо конденсатор типу К50-16-1000 мкФ.
Задамося опором
.
Приймемо
.
Потужність на резисторі
R2
.
Приймаємо резистор ОМЛТ–0,125–100 Ом±10%.
Ємність конденсатора С1 визначимо з умови найменших відхилень:
.
Наруга на С1:
,
де
-кут
відкритого стану транзистора
.
Приймаємо до встановлення конденсатор типу К52-1-3 В-22 мкФ.
Визначимо параметри
опору R1,
прийнявши
,
знаходимо:
,
де
- максимальний струм навантаження,
розраховуємо за формулою:
.
Потужність на резисторі R1:
.
Обираємо резистор типу ОМЛТ–0,125–36 Ом±5%.
Обираємо діод VD5 за параметрами:

Приймаємо до встановлення діод типу КД102Б.
2.6 Розрахунок елементів блока синхронізації

Рисунок 2.7 – Блок синхронізації
Для однофазної мостової схеми випрямлення знаходимо:

Від відносно малої потужності споживання (84 мВт) розрахунок трансформатора не виконуємо. Вторинна обмотка трансформатора може розполагатися на силовом трансформаторі.
Параметри діодів VD1-VD4:

За величиною
та
обираємо до встановлення діоди типу
КД105Б за
наступними параметрами

Повна схема СІФУ надана на рисунку 2.8.

Рисунок 2.8 – Повна схема СІФУ
2.7 Побудова регулювальних характеристик випрямляча
Вихідні дані для розрахунку Uy = 0…8 (B).
Амплітуда пилкоподібної напругиU п max = 9 (В).
Спадання напруги на
діоді VD6
.
Блокінг-генератор на транзисторі VT2 спрацьовує в той момент, коли напруга з ГПН стає більш негативною по відношенню до напруги керування, тобто
.
– пилкоподібної
напруги, змінюється за законами:
,
де
-
напруга на виході ГПН за відкритого
транзистора VT1,
Тз – постійна часу заряду конденсатора,
.
Величина напруги
керування СІФУ для різних кутів
визначається як

Таблиця 2.1
|
|
0 |
30 |
60 |
90 |
120 |
150 |
|
|
0 |
1,68 |
3,36 |
5,04 |
6,72 |
8,4 |
|
|
|
1.68 |
3.5 |
5.28 |
6.93 |
8.46 |
Використовуючи дані розрахунків цієї таблиці попереднього розрахунку, будуємо характеристики регулювання керованого випрямляча (рисунок 2.9).

Рисунок 2.9 - Характеристики регулювання випрямляча
3 РОЗРАХУНОК ДЖЕРЕЛА ЖИВЛЕННЯ
3.1 Вибір схеми та розрахунок основних параметрів джерела живлення
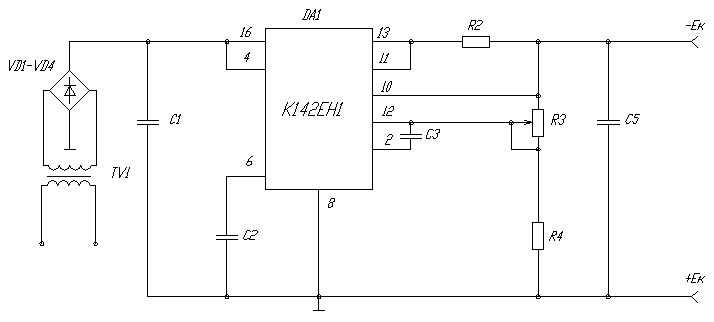
Згідно з завданням приймаємо схему стабілізатора напруги на основі ітегральної схеми K142EH2.

Рисунок 3.1 – Схема джерела живлення
Дільник вихідної
напруги обирається з умови протікання
через нього струму не менше 1,5 (мА).
Регулювання вихідної напруги здійснюється
потенціометром R3.
З джерела [2] обираємо резистор R3
типу МЛТ-0,8-22 кОм±10%,
а резистор R4
типу МЛТ-0,8-1,6 кОм±10%.
Конденсатор С2
шунтує вихід опорної напруги від наведень
та завад з боку інших елементів джерела
живлення. Приймаємо
З джерела [2] обираємо конденсатори С2-С3
типу К50-16-0,1 мкФ-12 В±10%.
Напруга датчика струму
R2 запирає
стабілізатор тільки при
Приймаємо резистор R2
типу МЛТ-0,8-5,1 кОм±10%.
Конденсатор С1 знижує рівень пульсацій вхідної напруги. Визначаємо величину його ємності:

Обираємо конденсатор
С1 типу
К50-16-140 мкФ-40 В±10%.
Конденсатор С5
знижує рівень пульсацій вихідної
напруги. Приймаємо
З джерела [2] обираємо конденсатор С5
типу К10-17-10 мкФ±10%.
3.2 Розрахунок однофазного мостового випрямляча
Визначаємо анодний
струм
та зворотну напругу
на діодах для однофазної мостової схеми
так:
З джерела [2] за
обчисленими значеннями обираємо діоди
VD1-VD4 типу
КД105А з
припустимими

Через відсутність типового силового трансформатора визначаємо його основні параметри:
- струм вторинної
обмотки

- напруга вторинної
обмотки

- повна потужність

- коефіцієнт трансформації

- струм первинної обмотки трансформатора

За типовою потужністю
обираємо уніфікований трансформатор
живлення типу ТПП-225-127/220-50
потужністю 5,5 (В∙А).
Висновки
Розглянутий в даній курсовій роботі вентильний перетворювач широко застосовується для перетворення електричної енергії, що передається у вигляді змінної напруги стандартної частоти, в електричну енергію іншого виду – в постійний або змінний струм з нестандартною або змінюваною частотою.
Важливою областю застосування вентильних перетворювачів є лінії електропередач в електричних мережах і системах. Лінії передач постійного струму економічно ефективні для передачі енергії на великі відстані.
Іншою областю застосування вентильних перетворювачів є їх використання для забезпечення основного обладнання електростанцій, а саме для збудження синхронних гідро- та турбогенераторів.
Перетворювачі також необхідні для таких нетрадиційних джерел енергії, як сонячні батареї, генератори, що використовують енергію повітря, та термохімічні генератори.
Таким чином, значна кількість користувачів електроенергії великої потужності підключається до промислової мережі через вентильні перетворювачі різних типів.
Перелік посилань
Методические указания к выполнению курсовой работы по дисциплине “Электроника и микросхемотехника” / Н.Б. Онучин. – Краматорск: ДГМА, 1998. – 100 с.
Полупроводниковые приёмно-усилительные устройства: Справочник радиолюбителя / Р.М. Терещук, К.М. Терещук, С.А. Седов. – К.: “Наукова думка”, 1981. – 670 с.
Справочник по схемотехнике для радиолюбителя / В.П. Боровский, В.И. Костенко и др. Под ред. В.П. Боровского. – К.: “Техника”, 1987 г. – 432 с.
,
мс
,
В
0