Расчёт спиральной антенны круговой поляризации
Белорусский государственный университет информатики и радиоэлектроники
Кафедра «Антенны и устройства СВЧ»
КУРСОВАЯ РАБОТА
по дисциплине «Антенны и устройства СВЧ»
Тема: Расчёт спиральной антенны круговой поляризации
Минск, 2010 г.
Содержание
Введение
Основные соотношения, выбор рабочего типа волны и фидера
Описание конструкции антенны и АФР на ее раскрыве
Расчет геометрических и электрических характеристик антенн
3.1 Расчёт геометрических параметров антенны
3.2 Электрический расчет антенны
3.3 Программа для расчета электрических параметров
3.4 Результаты численного моделирования антенны
Заключение
Список литературы
Введение
спиральная антенна круговая поляризация
Антенна является необходимой частью любой радиотехнической системы. Антенны классифицируются по многим признакам и параметрам.
По направленности излучения и приема различают слабонаправленные, антенны, линейные размеры которых либо много меньше, либо соизмеримы с длиной волны; умеренно направленные - размеры порядка единиц длин волн; остронаправленные - размеры порядка десятков единиц длин волн.
По принципу действия и конструктивному исполнению антенны делятся на: проволочные и штыревые, применяемые на кило-, гекто- и декаметровых волнах; щелевые, состоящие из щелей в экранах или стенках волноводов, использующиеся на дециметровых и сантиметровых волнах; антенны поверхностных волн, где излучение во внешнее пространство происходит в результате замедленного или ускоренного распространения волны по поверхности антенны; апертурные антенны, в которых излучение происходит с большей по сравнению с квадратом длины волны, площади; многоэлементные антенны - антенные решетки, где излучающими элементами служат слабонаправленные антенны.
По полосе частот: узкополосные (полоса частот составляет 5 -10% от средней частоты), широкополосные (полоса в 40 - 50%) и сверхширокополосные (полоса больше 50%).
По области применения антенны подразделяются на связные, радиовещательные, телевизионные, радиолокационные и т.д.
Развитие различных отраслей радиоэлектроники вызвало практическую потребность в антеннах, обеспечивающих излучение и прием эллиптически поляризованного поля в широком диапазоне частот. Среди различных типов широкополосных антенн важное место занимают спиральные антенны, которые являются слабо- и средненаправленными широкополосными антеннами эллиптической и управляемой поляризации. Они применяются в качестве самостоятельных антенн, облучателей зеркальных и линзовых антенн, возбудителей волноводно-рупорных антенн, элементов антенных решеток. В большинстве случаев основными требованиями является способность работать в широком диапазоне частот, обеспечение эллиптической и близкой к круговой поляризации.
Разработано и используется значительное множество типов и конструкций спиральных антенн, отличающихся диапазонными свойствами, поляризацией поля и другими свойствами. Цилиндрическая регулярная однозаходная спиральная антенна в режиме осевого излучения имеет коэффициент перекрытия по частоте 1.8 и излучает поле с круговой поляризацией (правая или левая – зависит от направления скручивания спирали) в направлении оси.
Направитель спиральной антенны может быть выполнен в виде конической спирали, что увеличивает Kf, или плоской спирали, что уменьшает продольный размер антенны (хотя и уменьшает Kf). Число заходов (ветвей) спирали может быть несколько. Это также увеличивает Kf. Если заходы намотаны в разные стороны (правые и левые спирали), появляется возможность управления поляризацией излучения путем изменения амплитуд и фаз токов, возбуждающих отдельные заходы. В зависимости от отношения диаметра спирали к длине волны диаграмма направленности может быть осевой или конической.
С целью уменьшения продольных размеров антенны в качестве направителя используют плоские спирали. Плоская спиральная антенна менее диапазонна, чем цилиндрическая, так как сама спираль одинаково излучает в сторону экрана и в противоположном направлении. Для синфазного сложения этих полей в направлении от экрана расстояние между спиралью и экраном должно быть близким к четверти длины волны.
Более диапазонными по сравнению с цилиндрической регулярной спиральной антенной являются цилиндрическая спиральная антенна с переменным шагом.


Рисунок 1.1 – Плоская спиральная антенна, антенна с переменным шагом, коническая антенна
1. Основные соотношения, выбор рабочего типа волны и фидера
Все волны в спиральной линии имеют продольные и поперечные по отношению к оси составляющие векторов Е и Н и являются аналогами волн НЕmn и EHmn в круглом волноводе. Отличие заключается в том, что они распространяются с фазовой скоростью, меньшей скорости света в свободном пространстве, и, следовательно, являются поверхностными.
Амплитуды векторов Е и Н при удалении от оси спирали в радиальном направлении в области т>R уменьшаются приблизительно по экспоненциальному закону. Чем меньше фазовая скорость, тем быстрее спадает амплитуда поля с ростом r.
В регулярной (бесконечной вдоль оси Z) замедляющей системе существует поток мощности только вдоль оси Z. Это общая закономерность для замедленных волн в любых замедляющих системах. В регулярной спиральной линии распределение тока в витке спирали по координате φ является периодической функцией φ с периодом, равным 2π. Это следует из того, что точки наблюдения Р(r,φ,z) и Р(r,φ+2π,z) в пространстве совпадают. Поэтому ток в проводнике спирали I(φ,z) можно разложить в комплексный ряд Фурье:

Каждый член этого ряда называется пространственной φ - гармоникой, Im(z) - амплитуды гармоник. Аналогично можно представить и поле спиральной линии:
()(2)
В зависимости от величины
в рядах (1) и (2)преобладающей (резонирующей)
будет одна из гармоник. Поле волны Тm
в общем случае может быть записано в
форме (2), при этом в поле резонирует
гармоника с номером m.
В том случае, когда в поле волны Тm резонирует гармоника с m=1. Пренебрегая всеми остальными гармониками, ток I(φ,z) в соответствии с (1) можно записать в виде:

Поскольку в спирали существует бегущая волна тока (от конца спирали отражение слабое и им можно пренебречь при приближенном рассмотрении процессов и расчете), ток I1(z) определяется выражением:

описывающим волну, распространяющуюся вдоль оси Z. В (4) I1 - амплитуда тока, β - коэффициент фазы.
Из выражения (3) следует, что ток I(φ,z) представляет собой сумму двух токов I'(φ,z)= I1(z)-cosφ и I''(φ,z) = iI(φ,z) - sinφ. В каждом из них одинаковая зависимость от координаты z, одинаковые амплитуды I1(z), но разные зависимости от координаты φ. Причем токи сдвинуты по фазе на 90°. На рисунке 2.1 в виде эпюры показано распределение токов I'(φ,z) на витке спирали в зависимости от φ. На рисунке 2.1, б показано распределение тока I (φ,z) в зависимости от φ. На рисунке 2.1,а показаны также:
элементарные излучатели витка 1 и 2;
векторы е1 и Е2 поля, созданного этими элементами на оси спирали (оси Z);
вектор Е', равный сумме векторов Е1 и Е2.
Как видно, вектор Е' ориентирован вдоль оси Y, т.е. поляризован линейно вертикально. Аналогично для любых двух элементарных излучателей, расположенных симметрично относительно оси Y, вектор Е их суммарного поля ориентирован вдоль оси Y. Поэтому вектор Е всех элементов витка будет ориентирован вдоль оси Y и можно считать, что вектор Е' - это вектор электрического поля одного витка спирали на ее оси для тока I'(φ,z). Причем виток излучает одинаково и вдоль оси +Z и в обратном направлении - вдоль оси -Z, и максимум диаграммы направленности одного витка ориентирован по оси Z. Плоскостью Е является плоскость YZ, плоскостью Н - плоскость XZ.
На рисунке 2.1 показаны также распределение тока I''(φ) = I''(φ,z)│z = const и вектор Е" поля на оси спирали, созданного витком спирали с этим током. Вектор Е" ориентирован вдоль оси X. Плоскости Е и Н поля витка с током I''(φ) меняются местами по сравнению с полем тока I'(φ) . Так как токи I''(φ) и I'(φ) имеют одинаковые амплитуды и сдвинуты по фазе на 90°, векторы Е' и Е" также одинаковы по амплитуде, сдвинуты по фазе на 90° и взаимно перпендикулярны в пространстве. Вследствие этого результирующий вектор Ё=Е'+Е" поля одного витка спирали имеет круговую поляризацию вдоль оси спирали.
Главный лепесток ДН витка спирали в плоскости Е уже, чем в плоскости Н. Это связано с тем, что элементарный излучатель витка - диполь Герца в плоскости Н излучает ненаправленно, а в плоскости Е вдоль оси не излучает.
В суммарном поле витка спирали, имеющем круговую поляризацию, плоскости Е и Н вращаются вокруг оси Z с частотой поля. Поэтому рассматриваются диаграммы направленности по составляющим Еθ и Еφ.
Эти диаграммы направленности определяются следующими выражениями [1]:

где J0 - функция Бесселя нулевого порядка; k - волновое число свободного пространства; R – радиус спирали.

Вдоль системы витков распространяется бегущая волна тока, поэтому устанавливается линейное фазовое распределение. Поля всех витков в направлении оси Z (в направлении вектора фазовой скорости волны тока) складываются с одинаковыми фазами, в противоположном направлении - компенсируют друг друга. В результате спиральная антенна на волне Т1 формирует поле с осевой диаграммой направленности.
Аналогично, рассматривая распределение тока в витке спирали на волне Т2, можно показать, что виток спирали имеет коническую ДН. В элементах витка, расположенных диаметрально противоположно, токи противофазны, поэтому их суммарное поле на оси спирали равно нулю. Под некоторым углом к оси поля этих элементов уже сдвинуты по фазе за счет разности хода, и их суммарное поле не равно нулю. То же самое наблюдается на всех волнах Тm. Причем с ростом номера m растет число боковых лепестков ДН, а направление главного максимума приближается к оси спирали - угол Θm уменьшается.
В режиме Т0, когда резонирует нулевая пространственная гармоника (m=0), ток на протяжении всего витка спирали имеет одинаковую фазу (одинаковое направление). Поэтому такой виток эквивалентен магнитному диполю, не излучающему вдоль оси витка. Диаграмма направленности антенны в режиме Т0 имеет форму тороида.
Гармоника с номером m резонирует в поле спирали, если на периметре цилиндра спирали укладывается m длин волн, т.е. 2πR=mλ или

Подробный анализ типов
волн в спиральной линии показывает, что
условие (6) определяет среднюю длину
волны рабочего диапазона, в котором
существует волна Тm.Таким
образом для создания в спиральной линии
волны Т1, которая удовлетворяет
требованиям, предъявляемым к антенне
в данной работе, необходимо, чтобы

Диаграмму направленности и КНД спиральной антенны можно приближенно рассчитать по формулам, полученным аналитически для линейной антенной решетки с равномерным амплитудным и линейным фазовым распределением возбуждения; более точно - численно, предварительно решив внутреннюю задачу. Можно также расчет антенны и ее параметров произвести по эмпирическим формулам, полученным в результате обработки большого числа экспериментальных результатов.
Аналитический метод заключается в следующем. Регулярную спиральную антенну с числом витков n можно считать линейной антенной решеткой. Диаграмма направленности такой решетки по составляющим eθ и Еφ определяется выражением [2]:

Диаграммы направленности одного излучателя - витка спирали описываются формулами (5). Множитель системы Fc(θ) для решетки с равномерным амплитудным и линейным фазовым распределением определяется выражениями [2]:

где S - расстояние между соседними излучателями (шаг спирали).
Коэффициент замедления
,
где β - коэффициент фазы замедленной
волны, распространяющейся вдоль оси
спирали.
Аналитическое решение задачи по определению типов волн в регулярной (бесконечной) спирали показывает, что коэффициент замедления превышает единицу на 0,01-0,001 и его можно считать равным 1. В этом случае можно применить выражение КНД, полученное для линейной антенны в режиме осевого излучения [2]:

где l=nS - осевая длина спирали (длина направителя).
Выражение (10) дает заниженное значение КНД. Это связано с тем, что в спирали конечной длины коэффициент замедления больше. Приближенно его определяют из условия синфазного сложения полей всех витков в направлении оси спирали (хотя это и недостаточно обоснованно), что приводит к следующему выражению [3]:

Это значение коэффициента замедления при L/λ > 1,5 близко к оптимальному в линейной антенне в режиме осевого излучения и равному [2]:

При оптимальном коэффициенте замедления КНД определяются выражениями [2]

которые дают более точные значения.
Выражения (8), (9) справедливы при целом числе витков спирали N. Если N не целое, спиральную антенну для расчета ДН считают линейной антенной с равномерным амплитудным и линейным фазовым распределением длиной L. В этом случае множитель системы определяется выражением [2]:

где

Формулы (8), (9) и (14), (15) дают близкие результаты, если N>5.
Аналитический метод расчета диаграммы направленности и КНД спиральной антенны является приближенным в силу использованных выше допущений (пренебрежение волнами, излучаемыми возбудителем и концом направителя) и неточного значения коэффициента замедления. Кроме того, в таком расчете не учитывается металлический экран диаметром Dэ (0,6 - 0,7)λ., который всегда применяется для уменьшения заднего излучения и повышения эффективности возбуждения замедленной волны в спирали. Поэтому часто для расчета КНД используют следующее эмпирическое выражение [4], в котором k -волновое число свободного пространства:

Входное сопротивление в широкой полосе частот имеет малую реактивную часть. Активное сопротивление приближенно определяется выражением:

Основным режимом регулярной спиральной антенны является режим осевого излучения, наблюдаемый на волне T1. Поэтому рассмотрим диапазонные свойства в этом режиме [1].
Волна T1
в однозаходной спиральной линии
существует в диапазоне длин волн
λmax-λmin,
которые связаны с волновым числом
свободного пространства k
и радиусом спирали R
соотношением:
.
Получены следующие выражения для
значений (kR)min
и (kR)max:

где (kR)0max ограничивает значение kR со стороны меньших значений и является верхней границей области существования волны Т0;
kR' ограничивает область существования волны Т1 в которой резонирует пространственная гармоника с m=1 (обеспечивается режим осевого излучения);
(kR)2min ограничивает со стороны меньших значений область существования волны Т2.
Указанные значения kR определяются выражениями:

На рисунке 2.2 показаны зависимости приведенных значений kR от угла намотки спирали а. Область значений kR и α, в которой выполняются условия (19), (20), заштрихована. В этой области существует волна Т1, и в ней резонирует пространственная гармоника с номером m=1, т.е. в спиральной антенне существует режим осевого излучения. Как видно, эта область имеет максимальную ширину по шкале kR = 2πR/λ (следовательно, по шкале длин волн λ) при некотором оптимальном угле намотки спирали αопт. Максимальная ширина этой области ограничена значениями kRmiu и kRmax, а по шкале длин волн значениями λmax и λmin. Из условия равенства значений kR' и (kR)min при α=αonT нетрудно получить αопт=19,5°. Значения, ограничивающие область режима осевого излучения, получаются равными:

П
ри
этом λmin≈4.5R;
λmax≈9R
коэффициент перекрытия по частоте
получается равным
Рисунок 2.2 - Область режима осевого излучения спиральной антенны
2. Среднее в диапазоне значение длины волны получается равным периметру цилиндра спирали 2πR.
Для определения КСВ и коэффициента усиления антенны в литературных источников приводится ряд формул, в контексте решения поставленной задачи воспользуемся следующими [3]:
,
где К0- коэффициент
отражения: 

Антенна будет возбуждаться коаксиальным кабелем РК-2-11 (50 Ом). Параметры этой коаксиальной линии: диаметр внутренней жилы – 0.67 мм, диаметр диэлектрика – 2 мм, внешний диаметр – 3.9 мм[7]. Для подключения будет использоваться SMA разъём.
Вид SMA разъёма иллюстрирует рисунок 2.3.

Рисунок 2.3 – Вид SMA разъёма
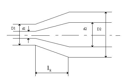
Поскольку обычно волновое сопротивление фидера фиксировано, а входное сопротивление спирали может быть различным, то в этом случае надо применить согласующее устройство СВЧ. Входное сопротивление спиральной антенны в режиме осевого излучения остаётся чисто активным, так как в этом режиме в проводе спирали устанавливается режим бегущей волны [5]. Поэтому для согласования можно применить конусообразный переход (рисунок 2.4) из коаксиальных линий передачи.

Рисунок 2.4 – Коаксиальный трансформатор
Если
длину конусной части (
)
взять равной /4,
то этот переход работает как четвертьволновый
трансформатор для согласования линии
с разным волновым сопротивлением
[6].
Волновое сопротивление конусной части линии, должно быть:
[6],
где
-волновое
сопротивление конусной части перехода
-волновое
сопротивление подводящего фидера
-волновое
сопротивление спиральной антенны
По известному волновому сопротивлению можно определить отношение диаметров элементов коаксиального тракта:
(26)
)
( Ом )
Для
коаксиального устройства с воздушным
заполнением и
Ом отношение
.
2. Описание конструкции антенны и АФР на ее раскрыве
Основным режимом работы антенны является режим осевого излучения, при котором формируется диаграмма направленности (далее ДН) вдоль оси спирали.
Спиральная антенна состоит из следующих составных частей:

Рисунок 3.1 - Общий вид антенны
На рисунке 3.1 показано: 1 - спираль из медной трубки, 2 - диэлектрический каркас, 3 - металлический сетчатый экран, 4 - согласующее устройство, 5 - питающий фидер.
В данном случае для изготовления антенны лучше взять медную трубку, для облегчения конструкции, т.к. токи высокой частоты текут лишь по поверхности металла.
В качестве каркаса можно применить твёрдый пенопласт. При этом расчетные соотношения останутся неизменными т.к. пенопласт однороден в азимутальном и продольном направлениях, а его диэлектрическая проницаемость практически равна диэлектрической проницаемости воздуха.
Для уменьшения заднего излучения мы применяем экран, который в ДМВ диапазоне делается из металлической сетки [1].
Расчет характеристик и параметров спиральной антенны, естественно не может быть сделан с учетом всех её конструктивных элементов и особенностей распределения в ней тока. Поэтому применяется упрощенная модель спирали при условии, что осевая длина больше 0.5, а отражение волны тока от свободного конца спирали невелико (условия выполняются при работе антенны в режиме бегущей волны). Исследования показывают, что в этом случае реальная спиральная антенна может быть заменена отрезком регулярной спирали с равномерным по амплитуде и линейным по фазе распределением тока вдоль оси захода (рисунок 3.2). [1]:

Рисунок 3.2 – АФР антенны

Рисунок 3.3 – Развертка спирали
где = c/f, где c - скорость света, f - рабочая частота, n - число витков спирали, - угол подъёма витка, R - радиус спирали, S - шаг витка спирали, L - длина витка спирали, l – длина всей спирали.
Таким образом, расчётные соотношения для цилиндрической спирали:

sin() = S/L
l = nS
получены в соответствии с рисунком 3.3.
,
тогда

Зная требуемый коэффициент направленного действия, можно рассчитать длину антенны

Шаг спирали рассчитывается по формуле

Число витков спирали рассчитываем через длину и шаг спирали

Длину витка спирали, при которой излучение максимально вдоль оси нужно выбрать из интервала
[6]
Радиус спирали находим из соотношения (27)

Угол подъёма спирали находим из (28)

Диаметр провода спирали берется порядка (0.03...0.05), причем, чем толще провод, тем больше уровень боковых лепестков и тем меньше входное сопротивление [5]. С увеличением диаметра также сближаются диаграммы направленности по компонентам и . Для облегчения конструкции возьмём меньший диаметр 0.03.
Для уменьшения уровня обратного излучения спираль применяется совместно с экраном обычно круглой формы, причем в диапазоне ДМВ он изготавливается из металлической сетки. Размер ячейки сетки делается меньше одной десятой длины волны, а расстояние от экрана до первого витка спирали делают 0.25S. Экран следует делать из проволоки толщиной не менее 3 мм, т.к. он является несущим для фидера спирали и какого-либо опорно-поворотного устройства.
Эксперимент показывает, что характеристики
антенны наиболее стабильны в диапазоне
частот при
,
а входное сопротивление практически
не меняется. Поэтому, примем
[1].
На характеристики излучения антенны оказывает влияние форма и размеры переходного участка от внутреннего проводника фидера к проводнику спирали. Этот элемент обтекается током большой амплитуды и не имеет осевой диаграммы направленности. Уменьшить его влияние можно уменьшением его длины.
Расчет геометрических и электрических характеристик антенны
3.1 Расчёт геометрических параметров антенны
В ходе выполнения данной работы для проведения аналитических расчетов и построения графиков зависимостей была использована программа MathCAD.
Зная среднюю рабочую частоту (f=910 МГц), определим среднюю длину волны 0.33 м. Диапазон рабочих частот – 100 МГц, что составляет 11% от несущей частоты.
Для определения ширины ДН, при которой будет достигаться требуемый КНД, необходимо осуществить расчёты.

Так как 2θ Е 0.5° = 2θ Н 0.5°=45°, то КНД будет равен:

Цилиндрическая регулярная однозаходная спиральная антенна имеет коэффициент перекрытия по частоте 1.8 в режиме осевого излучения и излучает поле круговой поляризации, что вполне удовлетворяет техническим требованиям. Поэтому мы выберем антенну вышеописанной конфигурации.
Зная коэффициент направленного действия, можно рассчитать длину антенны.

По известной длине волны рассчитывается шаг спирали.

Число витков рассчитываем через длину и шаг спирали.

Возьмем 6 витков, однако при этом необходимо пересчитать длину спирали, чтобы не изменился угол намотки.

Длину витка спирали нужно выбирать из интервала (0.75...1.3), например возьмем L= радиус витка спирали находим из следующего соотношения:
Угол подъема спирали находим по развертке витка спирали.

Диаметр трубки спирали возьмем 0.03*=0.01м=1 см. Расстояние от экрана до первого витка спирали выберем 0.25*S=0.018м=1.8 см. Диаметр экрана выберем 0.7*=0.231м.
3.2 Электрический расчет антенны
Для расчета диаграмм направленности на средней рабочей частоте по компонентам подставим найденные геометрические размеры антенны в формулы (5). Для определения КНД антенны в рабочем диапазоне частот воспользуемся соотношением (16).
Чтобы определить входное сопротивление воспользуемся формулой Крауса, которая в диапазоне ДМВ дает приемлемые результаты.

Как видно из расчета, входное сопротивление антенны отличается от волнового сопротивления выбранного фидера. Из этого следует необходимость применения согласующего устройства, а именно коаксиальный трансформатор сопротивлений. Поскольку в качестве фидера был выбран РК-2-11 с диаметром центральной жилы – 0.67 мм, то можно определить размеры коаксиального трансформатора (рисунок 2.4).
Длину конусной части берем равной /4=0.0825 м для того, чтобы переход работал как четретьволновой трансформатор для согласования линии с разным волновым сопротивлением.
Волновое сопротивление конусной части линии должно быть:

По известному волновому сопротивлению можно определить соотношение диаметров элементов коаксиального тракта по формуле 26. Для коаксиального волновода с воздушным заполнением и Z=100 Ом отношение d/D=0.17, для Z=140 Ом - 0.096, для Z=50 Ом - 0.435.

Для того чтобы было удобно соединять трубку спирали и центральную жилу выходной части согласующего устройства возьмем последнюю диаметром меньше диаметра трубки например 3 мм.

Так как антенна согласована на средней рабочей частоте, то КСВ при этих условиях будет минимален. При изменении частоты КСВ будет увеличиваться. Для расчета КСВ в диапазоне частот используем формулу 24. Зависимость КСВ от частоты приведена на рисунке 4.1.
Зная геометрические размеры антенны, можно рассчитать ее электрические параметры. Формулы для расчета диаграмм направленности получаются для компонент Е и Е поля волны Т1. Эти выражения приводятся в литературе. Приближенно можно считать, что диаграммы направленности не зависят от угла , т.е. являются телами вращения, хотя небольшая зависимость все же имеется. В итоге ДН для целого числа витков спирали определяются нижеприведенными выражениями.

Рисунок 4.1 – КСВ антенны в полосе частот

Диаграммы направленности имеют вид:

Рисунок 4.2 – ДН антенны на средней частоте диапазона в полярных координатах

Рисунок 4.3 - ДН антенны на средней частоте диапазона в прямоугольных координатах (плоскость Е)

Рисунок 4.4 – ДН антенны на средней частоте диапазона в прямоугольных координатах (плоскость Н)

Рисунок 4.5 – ДН антенны на нижней частоте диапазона в полярных координатах

Рисунок 4.6 – ДН антенны на верхней частоте диапазона в полярных координатах
Зависимость КНД от длины волны в пределах рабочего диапазона имеет вид:

Рисунок 4.7 – Зависимость КНД от длины волны
3.3 Программа для расчета электрических параметров
Для решения внешней задачи и для расчета электрических параметров цилиндрической спиральной антенны была использована программа MMANA. Программа разработана японским специалистом Makoto Mori и переведена на русский язык специалистом И. Гончаренко.
В программе реализован метод интегральных уравнений для тонкопроволочных антенн. По заданной пользователем геометрии проволочной антенны MMANA позволяет:
рассчитывать любые типы антенн, которые можно представить как произвольный набор проводов;
производить расчет на любой частоте;
создавать и редактировать описания антенны, как указанием цифровых координат, так и в графическом редакторе (просто рисовать антенну "мышкой");
рассматривать множество разных видов антенны;
рассчитывать диаграммы направленности (ДН) в вертикальной и горизонтальной плоскостях;
строить трехмерные диаграммы направленности;
одновременно сравнивать результаты моделирования нескольких разных антенн;
редактировать каждый элемент антенны, включая возможность изменения его форму;
редактировать описание каждого провода антенны простым перетаскиванием "мышкой";
просчитывать комбинированные (состоящие из нескольких, разных диаметров) провода;
создавать стеки, в качестве элемента стека можно использовать любую;
оптимизировать антенну, гибко настраивая цели оптимизации: Zвх, КСВ, усиление, F/B, минимум вертикального угла излучения;
задавать изменение при оптимизации более 90 параметров антенны, возможно описание совместного (зависимого) изменения нескольких параметров;
сохранять все шаги оптимизации в виде отдельной таблицы для последующего анализа;
строить множество разнообразных частотных графиков: Zвх, КСВ, усиление, F/B, ДН;
автоматически рассчитывать разные согласующие устройства, с возможностью включать и выключать их при построении графиков;
создавать таблицы для всех переменных расчетных данных: токов в каждой точке антенны, зависимости усиления от углов, изменение основных параметров антенны от частоты, напряженности полей антенны в заданной области пространства;
рассчитывать катушки, контура, СУ на LС элементах, СУ на отрезках длинных линий (несколько видов), индуктивности и емкости, выполненные из отрезков коаксиального кабеля;
Не имеет ограничений по взаимному расположению проводов. Максимальное число: проводов — 512, источников — 64, нагрузок — 100.

Рисунок 4.8 - Внешний вид программы MMANA
После задания геометрии, источников (обязательно), нагрузок (не обязательно) и частоты можно рассчитать характеристики и параметры антенны. Для этого необходимо выбрать пункт меню «Вычисления», в открывшемся экране щелкнуть по кнопке «Пуск». После расчета в таблицу этого экрана выводятся параметры антенны. Диаграмму направленности можно просмотреть, выбрав пункт меню «Диаграммы направленности».

Рисунок 4.9 - Вид модели в программе MMANA
Геометрию антенны можно создавать также с помощью встроенного графического редактора. Для того чтобы войти в редактор и рисовать в нем отрезки проводников, необходимо:
• или на экране «Геометрия» в главном меню выбрать пункт «Правка», в развернувшемся подменю щелкнуть по пункту «Правка провода»;
• или на экране «Вычисления» внизу щелкнуть по пункту «Правка провода». Методика рисования будет понятна после входа в редактор. Созданный файл геометрии и результатов расчета можно сохранить, выбрав в главном меню пункт «Файл».
Для задания геометрии спиральной антенны была использована программа, которая по основным параметрам антенны и экрана рассчитывает начальные и конечные координаты линейных отрезков (сегментов), на которые они разбиваются, и создает файл с расширением *.maa. Дальнейший расчет производится в программе MMANA.

Рисунок 4.10 - Внешний вид программы для расчета геометрии
В программе исходными данными для спирали являются: радиус, число витков, угол намотки, радиус проводника, шаг аппроксимации. Для экрана: радиус, число радиальных проводников, число колец экрана, дельта – размер ячейки относительно длины волны. Также задается: частота и имя выходного файла. Для начала работы следует нажать кнопку “Расчет и сохранение”. Файл с заданным именем создается в папке с программой.
3.4 Результаты численного моделирования антенны
Моделирования в программе MMANA будет выполнено для того, чтобы проверить правильность результатов, которые были получены в результате теоретического расчёта. При необходимости будут внесены необходимые коррективы в геометрию антенны.

Рисунок 4.11 – ДН антенны в полярных координатах

Рисунок 4.12 – Зависимость КСВ от частоты

Рисунок 4.13 – Зависимость КНД и F/B от частоты

Рисунок 4.14 – Зависимость активной и реактивной части входного сопротивления от частоты

Рисунок 4.15 – Зависимость ДН от частоты
При работе антенны в реальных условиях, КНД будет увеличиваться из-за изрезанности ДН в вертикальной плоскости. На рисунке 4.14 приведена ДН антенны, расположенной на высоте 5 метров над землёй.

Рисунок 4.16 – ДН антенны, расположенной на высоте 5 метров над землёй

Рисунок 4.17 – Объёмная ДН антенны, расположенной на высоте 5 метров над землёй
Активное сопротивление составляет около 140 Ом, что позволяет подключать антенну к стандартному коаксиальному кабелю с сопротивлением 50 Ом с применением согласующего устройства, рассчитанного в разделе 4.2.
Что касается диаграммы направленности, то она остаётся практически неизменной во всём диапазоне рабочих частот. Также в заданной полосе частот КСВ не превышает установленных пределов.
Кроме этого, необходимо сказать, что теоретический расчёт и моделирование дают схожие результаты в исследовании характеристик спиральной антенны.
Особенностью программы MMANA является то, что в ней не предусмотрен вывод графика ДН в прямоугольных координатах, что затрудняет определение ширины ДН. Однако, судя по графикам, представленным на рисунках 4.3 и 4.4, она соответствует заданным параметрам.
Заключение
в данном курсовом проекте был произведен анализ регулярной цилиндрической спиральной антенны. Сопоставив полученные результаты, можно сказать, что спиральная антенна является широкополосной антенной с осевым излучением волн круговой поляризации.
В ходе работы была использована программа для WINDOWS, позволяющая создавать геометрию различных спиральных антенн и исследовать в пакете MMANA.
Спроектированная антенна отличается простотой конструкции и может применяться как самостоятельная антенна, так и в качестве элемента антенной решетки.
Список литературы
Юрцев О.А., Рунов А.В., Казарин А.Н. Спиральные антенны М.:Радио и связь 1974г.
Юрцев О.А. Элементы общей теории антенн. Методическое пособие. БГУИР: 1997г.
Фрадин А.З. Антенны сверхвысоких частот. М: Советское радио 1957г.
Марков Г.Т., Сазонов Д.Н. Антенны М.: Связь 1977г.
Жук М.С., Молочков Ю.Б. Проектирование линзовых, сканирующих, широкодиапазонных антенн и фидерных устройств М.: Энергия 1973г.
Юрцев О.А. Антенны бегущей волны, антенные решетки, антенны коротких, средних и длинных волн. Методическое пособие. БГУИР: 2001г.
http://www.electro-mpo.ru/article42.html