Машини для оброблення м'яса та риби
Реферат
Машини для оброблення м'яса та риби
Для оброблення м'яса та риби використовують такі машини й механізми: м'ясорубки, фаршмішалки, розпушувачі м'яса, механізми для обчищання риби, для нарізування м'яса для бефстроганів, а також універсальні приводи для м'ясних цехів з комплектом змінних механізмів.
М'ясорубки призначені для подрібнювання м'яса, риби, печінки та інших продуктів. На підприємствах громадського харчування використовують м'ясорубки з індивідуальними електроприводами вітчизняного виробництва — МЗМ-82, МЗМ-82М, МЗМ-105, МЗМ-105М, ЕМШ-35/135 (2003 р.) та зарубіжних фірм — «Вгаип», Т8-12, змінні механізми для подрібнювання м'яса — МЗ-2-70, МЗ-2-150, ММП-П-1, які працюють від універсальних приводів ПУ-0,6, ПМ-1,1, П-П. У позначеннях типу м'ясорубки цифри означають діаметр ножової решітки у міліметрах. Наприклад, МЗМ-82 з діаметром ножової решітки 82 мм.
Фаршмішалки призначені для перемішування фаршу, тобто рівномірного розподілення різних компонентів у загальній масі. Фаршмішалки з індивідуальним приводом використовуються на великих підприємствах. Фаршмішалки МЗ-8-150 і МВП-П-1 працюють від приводів ПМ-1,1 та П-П.
Машини для розпушування м'яса призначені для надрізування поверхні порційних кусків м'яса з метою руйнування сполучної тканини. Такі шматки м'яса у процесі теплового оброблення менше деформуються, швидше просмажуються і стають соковитішими та м'якшими. Розпушування дає можливість використовувати для смаження м'ясо другого сорту.
На підприємствах громадського харчування використовують розпушувач МРМ-15 з індивідуальним приводом, МЗ-19-1400, МРП-И-1, що працюють від приводів ПМ-1,1, ПУ-0,6, П-П.
Для обчищання риби механічною взаємодією рифленої поверхні з лускою риби використовують пристрій РО-1М1 з індивідуальним приводом та пристрій МЗ-17-40, що працює від приводу ПМ-1,1.
На невеликих підприємствах для механізації процесів перероблення м'ясних, рибних та інших продуктів використовуютьпривід спеціального призначення ПМ-1,1 першого або другого виконань і привід П-ІІ з комплектами змінних механізмів.
М'ясорубки
Зростаюча кількість невеликих підприємств громадського харчування потребує використання машин і пристроїв невеликої продуктивності.
М'ясорубка ЕМШ 35/135 (Україна, 2003 р.). Обладнана самозагострювальним ножем і призначена для приготування м'ясного та інших фаршів, начинювання ковбас. Продуктивність м'ясорубки 18 кг/год, максимальна споживча потужність 160 Вт, номінальна напруга 220 В.
М'ясорубка (рис. 5.1) складається із приводу, корпусу, завантажувального лотка, шнека з поступовим зменшенням кроку витків, пружини, одностороннього ножа, керамічної решітки, гайки. Керамічна решітка забезпечує самозагострювання ножа на весь період експлуатації. Для проштовхування м'яса передбачено штовхач.
Принцип дії. Продукт захоплюється шнеком і дякуючи поступовому зменшенню кроку витків просувається по камері, ущільнюється й у вигляді суцільної маси надходить до ножа та решітки та подрібнюється ними.

а б
Рис. 5.1. М'ясорубка ЕМШ-35/135:
а — загальний вигляд: 1 — приставка-м'ясорубка; 2 — муфта; 3 — шайба; 4 — привід; б — послідовність установлення робочих органів: 1 — штовхач; 2 — завантажувальний лоток; 3 — корпус; 4 — шнек; 5 — пружина; в — ніж; 7 — решітка; 8 — гайка.
Правила експлуатації. Перевіривши санітарний стан м'ясорубки, вставити в корпус шнек, на палець шнека встановити пружину, призначену для притискування ножа до поверхні решітки, потім ніж і решітку (паз решітки сумістити з виступом на корпусі) та закрутити гайку до упору.
Вставити приставку-м'ясорубку в привід до упору, повертаючи її проти годинникової стрілки, та зафіксувати за допомогою гвинта. Ввімкнути м'ясорубку вимикачем. Символи на вимикачі означають: 1 — ввімкнено, 0 — вимкнено. М'ясо необхідно промити, зачистити від кісток, нарізати невеликими шматочками масою 60—70 г і завантажити в лоток.
Заборонено встановлювати м'ясорубку до ввімкненого приводу, мити корпус приводу м'ясорубки водою, залишати ввімкнену м'ясорубку без нагляду, застосовувати для миття м'ясорубки наждачний папір, соду, пісок. Для запобігання перевантажень приводу не подавати великі шматки м'яса в зону різання і не натискати сильно на штовхач, а також дотримуватись такого режиму роботи, хв: робота — 15, перерва — ЗО.

1 — натискна гайка; 2 — решітка; 3 — двосторонній ніж; 4 — шнек; 5 — робоча камера; 6 — завантажувальна чаша; 7 — штовхач; 8 — пускорегулювальна апаратура; 9 — корпус
Після закінчення роботи робочі органи м'ясорубки (шнек, ножі) промити теплою водою з нейтральним мийним засобом.
У разі заміни керамічної решітки на металеву ніж необхідно загострювати у міру затуплення.
М'ясорубка «Braun G 1300К» (фірма «Braun», Чехія) (рис. 5.2). Призначена для подрібнювання м'яса, риби та начинювання кишок фаршем для приготування домашньої ковбаси та купатів. Машина складається із корпусу, завантажувальної тарілки, штовхача, шнека, ножа із нержавіючої сталі, трьох решіток з діаметром отворів 3, 4,5 і 8 мм, наживної гайки, електродвигуна, вимикача, контейнера для зберігання шнура. Розвантажувальним пристроєм машини є торець камери обробки, що має зовнішню різьбу, на яку нагвинчується натискна гайка. Кожна решітка має паз, а на корпусі — виступ (шпонку), що забезпечує нерухомість решіток. Потужність м'ясорубки 1300 Вт. Для приготування домашньої ковбаси в машині передбачено насадку «Куббе», яку вставляють замість ножа та решітки. Перед використанням насадки м'ясо має бути подрібненим.
Принцип дії. У камері обробки продукт захоплюється шнеком і подається ним до ножа та решітки. Завдяки поступовому зменшенню кроку витків шнека продукт просувається вздовж робочої камери, ущільнюється і надходить до ножа та решітки у вигляді суцільної маси та подрібнюється ними.
Правила експлуатації. Перед початком роботи необхідно перевірити напругу в мережі. Перевіривши санітарний стан машини, її вмикають у роботу. М'ясо, призначене для переробки, зачистити від кісток і сухожиль, подрібнити на шматки масою 60—70 г, промити та завантажити в чашу. За допомогою штовхача м'ясо проштовхувати у робочу камеру.
Після закінчення роботи машину вимкнути, розібрати, промити теплою водою з нейтральними мийними засобами, сполоснути та просушити. Корпус протерти сухою тканиною.
Категорично заборонено використовувати сторонні предмети для проштовхування. Необхідно стежити, щоб на двигун не потрапляла вода. Якщо після тривалого використання двигун раптово зупиняється або не працює, то необхідно машину вимкнути для охолодження приблизно на 15 хвилин. Не допускається тривала робота м'ясорубки вхолосту, тому що під час сухого тертя ножі та ножові решітки швидко виходять із ладу.
М'ясорубка Т8-12 (фірма ГНМН, Італія) (рис. 5.3). Призначена для оброблювання різних сортів м'яса, в тому числі з великою кількістю сухожиль. М'ясорубка кріпиться на столі за допомогою болтів. Вона складається із корпусу, камери обробки, завантажувального пристрою з запобіжним кільцем, робочих органів, привідного механізму, пускової апаратури.
Розвантажувальним пристроєм машини є торець камери обробки з зовнішньою різьбою, на яку нагвинчується затискна гайка.

Рис. 5.3. М'ясорубка Т8-12:
1— завантажувальний бункер; 2 — затискна гайка; 3 — решітка; 4 — кнопки пуску та 5 — привід внутрішньому боці робочої камери за допомогою шпонки.
Машина має лінійний понижувальний редуктор, низьковольтний (24 В) перемикач, двигун, який охолоджується за допомогою лопаті вентилятора, надійний тепловий захист двигуна. Всі робочі елементи машини (корпус, шнек, ущільнювальні кільця, самозагострювальні ножі, решітки) виконано із нержавіючої сталі.
Шнек машини має форму однозахідного гвинта зі змінним кроком витків, що забезпечує проштовхування м'яса до робочих органів.
Разом зі шнеком обертається тільки двосторонній ніж. Підрізна решітка, решітка з отворами діаметром 5 мм та ущільнювальні кільця закріплюються на вимкнення; Двосторонній ніж і підрізну решітку вставляють у бік напрямку обертання шнека, тобто проти годинникової стрілки.
Принцип дії. Продукт, який захоплюється шнеком, проходить через отвори підрізної решітки до двостороннього ножа, яким розрізається на частинки, потім проштовхується через отвори решітки і виходить у вигляді готового фаршу.
Правила експлуатації та техніки безпеки машини Т8-12 аналогічні правилам експлуатації машини «Вгаип».
М'ясорубка МЗМ-82М (рис. 5.4). Складається із литого алюмінієвого корпусу, у верхній частині якого розташована завантажувальна чаша з запобіжним кільцем, власне м'ясорубки, приводу, робочих органів. Машина кріпиться до стола болтами. Для охолодження двигуна бічні та задні облицювання машини мають жалюзійні решітки.
Для поліпшення подавання м'яса до робочих органів, виключення обертання його разом зі шнеком внутрішня поверхня власне м'ясорубки має гвинтову нарізку. Розвантажувальним пристроєм машини є торець власне м'ясорубки з зовнішньою різьбою, на яку нагвинчується затискна гайка.
Робочі органи машини: шнек, підрізна решітка, два двосторонні ножі, три решітки з отворами діаметром 3, 5 і 9 мм, ущільнювальні кільця. У зібраному стані ножі та решітки щільно притиснуті одне до одного кільцями та затискною гайкою.
Шнек, призначений подавати м'ясо до ножів та решіток, має форму однозахідного гвинта зі зменшеним кроком витків.

Рис. 5.4. М'ясорубка МЗМ-82М:
а — загальний вигляд: 1 — корпус; 2 — розвантажувальний пристрій; З — затискна гайка; 4 — запобіжне кільце зі штовхачем; 5 — завантажувальна чаша; 6 — апаратура пуску; б — набір ножів і решіток: 1 — підрізний ніж; 2 — двосторонній ніж (решітка); З — решітка з великими отворами; 4 — решітка з малими отворами; 5 — ущільнювальне кільце; в — затискна гайка.
Двосторонні ножі вставляють різальною кромкою у бік напрямку обертання шнека, тобто проти годинникової стрілки. Решітки можна вставляти будь-яким боком. Шнек, ножі та решітки фіксуються важільним пристроєм.
Знімна завантажувальна чаша та гільза дають можливість швидко розбирати м'ясорубку для санітарного оброблення.
Принцип дії м'ясорубки МЗМ-82М аналогічний принципу дії попередньо розглянутих м'ясорубок.
Правила експлуатації. Перед початком роботи перевіряють санітарно-технічний стан машини, шнек, хвостовик, палець, ножі та решітки змащують харчовим несолоним жиром. Потім у корпус м'ясорубки вставляють шнек так, щоб він своїм хвостовиком увійшов у муфту привідного вала.
Забороняється сильно притискати м'ясо до шнека нітовха-чем, оскільки це може спричинити перевантаження двигуна, використовувати машину для подрібнювання сухарів, тому що це призводить до зношування робочих органів, замість штовхача користуватися іншими предметами, використовувати машину, якщо в завантажувальній чаші немає запобіжного кільця.
Не допускається робота машини вхолосту, бо це зменшує термін її служби.
М'ясорубка МЗМ-105М. Будова та принцип дії м'ясорубки МЗМ-105М (рис. 5.5) аналогічна м'ясорубці МЗМ-82М, але має деякі конструктивні особливості та більшу продуктивність, більшу потужність, більші габаритні розміри (див. технічні характеристики). Вона має станину, виконану у вигляді тумби. Всередині станини встановлено електродвигун та кли-нопасову передачу (відсутній редуктор). М'ясорубка встановлюється на підлозі. Збоку розташовані кнопки керування, лампа, що сигналізує про ввімкнення машини в електромережу. Для виштовхування шнека передбачено рукоятку.
М'ясорубки МЗ-2-70, МЗ-2-150, ММП-ІІ-І (рис. 5.6). Приводяться в дію універсальними приводами відповідно ПУ-0,6, ПМ-1,1, П-ІІ-І і аналогічні за будовою м'ясорубці МЗМ-82М. Правила експлуатації м'ясорубок МЗМ-105М, МЗ-2-70, МЗ-2-150, ММП-ІІ-І такі самі, як м'ясорубки МЗМ-82М, але у м'ясорубок МЗ-2-70, МЗ-2-150 і ММП-ІІ-І необхідно перевіряти надійність закріплення корпусу м'ясорубки до приводу.

Рис. 5.6. М'ясорубка ММП-ІІ-І:
1 — підрізна решітка; 2 — решітки; 3 — ущільнювальне кільце; 4 — затискна гайка; 5 — стальний палець; 6 — двосторонній ніж, 7 — шпонка; 8 — штовхач; 9 — завантажувальний бункер; 10 — шнек; 11 — спіральні ребра
Технічні характеристики м’ясорубок
-
Найменування показника
Марка машини
МЗ-82М
мзм-
105М
ЕМШ-35/135
Вгаїш
Т8-12
МЗ-2-150
Потужність, кВт
1,1
2,2
0,16
1,3
0,75
—
Розміри решітки,
мм
82
105
54
55
60
82
Продуктивність, кг
250
400
35
70
50
200
Фаршмішалка
Фаршмішалка МЗ-8-150 (рис. 5.7). Входить у комплект універсального приводу ПМ-1Д і складається із циліндричного корпусу, завантажувального бункера з запобіжною хрестовиною, розвантажувального пристрою, робочого вала з лопатями. Лопаті на робочому валу розташовані під кутом 30°, що забезпечує переміщення продукту по робочій камері до розвантажувального вікна.
Для зручності санітарної обробки торець робочої камери має кришку, на якій розташований сегментний розвантажувальний пристрій з рукояткою.

Рис. 5.7. Фаршмішалка МЗ-8-150:
1 — заслінка; 2 — відкидний болт; З — кришка; 4 — лоп
ать; 5 — захисна хрестовина; в — завантажувальна місткість; 7 — корпус; 8 — хвостовик; 9 — камера
Принцип дії. Рух робочому валу з лопатями передається від вихідного вала універсального приводу. Лопаті рівномірно перемішують усі компоненти фаршу, насичують їх повітрям і переміщують фарш до розвантажувального вікна.
Правила експлуатації. Перевіривши заземлення та справність пускової апаратури універсального приводу, корпус фаршмішалки надійно закріплюють у його горловині. Потім вставляють робочий вал, змастивши його кінці харчовим жиром, закріплюють кришку гвинтами, закривають заслінку розвантажувального вікна, перевіряють наявність запобіжної решітки та роботу фаршмішалки на холостому ходу. Надійність закріплення корпусу перевіряють погойдуванням його ліворуч і праворуч. Якщо для погойдування треба прикладати зусилля, то вал увійшов у зчеплення з приводом.
Фаршмішалку завантажують на ходу продуктом у кількості 7 кг. Недовантаження погіршує якість перемішування, а перевантаження призводить до викидання фаршу із робочої камери. Тривалість перемішування — 60 секунд. Триваліше перемішування погіршує якість фаршу, оскільки відшаровується жир. Не дозволяється працювати з машиною, яка не має запобіжної хрестовини. Забороняється проштовхувати фарш у робочу камеру руками та розвантажувати його руками за ввімкненої машини.
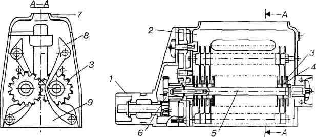
Рис.5.8. Розпушувальний механізм
Розпушувальний механізм МРМ-15:
I — основа; 2 — ножі-фрези;З — гребінка; 4 — кришка,5 — завантажувальнийбункер; 6 — зубчасто-циліндричний редуктор; 7 —клинопасова передача; 8 —черв'ячний редуктор; 9 —електродвигун; 10 — корпус;II — шнур з вилкою; 12 —кнопки керування
Для безпечної роботи корпус розпушувача закритий кришкою з мікроперемикачем (він блокує вимикач, не дозволяючи ввімкнути машину з відкритою кришкою).
Робочими органами механізму служать два паралельно розташовані вали, на які насаджені дискові ножі-фрези та дві гребінки. Ножі-фрези вставляють у каретку, яка складається із двох частин, з'єднаних петлями та засувками. Під час обертання однієї половини каретки відносно іншої під кутом 90° вона роз'єднується на дві половини. Ножі-фрези обертаються назустріч одні одним. Фрези надрізають шматки м'яса, а гребінки спрямовують їх та попереджують намотування м'яса на фрези. Всі деталі, що стикаються з продуктом, виконані зі сталі.
Привідний механізм розпушувача складається із електродвигуна, клинопасової передачі, черв'ячного редуктора й пари циліндричних шестерень.
Принцип дії. Нарізані порційні шматки м'яса захоплюються ножами-фрезами. Зубці фрез одного вала входять у простір між зубцями фрез іншого вала, в результаті чого на поверхні шматків з обох боків утворюються дрібні насічки у вигляді борозенок. При цьому розрушується сполучна тканина і шматок м'яса збільшується майже втричі.
Рис. 5.9. Механізм МРП-ІІ-І для розпушування м'яса:

1 — корпус; 2 — каретка; 3 — фреза; 4 — кільце; 5 — вал; 6 — зубчасте олесо;
7 — завантажувальний бункер; 8 — гребінка; 9 — розвантажувальний отвір
Механізм МРП-ІІ-І (рис. 5.9). За конструкцією він аналогічний механізму МРМ-15, але працює від
П-ІІ-І і зубці фрез розташовані по гвинтовій лінії, що сприяє більш рівномірному нанесенню насічок на всю поверхню і плавному протягуванню продукту між ножовими блоками.
Правила експлуатації розпушувальних механізмів. Перед початком роботи перевіряють санітарно-технічний стан машини, стан ножів-фрез, тому що затуплені фрези під час нанесення насічок видавлюють сік із м'яса, і воно після теплової обробки стає жорстким. Фрези заточують вручну напилком. Потім у корпус машини вставляють каретку з ножами-фрезами і гребінками, закривають каретку корпусу, перевіряють роботу механізму на холостому ходу. Машину завантажують на ходу.
Забороняється працювати на машині зі знятою кришкою, проштовхувати застряглі шматки м'яса руками, залишати ввімкнену машину без нагляду.
Після закінчення роботи машину вимикають, розбирають, промивають гарячою водою. Робочі органи просушують і змащують харчовим жиром.
Використана література
“Громадське харчування в умовах комерціалізації і приватизації”, збірник наукових праць. Київ, КДТЕУ, 1994 р.
“Менеджмент гостинничного и ресторанного обслуживания», навчальний посібник, Москва, 1997 р.
Аграновский Е.Д. и др. «Организация производства в общественном питании», учебное пособие, Москва, 1990 г.
Бутєйкіс Н.Г. “Организация производства предприятий общественногопитания», учебное пособие, Москва, 1990 г.
Усов В.В. «Организация обслуживания в ресторанах». Москва, 1990 г.
В.С. Доцяк Українська кухня, Львів 1998 р.
С.А. Шалімов, О.А. Шадура «Сучасна Українська кухня» вид.4-те, Видавництво Техніка» Київ, 1981 р.
В.С. Доцяк, Українська кухня технологія приготування страв. Підручник, 1995 р.
Н.П. Саєнко, Т.Д. Волошенко Устаткування підприємств громадського харчування , Київ, 2005 р.
О.М. Олійник Основи фізіології, санітарії та гігієни харчування , Львів, 1998 р.