Цукрове виробництво
1
Зміст
Ненормальності при випарюванні соку їх дія, заходи по усуненню.
Якість витоків І кристалізації. Режим уварювання утфелю II кристалізації.
Регенерація активного гранульованого вугілля.
Одержання пресованого цукру-рафінаду на автоматизованих лініях.
Накреслити та описати апаратурно-технологічну схему цукрорафінадного виробництва з двома рафінадними кристалізаціями.
1. Ненормальності при випарюванні соку їх дія, заходи по усуненню
При згущуванні в соку відбуваються зміна рН, розкладання сахарози і моносахаридів, утворення фарбувальних речовин і випадання опадів. Ці зміни особливо інтенсивно протікають при випаровуванні нестійких до температурної дії соків.
Зміна рН. Зазвичай при згущуванні соку розкладається сахарози 0,04-0,06% і редукуючих цукрів близько 30% до їх маси, внаслідок чого утворюються органічні кислоти, що знижують рН соку. Зниження рН не закінчується у випарній установці, а продовжується в продуктовому відділенні. Спостережуване на практиці надмірне пониження рН соку при випаровуванні обумовлене незавершеністю хімічних реакцій на дефекації, що пов'язане з малою тривалістю дефекації, низькою температурою процесу і переробкою буряка з високим вмістом амидів і редукуючих речовин. На зниження рН соку при згущуванні великий вплив робить буферна ємкість, яка, зокрема, залежить від залишкової лужності соку II сатурації.
Для підтримки у випарній установці оптимального рН соку (близько 8) в нього перед згущуванням можуть вводити кальциновану соду, сульфіт натрію або калія, тринатрійфосфат. Збільшення рН соку при випаровуванні буває рідко, тільки коли сік володіє високою натуральною лужністю. Якщо його пересатурировати на II сатурації, то лужні карбонати калія або натрію переходять в бікарбонати. Коли такий сік сатурується то бікарбонати знов перетворюються на лужні карбонати і рН збільшується.
Якщо при згущуванні соку відбувається підвищення рН, то необхідно визначити його оптимальне значення на II сатурації і не допускати пересатурування соку.
Наростання
кольоровості. Кольоровість в соку
наростає в результаті розкладання
редукуючих речовин, їх взаємодії з
аміносполуками і карамелізації сахарози.
Інтенсивність утворення фарбувальних
речовин залежить від рН, температури,
концентрації реагентів, тривалість
процесу наявності іонів заліза і ін.
Наприклад, найбільший вихід фарбувальних
речовин на одиницю моносахаридів, що
розклалися, відбувається при рН 8.
Збільшення концентрації початкових
реагентів (аміносполук і редукуючих
речовин) в соку в
приводить до підвищення кольоровості
в
раз, оскільки меланоиднова реакція, що
обумовлює переважне наростання
кольоровості, є реакцією другого порядку.
Іони заліза прискорюють утворення
фарбувальних речовин в 2-3 рази.
Одним з найбільш ефективних способів гальмування реакцій утворення фарбувальних речовин у випарній установці є повне розкладання редукуючих речовин в процесі очищення соку і мінімальне розкладання сахарози при випаровуванні.
Важливе значення мають також підтримка оптимального рівня соку в кип'ятильних трубах і рівномірний розподіл гріючої пари в об'ємі парових камер випарних апаратів, що оберігає поверхні нагріву від пригорання цукру, особливо в місцях введення пари.
Утворення опадів. Осад при згущуванні соку випаровуванням може утворитися по наступних причинах.
У сиропі, що згущує, збільшується концентрація багатьох солей кальцію (в порівнянні з соском) і вони, знаходячись в пересиченому стані, випадають в осад.
В процесі згущування соку можуть продовжуватися реакції розкладання органічних кислот, зокрема оксамінової кислоти і алантоїну, що не закінчилися в сіковідчисному відділенні з утворенням оксалата кальцію:



;

Оксамінова Щавлева
кислота кислота




.

Оксалат кальцію
(у осіданні)
При
згущуванні соку, пересатурированного
на II сатурації, бікарбонат кальцію,
розкладаючись, утворює нерозчинний
:

(У осіданні)
Продовжуються реакції обміну між розчинними солями кальцію і карбонату калія або натрію з утворенням нерозчинного карбонату кальцію:

(У осіданні)
Невелика частина опадів (до 20%), що утворюються, залишається в сиропі у вигляді суспензій, а остання осідає на поверхнях нагріву у вигляді накипу. Наявність в I корпусі накипи, що складається переважно з, свідчить про порушення технологічного режиму на II сатурації.
По корпусах випарної установки накип розподіляється таким чином (у % до загальної маси): I – 15, II – 25-30, III – 40-50, IV – 10. Верхня частина кип'ятильних труб випарних апаратів покривається накипом швидше, ніж нижня.
У складі накипу містяться до 60%, кальцієвих солей органічних кислот (в основному щавлевою), а також кальцієві солі кремнієвої кислоти, карбонати кальцію і магнію, невелика кількість фосфатів, сульфатів і ін. Найбільш щільний шар накипу утворюють кальцієві солі кремнієвої кислоти. Ці солі майже не розчиняються в розчинах соляної кислоти.
У міру збільшення шаруючи накипу на поверхні нагріву продуктивність випарної установки знижується. Це приводить до отримання рідшого сиропу. Коли шар накипи в I корпусі досягне товщини 0,1-0,5 мм, а в останніх – 2-3 мм, проводять її видалення за допомогою хімічних реагентів (виварювання випарної установки). Для цього випарні апарати по черзі відключають від сокових комунікацій (порядок руху пари по корпусах залишається незмінним), звільняють від соку, заповнюють 6-12%-ным розчином кальцинованої соди (у I і II корпусах на 1/3 висоти кип'ятильних труб, в III і IV – на 1/2) і розчин кип'ятять протягом 150-240 хв.
В результаті реакції з кальцинованою содою важкорозчинний в розбавленому розчині соляної кислоти сульфат кальцію та інші його солі перетворюються на легкорозчинні солі (карбонат кальцію і ін.).

(У осіданні) (У осіданні)





(У осіданні)

(У осіданні)
Після кип'ячення розчину соди випарний апарат звільняють, промивають водою, заповнюють 1,0-2,5%-ным розчином соляної кислоти і кип'ятять протягом 20-50 хв. Що утворився при обробці содою карбонат кальцію легко розчиняється в соляній кислоті, утворюючи хлорид кальцію:

(У осіданні)
Відпрацьований розчин соляної кислоти з розчиненим в ній накипом зливають, випарний апарат ретельно промивають водою до нейтральної реакції і включають в робочу схему.
Очищення випарних апаратів від накипу проводять, не перериваючи процесу: спочатку обробляють останній корпус, потім передостанній і так до першого. Концентрація соди і кислоти в розчинах, вживаних для очищення, починаючи від I корпусу до останнього, збільшується: для I корпусу 6%-ный розчину соди, для IV – 12%-ный, для I корпусу 1,0%-ный розчину кислоти, для IV – 2,5%-ный.
Накип, що містить багато силікатів, рекомендується видаляти кип'яченням з розчином гідроксиду калію, а накип з домішкою згорілого цукру – розпушувати і промивати лужним розчином перманганату.
При великому змісті оксалату кальцію і товстому шарі накипи кип'ячення з содою слід проводити двічі.
При кип'яченні з соляною кислотою для захисту труб від корозії застосовують інгібітори, такі, як дібензилсульфоксид. Для зменшення інтенсивності освіти накипи на поверхнях теплообміну випарних апаратів необхідно:
ретельно дотримувати технологічні режими проведення I і II сатурації, що в основному відноситься до строгого контролю за рН соку;
зберігати
високе значення рН (11,2-11,6) соку I сатурації
при використанні вапняку з підвищеним
вмістом
;
зберігати оптимальний рН соку II сатурації і достатню тривалість процесу (10 мін) для усунення пересичення карбонатів;
витримувати сік II сатурації в дозревателе при інтенсивному перемішуванні.
Ефективний засіб боротьби з освітою накипи в теплообмінній апаратурі – використання ультразвука. Його дія зводиться до безперервного порушення процесу кристалізації солей, особливо в місцях осадження кристалів на поверхні нагріву. Під впливом ультразвуку спостерігається або припинення освіти накипи (в результаті порушення умов кристалізації), або це розпушування і відшарування.
Перспективно також внесення поверхнево-активних речовин до соку перед випаровуванням.
Для зниження накипоутворення застосовують також обробку соку перед випаровуванням магнітними полями. Випробування такого способу на Дондюшанськом цукровому заводі показало, що електромагнітна обробка дозволяє значну частину солей кальцію виводити з соку у вигляді шламу.
2. Якість витоків І кристалізації. Режим уварювання утфелю II кристалізації
Метою уварювання утфеля II кристалізації є виділення кристалічного цукру з першого і другого відтіку утфеля I. Ці відтіки є насиченими розчинами сахарози при температурі уварювання утфеля, доброякісність першого відттіку коливається в інтервалі 81-84%, другого – 87-92%. Умови кристалізації сахарози в утфелі II принципово не відрізняються від умов кристалізації в утфелі I, тільки проводиться вона при більшому пересиченні міжкристального розчину і збільшується маса цукрової пудри на приманку.
Цикл кристалізації утфеля II, як і I, ділиться на чотири стадії: згущування, заклад кристалів, нарощування кристалів і остаточне згущування утфеля.
На початку
уварювання у вакуум-апарат забирають
чистіший другий відтікав утфеля I, який
для розчинення дрібних кристалів і
негайного скипання у вакуум-апараті
заздалегідь підігрівають в збірці до
78-80 °С. Після покриття поверхні нагріву
вакуум-апарата оттеком включають подачу
пари в гріючу камеру і при мінімальному
залишковому тиску 0,015-0,017 Мпа відтікав
згущують до пересичення (
).
Потім температуру відтіка трохи
підвищують (прикривають повітряний
вентиль) і в розчин вводять цукрову
пудру (80-120 г на вакуум-апарат місткістю
40 т утфеля). Після цього 2-3 підкачками
закріплюють кристали і при мінімальному
залишковому тиску проводять нарощування
при безперервній підкачці першого
відтіка утфеля I. Вторинні кристали, що
утворюються в цей час, розчиняють
підкачками гарячої води. Оттек
на уварювання подають послідовно по
низхідній доброякісності, спочатку
беруть другий, перший, потім аффінационний
відтік і розчин, отриманий від промивки
сит в центрифугах.
На початку уварювання температуру утфеля рекомендується підтримувати близько 74 °С, в кінці уварювання – 65-70 °С.
Утфель II згущують до змісту сухих речовин 93%, при спуску з вакуум-апарата в приймальню утфелезмішувача його обприскують гарячою водою для зниження коефіцієнта пересичення міжкристального розчину до 1,03-1,06. В кінці уварювання утфеля II доброякісність міжкристального розчину знижується до 77-78 %.
Розчин, що утворився при пропарюванні вакуум-апарата, відводять в ту ж утфелезмішувач, що і утфель.
Повний цикл уварювання утфеля II при доброякісності уварюваної маси 85-87% складає приблизно 300 мін і при доброякісності 83-84% – 330 хв. З них на допоміжні операції (набір набряку а, спуск утфеля і пропарювання вакуум-апарата) витрачається близько 25 хв.
Зразковий склад що поступає на центрифуги утфеля II характеризується наступними показниками:
|
Показник % |
Утфель |
Цукор |
Перший відтікав |
|
СХ |
79,3 |
95,3 |
63,3 |
|
СВ |
90,5 |
98,0 |
81,7 |
|
Дб |
87,6 |
97,5 |
77,5 |
|
Кр |
43,6 |
– |
– |
Утфель II центрифугують в центрифугах циклічної дії в гарячому стані відразу посіє спуску його в утфелезмішувач. Цукор пробілюють чистою гарячою водою температурою 70-95°С в кількості близько 1% до маси утфеля. При центрифугуванні відбирається два відтіка з різницею по доброякісності 4-5%. Повний цикл центрифугування при максимальній частоті обертання ротора 1480 мін-1 складає 7-9 хв.
3. Регенерація активного гранульованого вугілля
Вугілля в результаті термічної обробки майже повністю відновлює свої адсорбційні властивості. Процес регенерації складається з послідовного промивання вугілля водою і прожарення без доступу повітря. Регенерацію вугілля першої і другої груп адсорберів доцільно проводити роздільно.
Для здійснення регенерації промите вугілля направляють в пропарник, аналогічний по конструкції адсорберу періодичної дії, і промивають киплячою водою, циркулюючою через шар вугілля по замкнутому контуру. Частина адсорбованих вугіллям речовин при цьому вимивається водою. Відпрацьовану воду спускають з пропарника в каналізацію, а вугілля звільняють від води за допомогою пари і направляють в пекти на регенерацію.
Для термічної регенерації застосовується барабанна, що обертається, пекти, така, що працює на рідкому паливі, або шахтна пекти з гравітаційним рухом вугілля, в якій як паливо використовується природний газ.
Барабанна пекти (мал. 1) є циліндровим барабаном, що обертається, 2, встановлений під кутом 1-1,5° у бік топки. Одним кінцем барабан примикає до топки, яка складається з камери згорання 4 і камери змішення 3. Іншим кінцем барабан входить в камеру для виведення газів.

Мал. 1. Барабанна пекти для сушки і прожарення активного гранульованого вугілля
Внутрішня поверхня барабана і топки викладена вогнетривкою цеглиною.
Регенерація здійснюється за принципом протитечії при безпосередньому контакті вугілля і розжарених (750-850 °С) топкових газів. Вологе вугілля, що поступає з пропарника, рівномірно подається дозатором 1 в барабан 2 і в результаті його обертання переміщається назустріч топковим газам, розбавленою водяною парою. При цьому органічні нецукора, адсорбовані вугіллям, згорають і поверхня вугілля звільняється. Прожарене вугілля вивантажується на вібротранспортер 5, охолоджується водою і просівається на ситі для відділення пороши. Втрати вугілля при регенерації і відсіюванні складають не більше 7% до його маси.
4. Одержання пресованого цукру-рафінаду на автоматизованих лініях
Розвиток пресового способу виробництва цукру-рафінаду сприяв створенню високопродуктивних автоматичних ліній, в яких об'єднані процеси пресування, сушки, фасовки і упаковки.
Потокова лінія для вироблення цукру-рафінаду в пачках. Лінія (мал. 2) складається з пресово-сушарного агрегату (ПСА) і колочно-пакувальної машини.

Мал. 2. Схема автоматизованої лінії виробництва цукру-рафінаду з використанням пресово-сушарного агрегату і колочно-пакувальної машини
Лінія включає дисковий прес 1, сушильний-охолоджувальну установку 3, транспортний пристрій 6, вентилятор 5 для сушки цукру, вентилятор 7 для охолоджування цукру і підігрівач повітря 4.
Сушильний-охолоджувальна установка довжиною 4,9 м, шириною 2,7 м і заввишки 3,2 м має два яруси. У ній безперервно переміщаються 43 підвісних вагончика типу етажерки. Спочатку вагончики проходять через верхній ярус, потім опускаються в нижній і на протилежному кінці знову піднімаються на верхній ярус.
Рафінадна кашка з бункера 2 поступає в прес-форми. Бруски, що відпресували, з диска преса стикаються на верхню стрічку пульсуючого транспортера і, досягнувши сушильний-охолоджувальної установки, укладаються на полки вагончиків.
Вагончики є рами з полицями (44 в кожній рамі), розташованими одна над іншою із зазором для проходження повітря. На одній полиці розміщується 56 брусків.
Сушка цукру-рафінаду проводиться в другому ярусі сушарки протитечією повітря, нагрітого до 85 °С, а охолоджування – в нижньому ярусі холодним повітрям. Цикл сушки 420 хв.
Висушені бруски цукру-рафінаду виштовхуються з підвісних вагончиків на нижню гілку сталевої стрічки транспортера і за допомогою автомата 14 поступають в накопичувач 13. Звідти стрічковим транспортером 12 подаються до колочної машини 10, розколюються на шматочки і потім пакувальними машинами укладаються в картонні коробки, виготовлені автоматом 11. Наповнені коробки по стрічковому транспортеру 5 доставляються до автомата 9 для обклеювання кришкою. Готові пачки комплектуються в збірні пакети.
Виробнича потужність автоматизованої лінії при упаковці в пачки масою 1 кг складає 30 т/доб. Міцність цукру-рафінаду 2,9–3,4 Мпа.
В даний час вітчизняні цукрорафінадні заводи оснащуються більш довершеними пресово-сушарними агрегатами К.5-ПРА в комплекті з колочно-пакувальними машинами. Виробнича потужність їх 30 т/доб цукру-рафінаду.
На деяких заводах встановлені автоматизовані лінії фірми «Шамбон» (Франція) для пресування, сушки і упаковки цукру-рафінаду продуктивністю 50 і 100 т/доб, оснащені роторними пресами.
Апаратурно-технологічна схема лінії фірми «Шамбон» приведена на мал. 3.
Рафінадна кашка вологістю 1,6-1,8% подається через бункер 1 в наповнювальну коробку роторного преса 2, де підтримується постійний рівень кашки, що забезпечує рівномірну подачу її в прес-форми. У міру обертання ротора матриці заповнюються кашкою, підводяться під опорну рухому плиту, і кашка пресується в брикети. Брикети укладаються в касети, піднімаються елеватором 6 по висхідній сушильній шахті 7 вгору, проходять по горизонтальному тунелю 5 і спускаються по низхідній шахті, що охолоджує, 4.

Мал. 3. Схема автоматизованої лінії виробництва цукру-рафінаду фірми «Шамбон»
На одній касеті укладається 6 кг цукру-рафінаду, зазор між касетами для проходу повітря складає 54,6 мм.
Брикети висушуються гарячим повітрям при температурі 72-75 °С у висхідній шахті і горизонтальному тунелі, а в другій половині низхідної шахти охолоджуються потоком холодного повітря. Цикл сушки 30 хв.
З шахти, що охолоджує, 4 касети з цукром подаються транспортером до механізму укладання 3, де брикети групуються в три прямокутники і переміщаються в зону укладання в коробки.
Присоси укладальника, що знаходяться під розрідженням, переносять один ряд брикетів в коробку, вакуум відключається, і брикети залишаються в коробці. Операція повторюється ще 2 рази, і коробка масою 1 кг нетто виявляється заповненій. У ній поміщається 180 брикетів – в три ряди по 60 шт.
Коробки з брикетами цукру-рафінаду по стрічковому транспортеру 8 подаються до машини 9, де закриваються кришками. Готові пачки упаковуються в групові пакети (у одному пакеті 20 пачок масою 1 кг або 40 пачок масою 0,5 кг).
Разом з випуском цукру-рафінаду в пачках масою 0,5 і 1 кг виробляється також кусковий пресований цукор-рафінад в дрібній фасовці з розміром брикетів 10x22х30 мм, загорнутий в окремі пакетики по два брикети загальною масою 15±1 р. Протягом 1 міни автомат завертає 150 пакетиків.
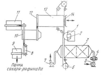
5. Накреслити та описати апаратурно-технологічну схему цукрорафінадного виробництва з двома рафінадними кристалізаціями
У рафінадному відділенні бурякоцукрового заводу застосовується схема з двома рафінадними кристалізація мі (мал. 4), що є продовженням схеми продуктового відділення бурякоцукрового заводу.
Цукор-песок
Цукор-песок
вода
вода
промои
Приготування клерсу
Приготування сиропу І рафінадної кристалізації
Приготування сиропу ІІ рафінадної кристалізації




Фільтруванняе клерсу
Фільтрування клерсу
Фільтрування клерсу


Знебварвлення
клерсу
Знебварвлення
клерсу
Знебварвлення
клерсу
Ультра-марин


Уварювання утфеля І рафінадної кристалізації
Уварювання утфеля ІІ рафінадної кристалізації
Підсинювання клерсу
Клерс
Клерс
Центрифугування утфеля І рафінадної кристалізації
Центрифугування утфеля ІІ рафінадної кристалізації
перший оттек
другий оттек
другий оттек
перший оттек
в продуктовое отделение
Змішування і пресування рафінадної кашки
Висушування, охолодження та колка сахару-рафінаду
Фасовка та упаковка Сахару-рафінаду
Пресованный сахар-рафінад

Мал. 4. Технологічна схема цукрорафінадного відділення бурякоцукрового заводу
По цій схемі пробілений цукор-пісок утфеля I кристалізації прямо з-під центрифуг без сушки і обліку передають на приготування сиропу I рафінадної кристалізації. Туди ж направляють другий відтікав цього утфеля і відходи, отримані при пресуванні і колці цукру-рафінаду. Для знебварвлення сиропу I рафінадної кристалізації використовують свіже порошкоподібне активне вугілля, яке після відділення від сиропу подають на знебварвлення сиропу II рафінадної кристалізації. Перший відтікав утфеля I рафінадної кристалізації і другою відтікав утфеля II рафінадної кристалізації забирають на приготування сиропу II рафінадної кристалізації, а перший відтікав II рафінадній кристалізації направляють в продуктове відділення на уварювання утфеля I кристалізації. Відпрацьоване активне вугілля без промивки у вигляді суспензії додають до нефільтрованого соку II сатурації.
Вологий цукор I і II рафінадних кристалізації змішують, просівають для відділення грудок, пресують в бруски, сушать, розколюють на шматочки, фасують і упаковують.
При необхідності можна виводити рафінований цукор-пісок. Тоді цукор I і II рафінадних кристалізації замість клерсу пробілюють водою і висушують в сушильний-охолоджувальній установці.
Укорочена технологічна схема рафінування цукру без продуктових утфелів, коли перший відтікав утфеля II рафінадної кристалізації переробляється разом з бурякоцукровими утфелями, має певні переваги: знижуються втрати сахарози від розкладання, підвищуються доброякісність утфеля I кристалізації в продуктовому відділенні, а отже, і якість цукру-піску, використовуваного на приготування сиропу I рафінадної кристалізації.
Після закінчення переробки буряка рафінадне відділення бурякоцукрового заводу продовжує працювати на цукрі-піску, що привіз, по схемі з двома рафінадними і трьома продуктовими кристалізаціями, виконуючи всі вимоги по веденню технологічного режиму цукрорафінадного виробництва. Для отримання утфелів продуктових кристалізації використовують устаткування продуктового відділення, що звільнилося.