Оборудование для обработки овощей
Машины для мытья овощей
На предприятиях общественного питания процессу мытья подвергаются овощи, фрукты, мясо, рыба, столовая и кухонная посуда, столовые приборы, инвентарь, оборотная и функциональная тара. Процесс мытья осуществляется двумя способами – гидравлическим или гидромеханическим. Гидравлический способ характеризуется взаимодействием воды на загрязнённую поверхность, гидромеханический – одновременным воздействием воды и рабочих органов моечной машины (моющих щёток, роликов, лопастей и т.п.).
Эксплуатируемые в настоящее время моечные аппараты можно разделить на два вида: аппараты для мытья овощей и посудомоечные аппараты.
Оборудование для мытья овощей.
Вибрационные машины.
Корпус машины прикреплён к раме с помощью амортизаторов, которые позволяют корпусу машины совершать колебательные движения, причиной которых является децинтровка вала, благодаря шнеку каждый клубень в рабочей камере продвигается по винтовой траектории. Пройдя по винтовым каналам вдоль всей рабочей камеры, овощи высыпаются через разгрузочный лоток для дальнейшей обработки.
На предприятиях в поточных линиях используется вибрационная моечная машина ММКВ-2000.
Лопастные машины.
Рабочей камерой является неподвижный полуцилиндр, в центре которого размещён вращающийся вал с лопастями, которые перемешивают клубни и продвигают их вдоль камеры, от загрузочного к выгрузочному люку. Для лучшей обработки продукта рабочая камера состоит из трёх отсеков: первичной мойки и ополаскивания.

Рис. 1. вибрационная моечная машина ММКВ-2000
1 – загрузочный бункер; 2 – рабочая камера; 3 – шнек; 4 – приводной вал; 5 – грузы – дебалансы; 6 – короб; 7 сборник
Примером лопастной машины служит А9-КЛА/1, предназначенная для мойки корнеплодов.

Рис. 2. Схема мытья овощей в машине с перемешивающими лопастями.
3. Барабанные овощемоечные машины
В этих машинах вращается сам корпус, в который через специальные устройства загружается вода. Движение овощей осуществляется за счёт наклона барабана. Частота вращения барабана выбирается такой, чтобы каждый клубень, поднявшись по стене барабана вверх, скатывался затем вниз – т.е. совершая максимальное количество движений.
По такому принципу работает моечная машина А9-КМ-2.

Рис. 3. Схема мытья овощей в барабанной овощемоечной машине
Аппараты ИК – нагрева
Физическая сущность механизма нагрева пищевых продуктов инфракрасными лучами заключается в следующем.
Большинство пищевых продуктов содержит в своей пористой структуре значительное количество свободной воды, которая интенсивно поглощает ИК- излучение при длинах волн λ = 0,77….3 мкм, а при λ = 1,4 мкм поглощение достигает 100%. В то же время влага в пористой структуре пищевых продуктов распределена неравномерно по объёму, поэтому ИК- излучение может проникать в них на значительную глубину, что при соответствующем выборе толщины слоя обрабатываемого продукта обуславливает объёмный характер его нагрева. Максимальная температура продукта при ИК – нагреве обычно достигается на некоторой глубине, зависящей от структуры и влагосдерживания продукта, а так же длины волны излучения.
Таким образом ИК- излучение с длиной волны λ = 0,77….3 мкм используется в технологических процессах, связанных с хорошим поглащением этого излучения водой, например, размораживание продукта, сушка.
Благодаря объёмной проникающей способности ИК-излучение при λ = 0,77….3 мкм, оно также используется для приготовления продуктов. Например, в мясо это излучение проникает на глубину до 4 мм, причём на длины волн от 1,04 до 2,9 мкм приходится свыше 80% энергии лучистого потока.
Проницаемость продуктов быстро снижается с увеличением длины волны ИКЛ. Поэтому излучение с λ = 3…6 мкм поглощается поверхностью продукта, т.е. практически происходит процесс жарки продукта. Положительным свойством ИК-излучения является получение равномерной по цвету и толщине корочки поджаривания. Недостатки способа: не все продукты можно подвергать ИК-нагреву; при высокой плотности излучения возможен «ожог» продукта.
Аппараты с ИК-нагревом классифицируются по следующим признакам: принципу действия (периодического или непрерывного) и по виду используемых излучателей (светлые или тёмные).
Общим элементами аппаратов с ИК-нагревом являются: рабочие камеры, ИК-излучатели, транспортирующий орган, обеспечивающий постоянное (или шаговое) движение продукта в рабочей камере, приборы регулирующие температурный режим в камере.
Техническая характеристика аппаратов инфракрасного нагрева периодического действия
|
Показатели |
Единица измерения |
ПШСМ-14 |
ШР-2 |
ГЭ-3 |
ГЭ-4 |
|
Мощность нагревателей |
кВт |
- |
- |
1,65 |
- |
|
Мощность электродвигателя |
кВт |
0,025 |
0,18 |
0,08 |
- |
|
Количество нагревателей |
шт |
- |
- |
2 |
- |
|
Количество шпажек |
шт |
14 |
7 |
8 |
9 |
|
Напряжение |
В |
- |
- |
220 |
380 |
|
Габариты: |
|||||
|
длина |
мм |
1470 |
1050 |
500 |
1000 |
|
ширина |
мм |
835 |
775 |
295 |
700 |
|
высота |
мм |
1960 |
1555 |
330 |
1870 |
|
Масса |
кг |
520 |
270 |
15 |
280 |
Техническая характеристика ИК-аппаратов непрерывного действия
|
Показатели |
Единица измерения |
ЖА-1 |
ПКЖ |
|
Производительность (по бифштексам) |
Шт./ч |
- |
1000–2000 |
|
Производительность (по печёному картофелю и овощам) |
Кг/ч |
10–15 |
- |
|
Потребляемая мощность |
кВт |
6,5 |
58,8 |
|
Мощность электродвигателя |
кВт |
0,5 |
0,27 |
|
Мощность одного генератора |
кВт |
1,0 |
0,75 |
|
Количество генераторов |
шт |
6 |
78 |
|
Скорость движения транспортёра |
м/мин |
- |
0,57 |
|
Скорость движения барабана |
Об/мин |
15–20 |
- |
|
Напряжение сети |
В |
380 |
380 |
|
Габариты: |
|||
|
длина |
мм |
640 |
4400 |
|
ширина |
мм |
640 |
868 |
|
высота |
мм |
1145 |
1400 |
|
Масса |
кг |
120 |
934 |
В таблице: ПШСМ-14, ШР-2 – печи шашлычные, ГЭ-3, ГЭ-4 – грили электрические, ЖА – обжарочный агрегат, ПКЖ – печь конвейерная жарочная.

Рис. 1. Общий вид гриля ГЭ-4

Рис. 2. Печь шашлычная ПШСМ-14:
1 – подставка с двумя инвентарными шкафами; 2 – дверцы шкафа; 3 – рабочая камера; 4 – прорези для установки шпажек; 5 – отверстие для закрепления шпажки; 6 – вытяжное устройство; 7 – горн; 8 – выключатель; 9 – зольник; 10 – сварная рама; 11 – регулирующие ножки
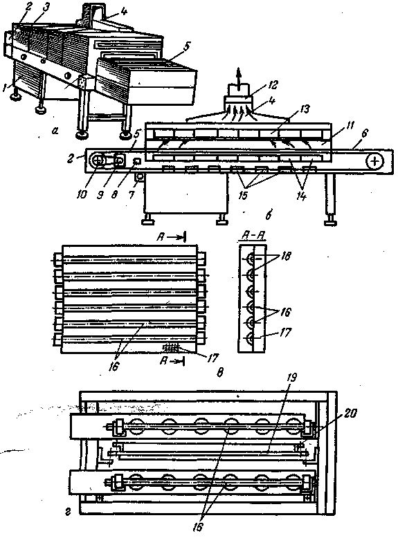
Конвейерная печь ПКЖ предназначена для непрерывной жарки изделий из мяса (котлет, ромштексов, антрекотов) без их переворачивания. Основные узлы печи – жарочная камера, нагревательные элементы инфракрасного излучения (в кварцевых трубках), устройство для фильтрации паров, цепной транспортер, транспортирующие противни, электрооборудование.
Режим работы конвейера в зависимости от вида обрабатываемых продуктов задается с помощью реле времени. Обрабатываемые продукты укладывают на предварительно смазанные противни и подают на конвейер. Соответствующими кнопками на пульте управления включают движение конвейера и нагревательные блоки по заранее заданной программе. Нагревательные элементы неравномерно распределены по всей длине печи, что в сочетании с шаговым движением конвейера обеспечивает направленный на изделие пульсирующий тепловой поток. При выходе из жарочной камеры противни с готовыми продуктами снимают с конвейера и ставят на стол раздачи. Когда из камеры поступит последний противень, кнопкой на пульте отключают нагрев.
Задача
Определить основные характеристики технологических машин для механической обработки продуктов:
– производительность;
– технологическую мощность.
Дано:
|
Тип аппарата |
Показатели |
Условные обозначения |
Размерность |
Вариант 35 |
|
Овощерезательный механизм |
Площадь ножевой решётки |
F |
м² |
0,03 |
|
Частота вращения кривошипа |
n |
сˉ¹ |
0,041 |
|
|
Длина одного ножа |
l |
м |
0,6 |
|
|
Число ножей |
Z |
шт |
6 |
|
|
Число пальцев толкателя |
т Z |
шт |
35 |
|
|
Толщина ножей |
в |
мм |
* |
|
|
Высота ножей |
h |
м |
0,011 |
Решение:
Определяем скорость продвижения клубней через ножевую решётку.
υ = h n = 0,04 ∙ 0,41 = 0,00164 м/с,
где h = 40 мм – средний размер (диаметр) обрабатываемого продукта.
Производительность механизма.
Q = F φ υ ρ ∙ 3600;
где F = 0,03 м² – площадь ножевой решётки,
φ = 0,4 – 0,6 – коэффициент использования площади ножевой решётки,
ρ = 700 кг/м³ – плотность продукта.
Q = 0,03 ∙ 0,5 ∙ 0,00164 ∙ 700 ∙ 3600 = 62,00 кг/ч
Общая длина лезвий всех ножей.
∑l = l ∙ Z = 0,06 ∙ 6 = 0,36 м
Мощность необходимая для разрезания продукта
N1 = qв υ ∑l K
K = 0,7 – коэффициент использования длины лезвия.
qв = 700 Н/м – удельное сопротивление резанию продукта (картофеля)
N1 = 700 ∙ 0,00164 ∙ 0,36 ∙ 0,7 = 0,29 Вт
Мощность необходимая для проталкивания кбрусочков продукта в ячейки между ножами решётки.
N2 = 4 Z f E δ h υ.
где Z = 35 – число пальцев толкателя,
f = 0,5 – коэффициент трения продукта о ножи,
E = 2400 ∙ 10³ Н/м² – модуль упругости продукта (картофеля),
δ = 0,001 м – толщина ножа,
h = 0,011 м – высота (ширина) полотна ножей.
N2 = 4 ∙ 35 ∙ 0,5 ∙ 2400 ∙ 10³ ∙ 0,001 ∙ 0,011 ∙ 0,00164 = 3,031 Вт
Технологическая мощность механизма.
Nт = N1 + N2 = 0,29 + 3,031 = 3,4 Вт

Рис. 3. Конвейерная печь ПКЖ:
а – общий вид; б – схема; в-блок ИК-генераторов; г – схема поперечного разреза рабочей камеры: 1 – щит с электроаппаратурой; 2 – стол разгрузки; 3 – боковые дверцы жарочной камеры; 4 – вентиляционный короб; 5 – транспортер; 6 – стол загрузки; 7 – реле времени; 8-электродвигатель; 9 – червячный редуктор; 10 – ведущий вал цепного конвейера; 11 – жарочная камера; 12 – шиберная заслонка; 13 – блоки верхних нагревателей; 14 – блоки нижних нагревателей; 15 – штепсельные розетки; 16 – ИК-генераторы; 17 – металлическая сетка; 18 – рефлектор; 19 – функциональная емкость; 20 – ограничительные упоры
машина овощ продукт обработка
Список используемых источников
1. Елхина В.Д. Оборудование предприятий общественного питания Т.1. Механическое оборудование. – М.: «Экономика», 1987.
2. Кирпичников В.П., Леенсон Г.Х. Справочник механика. Общественное питание. – М.: «Экономика», 1990.
3. Беляев М.И. Оборудование предприятий общественного питания. Том 3. Тепловое оборудование. – М.: «Экономика», 1990.
4. Былинская Н.А., Леенсон Г.Х. Механическое оборудование предприятий общественного питания и торговли. – М.: «Экономика», 1980.