Технология производства яблочного сока на малых предприятиях
Федеральное агентство по рыболовству
Федеральное государственное образовательное учреждение высшего профессионально образования
“Дальневосточный государственный технический рыбохозяйственный университет”
Кафедра ”Технология продуктов питания”
Дисциплина Технология пищевых производств на малых предприятиях
КУРСОВАЯ РАБОТА НА ТЕМУ
Технология производства яблочного сока на малых предприятиях
РАЗРАБОТАЛ:
Студент гр. ПИ-41
Катюков С. В.
ПРОВЕРИЛ:
Ассистент кафедры ТПП
Мисаковский А.А.
Владивосток
2008
Содержание
Введение
Характеристика сырья
Разработка технологического потока
Сырьевая потребность (продуктовый расёт)
Аппаратное оснащение
Компьютерное моделирование
Экологизация технологического процесса
Заключение
Список используемой литературы
Введение
Производство соков имеет большое значение для населения и народного хозяйства нашей страны. Высокое содержание минеральных веществ и витаминов в овощных соках обусловливает их высокую пищевую ценность. Фруктовые соки выпускают неосветленными и с мякотью, из одного вида плодов и смешанные из двух или более видов плодов. Консервированные пищевые продукты позволяют в значительной степени сократить затраты труда и времени на приготовление пиши в домашних условиях, разнообразить меню, обеспечить круглогодичное питание населения, а также создавать текущие, сезонные и страховые запасы.
В настоящее время в России производится порядка 950 млн. л сока в год (в 1999 году — 500 млн. л). Рост рынка происходит в основном за счет отечественных производителей. Если в 1998 г. импорт составлял 31 % всех потребляемых в России соков, то в 2000 г. — менее 5 %. Средний уровень потребления соков на одного человека в год в России составляет 4 л, в Москве — 21 л. Потребление соков в Центральной части России постепенно будет приближаться к московским показателям, т.к. в этом регионе уже сформировалась культура потребления соков и заботы о своем здоровье (за 2000-2001 гг. соковый рынок данного региона вырос на 40 %). В Сибири и на Дальнем Востоке соки пока воспринимаются только как заменители фруктов с ярко выраженным сезонным потреблением в весенний период, но и данный регион может стать перспективным в будущем. Таким образом, потенциальный рынок соков в России достаточно емкий.
Новые разработки в области технологии консервирования, заморозки и сушки плодоовощной сельскохозяйственной продукции, возрастающий спрос на отечественную продукцию и большой диапазон между потенциальным и фактическим рынком делает эту отрасль пищевой промышленности привлекательной для инвесторов.
Следует особо отметить, что производство консервов является весьма удобной сферой для малого бизнеса. Простая технология, дешевизна (не надо больших капиталовложений, производственных площадей), легкость при организации производства (минимальное количество технологического оборудования), технически несложное производственное оборудование (его изготовление возможно в простейших условиях) позволяет активно участвовать в этом большому количеству представителей малого бизнеса.
Цели курсовой работы:
1. Разработка технологической линии для производства консервированных стерилизованных продуктов с использованием физических способов обработки сырья
2. Провести продуктовый расчет (определение масс сырья, готовой продукции, отходов и потерь по технологической схеме производства)
3. Подбор и расчёт технологического оборудования
4. Построение компьютерной модели технологических процессов
5. Экологизация технологического процесса
1. Характеристика сырья
Яблочный сок наиболее популярен из всех фруктовых соков. Различают два основных типа соков; без мякоти (прессованные) и с мякотью (гомогенизированные). Сок из яблок преимущественно изготовляют натуральным без мякоти, осветлённым или не осветлённым.
При переработке растительного сырья для качества натуральных соков и нектаров существенное значение имеют не только вид, но и ботанические сорта плодов и овощей, которые разнятся по своим технологическим свойствам. Растительное сырьё должно соответствовать критериям безопасности, установленными Медико-биологическими требованиями и санитарными нормами качества продовольственного сырья и пищевых продуктов, и не содержать пестицидов.
В зависимости от видов вырабатываемых соков и нектаров рекомендуются те или иные ботанические сорта, по своему химическому составу и технологическим свойствам наиболее подходящие для производства данной продукции.
Для выроботки сока рекомендуются яблоки сортов Антоновка, ренеты, титовка, Белый налив, Пармен зимний золотой, Коричное, Пепин шафранный, Осеннее полосатое, Мекинтош, Суйслепское, Бельфлер, Розмарин белый, Джиграджи, Сары-турш, Кенд-Алма, Ширван-Газеди, Анис полосатый, Кальвиль, Вагнера призовое, Сары-синап. При использовании плодов с повышенной кислотностью (Прибалтика, БССР) к соку добавляют 5% сахара. Практикуют купажирование яблочного сока с другими плодовыми или ягодными соками.
К сырью для производства соков предъявляют такие требования: в первую очередь оценивают вкус, аромат, содержание питательных и физиологически активных веществ, учитывают степень зрелости плодов для повышения выхода сока.
Хранение у всех плодов происходит различными способами. Например, разные сорта яблок неодинаково воспринимают воздействие температуры при хранении. Некоторые из них выносят длительное состояние переохлаждения до минус 2 минус 3 С, при этом хранятся с незначительными потерями и при медленной дефростации (размораживание).
Каждый сорт дикорастущих и культивируемых яблок имеет свои характерные особенности и различный химический состав. Все зависит от происхождения, условий произрастания, степени зрелости плодов. Все это определяет пищевые достоинства, вкус и использование. Химический состав яблок весьма разнообразен и богат.
В 100 граммах съедобной части свежих яблок содержится 11% углеводов, 0.4% - белков, до 86% - воды, 0.6% - клетчатки и 0.7% органических кислот, среди которых яблочная и лимонная. Кроме того, в яблоке обнаружены жирные летучие кислоты: уксусная, масляная, изомасляная, капроновая, пропионовая, валериановая, изовалериановая. Имеет яблоко дубильные вещества и фитоциды, являющиеся бактерицидными веществами. Крахмал имеет основное пищевое значение. Высоким его содержанием в значительной степени обусловливается пищевая ценность продуктов. В пищевых рационах человека на долю крахмала приходится около 80% общего количества потребляемых углеводов. В крахмале находятся две фракции полисахаридов — амилоза и амилопектин. Превращение крахмала в организме в основном направлено на удовлетворение потребности в сахаре. Крахмал превращается в глюкозу последовательно, через ряд промежуточных образований. В организме содержится в виде гликогена. Как следует из табл. 1, наиболее полезными свойствами обладают яблоки и капуста. Яблоки содержат в 2 раза больше фруктозы, чем глюкозы. Они показаны при заболевании печени, сахарным диабетом и ряде других заболеваний.
Таблица 1. Содержание углеводов на 100 г съедобной части яблок, в граммах
|
Глюкоза |
2.0 |
|
Сахароза |
1.5 |
|
Гемицеллюлоза |
0.4 |
|
Клетчатка |
1.6 |
|
Крахмал |
0.8 |
|
Пектин |
1.0 |
Исходя из таблицы 1 видно, что химический состав яблок очень разнообразен, содержит большое количество пектина и крахмала. Из-за высокого содержания пектина яблоки являются основным продуктом для производства пектина.
Различают два основных вида пектиновых веществ — протопектин и пектин.
Протопектины не растворимы в воде. Они содержатся в стенках клеток плодов. Протопектин представляет собой соединение пектина с целлюлозой, в связи с чем при расщеплении на составные части протопектин может служить источником пектина.
Пектины относятся к растворимым веществам, усваивающимся в организме. Основным свойством пектиновых веществ, определившим их использование в пищевой промышленности, является способность преобразовываться в водном растворе в присутствии кислоты и сахара в желеобразную коллоидную массу.
Современными исследованиями показано несомненное значение пектиновых веществ в питании здорового человека, а также возможность использовать их с терапевтической (лечебной) целью при некоторых заболеваниях преимущественно желудочно-кишечного тракта. Пектин получают из отходов яблок, арбузов, а также из подсолнечника.
Пектиновые, вещества способны, адсорбировать различные «соединения, в том» числе экзо и эндогенные токсины, тяжелые металлы. Это свойство пектинов широко используется в лечебном и профилактическом питании (проведение разгрузочных яблочных дней у больных колитами, назначение мармелада, обогащенного пектином.
2. Разработка технологического потока
яблочный сок производство
Производство яблочного сока без мякоти состоит из следующих технологических стадий: приемка и подготовка сырья, мойка, инспекция, дробление, термическая обработка, извлечение сока, стерилизация, фасование и хранение.
Технологическая схема производства яблочного сока
1
Приём сырья
Вода
2
Мойка

Вода
испол
3
Инспекция
Отходы
4
Дробление
5
Термическая обработка
Отходы
6
Извлечение сока
Сушка

7
Стерилизация
Пар
Конденсат
8
Фасование
9
Хранение
Первой операцией является мойка, которую осуществляют в двух последовательно установленных моечных машинах. Мытые плоды инспектируют, удаляя пораженные вредителями и болезнями. После мойки плоды измельчают на дисковых или терочных дробилках: семечковые (яблоки, айву, груши) на частицы размером 2...6 мм.
Косточковые плоды и ягоды обрабатывают на вальцовых дробилках. Дробилки должны быть отрегулированы таким образом, чтобы не происходило раздавливания косточек. Содержание дробленых косточек в мезге не более 15 %, небольшое их количество улучшает вкус и запах сока.
Для некоторых плодов и ягод одного дробления недостаточно для получения сока.
Чтобы облегчить выход сока, необходима их дополнительная обработка, которая включает нагревание или обработку электрическим током; ферментные препараты не применяются.
Действию электрического тока в специальных устройствах — электроплазмолизаторах — может подвергаться мезга почти всех плодов и ягод с плотной кожицей.
Обработанную мезгу подают на прессование, для чего применяют гидравлические пакетные прессы периодического действия или непрерывного — шнековые или ленточные.
При производстве яблочного осветленного сока осветляют процеженный сок. Когда готовят соки для детского питания, осветление можно проводить оклеиванием с использованием 1%-ных растворов желатина или танина и желатина.
Осветленный сок фильтруют и направляют на подогрев и фасование.
При изготовлении соков с сахаром или купажированных смешивание соков и добавление сахара осуществляют перед нагреванием.
Сок, фасуемый в мелкую тару с последующей стерилизацией, нагревают до 75...80 °С и фасуют в подготовленные бутылки или банки. При производстве сока с витамином С в горячий сок добавляют аскорбиновую кислоту, перемешивают 5...10 мин и сразу передают на фасование.
Наполненную тару укупоривают и направляют на стерилизацию (пастеризацию), которую проводят при 85, 90 или 100 °С в зависимости от кислотности сока и вместимости тары, продолжительность стерилизации от 10 до 20 мин.
В крупную тару вместимостью 2, 3 и 10 дм3 можно фасовать соки так называемым горячим розливом без последующей стерилизации. При горячем розливе сок нагревают до 95...97 °С с автоматической регулировкой температуры и сразу же разливают в подготовленные горячие банки, которые укупоривают прокипяченными крышками.
Укупоренные банки на 20 мин укладывают на бок для стерилизации верхнего незаполненного пространства тары, после чего обдувают холодным воздухом для снижения вредного воздействия теплоты на качество сока.
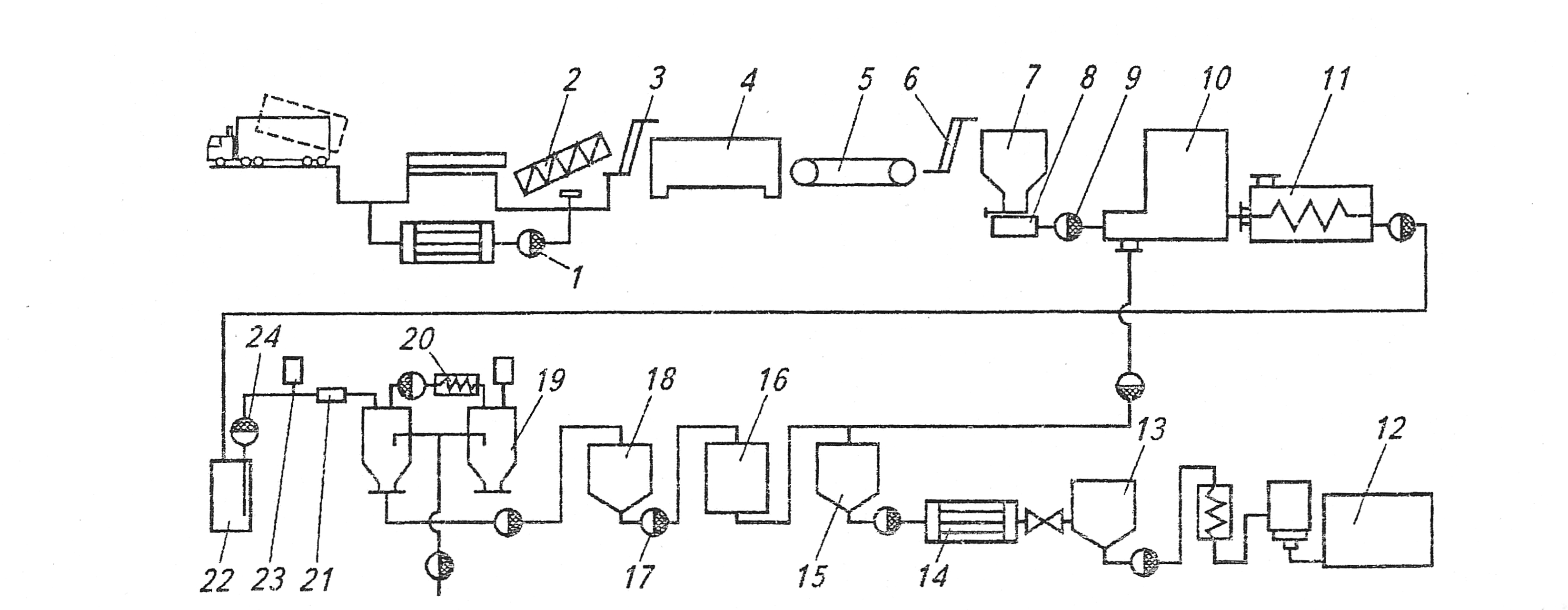
Машино-аппаратурная схема комплекса технологического оборудования для производства осветленных фруктовых соков представлена на рис.2.

Рис.2. Машино-аппаратурная схема комплекса технологического оборудования для производства осветленного яблочного сока
Она состоит из насосов 1, 9, 17 и 24, шнекового отделителя 2, элеваторов 3 и 6, моечной машины 4, инспекционного конвейера 5, сборников 7, 13, 15, 18, 19 и 22, дробилки 8, пресса 10, пастеризатора-охладителя 11, пастеризатора 12, фильтров 14 и 16, охладителя 20, трубчатого статического смесителя 21 и дозатора 23 пектолитических препаратов.
Поступившие на переработку плоды засыпают в бетонные ванны, откуда гидротранспортером по подземным каналам они направляются в цех.
Здесь с помощью шнекового отделителя 2, расположенного в бетонной ванне (яме), плоды отделяют от воды и с помощью элеватора 3 с душевым устройством поднимают к машине для окончательной мойки 4.
Вода, поступающая со шнекового отделителя и содержащая крупные загрязнения (камни, ветки, листья и т. п.), попадает на загрузочную воронку наклонного шнекового конвейера с перфорированным дном, задерживающим и удаляющим загрязнения.
Очищенная вода стекает в ванну (яму), откуда с помощью погружного насоса 1 подается обратно в бетонные ванны с плодами для повторного ее использования.
Промытые плоды инспектируют на конвейере 5, удаляя негодные для переработки плоды, и элеватором 6 поднимают к приемному сборнику 7, ополаскивая плоды струей чистой воды. Яблоки из сборника в необходимом количестве (в зависимости от производительности пресса) подают на дробилку 8. Измельченная плодовая масса немедленно направляется насосом 9 на прессование 10. Полученный сок в установке для прессования очищают от возможных крупных частиц и после пастеризатора-охладителя 11 направляют в одну из емкостей для депектинизации. Выжимки от прессования измельчают на мешалке при возможной добавке воды и направляют в емкости для брожения.
Сок после пастеризации и охлаждения (45...50 °С) сначала направляют в промежуточный сборник 22, откуда дозировочным насосом 24 он засасывается в емкости для депектинизации. По пути в трубопровод вводят пектолитический препарат при помощи дозатора 23 и перемешивают его в трубчатом статическом смесителе 21. Процессы депектинизации и осветления протекают в зависимости от вида применяемого препарата. Если препарат для осветления требует охлаждения сока, то его после депектинизации через охладитель 20 перекачивают в емкости для осветления 19 и добавляют препарат вручную. Если охлаждения не требуется, сок в этом случае не перекачивают, а препарат для осветления вводят в емкость для депектинизации.
По окончании депектинизации и осветления образовавшийся на дне емкости осадок перекачивают в сборник для приемки осадка 18, откуда его направляют насосом 17 в фильтр 16.
Полученный таким образом сок с помощью насоса перекачивают в сборник 19, куда добавляют сок, полученный от фильтрации осадка. Смесь соков еще раз направляют на фильтр 14 для получения полностью осветленного сока, готового к фасованию в бутылки.
Этот сок собирают в приемном сборнике 13, а потом направляют на линию фасования в бутылки, где он предварительно деаэрируется и пастеризуется.
Фасование сока в бутылки происходит при 80 °С с последующей дополнительной пастеризацией и охлаждением в туннельном пастеризаторе-охладителе.
Техническая характеристика комплекса технологического оборудования для производства осветленного яблочного сока
Производительность по сырью, кг/ч............................................................3000
Общая установленная мощность оборудования, кВт................................106,85
Общий расход:
воды, м3/ч.........................................................................................................12
пара, т/ч............................................................................................ ………..500
Численность обслуживающего персонала, чел............................................12
3. Сырьевая потребность
Сырьё – яблоки Антоновка.
Готовый продукт- яблочный сок.
Производительность- 1т / сутки
Режим работы- 12 часов,1 смена, 7 раз в неделю.
Таблица 2. Нормы выхода
|
Характеристика сырья |
в % и массе сырья |
коэффициент расхода сырья на единицу продукции |
|
|
всего отходов и потерь |
выход готовой продукции |
||
|
Яблоки |
57,6 |
40 |
4,3 |

где Q1 – расход сырья, кг;
Q2 – масса готового продукта, кг;
р – сумма отходов и потерь по технологическим операциям, % к массе исходного сырья.
р1, р2, р3…рn – отходы и потери по технологическим операциям, % к массе сырья или п/ф, поступившего на данную операцию;
n – число технологических операций.

Таблица 3. Выход полуфабриката по технологическим операциям
|
Технологическая операция |
Отходы и потери, % |
Движение сырья и полуфабрикатов, кг |
|||||
|
на 100 кг |
в смену (сутки) |
в час |
|||||
|
поступает |
отходы и потери |
поступает |
отходы и потери |
поступает |
отходы и потери |
||
|
1. Прием сырья |
- |
1119 |
- |
G3 |
- |
|
- |
|
2. Мойка |
2 |
1119 |
G3 |
G3 |
|||
|
3. Дробление |
4 |
||||||
|
4. Измельчение |
5 |
П |
|
4. Аппаратное оснащение
Подбор и
расчет технологического оборудования
(на
примере производства яблочного сока)
Необходимое количество оборудования непрерывного действия определяем по формуле

где:
N – производительность на данной операции;
М – часовая производительность машины;
μ – коэффициент использования оборудования (0,8 – 0,9).
Оборудование, используемое на судне непрерывного действия представлено в табл. 20.
Таблица 4 Техническая характеристика и расчет периодически действующего оборудования
|
Марка |
Производительность |
Габариты, мм |
Потребляемая мощность (кВт/ч) |
|
Моечная машина |
150 кг/час |
2000х1700х2000 |
30 |
|
Пастеризатор |
150 кг/час |
1200х1400х1000 |
30 |
|
Дробилка |
100 кг/час |
1890х1270х1400 |
16 |
|
Фильтр-пресс |
100 кг/час |
1200х1100х1600 |
6 |
Рассчитаем необходимое количество моечных машин;
принимаем 2 шт.
Рассчитаем необходимое количество пастеризаторов ;
принимаем 1 шт.
Рассчитаем необходимое количество фильтр-прнссов;
принимаем 1 шт.
Рассчитаем необходимое количество дробильных установок для крупки;
принимаем 1 шт.
Таблица 5 Объемная масса материалов
|
Материал |
Объемная масса, м3 |
Необходимое кол-во |
|
Приём. бункер |
3 |
1 |
|
Сборники (вместимость 225 кг) |
0,3 |
8 |
|
Пастеризатор |
2 |
1 |
|
Охладители |
1 |
4 |
Таблица 6 Расчет и подбор вспомогательного оборудования
|
Наименование оборудования |
Назначение |
Габариты, мм |
Материал |
Кол-во |
|
Конвейер испекц. |
инспекция |
1200х700х750 |
Ламинат серый |
1 |
|
Стол для укладки |
Укладка сырья |
1200х700х750 |
Ламинат серый |
1 |
|
Стол упаковочный |
Упаковка готовой продукции в коробки |
700х500х750 |
Ламинат серый |
1 |
5. Компьютерное моделирование
Разрабатываемые компьютерные модели ТП могут использоваться в производстве путем применения микропроцессорных систем управления и контроля (МСКУ).
Функционирование МСКУ осуществляется на основе, какой-то модели, отражающей основные физические и химические процессы, протекающие в продукте. На основании модели построен алгоритм и схема управления процессом.
МСКУ обеспечивает выполнение следующих функций:
определение момента готовности продукта;
управления органами машины (оборудованием);
регулирование режимов (одно-, двух- или многоскоростной);
выдача рекомендаций (или управление) по дозировке рецептурных компонентов, воды и ее температуре).
Система уравнений, связывающих функции отклика с влияющими факторами, называется математическим описанием процесса. Метод полного факторного эксперимента дает возможность получить описание процесса в виде отрезка ряда Тейлора, имеющего вид:
Y = В0 + В1Х1 + В2Х2 + ... + Вn Хn + B1.2 Х1Х2 – ... – В (n – 1)n Х (n – 1),
Его называют уравнением регрессии, а входящие в него характеристики - коэффициентами регрессии, где Х1, ..., Хn - независимые переменные величины, влияющие на протекание процесса, называемые факторами (температура, давление, состав реакционной смеси и т.п.): Y - величина, показывающая производительность оборудования, себестоимость продукции и т.п., называемая функцией отклика. Все возможные неповторяющиеся комбинации варьирования факторов позволяет спланировать матрица полного двухфакторного эксперимента (табл. 2.1).
Таблица 2.1. Матрица полного двухфакторного эксперимента
|
Номер опыта |
Факторы |
Функция отклика |
|
|
Х1 |
Х2 |
||
|
1 2 3 4 |
-1 +1 -1 +1 |
-1 -1 +1 +1 |
Y1 Y2 Y3 Y4 |
Примечание. Здесь и далее в таблице: «-» - минимальное, «+» - максимальное значение факторов.
На основании полного двухфакторного эксперимента вычисляют коэффициенты регрессии:
B0 = 1/4 (Y1 + Y2 + Y3 + Y4),
B1 = 1/4 (-Y1 + Y2 – Y3 + Y4),
B2 = 1/4 (-Y1 – Y2 + Y3 + Y4).
Допуская значимость коэффициентов регрессии и адекватность уравнения при доверительной вероятности 0,95 и трех степенях свободы, по величине коэффициентов и их значению определяют ранжирование влияния факторов X1 и Х2 на функцию отклика Y.
Количество опытов полного факторного эксперимента для выбора социально ориентированного технологического решения резко возрастает с увеличением количества факторов. Однако для нахождения коэффициентов регрессии не всегда требуется много опытов. В таких случаях можно уменьшить объем экспериментальных работ, воспользовавшись методом дробных реплик. Этот метод заключается в нахождении математического описания процессов в определенной части полного факторного эксперимента: 1/2, 1/4 и т.д. Такие системы опытов называются дробными репликами.
Тогда матрица полного трехфакторного эксперимента и его дробных реплик будет иметь вид (табл. 2.2).
Таблица 2.2. Матрица полного трехфакторного эксперимента и его дробных реплик
|
Номер опыта |
Факторы |
Функция отклика Y |
Дробные реплики |
||
|
X1 |
X2 |
X3 |
|||
|
1 |
-1 |
-1 |
-1 |
Y1 |
¼ |
|
2 |
+1 |
-1 |
-1 |
Y2 |
½ |
|
3 |
-1 |
+1 |
-1 |
Y3 |
¼ |
|
4 |
+1 |
+1 |
-1 |
Y4 |
|
|
5 |
-1 |
-1 |
+1 |
Y5 |
¼ |
|
6 |
+1 |
-1 |
+1 |
Y6 |
½ |
|
7 |
-1 |
+1 |
+1 |
Y7 |
|
|
8 |
+1 |
+1 |
+1 |
Y8 |
¼ |
Расчет коэффициентов регрессии, проверка их значимости и адекватности математического описания в данном случае производятся так же, как и при полном факторном эксперименте, например в виде уравнения регрессии:
Y = B0 + B1X1 + B2X2 + B3X3.
Если для вычисления коэффициентов регрессии воспользоваться полным трехфакторным экспериментом, то необходимо провести 8 опытов. Однако эту задачу можно решить и с помощью двухфакторного эксперимента, если в матрице приравнять произведение X1 Х2 к фактору Х3 (табл. 2.3).
Таблица 2.3. Упрощенная матрица
|
Номер опыта |
Факторы |
Функция отклика Y |
|||
|
X1 |
Х2 |
Х1 Х2 |
Х3 |
||
|
1 |
-1 |
-1 |
+1 |
+1 |
Y1 |
|
2 |
+1 |
-1 |
-1 |
-1 |
Y2 |
|
3 |
-1 |
+1 |
-1 |
-1 |
Y3 |
|
4 |
+1 |
+1 |
+1 |
+1 |
Y4 |
Коэффициенты регрессии вычисляют по следующим формулам:
B0 = ¼(Y1 + Y2 + Y3 + Y4), B1 = ¼(-Y1 + Y2 – Y3 + Y4),
B2 = ¼(-Y1 – Y2 + Y3 + Y4).
Коэффициент В3 не может быть определен раздельно, поэтому вычисляем сумму:
B1,2 + B3 = ¼(Y1 – Y2 – Y3 + Y4),
тогда искомое уравнение будет иметь вид:
Y = B0 + B1X1 + B2X2 + (B1,2 + B3)X3.
При выборе социально ориентированной технологии переработки сырья с точки зрения экономики и экологии можно быстрее получить результат с помощью ПК.
В процессе выполнения исследований необходимо также вычислить коэффициент корреляции, который рассчитывается по формуле:

где YiВ , YiР - значение первого виртуального (В) и второго реального (Р) показателей;
n - размер элементов в выборке (число корреляционных пар).
При необходимости рассчитывается достоверность коэффициента корреляции. Если по величине абсолютного значения μ степень корреляционной зависимости между показателями менее 0,4 - зависимость слабая; 0,4-0,59 - средняя; 0,6-0,78 - значительная; более 0,8 - высокая.
При моделировании производства функциональной продукции с использованием ПК необходимо виртуально предположить процессы и выявить их закономерности для последующего практического использования этих зависимостей в реальных производственных условиях конкретного производства. Следовательно, необходимо осуществить регулирование технологического процесса с учетом СМС путем их моделирования в виртуальных условиях на основе методов ИР.
6. Экологизация технологического процесса
Проблема окружающей среды и рационального использования природных ресурсов является одной из наиболее актуальных общечеловеческих проблем, так как от ее решения зависит жизнь на земле, здоровье и благосостояние человечества.
Вокруг предприятия предусмотрена санитарно-защитная зона шириной 50 м. Эта зона озеленена и благоустроена. Зеленые насаждения обогащают воздух кислородом, поглощают углекислый газ, шум, очищают воздух от пыли и регулируют микроклимат.
Загрязнение атмосферного воздуха и водоемов находится в пределах допустимых норм, так как с этой целью предусмотрены очистные сооружения.
После промывки оборудования и инвентаря вода, содержащая загрязнения сливается через отверстия в полу, которые связаны с канализацией, сточные воды обрабатываются на очистных сооружениях, а образовавшиеся осадки используются для реализации как удобрения в сельском хозяйстве. Очищенная вода на предприятии используется повторно, но только в бытовых целях.
Заключение
В курсовой работе была рассмотрена технологическая линия производства яблочного сока на малых предприятиях.
В ходе работы были достигнуты следующие цели:
1. ознакомился с характеристикой сырья, выявил лучшие сорта яблок для наиболее лучшего качества соков. Ознакомился с химическим составом яблок.
2. Разработал конструкторно-технологические схемы производства яблочного сока, создал технологическую схему производства яблочного сока и операторную схему.
3. Произвёл продуктовый расчет, определил массу сырья, готовой продукции, отходов и потерь по технологической схеме производства. Определил производительную мощность линии.
4. Подобрал и рассчитал технологическое оборудование, определил число машин (аппаратов) их размеры и основные конструктивные элементы.
5. Произвёл компьютерное моделирование, ознакомился с методами решения основных уравнений, алгоритмов их реализации и компьютерных программ.
6. Ознакомился с экологизацией технологического процесса, ознакомился с рациональным использованием ресурсов.
Список использованной литературы
1. Общая технология пищевых производств / Под ред. А. П. Ковальской. – М.: Колос 1993–384 с.
2. Самсонова А. Н. Фруктовые и овощные соки
3. Технология консервированных плодов и овощей. А. Ф. Фан-Юнг, Б. Л. Флау менбаум, А. К. Изотов – М.: Пищевая пром-сть
4. Рогачёв В.И. Справочник технолога плодоовощного консервного производства.

