Development of technology of crude smoked sausage
Annotation
The theme of course work is “Development of the technological process of dry smoked sausage.” In the course work technology of dry sausage, patent and analytical reviews are presented. The necessary raw materials for production of this type of sausage, as well as the production line are described. The formula and calculated material balance are shown. The Corse work carried out at 40 pages, includes 10table, 2 charts and 5 figures.
Contents
Introduction
Normative references
Definitions, abbreviations
1.Analitical part
2.Tehnological part
2.1 Characteristics of sausages
2.2 Characteristics of raw and auxiliary materials
2.3 Methods of production of sausage
3. Technology of production of dry sausage enzymatic
3.1 Technological chart of dry fermented sausage.
3.2 Technological line for crude smoked sausage production
3.3 Technology introductions of protein of software 500Е
3.4 Grocery calculation dry enzymatic sausages
4 Requirements for the finished product.
4.1 Requirements for quality sausage
4.2 Faults and defects of sausages
5 Packaging, labeling, storage and transportation of meat products
6 Techno chemical control
7. Equipment
8 Safety
Conclusion.. Appendix A
Normative references
In coursework reference on follow documents are used:
GOST 9958-81 Meats and meat products. Methods of bacteriological analysis
GOST 9957-73 Sausage and pork products, lamb and beef. Methods for determination of sodium chloride
GOST 9792-73 Sausage and pork products, mutton, beef and other kinds of slaughtered animals and birds. Acceptance rules and sampling methods
GOST 16290-86 sausages cooked and smoked. Specifications
GOST 53587-2009 Cooked sausage made of horse meat.
GOST 16131-86 crude smoked sausages. Specifications
GOST 12600-67 smoked sausages supplied for export.
GOST 16351-86 smoked sausages.
GOST 53591-2009 smoked sausages made of horse meat.
GOST 23231-90 sausages and cooked meat products. Method of determining the residual activity of acid phosphatase
GOST 23670-79 Cooked sausage, hot dogs and sausages, meat loaves.
GOST 52479-2005 Sausages cooked meat for baby food. General specifications
GOST 52196-2003 Sausages cooked. Specifications
GOST 23231-90 sausages and cooked meat products. Method of determining the residual activity of acid phosphatase
GOST 16351-86 smoked sausages
GOST 12297-66 Canned meat. Sausage Stuffing amateur.
Reduction
In this work reductions were used
Etc – et cetera
Fig - figure
Min - minute
Mm - millimeter
m / sec – meter in second
cm - centimeter
C
– Degrees
Celsius
Kg - kilogram
% - percent
G – gram
Terms
In this cores work follow terms are given:
Chilled meat is sub>jected to special thermal treatment in the cooling chamber, is a good raw material for production of sausage.
Sausage product from the sausage meat in the shell, cooked until ready to use.
Frozen meat - meat is sub>jected to freezing and thawing requires, is ice cream.
Smoked sausages - are the products in the shells, made of minced meat, bacon, salt, spices, and sub>jected to the draft, smoked and dried.
Cognac - the alcoholic beverage with a special flavor and taste, made from ethyl alcohol, long-aged in oak barrels, and sugar syrup.
Draught sausage - sausage sticks to extract heat treatment in limbo for a fixed time for the seal meat maturation and drying of the shell.
Drying of sausages - removal of moisture from the sausage at certain parameters of air to give them strength during storage.
Minced meat - meat, shredded on top with a hole diameter of the lattices 2-5mm.
Meat is multicomponent type of raw material is represented combination of muscle, fat, connective and bone tissue (or without its).
Clearing of carcasses. Sanitary- veterinary brand, blood coagulum, blood stains and diaphragm are cut from carcasses and half-carcasses. Pollutions are removed by humidifying cloth. Hair is burned by blowlamp.
Butchering. Carcasses and half-carcasses are divided on anatomic parts: shoulder, hock, thorax, coupling part and neck. Butchering is carried out on pendant ways, hangers or tables. Fat is removed at pork.
Chiselling is separation meat from bones.
Trimming. At trimming of beef and mutton by knife tendons, cartilage, large blood vessels, nerve plexuses, connective-fiber mat, sub>cutaneous fat and large accumulations of intramuscular fat are removed. At pork intramuscular fat is not removed.
Cutting. Meat is cut on pieces by mass 50-70g and at packing into large tares is cut till 200 g. For cutting meat 2 consistently mounted disk meat cutters are used: first meat cutter cuts meat on strips, second - strip on pieces.
Introduction
Expansion of assortment on the basis of rational use of raw materials - is today the main task of industrial activity of any sausage shop.
Now certain lifting meat conversion the industries including sausage manufacture, that develop in several directions is observed:
1. Use of new kinds of raw materials and food additives;
2. Expansion of assortment of production;
3. Development of the new equipment and technologies [1].
Meat and meat products are one of the major components of a food of the person, it is a source of proteins and the vitamins necessary for normal development of an organism. At a long absence in a diet of meat and meat products, other sources of animal protein albuminous insufficiency which negatively influences health can develop: function кроветворения is broken, the exchange of fats and vitamins, decreases resistibility to infectious and простудным to diseases. Meat is one of the basic sources of animal fats in a food of the person. Sausage products and smoked products occupy the big relative density in a population food, and their manufacture is one of the major in the meat industry.
Due to environmental degradation, increasing stress on human rights and other unfavorable factors, the importance now is the problem of improving the quality, safety and medical-preventive properties of meat products.
One of the main choice of food additives and ingredients that are included in the formulations of meat products is the use of sub>stances of natural origin, affecting not only the functional and technological properties of raw materials, but high biological and physiological activity in humans. The introduction of dietary fiber in foods reduces the risk of diseases such as diverticulosis, colon cancer, obesity, diabetes, cardiovascular disease, thrombosis, and the maintenance of normal intestinal micro flora can be achieved through the use of sub>stances that stimulate the development of bifid bacteria in the human gut. In recent years, have been widely used natural food natural food colors.
In our country the set of names of sausage products of following kinds is developed: stuffed, boiled sausages, sausages, sausages, meat corn, ливерные, blood sausages, pastes, jellies, semi-smoked, boiled-smoked, crude smoked and crude dried sausages. These are products on the basis of mincemeat with salt, spices and additives, in a cover or without it and sub>jected to thermal processing to readiness for the use. Distinctions between them are caused by a kind and properties of raw materials, a structure compounding, character and features of the technological processing, specific external properties and product structure. Thus in most cases, major importance properties of raw materials have.
Crude smoked sausages are products in the covers, prepared of mincemeat, the salted pork fat, salt, spices and sub>jected a deposit, to smoking and drying. These sausages the most proof at storage Preparation for the use in food is carried out at the expense of a long fermentation of meat at all stages of manufacture of sausages. These sausages differ a dense consistence, pleasant aroma and sharp saltish taste. Thanks to considerable dehydration they can be stored long time. By manufacture crude smoked sausages great attention give to quality of raw materials, careful trimming meat as sausages do not sub>ject to thermal processing. The attention to age of an animal, carefulness of cooling, a parity of beef and pork, especially pork fat as its excessive quantity makes adverse impact on connecting ability of forcemeat is paid.
Sausage products should be, certainly good-quality. And unsuitable for the use in food products – with obvious signs not fresh forcemeat or rancid of fat, a product in which harmful microorganisms or larvae of insects, and also extraneous, hazardous to health inclusions (slices of glass, metal etc. are found out) are sub>standard and containing nitrites in the quantity exceeding established norms. In the presence of some defects it is not authorised to let out in a trading network and suitable in food sausage products. The defects reducing food value concern their number (extraneous smack and a smell) and storages influencing duration (the big emptiness in the forcemeat, the burst cover, strongly deformed and broken long loafs)
I will stop on a method of introduction of protein «PP500Е» in сырокопченые sausages. Using correct technology it is possible to improve profitability of manufacture, raising exits at simultaneous decrease in expenses, and also to achieve favorable influence on a structure of a ready product, improving linkage between fat and meat particles at protein application «Purin500Е».
1 Analytical part
The modern word "sausage" (sausage) comes from the Latin word "salsus", which means salty. Probably, in ancient times, this term has a broader meaning to mean not only hot dogs and sausages in our sub>mission, but all the salty, or just canned meat. Then it was not possible to keep the meat cold, and cooking sausages (cooked and smoked), it was a good way to save it.
Centuries went by, and people are more and more perfected the process of making sausage. So, depending on the geographic location in different parts of the world there are various recipes of sausage, which is best, suited for a particular climate. For the cool regions of northern Europe, where the raw meat can be stored for a long time without special cooling, has been more suitable raw sausage. In order to keep the meat in the warmer months, smoking was used. Probably, and there were summer sausage.
Start of production of sausages can be attributed to the Middle Ages, when they began manufacturing in central Europe (Germany).
Over time, sausages are one of the main types of meat products produced in Kazakhstan and by 1990, production totaled 3.4 million tons. Transition to market relations has led to a sharp reduction in their production, due primarily to increased prices for meat and change the demand. In 1993, production of sausage products in Kazakhstan fell by 17%. According to the forecasts will decrease the level of meat sales in its pure form. Will increase production of semi-finished products: frankfurters, sausages for diet and infant nutrition, long-term storage of sausages: smoked, boiled-smoked, smoked, while reducing the production of cooked sausage [2].
Sausages are popular among consumers due to their high quality and nutritional value. Development of new kinds of raw materials, primarily due to the use eat soy protein (flour, concentrate, isolate), playing the role of emulators and stabilizers meat, improving its structure and replaced by an equivalent portion of meat. In addition, soy proteins have a positive effect on human health, reducing the risk of cardiovascular disease and cancer morbidity, increase body resistance [3].
In addition to supplements, replacements of animal protein increasing application in meat products finds the use of biologically active sub>stances. According to Bogatyrev [4], using of dietary supplements, is a concentrate of natural or identical to natural sub>stances. The most commonly used supplements of egg, milk and soy proteins, polyunsaturated fatty acids, phospholipids, and vitamins. The application, which is an effective form of prevention and comprehensive treatment of common chronic diseases - obesity, atherosclerosis, bad quality, immunodeficient states.
Another promising direction - the creation and use for the production of meat products of biologically active sub>stances on the basis of metabolic products of microorganisms. Such preparations for the Roubaix-pulp known as the starter culture and are widely used in sausage production. For use in the meat industry, a new bacterial preparation of PB-MP, the current basis of which is lactic acid bacteria. He has high acidifying ability and produces large amount of carbonyl and four carbon compounds that can create distinctive taste and aroma of meat product, has antibiotic activity against coliform. The presence of denitrifying microorganisms in the product leads to the formation of the required number of nitrozopigments stabilizing the color of meat products, while dry sausage ripening period be reduced to 17-19 days. [5].
One of the urgent problems of sausage production is to increase the shelf life of sausages. To this end, stuffing the addition of specially designed sub>stances - preservatives, representing the original composition of the mixture of different food acids that may be used in the meat industry. They inhibit the growth of undesirable microorganisms with respect to, prevent the formation of toxins and are easy to use [6].
Another direction of extending the shelf life sausages is to develop new packaging technologies that enable more reliable than the traditional, to protect finished products from the change in organoleptic properties, moisture loss and bacterial spoilage. In most data meet the requirements of multi-shrinkable polyamide and polivinildihloridnye envelope to ensure preservation of quality indicators-governmental sausages with snoring and allow con-dit sterilization [10].
In recent years there has been an active development of meat products for baby food, recipes which should be tailored to the specific metabolic, physiological and biochemical processes of the child's body and include quantitative restrictions on the nutritional content key elements of vitamins and minerals. The Co-utilization of high quality raw meat in combination with the components of plant and dairy origin and edible hull of providing high nutritive and biological value of these sausages [7].
Further development of the sausage production will be associated with technical and technological re-equipment of enterprises, with the use of the latest. Most foreign equipment and technology and their own know-how, enabling to produce products with high consumer qualities of the individual.
For most successful businesses they need persistent advertising of its products, market expansion of its sales, opening branches in other regions, creating its own network of shops. Significantly also adhere to the principle of modern marketing: not to defend from competitors and learn from them, to fight for the consumer, choosing the main tool to combat product quality .
Sausage, as well as other meat products, are the main source of protein, so their nutritional value should be defined as the total content of protein, and the number of essential proteins. The amount of fat should be within the limits under which improves the quality indicators of sausages (taste, texture), as excessively large amounts of fat affects the taste of the products and their digestibility. In compiling recipes sausages should also be considered content in the finished products of essential polyunsaturated fatty acids, macro-and micronutrients, vitamins and digestible bridge.
Invention of boiled sausage object of the present invention is to improve product quality by improving its taste and organoleptic properties and increase product yield. The problem is solved by the fact that in a certain mode of production of cooked sausage. The essence of the product. Method differs in that the salting of pig heads, drumsticks, or gubernaculums is carried out with a brine concentration of 10% salt content and sodium nitrite was 0.075%.
Another difference is that the main beef is prepared in a cutter with a ratio of pork trimmed bold, trimmed pork fat and soy protein hydrated 4,5:4,5:1, respectively, while in the stuffing added phosphate containing complex mixture of spices, salt, nitrite or cookbook in the amount of 2 kg and a solution of sodium nitrite in an amount of 7.5 g per 100 kg of raw material and cuttering wire first by adding 50% ice of the total contributed amount until the meat temperature 10oC, then add the remaining 50% of the ice cutter until a temperature minced 5oC.
The technical result in the implementation of the method is achieved due to the fact that when cooking ground meat used in certain ratios of all of the following components: beef tendon removed bold, pork tendon removed fat and soy protein hydrated. Clearly, in this case we use raw meat of better quality compared to the prototype. In this case, soy protein hydrated in almost equal in nutritional value and nutritional value of animal proteins, due to the presence of essential amino acids, similar in composition to the amino acids of high-quality animal proteins.
Invented smoked sausage with use of a multifunctional additive (premix) with the following composition: essential oils and oleoresins of aromatic plants, polysaccharides, ascorbic acid and or its salts and or eritrobovaya acid and or its salt, flavor enhancer and flavor glyukono delta -lactone. Additionally, in obtaining meat add 20-30% trimmed raw meat, as well as hydrated vegetable protein. Invention provides a dry sausage on a fast track technology through the use of multifunctional additive (premixes). The additive allows you to control the ripening process raw sausages, accelerate them and get a quality finished product is 10-21 days with high organoleptic quality, color stability and long shelf life. (2168304, A23L1/317).
Multifunctional additive (premix) for the dry sausage is a complex multicomponent mixture of specially selected taste, aroma and functional ingredients (raw meat pH regulators, boosters maturation, etc.).
Known
food additive for the production of dry sausage that contains wine
and alcohol composition and carbohydrate components - glucose and
maltodextrin at a certain ratio of ingredients (RU 2115341 C 1, A 23
L 1 / 314, 07/20/1998).
Invention of boiled sausage with the
addition of apple powder, which improves the organoleptic and
physic-chemical quality of products and dietary properties, to
improve the nutritional and biological value (a set of essential
amino acids, pectin and dietary fiber, carotene, vitamins and
micro-and macro) production in increase the shelf life of cooked
sausages, improving profitability and expanding the range of cooked
meats, to create a product of health care destination for competitive
products, to obtain the product at cost price[9].
2 Technological part
2.1 Characteristics of sausages
Crude smoked sausage is sometimes called solid smoked. Meat for smoked sausages before filling the shell, as well as for cooked sausages, is not sub>jected to thermal treatment. After filling, the sausage shall be stored in a cool place 7-10 days and then smoked at a temperature of 25-35 0C. Continuation of smoking such raw meat leads to a rather stiff sausage (which is why it is the second title). After smoking, the obtained dried sausage sticks. For preparation of dry sausage using premium grade beef, lean pork. Often add spices and wine (brandy). On the outer shell of sausages may appear a dry white patches of mold or salt, which is not a sign of depravity sausage. Crude smoked sausage produce higher and 1st grades.
Sausages premium. These include the following items of sausage: pork, Soviet, sausage, Moskovskaya, Stolichnaya, Poland, Special, Sudzhuk, Neva, beef, Tambov, etc. Sausage, 1st class is an amateur sausage. Crude smoked sausage consistently enjoyed good demand, and today there is a huge selling their choice, giving you the ability to pick a product for every taste [10].
For the manufacture of sausages used the following materials: meat, fatty materials, blood, eggs and egg products, flour products, mainly starch, protein stabilizer, the ingredients for salting (salt, sugar, sodium nitrite, and sodium askarbinat), spices, onion, garlic, brandy and Madeira, sausage casings. Also used smoking drugs, and dressing and packing materials.
The manufacturing process of each type of sausage has its own characteristics. However, operations training material for sausage production are common to most sausages. Sort of meat based on the separation of meat trimmed of varieties depending on the content of connective and fatty tissue.
2.2 Characteristics of raw and auxiliary materials
Raw materials used in sausage production. Meats produced from meat of all kinds of livestock and poultry, processed offal 1st and 2nd category, protein-containing preparations of animal or plant origin, animal and vegetable fats, eggs and egg products of wheat flour, starch, cereals [11].
Raw meat. For the production of dry sausage using beef from adult cattle, pork, refrigerated and defrosted states, bacon spinal. The best raw material is the meat from the back and shoulder parts of carcasses of bulls aged 5-7 years and from the shoulder adult pigs (2-3 years). Chilled raw materials should be no more than 2-3-day exposure, frozen - no more than 3 months storage.
Meat is considered to be neutralized, if inside a piece of the temperature reached is not below 800 C.
Blood. Blood proteins (serum) equivalent meat proteins (95 - 97%) and almost completely absorbed. In addition, blood contains carbohydrates, fatty sub>stances, minerals, vitamins, enzymes, hormones and other biologically active sub>stances necessary for normal functioning of the body.
Amino-acid composition of 100 g of meat protein, blood or milk can almost entirely to provide the daily needs in all essential amino acids except isoleucine. Whole blood is used to make blood sausage, brawn, canned food.
Spices. Spices are added to sausage products to give them a specific aroma and taste. Spices are the products of plant origin. Their distinctive feature - the content of essential oils. For spices include: Pepper (black, white, fragrant, red), nutmeg, cardamom, coriander, cinnamon, cumin, pistachios, bay leaf and some others.
In practice, often use a mixture of spices, spice extracts in the form of three types of oils. A negative feature of the extracts - greater volatility.
Garlic and onions. Bulbous plants containing essential oils are used to create a bouquet of smell and taste of sausage. These include: fresh garlic, garlic, canned, onion, and their powder dry dried.
Cognac. Cognac - the alcoholic beverage with a special bouquet and flavor, prepared from ethyl alcohol, long-aged in oak barrels, and sugar syrup.
Salted ingredients. These include: salt, sodium nitrite, ascorbic acid, askarbinat sodium and sugar. For salting meat in the production of sausage ingredients used in crystalline form or in the form of saturated solutions of these salts.
The casings have to be well degreased, cleaned of contents and fiber layers, showed no pathological changes. Their litter-commute by type and size (diameter).
Shell for summer sausages. Natural casings used for the production of smoked sausage, should be degreased, as preserved in the bowels of fat during storage or during ripening can become rancid, which will naturally have a negative impact on flavor, taste and color of the sausage mass.
Salted guts prior to processing must be well rinsed in warm water and soak for several hours in enough cold water to avoid the formation of a layer of salt on the surface of the shell. Not recommended for the production of smoked sausage to use fresh intestine, just after the slaughter of animals. Natural casings for smoked sausages after treatment should brine for at least one week.
Use of natural casings in the production of sausage is currently limited due to the epidemics of mad cow disease. This primarily concerns the use of bovine and ovine intestines.
For the production of dry sausage, along with natural and artificial can be used by the shell, which are offered in different variants. In addition to adequate strength artificial shell should have good shrink and adhesion properties and provide uniform and sufficient water yielding capacity of raw sausage.
Preparation of raw materials. Preparation of raw materials includes trimming, and salting of meat.
Trimming by hand in areas with air temperature to 12 °C. To prevent the occurrence of stained sections in the finished product from the meat cuts are cut marks. When deboning cannot allow the accumulation of processed raw materials, as cut surface of muscle tissue is a good breeding ground for the development of microflora. In case of detection in the process of boning abnormal tissue areas (hemorrhages, abscesses, tumors, etc.) disclosed to the physician responsible for sausage production. If these changes are not related to the overall defeat of the carcass characteristic of any animal disease, after the removal of affected areas and the corresponding stripping the meat used in sausage production.
Quality
control boning meat is recommended to 3 times per shift: 2 hours
after the start of session, for 1 to lunchtime and in the last 2 h of
operation.
In the process trimming beef, lamb and pork are cut
into pieces weighing 300 ... 600g, pork ribs into pieces weighing 300
... 400g, fat on the spinal stripes 15CH30sm. Before grinding, raw
fat (pork fat, bacon, bacon, fat, raw) should be cooled to 2 ± 2 ˚
C, or freeze up to -2 ± 1 ˚ C.
2.3 Methods of production of sausages
Smoked sausage can be produced in two ways
The first method
Salting of raw materials. Trimmed beef, mutton and pork, salt in lumps of 400-600 g, by adding for every 100kg of meat 3.5 kg of salt. Reducing the amount of salt and 3 kg per 100 kg of meat.
Salted meat is kept at a temperature of 2-4 C for 5-7 days in various capacities (vats, barrels, etc.). For the best meat dehydration Ambassador produce on sloping shelves or in containers with perforated bottoms.
Preparation of meat. Stored in the salting cuts of beef, lamb, lean and fat pork is ground on top with a mesh diameter 2 ... 3mm, bold pieces of pork - with a maximum diameter of 6 mm, brisket, fat and crude fat - at shpigorezkah different designs, cutter or other equipment into pieces the size specified for each type of sausage.
Shredded beef, lamb and lean pork mixed in a mixer for 5 ... 7 min with the addition of spices, garlic, brandy or Madeira and sodium nitrite. Then successively added into the mixer that is bold, fat pork, bacon, bacon fat or raw, and continue to stir 3 minutes. Sodium nitrite is used in an amount of 10 g in a 5% solution, evenly distributing it to the stuffing.
If you use unsalted bacon, bacon fat or raw at the same time add table salt at the rate of 3.5% by weight of unsalted raw materials. Mixing is carried out to obtain a homogeneous mince with evenly distributed in it pieces of bacon, lard, fat, bold, and fatty pork. The total duration of mixing 8 ... 10 min.
Stuffing kept in containers with a layer thickness of not more than 25 cm for 24 h at 2 ± 2 ˚ C to reach maturity.
Filling shells with minced meat. Conduct hydraulic syringes. Tables for knitting crude smoked sausages should be dry. Before extruded casings to remove moisture hung in a refrigerated room at 12-24 h, or display in pots, trays and other containers with perforated bottoms. It is recommended to apply the tarsus diameter of 100 mm less than the diameter of the shell. Shell should be filled tightly, sealing the stuffing especially when tying the free end of the shell. On the density of filling the shell depends on the quality of the finished product. To shell dry sausage meet the following requirements: a good permeability, the ability to shrink and seal.
For stuffing meat primarily use natural casings, the lack of which is that they contain fat gives taste of rancidity. Allowed release of sausages in an artificial membrane without dressings. In this case it is obligatory on the application of the loaves printed signs or labeling with the name of the sausage. Baton tied up with string or thread, causing trademarks. Air, caught in a stuffing for spraying, was removed by piercing the shell.
Sediment. Tied sticks hung on sticks and frames, are sub>jected to sediment for 5 ... 7sut at 3 ± 1 ˚ C and relative humidity of 87 ± 3%. The first day the distance between the sticks and Baton must be at least 10 cm, and then stick shift. Velocity of air in the process of precipitation of 0.1 m / sec. With increased air circulation is excessive shrinkage of the shell and form a seal layer on the surface of the loaf, obstructing with smoking and drying the removal of moisture from deep layers of the loaf. Exclusion of rainfall in the manufacture of dry sausage led to the deterioration of taste, minced porosity on the cut, warping sticks and the appearance of dark rings in the shell. Practitioners are guided by the following indicators of readiness sausages at upsetting: Dry shell, tightly fitting sausage, when you are not pressed, minced becomes elastic, the cut of bright red color, the individual fibers of meat does not reach for a knife.
Smoking. From a technological point of view, smoking is a process of soaking foods smoking sub>stances smoke from incomplete combustion of wood. The resulting gas-vapor mixture contains both nutrients (phenols and aldehydes) as well as harmful fractions of organic and inorganic compounds. Value them depends on the temperature of combustion of wood, method of producing smoke, its density and dilution rate of cold air.
Smoked sausages become acute, pleasant taste and smell, dark red and glossy surface. As a result of penetration into the product of some factions of smoke, especially phenols and organic acids with high bactericidal and bacteriostatic action, suppresses the development of putrefactive microflora increases the shelf life of sausages.
Distinguish between cold and hot smoked sausages. Cold smoking is carried out at 18-220S for 2-3 days. It provides the greatest durability of products during storage. sub>jected to cold-smoked summer sausage. Duration of smoking, depending on temperature and type of smoked sausage is from 1 to 48 h.
After precipitation smoked sausage in the cells with the smoke from the sawdust of solid hardwood (beech, oak, alder, etc.) within 2 ... 3 days at 20 ± 2 ˚ C, relative humidity of 77 ± 3% and its speed 0.2 ... 0.5 m / sec.
The process of smoking should continually monitor to avoid temper - compacted surface layer.
If smoking is undergoing considerable loss of moisture - in the summer sausages in cold-smoked for 4 days, they are 12-14%. There is evidence that prolonged storage of products smoke has a negative effect on fats. Heavily smoked sausage, depending on conditions become pungent taste of tar and phenol, which increased with further storage. Apparently, this causes a change in the sub>stances contained in smoke. Found that when smoking smoked sausages reduced flexibility and ability moisture containing mince; significantly reduced stickiness meat, which indicates a change in denaturation of proteins in the process of smoking.
Drying.
This operation completes the technological cycle of dry sausage. As a
result, lowering the mass fraction of moisture and increasing the
mass fraction of salt and smoking materials increases the stability
of meat products to the action of putrefactive microorganisms. In
addition, the concentration of dry nutrients in the finished product,
improving the conditions for its storage and transportation.
Sausage, dried 5 ... 7 days a dryer at 13 ± 2 ˚ C, relative
humidity of 82 ± 3% and its velocity of 0.1 m / s. dried on hatrack
25-30 days depending on the diameter of the shell. Further drying
pass for 20 ... 23 days at 11 ± 1 ˚ C, relative humidity of 76 ±
2% and air velocity of 0.05 ... 0.1 m / sec. The total drying time of
25 ... 30sut depending on the diameter of the shell; tourist sausages
5 ... 8 days.
When cooking sausages in synthetic protein coat drying time increases by 10 - 15 days compared with the sausage in natural casing. When drying is not permitted the strong air currents.
For uniformity of drying should be picked loaves of the same diameter. Air conditioners and other devices should provide in the drying chambers to the desired temperature and humidity.
Sausage is dried in drying chambers under certain temperature and humidity in which the capacity of each chamber must meet the daily performance of the shop, but their number - the number of days of drying. To maintain the regime of drying using air conditioners. Hang or frame on which hang sausages, place in several stages depending on the height of the room. Between long loafs leave gaps for air circulation.

1 - the lower chamber for air, 2 - Top Breather, 3 - Fan, 4, 7 - additional heaters, 5 - a conduit for irrigation with warm water, 6 - chamber air supply, 8 – Evaporator
Fig. 2. Drying. Device for production of crude smoked sausage
Packaging, labeling, transportation and storage. Bulk transportation of meat products leads to a decrease in their quality, strain loaves, long loading of vehicles. For storage and transportation of meat products are packaged in clean, tight boxes or barrels of dry wood and kept in a dry and dark place or refrigerator. Be stored sausages, peppered with dry sawdust. Tara should have the cover be dry, clean and free of mold and unwanted odors.
The temperature of smoked sausages before placing in containers should be 0-120 0C. In each box or barrel packed sausages one name.
When marking packaging indicates the product, the manufacturer, date of manufacture, standard.
Transported sausages all modes of transport in accordance with the rules of cargo transportation.
Length of storage of raw sausages: at temperatures of 12-15 0C and a relative humidity of 75-78% - less than 4 months, at a temperature of -2 to -4 0C - no more than 4 months, at a temperature of -7 to -9 0C - no more than 9 months.
The second way
On the thread-mechanized lines recommended manufacturing grainy, Maikop, Moscow, Nevsky, sausage, Soviet, the capital of sausage and tourist sausages according to Fig. 1.
Preparation of raw materials. Trimmed beef, pork chunks and strips of bacon were frozen in aluminum basins or on trays layer thickness not exceeding 10cm in the freezer to a temperature in the thickness of a piece or block of -3 ± 2 ˚ C for 8 ... 12 hours or on the unit for light freezing meat and bacon followed by the>
Frozen blocks trimmed beef and pork before processing is warmed to -3 ... -2 ˚ C. It is recommended to pre-crush on machines for grinding meat blocks into pieces of thickness 20 ... 50 mm.
Preparation of meat. Carried out on the cutter, designed for crushing frozen meat. After crushing large chunks of beef or lean pork in about 0.5 ... 1.0 min, table salt, spices and brandy or Madeira, 10g of sodium nitrite as a 5% solution, bold or fatty pork and continue to cutter 0.5 ... 1.0 min. Then add the lard or bacon and ground still 0.5 ... 1.5 min. The total duration of grinding 1.5 ... 3.5min.
End of cuttering determined by drawing mince; it is relatively uniform in size slices of bacon, bacon or pork fat should be evenly distributed. Temperature of meat after cuttering -2 ± 1 ˚ C. The load factor Cutter 0.4 ... 0.5.
Allowed for cooking meat use a mixture comprising not less than 50% of the frostbitten flesh and no more than 50% of salted meat. In this case, the cutter initially charged with first frostbitten shredded beef and pork, then seasoned in salting meat pieces.
The process is then performed as described above (Fig. 1).
Filling shells with minced meat. Ground cutter with handling the device or the cart is fed into a vacuum press. After the appropriate seals and vacuum is filled with minced meat sliding hollow cylinder capacity of 60 dm3. Cylinders with minced special mechanism established by a syringe device that produces a filling shells with minced meat. The process of dressing sticks similar to a method.
Heat treatment. Includes sediment, smoking and drying. These processes are similar to the first method.
Packaging, labeling and storage. Summer sausage packed in wood, plastics and aluminum multi-boxes, crates or containers made of other materials, as well as special container or packaging-equipment.
Containers for sausages must be clean, dry and free of mold and unwanted odors. Reusable packaging should have the cover.
Smoked sausage produced by weight or packaged in colorfully decorated cardboard box, net weight not exceeding 2 kg. Travel sausages produced weight or packed in cartons, net weight of 250 ... 500. Bags packed with smoked sausages the same name, grade and date of manufacture is placed in corrugated containers, multi-containers, specialized containers or packaging equipment. Net Weight of packaged meat products in the boxes should not exceed 20 kg.
Allowed the implementation of packaged smoked sausages in plastic multi-boxes with a gross mass not exceeding 30 kg, and in special containers and packaging - equipment, net weight not exceeding 250 kg.
Crude smoked sausage produced with temperatures in the interior of the stick 0 ... 12 ˚ C. Implementing weighted sausage at retail level should be carried out in the presence of information data on food and energy values. Sausage stored at 12 ... 15 ˚ C and relative humidity 75 ... 78% less than 4 months, with -2 ... -4 ˚ C for up to 6 months, with 7 ... -9 ˚ C ≤ 9 months.
3 The Production technology of the dry fermented sausage
The Dry fermented sausage is meat product, consisting from has overtaken meat with visible particles of fat which as a result combined a fermentation and drying gets such typical properties, as ability to threading on slices, color, taste and safety.
Process of acidification is essential to maintenance of firmness of a product in storage, for maintenance of color and flavor formation, but, besides, he is equally important for gelatinization salt soluble meat proteins. Acidification is caused by transformation of carbohydrates under the influence of the microbes naturally present at meat or entered into a compounding to dairy acid.
Manufacture of the dry fermented sausages is the ancient art which has arisen, basically, as a way of conservation. There is a set of regional distinctions both in used components, and in technology, the form and flavoring qualities of sausages. On this slide the assortment of this production is presented: salyami the big diameter, mini-sapami, the hunting sausage, sticks to beer, Milan sausage; Pepperoni; Spanish; Choriza; Salshishon, and also rural ring sausage.
Components: In manufacture of the dry fermented sausages following components are used: low-fat meat, fat or fat meat, sugar, salt, nitrate and nitrite, squirrels «Purin500Е», ascorbic acid, seasonings and ferments. It is possible to enter also the chemical compounds promoting process of a fermentation, for example, gluconodeltalicton.
A component used in manufacture of dry sausages, protein «Purin 500Е». Using correct technology it is possible to improve profitability of manufacture, raising exits at simultaneous decrease in expenses, and also to achieve favorable influence on a structure of a ready product, improving linkage between fat and meat particles at protein application «Purin500Е» [12]. Drying time Besides, decreases.
By tradition fermentation process in manufacture of dry sausages developed naturally under the influence of the bacteria which are present at used meat and fatty raw materials. However this process slow. He isn't free from certain degree of risk as he is difficult for supervising.
At introduction of the accelerated technologies began to use ferments. These bacterial ferments of industrial production are issued in the form of a broth, or contain sub>limation bacterial cages which become again active after hydration by water and at the sub>sequent introduction in meat (Table 1).
Table 1
Influence components of meat on the quality of raw sausages.
|
Salts Dissolves salt-soluble meat proteins. Helps maintain quality. Promotes taste formation |
Nitrit-Nitrate nitrate should be reduced to a nitrite Nitrite is a source of NO. Nitrozomioglobin is stable color. |
|
Ascorbic acid Accelerator salting. Antioxidant. |
Seasonings Various possibilities Example: large grinding pepper Sweet paprika |
|
Sugar Impact on taste. Provide protection for fermenting bacteria. Glucose, lactose, oligosaccharides. |
Sourdough Broth Dehydrated |
In the fermentation process involved the following types of bacteria: lactobacilli, micrococcus, pediokokki.Прослушать
На латинице
3.1 Technological chart of dry fermented sausage
Every type of sausages is differs by speciphic operations of preparation raw materials. Manufacture of dry enzymatic sausages consists from follow stages:
Thawing, chiselling and trimming of raw

Light freezing of meat pieces to (-2…5)

Preparation of farce on the cutter (1.6 ... 3.5 min)
Fat (-3…-1*С)
Protein "PP500E"


The filling of shells and binding loaves


Setting
(2
... 4
C,
5-7
days)

Smoking
(18
...
22
C,
2.3
days)

Drying(15
С
at relative moisture. 75% 2-3 week)

Quality control

Packaging and labeling.
Fig. 3 Technological scheme of the enzymatic crude smoked sausage.
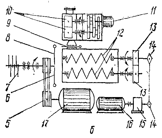
3.2 Technological line for dry enzymatic sausage production

1,6- conveyor table; 2- brining unit; 3- cell maturation; 4- cup-shaped cutter; 5- syringe machine; 7- sausage frame; 8- sausages unit; 9- heat chamber; 10- smoking device.
Fig. 4 Technological line for dry enzymatic sausage production
After defrosting the meat is sent to the trimming section: where connective tissue, blood and lymph vessels, cartilage, small stones and dirt are removed. 1. Then meat is cut into the small pieces and frozen lightly.
Salting of chopping meat is carried on brining unit 2. Minced meat falls by gravity from unit into the mixer. Salting sub>stances are given by dosing device in quantity proportion to the mass of minced meat in vat mixer. After mixing and unloading of raw materials in trucks sent to the cell maturation 3.
Protein "PP500E" and meat pulverized using cup-shaped cutter 4 for fine grinding and preparing meat. To a syringe machine 5 beef shipped in outdoor carts that are using the lift to unload hopper syringe. In this case, the molding meat loaves made by hand in cutting the shell with one end, followed by items made up of hand-knitted twine sticks on conveyor table 6 and dumping them into sausage frame 7.
Shaping the manufacture of sausage casings of roll material is carried out on sausages unit 8.
After
mating, or overlay hinges sticks hung on sticks, which are then
placed on the frame 7 and sent to the heat chamber 9 for heat
treatment (precipitation). Next sausage sent to a smoking device 10,
and after sub>jected to drying 11.
During ripening and drying in
the minced meat is a few important changes. These include changes in
the number of different species of bacteria, physical changes, such
as changes in pH and moisture content, as well as chemical changes,
such as gidralisation protein into amino acids and ammonia.
3.3 Technology introductions of protein of software 500Е
Owing to wide assortment of this kind of production I have chosen modern technology with protein introduction «Purin 500Е» and with use of bacterial ferments on purpose to provide a controllable fast fermentation the Product should be ready to realization in 21 days, but it, basically, depends on diameter of a cover.
First, I will stop on a method of introduction of protein «PP 500Е» in crude smoked sausages.
The maximum advantage gives addition «software 500Е» in the form of gel of squirrels: water with a parity of squirrels: water equal 1:3,5 — 1:4. The technique consists in the following:
— «PP 550Е» crush Squirrels in cutter in the presence of 3,5-4 parts of water before full hydration (about 1-2 minutes). The weight turns out smooth shining porridge formed.
— to this gel add blood in quantity approximately 2 % on purpose to compensate color. Good way is also heart crushing together with gel. Heart provides good pigmentation, is high-quality offal, raises profitability of manufacture. In this case heart is used in number of 10-20 %.
Gel can be painted also, adding the natural painted spices, for example, a paprika.
— at last, in cutter enter 2-3 % of salt and 70-150 mg/kg of nitrite.
The above-stated technique provides reception of strong gel which can be stored in refrigerating conditions (to +2 OS) during the certain period of time, or it can be frozen.
Approximately 5-12 % of the gel received thus can be entered into mincemeat that gives the chance to save meat raw materials and to raise profitability of manufacture.
In the table 2 the compounding resulted on this slide can be example of compounding of the crude smoked fermented sausage [13].
Table 2
The recipe of dry fermented sausages.
|
Recipe: |
kg |
|
Lean pork |
27 |
|
Lean beef |
27 |
|
Fatback |
34 |
|
Gel protein "PP 500E" in water |
12 |
|
Total |
100 |
|
Salts |
2,5 |
|
Nitrite |
0,014 |
|
Ascorbic acid |
0,10 |
|
Sugars |
1,5 |
|
Seasonings |
arbitrarily |
The protein content of "PP 500E" in the final product is 2%.
Preparation recipe of gel is shown in the table 3.
Table 3.
Recipe of gel
|
Recipe gel: |
kg |
|
«PP 500Е» |
2 |
|
Water |
7,8 |
|
Pig heart |
2 |
|
A mixture of 95% salt and 5% nitrite |
0,2 |
|
Nitrite |
0,001 |
|
Total |
12,0 |
3.4 Grocery calculation dry enzymatic sausages
Schedule of workshops based on the chart entry of raw materials, by labor law of RK, it takes into account the valuation of the working day workers. Number of shifts per day -2, the shop is working all the time, as the raw material arrives every shift.
Table 4
Schedule workshops

Table 5
Recipe of dry enzymatic sausage
|
Recipe: |
kg |
|
Not fat of beef |
27 |
|
Not fat of pork |
27 |
|
Fat of pork |
34 |
|
Gel of protein «PP 500Е» in water |
12 |
|
Total |
100 |
At performance of calculations of sausage manufacture choose group assortment, and then a compounding under each name of a product. And it is necessary to consider that the compounding is resulted in kg on 100 kg of the unsalted raw materials, each name has the standard exit. At development of sausages with various additives of norm of the expense and an exit of the beef product will differ from traditional technology. The assortment of sausages is necessary for selecting so that to keep an optimum parity of indicators of a rating trimming meat in reserve salting branch and its expense on manufacture of sausages.
The requirement for the basic raw materials for manufacturing of sausages is defined by each kind of sausages according to a compounding and norm of an exit of finished goods.
The total mass of the main raw material, kg:
=
(1)
=2000
100/120=1666(kg)
Where
- the
mass of
the
planned
release
of
sausages
of
each type
of
shift,
kg;
В
– output of finished goods, % to weight of unsalted raw materials.
.
The output values of finished products B for every type of product are presented in standard documentation for certification, collections of normative parameters, the output of production and consumption of raw materials, operating in the meat industry and duly approved.
Necessary quantity of the basic raw materials by kinds in shift:
=
(2)
(beef)=1666
/100=
449(kg) (2.1)
(pock)=1666
/100=
449(kg) (2.2)
(fat)=1666
/100=
566(kg) (2.3)
(gel)=1666
/100=
200(kg) (2.4)
Where К – Norm of the expense of raw materials according to a compounding on 100 kg of the basic raw materials, kg.
At cutting, a boning and trimming meat allocate bones, veins and sinews.
At drawing up of material balance it is necessary to define actual weight of secondary raw materials, technical preliminary and losses under the formula and according to standard exits of these raw materials. Norms of gathering of secondary raw materials at cutting of hulks are presented in the appendix. Results of calculations make out in the form of the table.
Each kind of sausages are syringe in a cover of strictly specified kind and diameter requirement in which count proceeding from norms of the expense of a cover on 1t crude smoked sausages. For definition of the expense of a cover on all volume of developed assortment of sausage products it is necessary to result all release of products in group assortment in group crude smoked sausages on reduction factors.
Demand in a twinning:
Пt=М
jt
(3)
Пt=2
1=2(kg),
Where M is mass of output of product, t; j is norm expenses of twinning, kg/t.
Demand in a shell by diameter 60mm:
ПК60=МСКК
КCSS
j60
(4)
ПК60=2000
=1067200(m)
Where ПК60 - the need for artificial shell diameter of 60 mm;МCSS – mass of output raw sausages, kg. КCSS – factor to bring the crude smoked sausage to cooked; j60 – norm of expenses of artificial membranes with a diameter of 60 mm for the production of cooked sausages, m / t.
Table 6
Requirement for raw materials
|
Expenses of raw material |
|||||
|
№ |
Raw material |
Norm of expenses of raw material |
In a shift, kg |
In a day, kg |
In a year, t |
|
1 |
Not fat of beef |
56 |
449 |
898 |
269,4 |
|
2 |
Not fat of pork |
56 |
449 |
898 |
269,4 |
|
3 |
Fat of pork |
71 |
566 |
1132 |
339,6 |
|
4 |
Gel of protein «PP 500Е» in water |
25 |
200 |
400 |
240 |
Table 7
Capacity workshop by output of production
|
In 1 shift |
2 t |
|
In a day |
4 t |
|
In a year |
1200 t |
4 Requirements for the finished product
As shown in the table 8 sausage products, as well as other meat products, are mainly protein sources, therefore their nutritional value should be defined both the general maintenance of proteins, and quantity of high-grade proteins. The quantity of fat should be in limits at which quality indicators of sausages (taste, a consistence improve) as in excessive considerable quantities fat worsens flavoring advantages of products and their comprehensibility. At drawing up of compoundings of sausages also should be considered the maintenance in finished goods of irreplaceable fat polynonsaturated acids, macro- and microcells, vitamins and comprehensibility.
Table 8
Chemical composition of meat products
|
Product Name |
Mass% |
Energy value KJ/100г |
|||
|
Water |
Proteins |
Fats |
Carbohydrates |
||
|
Cooked sausage |
55-72 |
10-14 |
14-30 |
1-3,1 |
711-1322 |
|
Semi smoked sausage |
40-52 |
18-23 |
15-45 |
4,3-4,9 |
1084-1950 |
|
Boiled-smoked sausage |
39-40 |
17-28 |
27-39 |
4,6-4,7 |
1506-1757 |
|
Crude smoked sausage |
25-30 |
21-28 |
42-48 |
6,0-6,6 |
1979-2151 |
|
Liver sausage and pate |
50-70 |
10-16 |
15-35 |
2,0-3,0 |
1220-1760 |
|
Zelec |
50-80 |
10-16 |
10-30 |
2,0-3,0 |
838-1676 |
Established that for cooked sausages minimum amount of protein should be in the range of 10 to 12%, collagen content - not more than 15% of total protein, fat - no more than 30% moisture content - not more than four times the amount of protein, plus 10% added water [14].
According to Gorlov [15], the design of new types of meat products, especially, should take into account the fact that food is not only a source of energy, but also plastic materials, it is necessary for construction and renovation of the protein structures of the body, as well as vitamins and minerals salts, which are essential for normal variables processes. Introduced into the sausage vegetable proteins in combination with the animals to be active in biological relative amino acid complexes, providing a physiological usefulness and high digestibility of amino acids in the intracellular accurate synthesis.
Thus, the sausages should be worked out with the set chemical composition on the content of protein, fat, moisture and other sub>stances by selection of raw materials and best manufacturing technology.
4.1 Requirements for quality meat products
sausages enzymatic dry defect
Quality control of finished products is carried out in a certified laboratory of sanitary epidemic station and the regional veterinary laboratory. The laboratory conducted the organoleptic and physical-chemical tests on samples of sausages of each batch of products.
Sampling of products is carried out according to GOST 9792-73 "Sausage and pork products, mutton, beef and other kinds of slaughtered animals and birds. Acceptance rules and sampling methods.
Organoleptic research is carried out according to GOST 9959-91 "meat products. General terms of organoleptic evaluation.
Loaves
of all types of sausages must be clean, dry, no damage shell, stains,
slips and the influx of meat wrappers should fit snugly inside the
stuffing.
Cooked and smoked sausages should be elastic
consistency,
in the context of beef cooked sausages should be pink or pale pink,
well-mixed, it is uniformly distributed pieces of bacon or language
of a certain size. Minced smoked, boiled-smoked, smoked and good
sausage should be pink to dark red, with no gray spots, voids, and
contain pieces of fat white or white with a pinkish tint. Tolerance
of individual pieces of yellowed speck in accordance with technical
requirements for each type of sausage
Smell and taste of meat products must comply with this type of product, the aroma of spices should be well defined, of extraneous odors and flavors must be absent, smoked, boiled-smoked and smoked - slightly spicy, moderately saline (smoked - brackish), with a pronounced smoke flavor.
Benign sausage must comply with standards in size, shape and binding of loaves.
Are not allowed to implement the sausages:
1. with contamination on the shell;
2. with bursting or broken loaves
3. with a loose ground meat;
4. with the influx of meat over the shell (violating the integrity of the loaf), or slip on the premium sausages - longer than 5 cm, sausages 1st grade - longer than 10 cm, sausages 2nd grade - longer than 30 cm;
5. with the presence of gray spots and large voids;
6. with the presence of a broth-fat edema: a sausage premium of more than 2 cm, sausages in the 1st and 2nd grade - more than 5 cm
In the sausage regulated mass fraction of moisture, Popov-rennoy salt, sodium nitrite and starch.
Mass fraction of salt in the sausage must not exceed: a semi - no more than 4,5%.
Maximum content of residual nitrite in smoked sausages should not exceed
0,003%, the rest - 0,005%.
Mass fraction of moisture in the semi - 35-47%, boiled-smoked - 38-40%.
In the sausages are not allowed the presence of coliform bacteria (coliforms) and Staphylococcus aureus in 1 g, sulfidredutsiruyuschih Clostridia - in 0,01, pathogens, including salmonella - 25 g [16].
Content in the sausage of toxic elements, aflatoxin B1, nitrosamines. hormones and pesticides must not exceed the permissible levels established by medical and biological requirements and sanitary norms of quality food raw materials and food Ministry of Health of the Republic of Kazakhstan [17].
4.2 Faults and defects of sausages
Spoilage of sausages called mainly the growth of microorganisms in their production process in violation of or noncompliance with technology Institute of storage conditions.
In sausages usually are cocci, bacteria group sub>tilis Mesentericus and other typical feedstock. On the outside of the surface of the loaves are deposited microorganisms, under whose influence the shell sausages are moist, sticky and is moistened stuffing [18].
The main defects that arise in violation of the conditions and shelf life of sausages, are:
Sliming. He exposed cooked sausage as a result develop blennogenic microflora during storage of products at temperatures above 20C and high humidity.
Souring exposed cooked meats in recipes to include flour, starch, dairy products. Carbohydrates are decomposed microflora with the formation of acid, resulting in a gain of sausage sour taste and smell.
Growth of molds are the most susceptible smoked, boiled-smoked and smoked sausages that were stored at elevated humid STP.
Rot
is the result of decomposition of protein putrefactive bacteria.
Stuffing loosened and as a result of liquefaction of gelatin bound
proves it with a shell behind her. Decay is accompanied by a decaying
house dyes to form sulfmioglobina, resulting in beef acquires a
gray-green color. Appears putrid smell.
Rancidification fat.
Oxidative damage bacon accompanied by yellowing and the appearance of
rancid odor and taste. Bacon can okra Shiva in a dirty-green color
due to pigments formed during putrefaction.
Change the color of meat. Color of the sausage meat can be dimmed from full-time shortages of nitrite, made by salting meat. and so is may be the result of denitrifying bacteria, reducing nitrite to nitrogen. In the first case of sausage are considered benign, in the second - poor quality.
Acceptable defects are: a slight deformation of baton new, small, fat, and pollution by combustion products of wood, not a proper form of cross-linked shell, careless breeding, small visible empty shell (1-2 cm), small slips of pale-colored loaves in the form of longitudinal strips, and for smoked and smoked sausages, irregular or insufficient light smoked loaves [19].
In crude smoked sausages on a cover and under it is possible to find out the black stains application of ascorbic acid and its salts (the form of stains wrong can be which reason of occurrence). Fall of the maintenance or the termination of use of ascorbic acid prevents these undesirable phenomena. Black stains can arise at joint processing of the frozen and cooled raw materials when in the course of smoking and drying there are non-uniform biochemical processes. By>
Black stains in crude smoked sausages are marked also owing to development mildew, for example, Aspergillus niger, Cladosporium herbarum.
Complex researches are necessary for an establishment of the reason of change of color of sausage products with use of laboratory methods.
5 Packaging, labeling, storage and transportation of meat products
Crude smoked sausage packed in wooden crates multi GOST 11354, plank - according to GOST 10131, polymeric multi, aluminum, or in containers made of other materials authorized for use as well as in special containers or container-equipment. With the meat processing enterprises in trade sausages translation of specialized vehicles. In spring and summer sausage are transported in refrigerated trucks to ensure the temperature in the body does not exceed 8 °C. Nonresident transportation jam and other perishable sausage made refrigerators car. Prohibited in sausages without packaging in an open car. Terms of storage and sales of sausages in the retail trade network presented in Table 9.
Table 9
Terms of storing and selling sausages at retail level
|
Types product |
Shelf
time and realization under 8 |
||
|
Selz, liver sausage third grade and blood, jellys |
12 |
||
|
Pates |
24 |
||
|
Sausages stuffed, boiled 1 and 2-go sort, hot dogs, small sausages, zelec high and 1-go sort |
48 |
||
|
Boiled sausages of the top grade, meat bread |
72 |
||
|
Boilled-Smoked sausages |
15 (at 120С) |
||
|
Semi smoked sausage |
10 (at120С) |
||
|
Dry fermentic sausage |
4 mon (at120С) |
Smoked sausage and smoked stored in refrigerators in flow of the following terms: at a temperature of -7 to-90C and a relative humidity of 85-90% smoked - not more than 6 months., boiled-smoked - up to 3, semi - up to 2 months. since the development of: at a temperature of -3 to-60C - respectively 4, 2 and 1 month. at 0-40C - up to 1 month.
6 Techno-chemical controls
Apparently from the data tables 6 organoleptical of research are spent have allowed to establish that a kind of forcemeat and its consistence, a smell and taste, correspond to the requirements STATE that shown for analyzed crude smoked sausages.
Table 10
Organoleptical estimation of quality of crude smoked sausages
|
Factor |
Characteristic and norms |
||||
|
Braunshveiskay |
Maicopskay |
Zernistay |
Moscowskay |
Examatic |
|
|
Appearance Consistency Type of the mincemeat on cut Запах и вкус |
Long loafs with a clean surface, without spots, damages of a shell, inflows forcemeat Dense Forcemeat is in regular intervals mixed, color from pink up to dark red, without grey spots, emptiness and contains: |
||||
|
Sliced brisket length 10-12mm and a width of 4-5mm |
Slices of pork in the size no more than 3 mm |
Slices of fat in the size no more than 3 mm of white color a pinkish shade, about envelopes – yellowish from smoking , are supposed |
Slices of bacon, not larger than 4 mm |
||
|
Pleasant, characteristic of the type of product, with the aroma of spices and smoked without foreign taste and smell and the taste is slightly pungent, saltish |
|||||
|
With lightly Smell of garlic |
|||||
|
Form, size and weasand long loaf |
Direct long loafs in length up to 50см, with two bandagings on the top end of a long loaf
|
Direct loaves up to 50 cm, with a bind at the upper end of the stick
|
|
|
|
|
Mass share, %, not more: moisture Salt Sodium nitrite Temperature In stick coliform bacteria Salmonella in 25g of the product Sulfite Reduces soup klostri India, in 0.01 Product |
27 30 25 30 30 6 6 6 6 6 0,003 0,003 0,003 0,003 0,003 From 0 to 12 Not allowed Not allowed Not allowed |
Note: The tolerance of compacted outer layer-fashioned, no more than 3mm.
7 Equipment
They are designed for fine grinding of soft raw meat and turning it into a uniform homogeneous mass. Prior to joining the cutter raw pre-milled on the top, but some design cutters are devices for crushing lumpy material. Cutters are periodic and continuous action. Raw meat in a cutter is crushed by rapidly rotating crescent-shaped blades mounted on a shaft. Knives alternately immersed in a rotating speeds up to 0.3 with ~ 1 cup. Milling is conducted in open bowls or under vacuum. In addition, the cutter combines the processes of grinding and mixing.
Key technical specifications Cutter - Capacity of the bowl. For small businesses use cutters with a bowl of 15 to 125 hp at large - more than 125 liters.
7.1 Cutter-Mixer P3-FSE
Cutter-mixer P3-FSE with mechanized loading and unloading of meat grinds and mixes the constituent components simultaneously stuffing in the manufacture of frankfurters, sausages and cooked sausages. The machine consists of a bed, mixers, cutters, lifts, hydraulic pump and electric minced. The agitator includes a bowl with spiral screws (rotation speed 39 min-1). Cutter is a cast-iron rack in which a drive shaft mounted sickle-shaped knives. They are enclosed in a special box, protected by 'cover. Mounted on the housing locking mechanism cover mutes the knife shaft drive when you open it. Shaft drive cutter from the electric motor through V-belt transmission [20].
The lift consists of a lever system, hydraulic cylinder and stand under the truck floor. Lever system enables the capture lift truck with forcemeat, a lifting and tilting of the bowl mixer. Work carried out by the lift cylinder and controlled by a hydraulic remote control. The composition of the hydraulic system includes pipes, pumps and control panel. In the pump housing for pumping. meat, there are two pairs of special cams propellants, rotating toward each other.
When working cutter-mixer spiral auger, rotating toward each other, mix stuffing with the simultaneous movement along the length of his bowl. End wall bowl adjacent to the cutter has a window through which an auger feeds minced cutter for grinding, while the second takes the crushed product, driving him to the opposite end wall and the feeding to the first screw. Thus, in the course of work carried out a circular movement of meat with simultaneous mixing and grinding. In the box end wall of the bowl, through which the stuffing load and unload a part of the cutter, mounted dampers. Dampers are controlled remotely from the hydraulic remote control. Dampers open and close the hole in the bottom of the bowl, through which the stuffing goes into the pump. In the car, provided the locking devices [21]:

1-bed, 2-cutter, 3 - mixer, 4 - Hydraulics; 5-V-belt drive, 6, 8, 9-dampers the right and left pump 7-sickle blades, 10-cams propellant pump 11, 16, 17 - electric motors, respectively, pumps, mixers and cutter;12 - deja with screws, 13-gear, 14 - a star 15 - reducer;
Fig. 5 Cutter-mixer P3-FSE
The motor will not turn on when the lid is open cutter, pressing the protective frame bowl off the mixer motor drive screws.
When operating the cutter is important to correctly install and adjust the sickle-shaped knives. Permissible difference in their weight no more than 1-5 kg. The gap between the blades and housing wall cutter 2 mm.
Technical characteristics of cutter-mixer P3-FSE
Productivity, kg / h 1000
Bowl capacity, l 400
The number of sickle blades 8
Motor power, KW 22.3
Dimensions, m 2.38 X3, 23H2, 84
Weight, kg 3560
Cutters are used for fine grinding and turning the meat and certain meat products in a fairly uniform homogeneous mass. Products loaded in the cutters, usually pre-milled on the top, although the latest designs cutters adapted to work on raw minced before the ambassador. Grinding meat in a cutter, taking place when you add cold water, snow or crushed ice, accompanied by a noticeable change in the mechanical and chemical properties of the processed products (linear dimensions of the fragments, determined by sieve analysis, tack, shear stress limit, etc.).
On the cutter is allowed refinement of chilled meat in pieces weighing not more than 0.5 kg, and the frozen blocks of size 190 75 mm, their temperature must not fall below - 8 єS.
8 Safeties. Environmental protection
It is a system of organizational measures and technical means to prevent the impact on workers safety hazards. In the manufacturing process may affect the following dangerous and harmful factors: physical - moving machinery, moving mechanical parts' equipment, move the waste materials, slippery floors, the location of jobs in height, sharp edges, burrs, roughness on the surfaces of instruments and equipment, increased dust in the air in the working area, high temperature materials, finished products, increased humidity, noise in the workplace, increased the voltage in an electrical circuit, chemicals - detergents and disinfectants, biological - pathogens; physical overload when performing manual tasks , the monotony of work. Comprehensive planning allows more clearly, thoughtfully address issues of increasing safety and sanitation conditions, mechanization and automation of manufacturing processes, to introduce modern means of technology 9 security, improve sanitation - domestic service workers. To avoid injury in the enterprise must implement a series of measures, among them - to ensure the administration of strict compliance of all team requirements, rules and norms of labor protection, increase of production.
The nature is a complex system which part is the human society, capable to exist only in constant interrelation with it. Necessary for the ability to live - air, water, food, raw material for the industry - the person obtains all from an environment.
During industrial activity the mankind creates new for nature objects: cars, buildings, constructions, roads, etc. which render decisive influence on an environment. Negative consequences of influence of activity of the person on the nature are inevitable result of scientific and technical progress.
Preservation of the environment as the problem covers the broad audience of the varied questions connected with savings of use of natural resources, the food-processing industry necessary for progress and agriculture.
Specific targets of preservation of the environment are complex and varied, among them decrease in air pollution in cities, improvement state of water objects and maintenance with potable water of the population.
Guarantee of a radiating security, prevention of environmental pollution by dangerous chemicals, the decision of problems in zones of ecological disaster, conservation of woods, reservoirs, wild animal and other natural objects).
Preservation of the environment is fixed by Constitution RK (it.9, 10, 42, 58).
The constitution guarantees the right to a favorable environment, trustworthy information about its condition, as well as on compensation of the damage, caused to health or property of people ecological offences (item 42). To each citizen RK wildlife management, environments and the careful attitude to natural resources is made a duty.
Conclusion
Meats - meat is made from minced meat with the addition of nutritional supplements, herbs and spices, encased and cooked until ready for consumption. Meats have high taste and nutritional properties. Assortment of sausages is quite wide. At the present time developed a large number of formulations of sausages, which include a variety of dietary supplements that improve the taste and nutritional properties.
At the present time for the preparation of sausages that are available for mass consumption, there is a problem of the meat industry, which consists in the fact that it is necessary to provide cost-effective consumer products that would have been at this a highly. For this requirement, to adopt a new policy of the protein. This policy is an optimal combination of protein food ingredients, which are economically combine high nutritional value and functional characteristics that provide a finished food products to satisfy customer requirements.
The quality of meat products depends on the quality of raw materials, formulation, compliance technology, also from the hygienic conditions of production.
In carrying out the course work were studied the organizational structure, resource base, product range, recipes and technological scheme of production of sausages. In conducting special studies of the identified sensory, physical, chemical and microbiological logical indicators smoked sausages.
When comparing commercial and sanitary quality investigations samples of products with the requirements of normative documents mouthlished that the organoleptic, physicochemical and microbiological characteristics of these sausages with GOST 23670-79, GOST 16351-86, TC 61 RK 01-99-2000 and SanPiN 2.3.2.560.96 for all regulated parameters.
Список использованной литературы
1.Технологическое оборудование мясокомбинатов // С.А.Бредихин, О.В. Бредихина, Ю.В.Космодемьянский, Л.Л.Никифоров. - М.: Колос, 1997. -С.153-242.
2.Рогов И.А., Забашта А.Г., Казюлин Г.П. Общая технология мяса и мясопродуктов. - М: Колос, 2000. - С.254-283.
3.Салаватулина Р.М., Иваницкий С.Б. 4 и соавт., Модич П., 5
4.Иваницкий А.А., Большаков О.В., Макеева И.А., Тутельян В.А. Использование БАД в пищевых продуктах // Пищевая промышленность. -1997.-№9.-С.25-27.
5. Модич П. Рекомендации по использованию соевых протеинов «Каргилл» при производстве колбасных изделий// Мясная индустрия. - 1997.-№5.-С.21-
6. Богатырев А.Н., Большаков О.В., Макеева И.А., Гутельян В.А. Использование БАД в пищевых продуктах // Пищевая промышленность. -1997.-№9.-С.25-27.
7. Костенко Ю.Г., Солодвникова Г.И., Кузнецова Г.А., Самойленко В.А. Новый бактериальный препарат - основа ускоренной технологии сырокопченых колбас// Мясная индустрия. - 1997. - №1. - С.9-10.
8. Андреенков В.А.
9. Патент Р.Ф. № патента: 2102884 Класс патента: A21C1/06
10. Евграфов О.В., Вакулин А.А., Рустамов А.К. Основы экологии и охрана окружающей среды. - М.: Колос, 1996. - С.39-73.
11. Устинова А.В., Тимошенко Н.В. Мясные продукты для детского питания. - М.: ВНИИ мясной пром-ти, 1997. - С.170-175.
12. Устинова А.В., Любина Н.В. Солдатова Н.Е., Чулкова Н.А. Новое поколение конкурентоспособных колбасных оболочек для детского питания// Мясная индустрия. -1997. - №3. - С.15-16.
13. Г. Кох, М. Фукс, Производство и рецептуры мясных изделий. Мясная гастрономия.- 2005.-6П8.74 К-75
14. Салаватулина P.M. Мясные продукты для здорового питания на основе белков// Мясная индустрия. - 1996. - №4. - С.17-18.
15. Салаватулина P.M. Рекомендации по применению белков фирмы «АДМ»// Мясная индустрия. - 1996. - №5. - С.17-18.
Албулов А.И., Новикова П.В., Костеша Н.Я. Новые пищевые добавки на основе продуктов морского и растительного происхождения // Пищевая промышленность. - 1997. - №8. - С.54.
16. Переплетчиков И.Д. Отечественная сосисочная оболочка «Амипак» - новые возможности//Мясная индустрия. - 1997. - №8. - С.17-18.
17. Медико-биологические требования и санитарные нормы качества продовольственного сырья и пищевых продуктов. - М.: Изд-во стандартов, 1990.-C.47-52,129. Габриэльянц М.А., Козлов А.П. Товароведение мясных и рыбных товаров. -М.: Экономика, 1986 -С.143-174.
18. Горлов И.Ф. Современные аспекты создания мясных изделий общего и лечебно-профилактического назначения». Мясная индустрия. -1997.- №8.-С.5-б.
19. Писменская В.Н., Ленченко Е.М., Кузнецова Т.Г. Микроструктура мяса и колбасы при микробной порче// Мясная индустрия. -1997. - №5. С.29-30.
20. Габриэльянц М.А., Козлов А.П. Товароведение мясных и рыбных товаров. -М.: Экономика, 1986 -С.143-174. 21. Шепелев А.Ф., Кожухова О.И., Туров А.С. Товароведение и экспертиза мяса и мясных товаров. - Ростов-на-Дону; Изд.центр «МарТ». 2001. С.65-78.
21. Пелеев А.И. Технологическое оборудование предприятий мясной промышленности / А.И. Пелеев. – М.: Агропромиздат, 1963. – 634 с.
22. Технологическое оборудование мясокомбинатов/ С.А.Бредихин, О.В. Бредихина, Ю.В.Космодемьянский, Л.Л.Никифоров. - М.: Колос, 1997. -С.153-242
23. Пелеев А.И. Технологическое оборудование предприятий мясной промышленности / А.И. Пелеев. – М.: Агропромиздат, 1963. – 634 с.
24. Химический состав пищевых продуктов. Кн.2: Справочн. Таблицы содержания аминокислот, жирных кислот, витаминов, макро- и микроэлементов, органических кислот и углеводов/ Под ред. И.М.Скурихина. - М.: Агропромиздат, 1987
25. Справочник технолога колбасного производства/ И.А.Рогов, А.Г.Забашта, Б.Е.Гугник и др. -М.: Колос. 1993
26. Позняковский В.М. Экспертиза мяса и мясопродуктов. - Новосибирск: Изд-во Новосиб. ун-та, 2001
27. Косой В.Д., Малышев А.Д., Дорохов В.П. Изменение структуры и консистенции сырокопченых колбас при их выработке// Мясная индустрия. -2001.- 375c.
28. Электронный адрес http//goggle.kz

С
and relative moisture 75%, hours, not more








Direct
loaves
up
to
50cm,
with
a
single
transverse
ligation
on
the
lower
end
of
the
stick


Direct
loaves
up
to
50cm,
with
two
dressings
in
the middle of
the
stick
Direct
loaves up to 50 cm, tied across every 10 cm with a segment of
string on top