Типы и использование рекламы
Содержание
Введение
1. Теоретические основы рекламы
1.1 Понятие, сущность и задачи рекламы
1.2 Виды рекламы
1.3 Общие и специальные требования к рекламе
1.4 Оценочные способы
1.4.1 Расчетные оценочные способы определения эффективности рекламы
1.4.2 Аналитические способы определения эффективности рекламы
1.4.3 Относительная методика определения эффективности рекламы
2. Реклама на ОАО завод «Инвертор
2.1 Общая характеристика ОАО завод «Инвертор
2.2 Реклама, используемая на ОАО завод «Инвертор
3. Рекомендации по повышению эффективности рекламной деятельности на ОАО завод «Инвертор»
Заключение
Список использованных источников
Введение
Решившись на предпринимательскую деятельность, бизнесмен должен ясно себе представить: насколько реклама необходима ему сейчас и будет ли необходима в будущем? Или он сможет позволить себе обойтись без рекламы, без высоких затрат на неё? Чтобы ответить на поставленные вопросы, прежде всего надо знать, какую роль играет реклама и каковы перспективы её развития в рыночной экономике.
Из опыта мирового бизнеса давно известна сила и роль рекламы. Прежде всего, реклама несет в себе информацию, которая обычно представлена в сжатой, художественно выраженной форме, эмоционально окрашенной и доводящей до сознания и внимания потенциальных покупателей наиболее важные факты и сведения о товарах и услугах. Следует заметить, что если реклама - это всегда информация, то информация - не всегда реклама.
Реклама, с одной стороны, доводит до потребителей разные сведения, необходимые для покупки и использования изделий. С другой, - сочетая свою информационность с убедительностью и внушаемостью, реклама оказывает на человека эмоционально-психическое воздействие. Отсюда - многие считают, что реклама, сама по себе, одновременно и бизнес, и искусство.
Из всего вышесказанного видна актуальность выбранной темы курсовой работы.
Основными задачами данной работы являются:
- рассмотрение теоретических аспектов рекламной деятельности;
- анализ видов рекламы, используемых на ОАО «Инвертор»;
- разработка ряда рекомендаций по повышению эффективности рекламной деятельности на предприятии.
1. Теоретические основы рекламы
1.1 Понятие, сущность и задачи рекламы
Реклама - термин происходит от латинского слова «reklamare» - «громко кричать» или «извещать» (в Древней Греции и Риме объявления громко выкрикивались или зачитывались на площадях и в других местах скопления народа).
Закон Российской Федерации от 18.07.95 г. «О рекламе» дает следующее определение рекламы: «Реклама - распространяемая в любой форме, с помощью любых средств информации о физическом или юридическом лице, товарах, идеях и начинаниях (рекламная информация), которая предназначена для неопределенного круга лиц и призвана формировать или поддерживать интерес к этим физическому, юридическому лицу, товарам, идеям и начинаниям и способствовать реализации товаров, идей, начинаний».
Под рекламой понимается целенаправленная, оплачиваемая информация о товарах или услугах и об их производителях, распространяемая известным источником.
На операционном уровне анализа можно предложить такую рабочую формулировку понятия «реклама»: «Реклама - это процесс информирования населения о товаре, ознакомления с ним, убеждения в необходимости его покупки».
Реклама - комплекс средств неценового стимулирования сбыта продукции и формирования спроса на нее.
Рекламу можно рассматривать как один из видов передачи информации в торговле и как один из четырех элементов маркетинга (рынковедения), то есть элементов рыночных операций - товара, цены, сбыта, рекламы.
Реклама - это весьма важный и тонкий рыночный инструмент. В условиях развитого рынка, когда присутствует высокая конкуренция и каждый продавец стремится максимально удовлетворить потребности покупателя, реклама может послужить решающим фактором конкурентной борьбы. На каждой стадии покупательского цикла товара имеются свои особенности у рекламы. Использование рекламы только как инструмента повышения коммерческой эффективности (так называемый «рекламный прессинг») способно привести к негативному результату.
Рекламная кампания - это комплекс рекламных мероприятий, осуществляемый рекламодателем с привлечением одного или нескольких рекламных агентств, с использованием различных видов рекламы и средств распространения.
За свою длительную историю реклама качественно эволюционировала. Она прошла путь от информирования к увещанию, от увещевания - к выработке условного рефлекса, от выработки условного рефлекса - к подсознательному внушению, от подсознательного внушения - к проецированию символического изображения.
Реклама последовательно добивалась сначала сознательного, обдуманного восприятия покупателем рекламного образа, затем автоматического совершенствования покупки. Теперь же рекламе от покупателя требуется согласие, пусть неосознанное, и тем не менее реальное.
Широкое определение рекламы, отражая ее сущность как многообразного общественного явления современности, не исключает ее подразделения на отдельные виды (отрасли), ограничивающие рекламно-информационную деятельность определенными сферами общественно-экономической жизни людей. В этом контексте четко прослеживаются такие ее отрасли, как торговая, политическая, научная, религиозная и другие виды рекламы.
Виды рекламной деятельности можно классифицировать следующим образом.
Таблица 1 - Виды рекламной деятельности
|
Социальные сферы рекламной деятельности |
Предмет рекламы |
|
Экономика |
Производство, торговля, финансы, предложения рабочей силы, поиски работы |
|
Бытовые услуги |
Починка, пошив, изготовление предметов быта, отдыха |
|
Интеллектуальные услуги |
Образование, медицина, книги, пресса, гадания, туризм |
|
Зрелища |
Цирковые, театральные, концертные |
|
Религия |
Миссионерские воззвания, религиозные плакаты, приглашения к ритуальным акциям |
|
Политика |
Агитация за кандидатов на выборах, лозунги митингов, демонстраций, манифестаций |
|
Юриспруденция |
Сообщения о пропавших, поиски преступников, приглашения на судебные процессы |
|
Наука и экология |
Реклама просветительского направления, научная популяризация в листовках, плакатах, проспектах, буклетах |
|
Семейные и межличностные отношения |
Брачные объявления, приглашения к знакомству, к совершению совместных путешествий, вступлению в дело |
|
Благотворительность |
Сообщения о благотворительных акциях, призывы к пожертвованиям |
Основополагающей функцией рекламы является определение предмета (товара, услуги) и выделение его среди других. Не менее важными функциями рекламы являются: передача информации о товаре, его качествах и месте реализации, побуждение потребителя к апробации нового продукта и его повторному употреблению, стимулирование распространение товара, развитие предпочтения и приверженности потребителя к определенной марке.
В общем, все функции рекламы могут быть сведены в отдельные группы: маркетинговую, коммуникативную, образовательную, экономическую и социальную.
С точки зрения маркетинговой функции общим предназначением рекламы является стимулирование сбыта и продвижения товара, при этом должна соблюдаться тенденция снижения затрат на продвижение товара от производителя (посредника) до конечного потребителя.
Коммуникативная функция рекламы связана с передачей группе людей, организации какого-либо сообщения, информации. Такую же функцию выполняют торговые знаки, которые помогают потребителю выбрать тот товар, который ему нужен.
Образовательная функция рекламы заключается в воздействии ее в качестве средства обучения. Клиенты, покупатели узнают о товарах, услугах и открывают для себя способы совершенствования жизни. Реклама (в этом конспекте) ускоряет адаптацию нового и неопробованного товара, а также процесс передачи достижений научно-технического прогресса в реальную жизнь. Реклама учит общество не только новому, но и рационализации, сбережению ресурсов, охране и безопасности: она побуждает к действию через человеческую мотивацию.
Экономическая функция рекламы заключается в стимулировании объема продаж, развитии торговли, коммерции. Благодаря эффективной рекламе снижаются расходы и растут прибыли, которые можно инвестировать в развитие промышленности или социальной инфраструктуры. Реклама в экономическом смысле служит своего рода фильтром, который дает дорогу только товарам качественным и отсеивает некачественную продукцию. Тем самым повышается производительность, растет надежность товаров, улучшаются их свойства.
Социальная функция рекламы состоит в воздействии ее на общество, как позитивном, так и негативном. Она способствует повышению жизненного уровня населения, популяризует материальные, социальные, экологические и культурные возможности рыночной экономики, защищает потребителей от вредных товаров. Реклама способствует также развитию средств массовой информации, общественных организаций, компаний, некоммерческих организаций, формирует культурный, правовой и экономический менталитет каждого члена общества.
1.2 Виды рекламы
В зависимости от цели, которую преследует реклама, выбирают тот или иной ее вид.
Целями рекламы могут быть:
- формирование у потребителя определенного уровня знаний о данном товаре, услуге;
- формирование у потребителя определенного образа фирмы;
- формирование потребности в данном товаре, услуге;
- формирование благожелательного отношения к фирме;
- побуждение потребителя обратиться к данной фирме;
- побуждение потребителя к приобретению именно данного товара у данной фирмы;
- стимулирование сбыта товара или эксплуатации услуг;
- увеличение и ускорение товарооборота;
- стремление сделать данного потребителя постоянным покупателем данного товара, постоянным клиентом фирмы;
- формирование у других фирм образа надежного партнера.
На практике реклама редко преследует только одну цель; как правило, в одном рекламном мероприятии пересекается несколько целей.
Таким образом, виды рекламы определяются в зависимости от задач, на решение которых направлена данная рекламная деятельность.
Имидж-реклама. В основном это реклама по созданию благоприятного образа (имиджа) фирмы и товара. Ее основная роль – ознакомление потенциальных покупателей или пользователей с продукцией (услугой), ее назначением и характеристиками, а также с направлениями деятельности и преимуществами данной фирмы.
В целом основное назначение имидж-рекламы – закрепление в сознании широкого круга людей положительного образа товара и фирмы.
Имидж-реклама, как правило, действует шире других видов рекламы. Она направлена не только на непосредственных покупателей, но и на более широкие слои населения, для того чтобы при расширении перечня продукции и сферы деятельности фирма или товар вызывали у покупателей положительные эмоции. Такая реклама во многом поможет сгладить неудачи отдельных рекламных кампаний. Наиболее эффективны для имидж-рекламы:
- рекламные ролики на телевидении;
- рекламные щиты;
- реклама на транспорте;
- реклама в популярных газетах и журналах («рекламная полоса»);
- участие в благотоворительных акциях (с освещением в прессе, на радио, телевидении).
При планировании мероприятий по имидж-рекламе одновременно необходимо планировать и мероприятия паблик рилейшнз.
Как правило, в российской рекламной практике имидж-рекламу могут позволить себе фирмы с устойчивыми позициями на рынке, а значит, с устойчивыми доходами. Это в основном касается фирм, занимающихся производством или реализацией товаров. Иначе обстоит дело в сфере услуг, особенно финансовых. С имидж-рекламы начинают свою деятельность банки, инвестиционные компании и фонды, так как без определенного имиджа и доверия клиентов они не смогут добиться каких-либо ощутимых успехов.
Стимулирующая реклама. Это самый распространенный вид рекламы. В ней важно подчеркнуть основные преимущества продукции (услуги), ее положительные качества по сравнению с аналогичными товарами.
Основная задача такой рекламы – стимулирование потребности в приобретении данного товара или эксплуатации данной услуги.
В рекламном объявлении стимулирующей рекламы небольших и средних фирм при рекламировании товаров повседневного спроса принято давать и элементы имидж-рекламы, поскольку отдельную имидж-рекламу такие фирмы не могут себе позволить.
Наиболее эффективны рекламные средства для стимулирующей рекламы:
- реклама в газетах и журналах (часто повторяющаяся);
- прямая почтовая рассылка;
- реклама на радио;
- участие в выставках;
- телереклама.
К российским особенностям стимулирующей рекламы можно отнести то, что реклама отечественных товаров, в общем, ее объеме занимает довольно незначительное место. Это во много связано с тем, что отечественная продукция недостаточно конкурентоспособна на рынке. Очевидно, что при таком положении дел описание достоинств товара, борьба за покупателя путем наилучшего информирования его о качестве товара отступают на второй план. Главная задача – довести информацию о фирме и предлагаемом товаре до возможно большего числа покупателей.
Типология рекламных сообщений может различаться:
- по способу воздействия на покупателя;
- по способу выражения;
- с точки зрения основных целей и задач;
- с точки зрения возможной обратной связи с потребителем рекламы. По способам воздействия рекламное сообщение может быть:
- рациональным;
- эмоциональным.
Рациональная (предметная) реклама информирует, обращаясь к разуму потенциального покупателя. Она приводит аргументы, чтобы убедить его, свои доводы облекает в словесную форму, использует чертежи или рисунок для того, чтобы усилить впечатление от сказанного словами.
Эмоциональная (ассоциативная) реклама вызывает воспоминания. Она наводит на мысль. Обращается к чувствам, эмоциям, подсознательному. Воздействует через ассоциацию идей и представлений. Ее самое эффективное средство - рисунок, цвет и в меньшей степени - звук.
Одни рекламы являются чисто рациональными или чисто эмоциональными. Однако огромное количество рекламных сообщений, можно сказать абсолютное большинство, представляет собой комбинации этих двух видов.
По способу выражения реклама делится на: «жесткую» и «мягкую».
«Жесткая» реклама очень близка по своему духу к мерам стимулирования сбыта и часто их сопровождает. Как и они, такая реклама имеет краткосрочные цели: воздействовать на объект таким образом, чтобы привлечь его к сиюминутной покупке с помощью кричащих, рассчитанных на внешний эффект объявлений.
«Мягкая» реклама имеет целью не только сообщить о товаре и его марке, но и создать вокруг этого товара благоприятную атмосферу, окружая его некоторым ореолом. Чаще всего - это эмоциональная реклама, играющая на символике, глубинных мотивах. Она постепенно изменяет настрой потенциального покупателя в пользу какого-либо товара, формируя внутреннюю готовность к покупке.
С точки зрения основных целей и задач реклама может быть следующих видов:
- реклама в целях создания престижа предприятия в обществе - так называемая «имидж-реклама»;
- стимулирующая реклама;
- реклама стабильности;
- внутрифирменная реклама;
- реклама в целях расширения сбыта продукции;
- увещевательная реклама;
- сравнительная реклама;
- напоминающая реклама;
- подкрепляющая реклама;
- информирующая реклама;
- превентивная реклама.
Имиджевая реклама в основном направлена на создание благоприятного образа (имиджа) фирмы и товара у партнеров и покупателей. В ней важно подчеркнуть надежность, эффективность работ, благожелательность к клиентам, стабильность.
Стимулирующая реклама в основном направлена на стимулирование потребностей покупателей в приобретении продукции данной фирмы. В ней важно подчеркнуть основные преимущества продукции данной фирмы, их положительные качества по сравнению с аналогичными товарами и услугами.
Реклама стабильности в основном направлена на информирование покупателей и партнеров о стабильности в результатах работы фирмы, о ее устойчивом положении на рынке.
Внутрифирменная реклама ориентирована на то, чтобы внушить сотрудникам веру в собственное предприятие, породить в них чувство тесной взаимосвязи с его судьбой. Считается, что если каждый участник предприятия сможет принимать необходимые для его деятельности решения, будет нести за них ответственность, тогда сотрудники станут испытывать удовлетворение от работы в фирме и станут носителями рекламы данной формы в обществе. Средства внутрифирменной рекламы:
- фирменная газета;
- хорошие взаимоотношения между руководителями и сотрудниками;
- многочисленные социальные льготы для сотрудников.
Реклама в целях расширения сбыта продукции - главная сфера рекламной деятельности.
Увещевательная реклама - наиболее агрессивный вид рекламы, основная задача которой - убедить покупателя купить именно данный товар или услугу, а не товар или услуги конкурентов.
Сравнительная реклама - это разновидность увещевательной рекламы. Она основана на сравнении рекламируемого товара или услуги с товарами конкурентов. Поскольку законодательство большинства цивилизованных стран запрещает прямую критику товара-конкурента или его производителя, то такая реклама должна быть, а зачастую и является, весьма остроумной и изощренной.
Напоминающая реклама - реклама, предназначенная напоминать потенциальным покупателям о существовании определенного товара или фирмы на рынке и его характеристиках.
Подкрепляющая реклама - разновидность напоминающей рекламы. Она призвана поддерживать потребителей, уже купивших товар, убедить их в правильности сделанного ими выбора. Она ориентируется на то, чтобы закрепить данного покупателя в качестве постоянного.
Информирующая реклама - эта реклама направлена на предоставление информации о фирме и ее продукции, товарах, их характеристиках, достоинствах, нововведениях.
Превентивная реклама - реклама, на которую расходуется демонстративно больше средств, чем следовало бы. Цель ведения такой рекламной кампании - подорвать позиции конкурентов, которые не в состоянии тратить огромные суммы на рекламную деятельность.
Понятно, что та или иная конкретная реклама может включать и зачастую включает в себя несколько видов рекламы одновременно.
Широкий спектр рекламных сообщений можно разделить на два вида с точки зрения возможной обратной связи с потребителем рекламы. Они достаточно жестко связаны с определенными носителями рекламных сообщений:
- рекламными средствами с обратной связью;
- и рекламными средствами без обратной связи.
Рекламные средства с обратной связью - виды рекламы, предполагающие непосредственного, нередко персонифицированного адресата рекламы с его возможной ответной реакцией. Эти виды рекламы рассматриваются в учебном пособии отдельно.
Обобщая, можно сказать, что рекламные средства без обратной связи -это средства массовой информации, в том числе электронные, а также все виды наружной рекламы.
Печатная реклама.
Печатная реклама подразделяется на следующие подвиды:
1. Прессовая - вся периодическая печать (газеты, журналы, специализированные журналы, дайджесты платные и бесплатные).
2. Книжная реклама. За последнее время стало очень престижным помещать рекламные послания в модные издания книжных новинок.
3. Буклеты - специальные издания, посвященные одной фирме или товарам.
4. Рекламные листовки печатаются в один лист, могут быть многоцветными и монохромными.
5. Каталоги - печатные издания, рекламирующие большой перечень товаров и услуг с краткими пояснениями и ценами.
6. Афиши - крупноразмерные рекламные издания, многоцветные и ис пользующие большие иллюстрации.
7. Прайс-лист - перечень товаров и цен на них.
8. Пресс-релиз - отчет о проведенной той или иной акции, используемой в рекламных целях.
9. Календари, аппликации, ярлыки и другая мелкая продукция используется для вручений на месте продажи или при проведении рекламных акций.
Цели и функции рекламы.
Рекламные материалы служат многим целям, и хотя, как может показаться, реклама всегда преследует одну цель, на самом деле это не совсем так.
Основные цели рекламы состоят в следующем:
- привлечь внимание потенциального покупателя;
- представить покупателю выгоды для него от приобретения товара (услуги);
- предоставить покупателю возможности для дополнительного изучения товара;
- формировать у потребителя определенный уровень знаний о самом товаре или услуге;
- создать благоприятный образ (имидж) фирмы-производителя или продавца, а также торговой или промышленной марки у потребителей и деловых партнеров;
- формировать потребности в данном товаре, услуге;
- формировать положительное отношение к фирме;
- побуждать потенциального покупателя к приобретению именно данного (рекламируемого) товара у данной фирмы, а не у конкурентов;
- стимулировать сбыт товара, услуги;
- способствовать ускорению товарооборота;
- сделать данного потребителя постоянным покупателем товара постоянным клиентом данной фирмы;
- формировать у других фирм образ надежного партнера;
- напоминать потребителю о фирме и ее товарах. На практике реклама редко преследует только одну цель, как правило, в одном рекламном мероприятии цели пересекаются. Задачи рекламы сводятся к следующему:
- реклама новых для клиента товаров и услуг;
- реклама уже известных клиенту товаров и услуг как "поддерживающая ' реклама;
- реклама некоего героя (например, президента банка);
- отстройка от конкурента;
- демонстрация мастерства рекламиста.
Функции рекламы определяются ее целями и задачами. Из всего их разнообразия можно указать следующие:
- идентификация товара и его производителя и (или) продавца;
- продвижение товаров, услуг или идей;
- информирование (ознакомление) покупателей;
- формирование спроса и др.
В этих своих ролях реклама, конечно, должна информировать о наличие товара, его цене, особенностях и т.п. Однако, прежде всего реклама должна побуждать к покупке, и в этом основное предназначение рекламы, ее главная функция.
Реклама - один из способов продвижения товара на рынке. Она существует ради того, чтобы привлечь к товару или услуге столько потребителей, сколько нужно, чтобы этот товар или эту услугу было выгодно производить. Реклама имеет смысл тогда, когда затраты на нее с лихвой окупаются за счет увеличения продаж.
Чтобы выполнить свое основное предназначение, реклама стремится найти способ привлечь внимание, завоевать потенциального покупателя, а потом его "соблазнить" и в конечном счете побудить совершить покупку. Поиск таких способов продолжается на протяжении более полувека и привел к современным их формам. Все многообразие приемов ориентировано на то, чтобы представить покупателю его собственный образ, который отвечает его же чаяниям и ожиданиям.
Реклама должна быть правдивой и убедительной, современной и грамотной, понятной и доходчивой. Запоминают рекламу красивую и безобразную, глупую и умную. Не запоминается только серая, посредственная реклама.
Реклама должна быть по-хорошему агрессивной и эмоциональной. Только тогда она сможет преодолеть инерцию мышления потребителя, убедить, его изменить свои привычки и вкусы, а возможно, и потребности.
Реклама не создает, а усиливает имеющееся, не изобретает, а распространяет изобретенное.
Рекламная деятельность создает и использует прямые личные связи между производителем и потребителем - действительным или вероятным.
Основными мероприятиями по активизации и улучшению рекламной деятельности на современном этапе следует считать:
1. Выявление товаров (товарных групп), наиболее нуждающихся в рекламе.
2. Создание для них унифицированных, высокохудожественных, современных рекламно-графических решений.
3. Разработка для этих товаров (товарных групп) товарных знаков, создание фирменного стиля предприятия, использование его в рекламе выпускаемой продукции.
4. Организация выпуска для товаров (товарных групп) исходных рекламных материалов.
5. Использование маркетинговых подходов к планированию выпуска рекламной продукции, особенно по товарам, требующим высококачественной и наиболее интенсивной рекламы.
6. Дифференциация производства рекламной продукции с учетом значимости и специфики товаров, сроков ее изготовления, поставленных целей на высоком художественно-графическом и полиграфическом уровне.
7. Наиболее полное использование и стимулирование творческого потенциала специалистов, занимающихся рекламой, повышение их квалификации на базе передового зарубежного и отечественного опыта.
Кроме того, в условиях перехода к полноценному рынку рекламой должны использоваться такие направления, как поиски новых форм предпринимательства, компенсационные сделки, инжиниринг, лизинг, консалтинг, «ноу-хау» и т.д. Это станет в будущем основой функциональной рекламы рыночной экономики.
1.3 Общие и специальные требования к рекламе
1. Реклама должна быть распознаваема без специальных знаний или без применения технических средств именно как реклама непосредственно в момент ее представления, независимо от формы или от используемого средства распространения.
Использование в радио, теле, видео, аудио и кинопродукции, а также в печатной продукции нерекламного характера целенаправленного обращения внимания потребителей рекламы на конкретную марку (модель, артикул) товара либо на изготовителя, исполнителя, продавца для формирования и поддержания интереса к ним без надлежащего предварительного сообщения об этом (в частности, путем пометки "на правах рекламы") не допускается.
Если радио, теле, видео, аудио и кинопродукция, а также печатная продукция распространяются частями (сериями), сообщения о рекламе также должны повторяться соответственно количеству частей (серий).
Организациям средств массовой информации запрещается взимать плату за размещение рекламы под видом информационного, редакционного или авторского материала.
2. Реклама на территории Российской Федерации распространяется на русском языке и по усмотрению рекламодателей дополнительно на государственных языках республик и родных языках народов Российской Федерации. Данное положение не распространяется на радиовещание, телевизионное вещание и печатные издания, осуществляемые исключительно на государственных языках республик, родных языках народов Российской Федерации и иностранных языках, а также на зарегистрированные товарные знаки (знаки обслуживания).
3. Реклама товаров, реклама о самом рекламодателе, если осуществляемая им деятельность требует специального разрешения (лицензии), но такое разрешение (лицензия) не получено, а также реклама товаров, запрещенных к производству и реализации в соответствии с законодательством Российской Федерации, не допускается.
Если деятельность рекламодателя подлежит лицензированию, в рекламе должны быть указаны номер лицензии, а также наименование органа, выдавшего эту лицензию.
4. Реклама товаров, подлежащих обязательной сертификации, должна сопровождаться пометкой "подлежит обязательной сертификации".
5.Использование в рекламе объектов исключительных прав (интеллектуальной собственности) допускается в порядке, предусмотренном законодательством Российской Федерации.
6. Реклама не должна побуждать граждан к насилию, агрессии, возбуждать панику, а также побуждать к опасным действиям, способным нанести вред здоровью физических лиц или угрожающим их безопасности.
7. Реклама не должна побуждать к действиям, нарушающим природоохранное законодательство.
1.4 Способы определения эффективности рекламы
Все рекламодатели пытаются отследить эффективность своей рекламы. Это необходимо по многим причинам - учитывая огромную стоимость рекламы и целенаправленную политику фирмы на дальнейшее развитие. Кроме того реклама позволяет решать отдельные конкретные задачи и акцентировать внимание на главных направлениях по сравнению с остальными.
Под термином «эффективность рекламы» понимают изменение под ее воздействием следующих параметров:
- количества новых покупателей;
- количества всех покупателей;
- количества счетов;
- суммы продаж для производственных предприятий;
- суммы покупок для торговых фирм.
Помимо этих, основных параметров могут быть дополнительные, которые для конкретных случаев могут обеспечивать большую точность определения эффективности, лучшую чувствительность по отношению к малым изменениям объема рекламы или же более оперативно реагировать на эти изменения. К дополнительным параметрам могут относиться:
- новые клиенты, привлеченные только под влиянием рекламы в СМИ или периодической печати;
- новые клиенты, привлеченные только наружной рекламой;
- новы клиенты, привлеченные под влиянием специфических видов рекламы, например Интернета, выставок и других;
- число всех клиентов.

Рисунок 1 - Параметры, являющиеся основой определения эффективности рекламы, и способы получения информации
Кроме этой, главной группы основных и дополнительных параметров, могут быть и другие, специфические, - это количество клиентов, привлеченных через знакомых или же доля постоянных клиентов.
Параметр эффективности рекламы может оценивать широкий круг основных процессов, происходящих в бизнесе. Это:
- продвижение товаров и услуг, продвижение торговой марки;
- раскрутка фирмы или филиала;
- формирование условий для достижения успеха в бизнесе.
Все способы определения эффективности рекламы можно разделить на две категории или группы - оценочные и аналитические. В свою очередь, оценочные могут быть косвенными и прямыми, а аналитические - с учетом изменения внешних условий и без этого учета.
1.4.1 Оценочные способы
Оценочные способы определения эффективности рекламы широко применяются на практике. В целом оценочные способы подразделяются на две категории - прямые и косвенные.
К прямым относятся способы, основанные на непосредственном выявлении эффективности рекламы. Это происходит за счет опросов или тестирования посетителей, покупателей, сотрудников, экспертов или случайных (отдельных) лиц из населения. При этом выявляется значимость рекламы путем установления рейтинга важности, балльной оценки или сравнения с известчыми объявлениями при тестировании.

Рисунок 2 - Классификация способов определения эффективности рекламы
Группа косвенных способов основана на определении таких параметров которые напрямую связаны с рекламой, но из-за отсутствия пропорциональной зависимости могут быть только приближенными. Косвенные способы подразделяются на три группы: основанные на методе опроса, сравнительные и расчетные.
Способы, основанные на методе опроса, являются повседневными. При этом проводятся опросы звонивших по телефону; подсчет пославших и оплативших счета по факсу; опросы посетителей и покупателей в фирме. Опросы могут происходить путем проведения бесед с респондентами или клиентами, заполнения анкет и помещения данных в компьютер.
Сравнительные способы основываются на наличии базы сравнения. Могут сравниваться параметры эффективности рекламы за два или несколько известных периодов времени, в которые происходили существенные изменения в рекламе.
Оценочные расчетные способы основаны на сложении составляющих, или частичных, эффективностей, определяемых прямыми методами или сравнением. Кроме того, возможно сложение всех составляющих эффективностей технически сложных видов носителей рекламы.
Предложенная классификация оценочных способов определения эффективности рекламы содержит основные, наиболее реальные и действенные варианты и использует в своей основе все перечисленные выше параметры. Для рекламодателя важно главное - определить, насколько эффективной является реклама.

Рисунок 3 - Классификация оценочных способов определения эффективности рекламы
1.4.2 Расчетные оценочные способы определения эффективности рекламы
Рекламодатели на стадиях создания нового объявления или перед началом реализации новой стратегии маркетинга всегда стоят перед началом реализации новой стратегии маркетинга всегда стоят перед проблемой заблаговременной оценки эффективности от изменения рекламы. Поэтому такие расчеты нередки.
Расчетные оценочные способы носят чисто теоретический характер с прикладным применением и не могут претендовать на определение точных абсолютных величин параметров. Тем не менее, в сравнении с конкретной, имеющейся для более раннего периода величиной целевой аудитории, т.е. по относительной методике, эти способы успешно применяются.
Первая методика - для расчетных способов определения эффективности рекламы, основанная на расчете потенциально возможной и целевой аудитории, контактирующей с рекламой.
Способ 1. Определение эффективности наружной рекламы на транспорте.
Вся аудитория Р состоит из следующих потоков:
- пешеходов - Рпеш;
- пассажиров автомобилей - Ра, сумма которых определяется количеством автомобилей в рассматриваемый период Аа и средним количеством в них пассажиров п, т.е.
Ра = п * Аа;
- пассажиров транспортных средств - Ртр, проезжающих мимо исследуемого транспорта, которые находятся через количество этого транспорта Атри среднее число пассажиров т, т.е.
Ртр = m * Атр;
- пассажиров внутри транспортного средства с рекламой - Pp.
Таким образом, вся потенциально возможная аудитория равна:
Р = Рпеш + п* Аа + т* Атр + Рр.
Целевая аудитория Е находится с учетом возможных контактов с рекламой. Для каждого из четырех видов пассажиров характерен свой коэффициент контактов Кк, и формула приобретает вид:
Е = Кк1 * Рпеш + Кк2 * п * Аа + КкЗ * m * Атр + Кк4 * Pp.
Коэффициенты контактов отражают возможность (вероятность) отдельных видов пассажиров находится в виду рекламного объявления.
Для конкретного вида рекламы на транспорте, располагаемой снаружи, были приняты следующие допущения:
- пассажиры общественного транспорта попадают в поле, доступное для обозрения рекламы, в каждом четвертом случае;
- остальные категории попадают в поле, доступное для обозрения объявления, в каждом втором случае.
Следовательно,
Кк1 - Кк2 = Кк4 = 0,5 и КкЗ = 0,25.
Отношение величины целевой аудитории к общей отражает валовой оценочный коэффициент рейтинга маршрута GRP (Gross Rating Point):
GRP = Е / P.
Для общей аудитории вводится ограничение по возрасту - от 14 до 18 лет для различных рекламируемых товаров и услуг. Для двух московских маршрутов троллейбусов коэффициент GRP был равен 0,617 и 0,719.
Способ 2. Определение эффективности отдельной наружной рекламы.
Формула для нахождения всей и целевой аудитории аналогична, только отсутствует составляющая пассажиров внутри транспортного средства, так как реклама располагается отдельно. Таким образом,
Е = Кк1 * Рпеш + Кк2 * п * Аа + Кк * m * Атр.
Способ 3. Определение эффективности объявлений в периодической печати.
Вся потенциально возможная аудитория Р определяется тиражом издания Мизд и коэффициентом процесса распространения отдельных номеров Крас.
Количество читателей целевой аудитории определяется параметрами:
- наличие профессиональных или социальных групп населения, целенаправленно интересующихся определенной тематикой объявлений, т.е. с учетов коэффициента сегментации Ксегм; следует обратить внимание на то, что этот коэффициент не уменьшает, а увеличивает общее число целевой аудитории, так как учитывает подготовленные к покупкам слои населения; коэффициент находится по формуле
Ксегм = 1 + Мсегм / Мизд,
где Мсегм - количество целевых потребителей;
- площадью объявления S по отношению к средней площади отраслевого раздела Scp или же, более грубо, по отношению к площади листа 8л;
- частотой повторения объявлений f по отношению к средней частоте повторения объявлений в отраслевом разделе или по отношению к частоте выхода номеров изданий за месяц £м.
В целом формула для целевой аудитории имеет вид:
Е = Низд * Крас * (1 + Ксегм / Кизд) * (S / 8л) * (f/ fiu).
Способ 4. Определение эффективности объявлений по телевидению и радио.
Вся аудитория Р равна сумме населения по всем mi районам, городам, областям с населением Ai, охваченным соответствующим каналом телевизионной или радиосвязи:
Р = mi * Ai.
При расчетах берется не все население, а только от 14 до 18 лет - например, для рекламы мороженого и конфет можно взять порог в 14 лет, а для рекламы промышленных изделий - в 18 лет.
Количество зрителей или слушателей для целевой аудитории Е находится через другие параметры:
- количество используемых для рекламы каналов nk по сравнению с общим количеством каналов по; по существу, этот параметр учитывает вероятность включения именно данного канала из всех возможных;
- время рекламного ролика или объявления Т по сравнению со средние временем просмотра в день передач Тер или, что более грубо, по сравнению с общим временем передач канала;
- рейтинг канала Крейт, который можно найти в справочных информационных изданиях;
- число профессиональных или социальных групп населения Мсегм, потенциально подготовленных к восприятию рекламируемого товара; в целом оно определяется коэффициентом сегментации: Ксегм = 1 + Мсегм / Р.
Таким образом, целевая аудитория находится по формуле
Е = Крейт * (mi * Ai) * (nk / no) * (Т / Тер) * (1 + Мсегм / Р).
Вторая методика - для расчетных способов определения рекламы, основанная на осуществлении «привязки» двумя реальными контрольными значениями по эффективности, полученными способами учета покупателей.
Данная методика основана на свойстве «привязке» значений формулы для определения целевых клиентов. Основным действием методики является процедура получения двух характерных значений по эффективности рекламы, измеряемых количеством привлекаемых под ее влияние новых клиентов.
Берется не одно, а два значения потому, что для большинства видов рекламы существуют именно два резко различающихся потока целевой аудитории - в будничный день и выходной.
Эффективность рекламы Эр, как обычно, находится через количество новых клиентов, пришедших делать покупки под ее влиянием. Это количество связано с целевой аудиторией Е через коэффициент g, учитывающий эффект воздействия рекламы, заставляющий действовать и делать покупки; этот эффект концентрированным образом отражает все стороны собственно объявления - содержание текста, его креативность, новизну, тематику, контрастность и т.д.
Таким образом, эффективность рекламы Эр контрольного исследованил связна с целевой аудиторией Е выражением
Эр = Np = g * Е.
Если проведены два указанных контрольных замера величин эффективности в будничный день Np6 и выходной день NpB, то общая эффективность рекламы за неделю или месяц будет найдена с учетом количества будничных дней пб и выходных дней пв:
Эр = пб * Np6 + пв * NpB.
Сущность этой методики заключается в том, что величины контрольных определений эффективности являются основой сравнения. Все остальные расчетные значения даются в относительных долях по отношению к этому контрольному (реперному) значению.
Для телевидения и радио получается следующая формула:
Эр = пб * Np6 + пв * NpB = g * Е = = g * Крейт * I (mi * Ai) * (nk / no) * (Т / Тер) * (1 + Nсегм / Р).
Все постоянные или слабо изменяющиеся параметры за выбранный период измерений можно объединить - вот они:
- коэффициент сегментации
(1 = Nсегм /Р);
- рейтинг одного используемого канала - Крейт или сумма по нескольким используемым каналам;
- количество регионов, областей, городов, охваченных зоной приема канала –
L (mi * Ai).
Таким образом, все эти известные параметры для рекламы по телевидению и радио можно объединить одним общим коэффициентом Кт:
Кт = Крейт * I (mi * Ai) * (1 + Nсегм / Р).
Все дальнейшие расчеты проводятся путем изменения переменных параметров, стоящих в левой части следующего выражения:
(T/Tcp)*(nk/no)*'g = (n6*Np6 + nB*NpB)/KT.
В правой его части - все известные параметры.
Аналогичное выражение можно получить для периодической печати, где коэффициент Кп, объединяющий неизменные параметры, равен:
Кп = Крас * (1 + NcerM /Nизд).
Тогда расчетный оценочный способ определения эффективности рекламы сводится к изменению переменных параметров рекламы периодической печати, стоящих в левой части выражения.
(S / 8л) * (f / fM) * g * Nизд = (пб * Np6 + пв * Np6) / Кп.
При этом результат выдается в долях реального контрольного значения эффективности рекламы.
1.4.3 Аналитические способы определения эффективности рекламы
К аналитическим относятся способы определения эффективности рекламы, которые основаны на преобразовании оценочной информации для следующих целей:
- улучшение точности измерений;
- расчета окупаемости рекламы с минимальной погрешностью и учетом одного и многих посещений фирмы, продающей товары или услуги;
- выявления эффекта неравномерного воздействия рекламы на различные виды товаров или стоимостные категории товаров;
- учета влияния сезонности и внешнеэкономических изменений;
- разделения влияния рекламы и конкуренции.
Перечислены главные цели, характерные для существующей стадии раз • вития рынка. По мере его изменения появляются новые аналитические способы и могут становиться неэффективными старые.
На рисунке 4 показана классификация аналитических способов определения эффективности рекламы.

Рисунок 4 - Классификация аналитических способов определения эффективности рекламы
1.4.4 Относительная методика определения эффективности рекламы
Реклама характеризуется неоднозначностью по результатам полученной эффективности. Неоднозначность определяется в том, что одновременно с действием объявлений могут существовать другие факторы, которые уменьшают и даже нейтрализуют влияние объявления. Вот они:
- сезонность;
- выдача бюджетных средств в один и тот же период;
- возможность в ряде отраслей увеличение сумм продаж в третью неделю месяца;
- влияние внешнеэкономических изменений;
- изменение конъюнктуры рынка и проникновение на наш рынок новых сильных компаний, обладающий развитой сетью дистрибуции и брэндами;
- влияние погодных условий - сильных снежных заносов или же периода проливных дождей.
Все эти внешние воздействия можно разделить на две категории: непредсказуемые и повторяемые. Непредсказуемые учесть сложно - они обнаруживают себя только фактом своего воздействия. Повторяющие факторы, такие как сезонность. Можно учесть заблаговременно аналитическими способами
Предлагаемая относительная методика как раз и позволяет учесть влияние внешних факторов независимо от их происхождения.
Есть и другая сторона полезности этой методики, связанная с повышением точности определения эффективности рекламы.
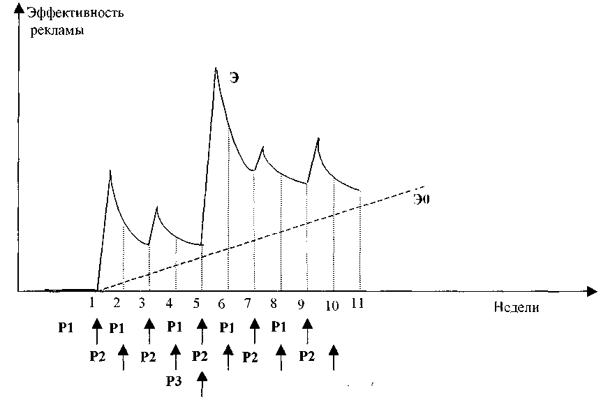
Эффективность рекламы характеризуется главным параметром - количеством новых клиентов, привлеченных её влиянием. Кроме того, она может определяться и другими параметрами: количеством счетов, суммой и объемом покупок, сделанных этими новыми клиентами. Реальной воздействие рекламы таково, что после опубликования одного объявления может проявиться пик параметров эффективности. Этот пик обычно накладывается на «пьедестал», характеризующий формирование постоянной составляющей новых клиентов за счет частой подачи объявлений, наложений эффектов отдельных воздействий от объявлений, а также по причине наличия эффекта отложенного спроса.
На рисунке 5 приведен пример изменения во времени параметра эффективности рекламы. Указана также моменты воздействия объявлений трех видов рекламы - PI, P2, РЗ. Эти объявления по периодам времени кратны неделе. И^ рисунка видно, что эффективностью обладает реклама Р1, а реклама Р2, наоборот, никакого воздействия не производит. Наибольшее возрастание параметров эффективности Э наблюдается сразу же за совпадением размещения реклам Р1 иРЗ.
В практике рекламы наблюдается два наиболее распространенных случая - когда есть постоянная составляющая и когда её нет. На рисунке 6 показан случай наличия постоянной составляющей эффективности ЭО - наиболее предпочтительный его вариант, когда постоянная составляющая не только есть, но и имеет тенденцию линейного возрастания. Происходит это по причине наличия эффектных и частых объявлений.
В реальных условиях наличия коротких пиков по эффективности, как это показано на рисунке 6, сложно численно подсчитать её величину, так как она характеризуется тремя составляющими:
- максимальным значением пика;
- величиной постоянной составляющей;
- величиной провалов между пиков.
Относительная методика производит сглаживание по точкам характера графика и уменьшение погрешности измерений примерно в 1,5 - 2 раза.

Рисунок 5 - Реальное изменение во времени эффективности рекламы при воздействии рекламных объявлений PI, P2, РЗ разных видов

Рисунок 6 - Совмещение на одном рисунке графиков изменения эффективности рекламы за текущий Э1 и за предыдущий Э2 годы
2. Реклама на ОАО завод «Инвертор»
2.1 Общая характеристика ОАО завод «Инвертор»
ОАО завод «Инвертор» основан на базе электромеханического завода, который начал свою работу в 1944 г. и до строительства нового предприятия занимался изготовлением низковольтных комплектно-распеределительных устройств. Их производство было впоследствии переведено на новое предприятие, фундамент которого был заложен в 1981 году. В 1983 году на новом заводе была произведена первая партия продукции для атомных электростанций.
Контрольный пакет акций предприятия принадлежит трудовому коллективу предприятия.
Несмотря на экономический кризис, предприятие смогло сохранить свои позиции на рынке. Продукция используется в различных отраслях народного хозяйства, где есть оборудование, нуждающееся в бесперебойном и качественном электропитании. Основными ее потребителями являются предприятия энергетики (в том числе и атомной), металлургии, газопереработки и нефтехимии, а также узлы связи, типографии, медицинские учреждения.
Наряду с агрегатами и системами предприятие изготавливает и другую преобразовательную технику, такую как преобразователи напряжения, инверторы, выпрямители, шкафы управления оперативным током, коммутационные устройства, феррорезонансные стабилизаторы и блоки питания. Данное оборудование предназначено для преобразования тока, а также для регулирования параметров тока и напряжения.
Предприятие производит также низковольтные комплектные устройства (НКУ), предназначенные для управления, регулирования и защиты электроустановок, распределения, трансформации и учета электроэнергии, а также для электрических измерений и сигнализации, НКУ -изготавливается как по отраслевым стандартам так и по индивидуальным проектам.
Совместно с немецкой фирмой «MESSER-EWM» изготавливают сварочное оборудование инверторного типа, предназначенное для сварки всех видов сталей, сплавов на основе алюминия и никеля, меди и ее сплавов, для сварки изделий, работающих при высоких нагрузках и под высоким давлением.
На протяжении многих лет нашими партнерами являются такие предприятия как «Газкомплектимпэкс», ВПО «Зарубежатомэнергострой», ВО «Технопромэкспорт», все атомные электростанции России и Украины. Все изделия проходят на заводе полный цикл производства: изготовление металлоконструкций, изготовление трансформаторов, сборка и испытание готовых образцов. ОАО завод «Инвертор» имеет для этого современное технологическое оборудование и следующие производства:
- металлообрабатывающее;
- обработка пластмассы;
- гальваническое;
- инструментальное;
- трансформаторное;
- сборочное;
- лакокрасочное;
- испытательную лабораторию.
Коллектив завода - 596 человек, обладающих значительным опытом и знаниями в области производства сложных электротехнических изделий (источники бесперебойного питания - ИБП, выпрямители, инверторы, инверторные сварочные аппараты). Работники привыкли работать в условиях, когда к качеству продукции предъявляются особенно высокие требования - на заводе постоянно работает спец приемка Госатомнадзор (ГАН). Предприятие имеет лицензию на разработку и производство изделий для атомной энергетики.
Имеется возможность отгружать свою продукцию железнодорожным, автомобильным и авиационным транспортом. На предприятии действует гибкая система скидок оптовым покупателям и постоянным партнерам.
Ввиду спада производства и сокращения заказов традиционных потребителей, загрузка мощностей и производственных площадей завода в настоящее время составляет около 70%. Это позволяет разместить на заводе заказы на сборку и электротехнической продукции, используя имеющееся технологическое оборудование и квалификационные кадры. Завод готов размещать у себя заказы иностранных фирм по производству их изделий или отдельных блоков для России, СНГ и других стран. Таким образом, потенциальные партнеры смогут сократить свои затраты за счет уменьшения транспортных и таможенных расходов. Торговая марка «Инвертор» хорошо известна на нашем рынке. Кроме этого, завод готов осуществлять пуско-наладочные работы и гарантийное обслуживание всех изделий, проданных заводом, что высоко ценится потребителями.
Миссия завода заключается в организации высокотехнологического производства систем бесперебойного питания для удовлетворения потребностей различных отраслей народного хозяйства, где есть оборудование, нуждающееся в бесперебойном и качественном электропитании.
Основной целью завода является производство высокотехнологического, электротехнического оборудования и снабжение им различных отраслей народного хозяйства.
2.2 Реклама, используемая на ОАО завод «Инвертор»
На ОАО «Инвертор» используется несколько способов распространения информации о своей продукции и о себе. Так как завод выпускает специфическую продукцию, нецелесообразным будет рекламную компанию на TV, радио и в печати. То, что изготавливает ОАО «Инвертор» пользуется спросом в узком кругу потребителей, поэтому здесь применяется такие виды рекламы, как ИНТЕРНЕТ, телефонные продажи и выставочная деятельность.
Выставки являются одним из наиболее эффективных средств стимулирования продаж и стимулирования целевых аудиторий. Высокий коммуникационный эффект выставки заключается в возможности демонстрировать продукт, отвечать на вопросы и - что самое важное -строить личные отношения с покупателями и партнерами.
Так как ОАО «Инвертор» является предприятием широкой номенклатурой выпускаемой продукции ведется планирование выставочной деятельности по многим направлениям и как следствие - сочетание больших финансовых расходов с дефицитом времени для организации подготовительных работ к выставке, что влечет за собой снижение эффективности выставочной деятельности.
Процесс выставочной деятельности завода представлен алгоритмом, по которому ежегодно осуществляется анализ посещаемых выставок, выбор выставок для участия и составления плана-графика выставочной деятельности на следующий плановый период.
ОАО «Инвертор» определяет цели выставочной деятельности в рамках рыночных стратегии завода. Это необходимое условие как для выбора оптимального списка выставок для участия, так и для оценки эффекта от приведенного мероприятия.
При определении целей завод учитывает, что участие в выставке помогает ему осуществлять одновременно и коммутативную, и ценовую, и сбытовую, и товарную политику.
Наиболее важными целями участия в выставке является:
- определение возможного спроса на продукцию;
- ориентация в ситуации по отрасли;
- инициация действующих и поиск новых клиентов;
- поиск новых торговых посредников в регионе;
- завязывание новых контактов в деловом мире;
- изучение конкурентов.
При отсутствии достаточного бюджета или интереса к определенной выставке завод может ограничиться командированием на выставку своих представителей, без организации собственной экспозиции. Целью посещения представителя является:
- оценка конъюктуры и перспектив, тенденций рынка отрасли;
- сбор информации об определенных товарах, возможностях их применения;
- сбор информации на стендах основных конкурентов;
- сбор заказов, заключение договоров;
- оценка возможностей участия в качестве экспонента.
Организационный процесс участия в выставке делится на: подготовку, работу стенда и последующая обработка данных.
Недавно сбытовому подразделению принесла успех тактика посещения выставок в целевых регионах специалистами службы сбыта. Суть этой тактике в следующем: определялись выставки и целевые группы в регионе; по телефону достигалась договоренность о встречи на выбранной выставке; специалисты службы сбыта выезжали на выставку и встречались с потенциальными потребителями. В результате было получено большое количество заявок на продукцию, выпускаемую заводом.
Оценка эффективности выставочной деятельности за 2010 г показывает рост объемов продаж относительно 2009 г на 79%. План проведения выставок выполнен на 50%. Однако работы в этом направлении позволили достичь поставленных целей. Единственное, что препятствовало работе и повышению эффективности выставок, - недостаточная предварительная обработка рынков. Это показано в цифрах экспертной оценки. Эффективность выставочной деятельности не превысила 60%.
По результатам работы, с учетом анализа ошибок был составлен план-график выставочной деятельности на следующий период.
Проведенный анализ показал, что необходимо уменьшить количество проводимых мероприятий, улучшив при этом качество подготовки и проведения выставок.
Следующим видом рекламы используемой на ОАО «Инвертор» является ИНТЕРНЕТ.
Интернет обладает рядом преимуществ:
- возможность точного выбора целевой аудитории;
- качество передаваемого сообщения;
- эффективность отклика и возможность его обработки;
- скорость коммуникации.
Web-сайт завода используется для рекламы, получения общего представления о предприятии, распознания патентованного названия, обеспечения связей с широкой публикой, официального сообщения для печати, прямого сбыта, поддержки заказчика и технической помощи.
Сервис и послепродажное обслуживание
Данное направление использования ИНТЕРНЕТА в маркетинговой деятельности включает в себя:
- консультирование клиентов по e-mail;
- информирование на Web-сайте о новостях и т. д.
Однако поскольку сервис и послепродажное обслуживание связаны не только с постоянными, но и с теми оптовыми и розничными клиентами, которые приобрели продукцию завода лишь однажды и не собираются устанавливать тесные деловые контакты с производителем, ОАО «Инвертор» выделяет работу с ними в самостоятельное направление маркетинговой деятельности. Это будет способствовать поддержанию репутации завода, заботящегося о потребителях своей продукции. Покупатели же смогут непосредственно обращаться за консультацией к производителю, в том числе и за информацией о товарах-новинках, либо воспользоваться интернет-услугами.
3. Рекомендации по повышению эффективности рекламной деятельности на ОАО «Инвертор»
Рынок продукции ОАО «Инвертор», как и любой промышленный рынок, существенно отличается от любого рынка ТИП с точки зрения маркетинговой политики. Он характеризуется рядом особенностей, которые делают невозможным применение «классических» маркетинговых решений.
Прежде всего это ограниченное число покупателей. Почти все покупатели известны, каждый обладает своими особенностями, к каждому требуется особый подход.
Важным фактором является индивидуальность каждой сделка. Невозможно создание некоего унифицированного предложения для всех клиентов - потребность каждого клиента индивидуальна. Кроме того, некоторые сделки на рынке носят разовый характер. Как уже говорилось выше, оборудование имеет долгий срок службы; оно покупается один раз на много лет и, как правило, не требует последующего обслуживания со стороны поставщика.
Наконец, последней, однако не менее важной особенностью рынка является сложность принятия решения о покупке клиентом. Покупка оборудования требует значительных капиталовложений, изменений в производственном процессе. Решение о покупке оборудования у конкретного поставщика принимается в результате длительного процесса, включающего в себя десятки встреч и сотни телефонных разговоров.
Все эти особенности указывают на то, что зачастую инициатива первого контакта поставщика и клиента должна исходить от поставщика -иными словами, не клиент должен искать поставщика, а поставщик клиента. Таким образом, залогом успеха в этом бизнесе является активный сбыт.
Основой стимулирования сбыта является политика продвижения товаров. Так как на ОАО «Инвертор» изготавливается продукция особого характера, поэтому реклама здесь занимает не самое главное место. Как уже говорилось выше, на заводе используются такие виды рекламы как Интернет-реклама, телефонные продажи, выставочная деятельность, связи с общественностью.
Я предлагаю более усовершенствовать имеющиеся способы ведения рекламной деятельности и считаю не целесообразным ввод новых видов, так как продукция не будет пользоваться спросом у широких масс населения и политика активной рекламы не достигнет нужно эффекта и повлечет дополнительные ненужные расходы.
Рекомендации по повышению эффективности выставочной деятельности
Планируя выставочную деятельность и работу на 2003 специалистов различных служб предприятия на выставках, необходимо предпринять следующие шаги:
- для оптимизации затрат и увеличения выставочной деятельности необходимо общее количества посещаемых в 2003г выставок оставить на уровне 2010г.
- одной из важных целей выставочной деятельности является увеличение сбыта, поэтому рекомендуется запланировать участие предприятия в выставках. Сбытовые службы предприятия должны использовать тактику предварительных переговоров с потенциальными клиентами перед посещением выставок.
- Подготовительно-организационный период для каждой выставки должен быть не менее 3-х месяцев, начиная с оформления приказа и определения состава бригады с учетом рекомендаций маркетинговых и сбытовых служб, -для работы по заключению договоров на выставках обязательно должна быть сформирована программа стендистов из специалистов сбытовых подразделений завода, прошедших обучение по тактике ведения переговоров.
- Необходимо создать фонд выставочных экспонатов соответствующего качества.
- В соответствии с фирменным стилем завода нужно запланировать изготовление отдельных элементов одежды персонала, работающего на стенде.
- На выставке (региональные и международные) обязательно должны направляться специалисты службы маркетинга, конструкторских подразделений в качестве посетителей для сбора информации о тенденциях развития рынка, конкурентах, ознакомление с новыми рыночными нишами.
- Специалисты сбытовых служб направляются на выставки с целью поиска посредников и дилеров в регионах. -при работе на выставках рекомендуется прокат рекламных видеороликов по тематике выставки и радиореклама с приглашением на стенд
По окончании работы выставки руководитель стенда обязан предоставить отчет о работе с анализом данных. Копии отчетов должны направляться в маркетинговые службы предприятия для обязательной проработки. Контроль результатов является основой решений по принятию решения об участии в следующих выставках.
Выставки - это всегда комплексное решение взаимосвязанных задач. Предлагаемый мною подход требует дополнительных затрат времени, но значительно экономит финансовые средства без потери качества. В конечном итоге это способствует достижению отличных результатов при планировании, организации и контроле маркетинговых коммуникаций и грамотному обоснованию бюджета для финансово-экономических служб и высшего руководства завода. Таким образом, при творческом подходе к данному вопросу удается максимально оптимизировать выставочную деятельность предприятия и скоординировать работу всех заинтересованных служб предприятия по данному направлению.
Проведение «правильной» рекламной кампании на сайте позволяет решить, хотя бы частично, определенные задачи: увеличить объем продаж товара, «сломать» вредные стереотипы потребителей, привлечь к сотрудничеству новых дистрибьюторов и т.д. Риск проявления пагубных свойств неудачного креатива можно значительно уменьшить, измерив до начала кампании ключевые характеристики восприятия аудиторией рекламного сообщения, а также проанализировав отклики респондентов на элементы рекламы и на эмоциональном, и на рациональном уровнях. Подобно тестированию могут быть подвергнуты любые носители рекламного сообщения в Интернете: все виды баннеров, дополнительные окна, тексты графика, мультимедиа. В рамках одного исследования возможно тестирование нескольких вариантов рекламных материалов, черновиков или концепций. Такой подход позволяет сравнивать предлагаемые альтернативы и сделать предлагаемый выбор.
Руководитель, ориентированный на будущее, должен использовать в полной мере потенциал возможностей паблик рилейшнз( ПР). Хорошо отлаженная система ПР дает возможность руководителю постоянно и четко видеть «окно возможностей» завода, своевременно использовать изменения настроения в обществе, возможностей и желаний пользователей и не дать опередить себя конкурентам. Для успешных достижений поставленных целей следует:
- работать на предоставление и удовлетворение потребностей заказчиков .
- стараться убедить потенциальных покупателей в том, что предлагаемые товары и услуги стоят больше, чем запрашиваемая цена,
- работать вне бизнеса, а не внутри его. Смотрите на свой бизнес как бы со стороны, входите в положение клиента.
- Установить обратную связь с обществом потребителей.
Постоянно держите в поле зрения изменения ожиданий, потребностей и возможностей общества.
- Рынок постоянно меняется.
-Всегда учитывать перспективную ценность своих клиентов.
Каждый клиент рекламирует товар, привлекая к новых покупателей.
- Помнить, что успех гарантируют только разумные действия
Заключение
В ходе курсовой работы были рассмотрены следующие вопросы:
- понятие, виды и основные задачи рекламы;
- рекламная деятельность ОАО «Инвертор»;
- были даны рекомендации по повышению эффективности рекламной деятельности на предприятии.
Мы убедились, что каждый этап, начиная с момента создания продукции и заканчивая её сбытом, должен сопровождаться активной программой рекламного воздействия. Целенаправленные рекламные усилия должны присутствовать как в сфере производства, так и в сфере торговли. Без умения пользоваться средствами рекламы резко снижается возможность активно воздействовать на рынок, обеспечить себе успех в конкурентной борьбе за рынки сбыта. Реклама должна способствовать созданию потребителям условий для свободного выбора торговых и других предприятий, услуг, товаров. Только в таких условиях выбора покупатель может быть непосредственно включен в процесс целевой ориентации производства на спрос, на потребности конкретных групп населения
Таким образом, реклама, являясь одной из форм информационной деятельности, обеспечивает связь между производством и потреблением.
Список использованных источников
Романов А.Н., Корлюгов Ю.Ю., Красильников С.А. и др. Маркетинг: Учебник./Под ред. Романова А.Н. - М.: Банки и биржи, ЮНИТИ, 1996. – 560с.
Ворот И. Экономика фирмы. - М.: Высшая школа, 1994.
Панкратов Ф.Г. Коммерческая деятельность. М.: ИВЦ "Маркетинг", 1996.
Л.В. Осипова, И.М. Синяева. Основы коммерческой деятельности. - М.: Банки и биржи, ЮНИТИ, 1997.
Уткин Э.А. Маркетинг: Учебник для вузов, М – «ТАНДЕМ», 2009. – 320с.
Васильев А.Д. Маркетинг: Учебник, М: ЮНИТИ-ДАНА, 2010.-208с.
Маркетинг: Учеб. – практическое пособие. – М: МГУ экономики, статистики и информации, 1998. – 178с. (Система дистанционного образования).
Основы маркетинга: 100 экзаменационных ответов. – Ростов н/Д: Издательский центр «МарТ», 2009. – 448с.
Райсберг Б.А., Лозовский Л.Ш., Стародубцева Е.Б. / Современный экономический словарь. – 3-е изд., перераб. И доп. – М.: ИНФРА-М, 2009. – 480с. (Библиотека словарей ИНФРА-М).
Маркетинг / Толковый терминологический словарь-справочник, М: ИНФОКОНТ, 1991. – 224с.
Журнал / Маркетинг,1998, № 1. А Блинов. Развитие лизинга в России, стр.3
Журнал / Маркетинг, 1997, № 3.А. Яновский. Маркетинг в производственно-сбытовой деятельности – залог коммерческого успеха, стр. 37.
Журнал / Маркетинг,1997, № 6. А. Ващекин, Б Кулиев. Моделирование коммерческой деятельности оптовых структур, стр. 38
Журнал / Маркетинг,1996, № 3.Н. Моисеева, П. Забелин. Синтез маркетинговых моделей для управления продвижением и сбытом продукции на основе метаболтческого подхода.
Журнал / Маркетинг в России и за рубежом, 2010, № 4. В.В. Бурцев. Методические основы системы сбыта готовой продукции, стр.54
Журнал / Маркетинг в России и за рубежом, 2009, № 4. В.В. Никишкин, А.Б. Цветкова. Особенности комплекса маркетинга, стр.101.
Журнал / Маркетинг в России и за рубежом, 2010, № 3. В.А. Савин, В.А. Сковорода. Роль субъектов Российской Федерации в формировании товарной структуры экспорта страны, стр.42.