Разработка и расчет двухкаскадного усилителя с релейным выходом
Разработка и расчет двухкаскадного усилителя с релейным выходом
Выполнил студент группы УЭМ-4 Коротков А. Г.
Дальневосточный государственный технический рыбохозяйственный университет
Владивосток 2008
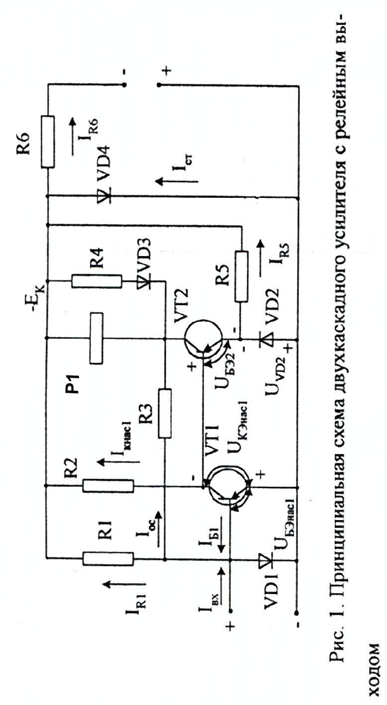
Принципиальная схема и описание работы.
Усилители с релейным выходом широко применяются в электрических схемах автоматики, управления и защиты. На базе таких усилителей строят схемы нуль-индикаторов с мощностью срабатывания нескольких десятков микроватт, схемы измерительных органов защиты, подключаемые к маломощным датчикам, и исполнительные элементы с выходной мощностью до нескольких киловатт. Релейное действие этого усилителя проявляется в том, что при определенном изменении величины входного сигнала или его знака усилитель практически мгновенно переходит из одного устойчивого состояния в другое. Принципиальная схема усилителя приведена на рис. 1.
Она содержит два усилительных каскада на транзисторах VT1,VT2 работающих в ключевом режиме. В цепь коллектора транзистора VT2 включена катушка малогабаритного электромагнитного реле Р1. Усилитель питается от источника постоянного тока через параметрический стабилизатор напряжения (стабилитрон VD4 и резистор R6).
Схема работает следующим образом. При отсутствии входного сигнала транзистор VT1 открыт и насыщен, а транзистор VT2 закрыт, реле Р1 обесточено. Открытое состояние транзистора обеспечивается током в цепи базы через резисторы R1 и R3 от источника коллекторного питания ЕК . Транзистор VT2 при этом находится в режиме отсечки, так как напряжение на его базе положительно относительно эмиттера и примерно равно напряжению смещения, которое задается диодом VD2. Появление отрицательного входного сигнала (минус на базе транзистора) не приводит к изменению состояния транзисторов усилителя.
При появлении положительного входного сигнала появляется входной ток, уменьшающий ток в цепи базы открытого транзистора VT1. При некотором входном токе транзистор VT1 переходит из режима насыщения в усилительный режим. В усилительном режиме уменьшение тока в цепи базы приводит к уменьшению тока в цепи коллектора транзистора, что приводит к увеличению отрицательного потенциала на базе транзистора VT2 и его отпиранию.
В момент переключения транзисторов действует положительная обратная связь (резистор R3). Отпирание транзистора VT2 приводит к уменьшению напряжения на его коллекторе, следовательно, уменьшается ток через резистор R3 и ток в цепи базы транзистора VT1. Этот процесс ускоряет запирание транзистора VT1, что в свою очередь ускоряет отпирание транзистора VT2, т.е. наступает лавинообразный процесс, приводящий практически к мгновенному насыщению транзистора VT2. Положительная обратная связь обеспечивает релейный эффект. При уменьшении или исчезновении входного тока транзисторы усилителя переключаются в исходное состояние.
При запирании транзистора VT2 на катушке реле Р1, обладающей индуктивностью, наводится ЭДС самоиндукции, которая, складываясь с напряжением коллекторного питания, может привести к пробою транзистора. Для защиты от наводимых перенапряжений применяется цепочка VD3, R4. Появляющееся перенапряжение открывает диод VD3 и ток реле Р1 при запирании транзистора VT2 будет уменьшаться постепенно, замыкаясь через цепочку VD3, R4. Напряжение на транзисторе VT2 в этом случае увеличится только на величину падения напряжения в этой цепочке.
Постепенное уменьшение тока в катушке Р1 при запирании транзистора VT2 приводит к увеличению времени возврата реле, что не всегда приемлемо. Для уменьшения времени возврата реле увеличивают сопротивление резистора R4.
Исходные данные, вариант №17:
I
=300
µA ± 10 % →
0.0003 A → 0.00027÷0.00033 А
U
=220
V ± 10% →
198÷242 V
tº = 203÷343 K → -70÷70 ºC
Реле:
U
=
12 V
R
=320
Ohm
K
=0.7÷1.2
→
8.4÷14.4 V
Расчет.
Начнем с выбора элементов схемы
параметрического стабилизатора.
Определяем напряжение надежного
срабатывания реле Р1 , которое находится
в пределах 0.7÷1.2 U
т.е. 8.4÷14.4 V.
I= U
/R
=12/320=0.0375
А.
Обеспечить эти параметры можно с помощью стабилитрона КС512А с номинальным напряжением стабилизации 12 V. Основные параметры этого стабилитрона приведены ниже.
I
=1
мА.
I
=67
мА.
Р
=
1 Вт.
R ≤ 25 Ом.
Разброс напряжений стабилизации в зависимости от температур при токе стабилизации
5 мА приведен в таблице.
|
Температура К |
Напряжение стабилизации В |
|
303 |
10.8 ÷ 13.2 |
|
213 |
9.9 ÷ 13.2 |
|
273 |
10.8 ÷ 14.5 |
Окончательный расчет параметрического стабилизатора будет проведен после расчета усилителя.
Выберем транзисторы усилителя. Для повышения надежности работы транзисторов рекомендуется выбирать рабочие напряжения и токи так, чтобы они не превышали
0.7 ÷ 0.8 предельных значений. Учитывая максимальное коллекторное напряжение, для нашей схемы нужен транзистор, у которого постоянное напряжение, коллектор – эмиттер
U
›
Е
/ 0.7 =14.5/0.7=20.7 V.
А постоянный ток коллектора
I
›
E
/
R
=14.5/320=0.0453
А.
Для обоих каскадов усилителя выбираем транзистор КТ3107Б, параметры которого приведены ниже
|
h |
I |
120 ÷ 220 |
|
I |
≥ 30 |
|
|
I |
≥50 |
|
|
U |
I |
≤0.5 |
|
I |
≤0.2 |
|
|
U |
I |
≤1 |
|
I |
≤0.8 |
|
|
I |
≤0.1 |
|
|
I |
≤0.1 |
|
|
U |
50 |
|
|
U |
45 |
|
|
U |
5 |
|
|
I |
100 |
|
|
P |
t=213÷298 K |
300 |
Усилитель рассчитываем при номинальном напряжении коллекторного питания и температуре 298 К. Расчет начинаем с выходного каскада.
Для создания источника запирающего напряжения в цепи транзистора VT2 выбираем кремниевый диод VD2 КД102А.
Параметры диода:
U
=
250 V.
I
=
0.1 A.
I
=
0.1 µA.
U
=
1 V.
Выбираем прямой ток диода VD2 2мА. И определяем прямое напряжение на диоде,
Равное U
=0.8
V. при температуре 298 К. Тогда сопротивление
резистора R5
R5=(Е
-
U
)/I
=(12-0.8)/0.002=5600
Ом.
Выбираем номинальное сопротивление 5.6 кОм. ±5%
Мощность рассеиваемая на резисторе учитывая максимальное коллекторное напряжение будет:
P
≈
Е2
/ R5 =14.42/5600=0.037 Вт.
Выбираем резистор R5 МЛТ-0,125 5,6 кОм. ±5%.
Через R5 и диод VD2 протекает ток:
I
=(E
-
U
)/R5=(12-0.8)/5600=0.002
А.
Ток в цепи коллектора транзистора VT2 когда он находится в режиме насыщения, будет:
I
=(Е
-
U
-
U
)/R
=(12-0.8-0.5)/320=0.0334
А.
Минимальное напряжение на катушке реле Р1 когда транзистор VT2 находится в режиме насыщения, с учетом неблагоприятных сочетаний параметров элементов схемы равно:
U
=E
-
U
-
U
=9.9-1-0.5=8.4
V.
Что находится в допустимых пределах.
Максимальный прямой ток диода VD2, когда транзистор VT2 насыщен, с учетом неблагоприятных параметров элементов схемы равен:
IVD2.max.=IK.нас.+ IR5 ≈ EK.max. / RP1 + EK.max. / R5 =14.4/320+14.4/5600=0.0476 A.
Что меньше максимально допустимого тока для диода типа КД102А.
Расчетный статический коэффициент передачи тока транзисторов
H31Э.расч.=H31Э Кс КТ
где Кс =0.7 коэффициент учитывающий старение, КТ – коэффициент учитывающий температуру КТ = 0.6 при температуре 233 К. и КТ =1.2 при температуре 323 К.
Минимальный статический коэффициент передачи тока транзистора VT2 учитывая режим работы, определим как
H31E.min2 = 50*0.7*0.6=21
Ток в цепи базы VT2 на границе насыщения
IB2 = IK.нас. / H31E.min2 =0.0334/21=0.0016 A.
Ток в цепи базы в режиме насыщения, принимая коэффициент насыщения равным 1.2
IB.нас2. =1.2* IB2 =1.2*0.0016=0.0019 А.
Если транзистор VT2 в режиме насыщения, то VT1 в режиме отсечки. По резистору R2 проходит ток базы VT2 и обратный ток коллектора VT1
IR2 =IB.нас2. + IKB0.1=0.0016 + 0.00000001 ≈ 0.0016 A.
Сопротивление резистора R2
R2 = (EK – UBE.нас2. – UVD2) / IR2 =(12-1-0.8)/0.0016=6375 Ом
Определим максимальную мощность на R2
PR2 =
E
R.max.
/ R2 =14.4
/
6375=0.0325 Вт.
Выбираем резистор R2 МЛТ-0.125 6.2 кОм ± 5%
Напряжение между базой и эмиттером транзистора, необходимое для создания режима отсечки
UBE0 ≥ φθ ln(1+H31E)=θ / 11600 * ln(1+ H31E)
Где φθ – температурный потенциал, θ – максимальная температура К. Принимая статический коэффициент передачи тока максимальным, находим
H31E.max =220*1.2=264
и подставляя получим
UBE0 = 343/11600*ln265≈0.1649 V.
Определим максимальное напряжение между базой и эмиттером транзистора VT2 в режиме отсечки.
На основании второго закона Кирхгофа можно записать:
UBE0 – UVD2 + UKEнас1 =1
Откуда
UBE2 = UVD2 - UKEнас1 =0.5-0.2=0.3 V.
Следовательно транзистор VT2 будет в режиме отсечки, так как напряжение на его базе, рассчитанное при минимальном напряжении на VD2, положительно относительно эмиттера и больше, чем рассчитанное UBE0.
Ток в цепи коллектора транзистора VT1 в режиме насыщения
IK.нас1=(EK – UKЕ.нас1)/R2=(12-0.2)/6300=0.0019 A.
Минимальный статический коэффициент передачи тока транзистора VT1 учитывая величину тока в цепи эмиттера и то, что
H31E.рас. = H31Э Кс КТ
H31E.min1=120*0.7*0.6=50
Ток в цепи базы VT1 на границе насыщения
IB1=IK.нас1 / H31E.min1 =0.0019/50=0.000038 A.
Сопротивление резистора R3 в цепи обратной связи
R3 ≤ (H31E.min1 H31E.min2 – 1)*RP =(50*21-1)*320=335680 Ом
Выбираем резистор R3 МЛТ-0.125 330 кОм ±5% (мощность выделяющаяся на резисторе меньше 0.125 Вт). Ток в цепи обратной связи (если VT1 открыт а VT2 закрыт)
Ioc =IR3=(EK - UBE.нас1) / (R3 + RP) =(12-0.8) / (330000+320)=0.000034 A.
Определим сопротивление R1 из условия обеспечения заданного входного тока срабатывания усилителя. Усилитель срабатывает, если под воздействием входного тока транзистор VT1 из режима насыщения переходит в усилительный при котором ток в цепи базы пропорционален току в цепи коллектора. Составим для точки А выражение в соответствии с первым законом Кирхгофа
Iвх.ср.+ IB1 = IR1 + Ioc
Отсюда ток в резисторе R1 при срабатывании усилителя
IR1 = Iвх.ср.+ IB1 – Ioc = Iвх.ср.+ IKE.нас.1 / H31E.1 - Ioc
Определим величину тока в резисторе R1 при крайних значениях коэффициента передачи тока транзистора VT1:
IR1.max = 0.0003 + 0.0019/50-0.000034=0.000304 A.
IR1.min = 0.0003 + 0.0019/264-0.000034=0.000273 A.
Предельные значения сопротивлений резистора R1
R1min = (EK – UBЕ.нас1.) / IR1.max =(12-0.8) / 0.000304=36842 Ом.
R1max = (EK – UBЕ.нас1.) / IR1.min =(12-0.8) / 0.000273=41025 Ом.
Из расчета следует, что для обеспечения тока срабатывания усилителя в заданной точностью ±10% сопротивление резистора R1 подбираем при настройке схемы усилителя. Для дальнейших расчетов принимаем сопротивление резистора R1 39 кОм ±5%, при этом
IR1 = EK / R1 =12/39000=0.000308 A.
Мощность потребляемая усилителем от источника сигнала при срабатывании
Pср = Iвх.ср. * UBE0 =0.0003*0.1649=0.000049 Вт.
Определим величину сопротивления резистора R4 из условия, чтобы при запирании транзистора VT2 напряжение на нем не превысило максимально допустимое. При запирании VT2 на обмотке реле Р1, обладающей индуктивностью, наводится ЭДС самоиндукции, под воздействием которой открывается диод VD3. Будем считать, что ток IК.нас.2. замыкается по цепочке VD3 R4, создавая дополнительное падение напряжения. Следовательно, напряжение на запирающемся транзисторе VT2
UEK2.= EK + IК.нас.2. * R4 + UVD3 < UKE.max.
Отсюда, принимая прямое падение напряжения на диоде VD3 1v, получим
R4 < (UKE.max. - EK - UVD3 )/IK.нас2.=(45-12-1)/0.0334=958 Ом.
Выбираем резистор R4 МЛТ-0.125 910 Ом ±5%.
Выбираем диод VD3 Д223.
Максимальное постоянное напряжение
эмиттер – база транзистора VT1 U
=5v.,
поэтому для защиты от обратных напряжений
включен диод VD1 . При появлении на входе
усилителя обратных напряжений открывается
диод VD1 , и напряжение между эмиттером
и базой VT1 будет равно прямому напряжению
на диоде VD1 . Для этой цели выбираем диод
Д223.
Определяем мощность, потребляемую схемой усилителя от источника коллекторного питания. Если транзистор VT1 открыт, а VT2 закрыт, то суммарный ток IH потребляемый схемой, равен
IH = IR1 + Ioc + IK.нас1+ IR5 = 0.000308+0.000034+0.0019+0.002=0.004242 A.
Потребляемая мощность
PH = EK * IH = 12*0.004242 = 0,050904 Вт.
Эквивалентное сопротивление нагрузки
RH.max = EK / IH = 12 / 0.004242 = 2836 Ом.
Если транзистор VT1 закрыт, а VT2 открыт, то суммарный ток IH потребляемый схемой, равен
IH = IВ.нас2. + IК.нас2. + IR5 = 0.0019+0.0334 +0.002= 0.0373 A.
Потребляемая мощность
PH = EK * IH = 12*0.0373 = 0.4476 Вт.
Эквивалентное сопротивление нагрузки
RH.min = EK / IH = 12 / 0.0373 = 322 Ом.
Таким образом, сопротивление нагрузки подключаемой к источнику коллекторного питания, в процессе работы схемы изменяется от 322 до 2836 Ом. Определим крайние значения токов, потребляемых нагрузкой, с учетом изменения напряжения коллекторного питания
IH.max. = EK.max. / RH.min = 14.5 / 322 =0.045 A.
IH.min. = EK.min. / RH.max = 9.9 / 2836 =0.0035 A.
Рассчитаем балластное сопротивление стабилитрона и изменения напряжения питания. Ток стабилитрона при неблагоприятных сочетаниях параметров должен быть больше минимального и меньше максимального тока стабилизации, указанных в справочных данных на стабилитрон. Схема рассчитываемого стабилизатора приведена на рис.

Минимальный ток через стабилитроны
Ict.min. = IR6.min. – IH.max.
Принимая минимальный ток через стабилитрон Ict.min. = 1 мА. Определим
IR6.min = Ict.min. + IH.max. =0.001+0.045=0.046 А.
Определим сопротивление резистора R6 с учетом минимального напряжения питания и максимального напряжения стабилизации
R6 =(Uпит.min. – EK.max.) / IR6.min =(198-14.5)/0.046=3989 Ом.
Выбираем номинальное сопротивление 3.9 кОм. ±5%. Определим минимальные и максимальные токи через резистор с учетом изменения напряжения питания и напряжения стабилизации
IR6.max. =(Uпит.max. – EK.min.) / R6 = (242-9.9)/3900=0.059 А.
IR6.min. =(Uпит.min. – EK.max.) / R6 = (198-14.5)/3900=0.047 А.
Проверим токи через стабилитрон
IСТ.min. = IR6.min. - IH.max. =0.047 – 0.045=0.002 А.
IСТ.max. = IR6.max. - IH.min. =0.059 – 0.0035=0.056 A.
Расчеты подтверждают правильность выбора параметров схемы стабилизатора, так как токи стабилитронов находятся в допустимых пределах при неблагоприятных сочетаниях факторов.
Максимальная мощность, рассеиваемая резистором R6
PR6.max. =( Uпит.max. – EK.min.)2 / R6 = (242-9,9)2 / 3900 =13.81 Вт.
Выбираем резистор ПЭВ-15 3,9 кОм ±5%.
Номинальная мощность, потребляемая схемой от источника питания
Pnom. =(Uпит.nom. – EK.nom.)2 / R6 =(220-12)2 / 3900=11.09 Вт.
Определим коэффициент стабилизации выбранного параметрического стабилизатора. Будем считать, что при неизменной нагрузке на стабилизатор ток через стабилитрон изменяется только за счет изменения напряжения питания, следовательно
ΔICT =ΔUпит. / R6 = (Uпит.max. – Uпит.min.) / R6 =(242-198)/3900=0.0113 A.
Изменение напряжения на нагрузке вызвано наличием дифференциального сопротивления стабилитронов, которое в соответствии со справочными данными принимаем RVD=25 Ом.
Следовательно
ΔUH = ΔIct* RVD = 0.0113*25= 0.28 v.
Коэффициент стабилизации стабилизатора при неизменной нагрузке и изменении напряжения питания
Кст.=(ΔUпит./Uпит.nom.) / (ΔUH/UH.ном.) = (44/220) / (0.28/12) = 8.6
Необходимо отметить, что приведенный расчет коэффициента стабилизации является приближенным, так как не учитывает влияние температуры и изменение нагрузки.
Элементы схемы, выбранные при расчете, сведены в таблице
|
Обозначение элементов |
Тип |
Количество |
|
VD1,VD3 |
Д223 |
2 |
|
VD2 |
КД102А |
1 |
|
VD4 |
КС512А |
1 |
|
VT1,VT2 |
КТ3107Б |
2 |
|
R1 |
МЛТ-0,125 – 39 кОм ±5% |
1 |
|
R2 |
МЛТ-0,125 – 6,2 кОм ±5% |
1 |
|
R3 |
МЛТ-0,125 – 330 кОм ±5% |
1 |
|
R4 |
МЛТ-0,125 – 910 Ом ±5% |
1 |
|
R5 |
МЛТ-0,125 – 5,6 кОм ±5% |
1 |
|
R6 |
ПЭВ-15 - 3,9 кОм ±5%. |
1 |
Список литературы
Для подготовки данной применялись материалы сети Интернет из общего доступа
\

=2
mA
V.
=5
мА.
V.
µA.
µA.
V.
V.
mA.