Инфракрасная спектроскопия (работа 1)
Инфракрасная спектроскопия
Введение
Спектроскопия — раздел физики и аналитической химии, посвящённые изучению спектров взаимодействия излучения (в том числе, электромагнитного излучения, акустических волн и др.) с веществом. В физике спектроскопические методы используются для изучения всевозможных свойств этих взаимодействий. В аналитической химии – для обнаружения и определения веществ при помощи измерения их характеристических спектров, т.е. методами спектрометрии.
Области применения спектроскопии разделяют по объектам исследования: атомная спектроскопия, молекулярная спектроскопия, масс-спектроскопия, ядерная спектроскопия, инфракрасная спектроскопия и другие.
Метод инфракрасной спектроскопии дает возможность получить сведения об относительных положениях молекул в течение очень коротких промежутков времени, а также оценить характер связи между ними, что является принципиально важным при изучении структурно-информационных свойств различных веществ.
В основе этого метода лежит такое физическое явление, как инфракрасное излучение. Инфракрасное излучение также называют «тепловым» излучением, так как все тела, твёрдые и жидкие, нагретые до определённой температуры, излучают энергию в инфракрасном спектре. При этом длины волн, излучаемые телом, зависят от температуры нагревания: чем выше температура, тем короче длина волны и выше интенсивность излучения. Спектр излучения абсолютно чёрного тела при относительно невысоких (до нескольких тысяч Кельвинов) температурах лежит в основном именно в этом диапазоне.
Сущность метода инфракрасной спектроскопии
Инфракрасная спектроскопия (ИК спектроскопия), раздел молекулярной оптической спектроскопии, изучающий спектры поглощения и отражения электромагнитного излучения в инфракрасной области, т.е. в диапазоне длин волн от 10-6 до 10-3 м. В координатах интенсивность поглощенного излучения - длина волны (волновое число) инфракрасный спектр представляет собой сложную кривую с большим числом максимумов и минимумов.

Ближний ИК-спектр жидкого этанола
Полосы поглощения появляются в результате переходов между колебательными уровнями основного электронного состояния изучаемой системы. Спектральные характеристики (положения максимумов полос, их полуширина, интенсивность) индивидуальной молекулы зависят от масс составляющих ее атомов, геометрии строения, особенностей межатомных сил, распределения заряда и др. Поэтому инфракрасные спектры отличаются большой индивидуальностью, что и определяет их ценность при идентификации и изучении строения соединений.
Количественная связь между интенсивностью I прошедшего через вещество излучения, интенсивностью падающего излучения I0 и величинами, характеризующими поглощающее вещество, основана на законе Бугера-Ламберта-Бера, т. е. на зависимости интенсивности полос поглощения от концентрации вещества в пробе. При этом о количестве вещества судят не по отдельным полосам поглощения, а по спектральным кривым в целом в широком диапазоне длин волн. Если число компонентов невелико (4-5), то удается математически выделить их спектры даже при значительном перекрывании последних. Погрешность количественного анализа, как правило, составляет доли процента.
На практике обычно инфракрасный спектр поглощения представляют графически в виде зависимости от частоты (или длины волны ) ряда величин, характеризующих поглощающее вещество: коэффициента пропускания T () = I ()/I0(); коэффициента поглощения А() = [I0() — I ()]/I0() = 1 — Т(); оптической плотности D() = ln[1/T()] = ()cl, где () — показатель поглощения, с — концентрация поглощающего вещества, l — толщина поглощающего слоя вещества. Поскольку D() пропорциональна () и с, она обычно применяется для количественного анализа по спектрам поглощения.
Возможности использование инфракрасной спектроскопии для качественного обнаружения и определения структуры
Метод инфракрасной спектроскопии является универсальным физико-химическим методом, который применяется в исследовании структурных особенностей различных органических и неорганических соединений. Метод основан на явлении поглощения группами атомов испытуемого объекта электромагнитных излучений в инфракрасном диапазоне. Поглощение связано с возбуждением молекулярных колебаний квантами инфракрасного света. При облучении молекулы инфракрасным излучением поглощаются только те кванты, частоты которых соответствуют частотам валентных, деформационных и либрационных колебаний молекул.
Для регистрации спектров поверхности твердых тел применяют метод нарушенного полного внутреннего отражения. Он основан на поглощении поверхностным слоем вещества энергии электромагнитного излучения, выходящего из призмы полного внутреннего отражения, которая находится в оптическом контакте с изучаемой поверхностью. Инфракрасная спектроскопия широко применяют для анализа смесей и идентификация чистых веществ.
Идентификация чистых веществ производится обычно с помощью информационно-поисковых систем путем автоматического сравнения анализируемого спектра со спектрами, хранящимися в памяти ЭВМ. Для идентификации новых веществ (молекулы которых могут содержать до 100 атомов) применяют системы искусственного интеллекта. В этих системах на основе спектроструктурных корреляций генерируются молекулярные структуры, затем строятся их теоретические спектры, которые сравниваются с экспериментальными данными. Исследование строения молекул и др. объектов методами инфракрасной спектроскопии подразумевает получение сведений о параметрах молекулярных моделей и математически сводится к решению обратных спектральных задач. Решение таких задач осуществляется последовательным приближением искомых параметров, рассчитанных с помощью специальной теории спектральных кривых к экспериментальным.
Параметрами молекулярных моделей служат массы составляющих систему атомов, длины связей, валентные и торсионные углы, характеристики потенциальной поверхности (силовые постоянные и др.), дипольные моменты связей и их производные по длинам связей и др. Инфракрасная спеткроскопия позволяет идентифицировать пространственные и конформационные изомеры, изучать внутри- и межмолекулярные взаимодействия, характер химических связей, распределение зарядов в молекулах, фазовые превращения, кинетику химических реакции, регистрировать короткоживущие (время жизни до 10-6 с) частицы, уточнять отдельные геометрические параметры, получать данные для вычисления термодинамических функций и др.
Необходимый этап таких исследований - интерпретация спектров, т.е. установление формы нормальных колебаний, распределения колебательной энергии по степеням свободы, выделение значимых параметров, определяющих положение полос в спектрах и их интенсивности. Расчеты спектров молекул, содержащих до 100 атомов, в том числе полимеров, выполняются с помощью ЭВМ. При этом необходимо знать характеристики молекулярных моделей (силовые постоянные, электрооптические параметры и др.), которые находят решением соответствующих обратных спектральных задач или квантовохимическими расчетами.
И в том, и в другом случае обычно удается получать данные для молекул, содержащих атомы лишь первых четырех периодов периодической системы. Поэтому инфракрасная спектроскопия как метод изучения строения молекул получил наибольшее распространение в органической и элементоорганической химии. В отдельных случаях для газов в инфракрасной области удается наблюдать вращательную структуру колебательных полос. Это позволяет рассчитывать дипольные моменты и геометрические параметры молекул, уточнять силовые постоянные и т.д.
Инфракрасная спектроскопия имеет ряд преимуществ перед спектроскопией в видимой и ультрафиолетовой областях, так как позволяет проследить изменение всех основных типов связей в молекулах исследуемых веществ. При использовании инфракрасной спектроскопии для определения качественного и количественного состава природных смесей не происходит разрушение веществ, что позволяет применять их для последующих исследований.
Как известно, при инфракрасной спектроскопии в диапазоне каждой химической группировке органической молекулы соответствует определенный набор полос поглощения, которые хорошо изучены и приведены в соответствующих справочниках. При этом следует отметить, что в процессе снятия инфракрасного спектра создаются помехи на определенных длинах волн, связанные с поглощением электромагнитного излучения связями растворителей О-Н и С-Н.
Инфракрасный спектр биологического образца представляет собой суммарный спектр, в котором происходит наложение полос поглощения различных функциональных групп органических веществ а также воды. Это явление усложняется в виду взаимодействия отдельных видов колебаний указанных групп, при этом происходит искажение формы полос поглощения и смещение их максимумов. Поэтому на инфракрасных спектрах наблюдается большое число широких полос поглощения с неясными максимумами. Обычно расшифровка инфракрасных спектров биологических образцов весьма затруднительна, поэтому, чтобы облегчить расшифровку суммарного спектра, необходимо разделять биологический образец на более простые компоненты. Это дает возможность получить большее число полос поглощения для исследуемого вещества и более точно определить состав компонентов в образце.
Положительной
особенностью метода инфракрасной
спектроскопии является то, что полосы
поглощения одного и того же вида колебаний
атомной группы различных веществ
располагаются в определенном диапазоне
инфракрасного спектра (например,
3720-3550 см-1- диапазон валентных колебаний
групп -ОН; 3050-2850 см-1 - групп -СН, -СН2, -СН3
органических веществ). Точное положение
максимума полосы поглощения атомной
группы в пределах этого диапазона
указывает на природу вещества (так,
максимум 3710 см-1 свидетельствует о
наличии групп -ОН, а максимум 3030 см-1 - о
присутствии групп =С-Н ароматических
структур).

Характеристические частоты функциональных
групп в органических соединениях
Однако, если исследуемый объект представляет собой не механические смеси, а является сложным химическим соединением, то указанные особенности инфракрасных спектров не обнаруживаются.
Число характеристических полос поглощения атомных групп, их интенсивность и положение максимумов, наблюдаемых на инфракрасных спектрах, дают представление о строении индивидуального соединения или о компонентном составе сложных веществ. Интенсивность полосы поглощения определяется величиной, численно равной энергии, которую поглощают атомные или функциональные группы образца при прохождении через них инфракрасных лучей. Важным диагностическим показателем полос поглощения является величина пропускания. Данный показатель и концентрация вещества в снимаемом объекте связаны обратной пропорциональной зависимостью, что используется для количественных определений содержания отдельных компонентов.
Метод инфракрасной спектроскопии позволяет исследовать твердую, жидкую фазы биологической массы. Этот метод позволяет изучать образец в целом, без его расчленения и предварительных химических обработок, а также использовать малые (до 10 мг) навески.
Поглощение органических веществ в различных участках инфракрасного диапазона определяется входящими в состав молекулы химическими группировками, а точнее образующими их связями, поэтому метод позволяет суммарно определить родственные вещества, по характеристическим зонам поглощения.
Инфракрасная спектроскопия широко применяется для анализа биологических жидкостей, в частности крови и ее фрагментов, а в последнее время для диагностики и прогнозирования различных заболеваний все в возрастающей степени используется ротовая жидкость или смешанная слюна, однако интерпретация полученных результатов осложняется в связи с многокомпонентностью объектов исследования.
При инфракрасной спектроскопии крови и слюны возможен количественный анализ только функциональных групп, входящих в основные компоненты в аналитических количествах. Поэтому анализ образцов данных жидкостей вызывает затруднения, т.к. по существу анализируется их водная основа
В медицине инфракрасной спектроскопии в последние годы используют для определения некоторых веществ в биологических жидкостях: крови, моче, слюне, слезной жидкости, желчи, молоке, для идентификации некоторых витаминов, гормонов и других биологически активных веществ.
Кроме того, в последнее время метод находит все более широкое применение для характеристики конформационных и структурных изменений белков, липидов, фосфолипидов биомембран клеток, исследуемых в биоптатах, а также с помощью волоконно-оптических методик.
С помощью этого метода можно оценивать фармокинетику различных лекарственных препаратов. При сахарном диабете выявлены достоверно значимые изменения инфракрасного спектра крови Доказана возможность использования показателей инфракрасного спектра для ранней диагностики стоматологических заболеваний и прогнозирования кариеса зубов у детей. Проведено исследование быстрых изменений показателей инфракрасного спектра крови для прогнозирования, диагностики и определения степени тяжести остеопороза и эффективности его лечения. Доказана возможность использования инфракрасной спектроскопии для изучения процессов регенерации.
Инфракрасная спектроскопия применяется также и в судебном анализе для изучения митохондриального генома при идентификации личности и определении отцовства, т.к. идентифицируется генетический фокус DIS80, содержащий переменные числа тандемных дупликаций.
Приборы для инфракрасной спектроскопии
Для регистрации спектров используют классические спектрофотометры и фурье-спектрометры.
Исследовательский ИК спектрометр Varian Scimitar 1000 FT-IR
Основные части классического спектрофотометра - источник непрерывного теплового излучения, монохроматор, неселективный приемник излучения. Кювета с веществом (в любом агрегатном состоянии) помещается перед входной (иногда за выходной) щелью. В качестве диспергирующего устройства монохроматора применяют призмы из различных материалов (LiF, NaCl, KCl, CsF и др.) и дифракционной решетки. Последовательное выведение излучения различных длин волн на выходную щель и приемник излучения осуществляется сканирование поворотом призмы или решетки. Источники излучения - накаливаемые электрическим током стержни из различных материалов. Приемники: чувствительные термопары, металлические и полупроводниковые термосопротивления (болометры) и газовые термопреобразователи, нагрев стенки сосуда которых приводит к нагреву газа и изменению его давления, которое фиксируется. Выходной сигнал имеет вид обычной спектральной кривой.
Достоинства приборов классической схемы: простота конструкции, относительная дешевизна. Недостатки: невозможность регистрации слабых сигналов из-за малого отношения сигнал: шум, что сильно затрудняет работу в далекой инфракрасной области; сравнительно невысокая разрешающая способность (до 0,1 см-1), длительная (в течение нескольких минут) регистрация спектров.
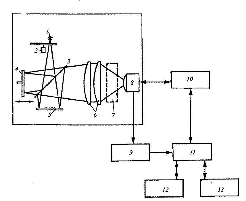
В фурье-спектрометрах отсутствуют входная и выходная щели, а основной элемент - интерферометр. Поток излучения от источника делится на два луча, которые проходят через образец и интерферируют. Разность хода лучей варьируется подвижным зеркалом, отражающим один из пучков.

Блок-схема фурье-спектрометра:
1 – источник излучения; 2 – прерыватель; 3 – светоделитель; 4 – подвижное зеркало;
5 – неподвижное зеркало; 6 – система линз; 7 – кюветное отделение;
8 – детектор; 9 – аналого-цифровой преобразователь; 10 – контроллер;
11 – компьютер; 12 – цифровая печать; 13 – дисковая память.
Первоначальный сигнал зависит от энергии источника излучения и от поглощения образца и имеет вид суммы большого числа гармонических составляющих. Для получения спектра в обычной форме производится соответствующее фурье-преобразование с помощью встроенной ЭВМ.
Наиболее эффективное использование оборудования для инфракрасной Фурье спектроскопии возможно только при соответствующей подготовке пробы, предназначенной для анализа. При работе на инфракрасных Фурье спектрометрах можно использовать как традиционные способы пробоподготовки для инфракрасной спектроскопии, так и некоторые новые приемы, которые обусловлены прежде всего меньшим количеством вещества, достаточным для анализа и возможностью использования дополнительных устройств (приставок).
Достоинства фурье-спектрометра: высокое отношение сигнал: шум, возможность работы в широком диапазоне длин волн без смены диспергирующего элемента, быстрая (за секунды и доли секунд) регистрация спектра, высокая разрешающая способность (до 0,001 см-1). Недостатки: сложность изготовления и высокая стоимость.
Все спектрофотометры снабжаются ЭВМ, которые производят первичную обработку спектров: накопление сигналов, отделение их от шумов, вычитание фона и спектра сравнения (спектра растворителя), изменение масштаба записи, вычисление экспериментальных спектральных параметров, сравнение спектров с заданными, дифференцирование спектров и др. Кюветы для инфракрасных спектрофотометров изготовляют из прозрачных в инфракрасной области материалов. В качестве растворителей используют обычно ССl4, СНСl3, тетрахлорэтилен, вазелиновое масло. Твердые образцы часто измельчают, смешивают с порошком КВr и прессуют таблетки. Для работы с агрессивными жидкостями и газами применяют спец. защитные напыления (Ge, Si) на окна кювет. Мешающее влияние воздуха устраняют вакуумированием прибора или продувкой его азотом.
Для случая слабо поглощающих веществ (разреженные газы и др.) применяют многоходовые кюветы, в которых длина оптического пути достигает сотен метров благодаря многократным отражениям от системы параллельных зеркал. Большое распространение получил метод матричной изоляции, при котором исследуемый газ смешивают с аргоном, а затем смесь замораживают. В результате полуширина полос поглощения резко уменьшается, и спектр получается более контрастным. Применение специальной микроскопической техники позволяет работать с объектами очень малых размеров (доли мм).
Подготовку твердых образцов для регистрации их инфракрасных спектров осуществляют двумя способами:
1. Суспензионный метод представляет собой растирание образца до мелкодисперсного состояния (размер частиц 2-7 мкм) и приготовление суспензии в иммерсионной жидкости с близким к образцу показателем преломления. При этом в качестве матрицы обычно используют вазелиновое масло, фторированные или хлорированные масла. Полученная полупрозрачная паста наносится с помощью шпателя на окно из оптического материала в виде тонкой равномерной пленки.
Наиболее часто в экспертной практике в качестве иммерсионной жидкости используется вазелиновое масло. Однако, спектр вазелинового масла имеет полосы поглощения в областях 2900, 1460, 1380 и 725 см-1. Эти полосы накладываются на полосы поглощения образца, компенсировать их можно либо с помощью кюветы сравнения, либо путем вычитания спектра вазелинового масла из суммарного спектра. На практике перфторуглеводородное масло используют при исследовании веществ в области 4000-1500 см-1 (не поглощает фторированное масло), а вазелиновое масло – для исследования в области 1500-400 см-1 (мало поглощает вазелиновое масло).
2. Прессование таблеток с галогенидами щелочных металлов – основной и наиболее универсальный способ пробоподготовки. Он заключается в тщательном перемешивании в агатовой ступке тонкоизмельченного образца с порошком KBr и последующем прессовании смеси в пресс - форме, в результате чего получается прозрачная или полупрозрачная таблетка. Для получения качественных спектров степень диспергирования вещества должна достигать размера частиц 2-7 мкм (сопоставимо с длиной волны инфракрасного излучения).
Иногда для облегчения растирания добавляют несколько капель перегнанного растворителя (четыреххлористого углерода или гексана), который испаряется при последующем растирании. Наилучшие результаты получаются при вакуумировании пресс - формы, что позволяет избавиться от включений воздуха в таблетки. Для таблеток можно использовать бромид калия для спектроскопии или квалификации не ниже химически чистого, но предварительно высушенный от воды. Сушку бромида калия следует проводить при t ≈ 600оС в течение не менее 6 часов и хранить его в эксикаторе с осушителем. Проводить такую тщательную подготовку необходимо, так как в противном случае получаемый спектр будет иметь широкие полосы адсорбированной воды в областях 3450 и 1630 см-1.
С таблеток диаметром 3, 5, 7 мм и более можно регистрировать спектр без дополнительных устройств. Таблетки диаметром 1 и 2 мм необходимо исследовать с использованием микрофокусировочного устройства. Если пресс – форма не позволяет получать таблетки диаметром 1-3 мм, то можно использовать специально изготовленный, например, из картона, круглый вкладыш с вырезанным в центре отверстием соответствующего диаметра. Таблетки диаметром 1-3 мм используют при исследовании микроколичеств (до 10-9 г) вещества.
Метод прессования таблеток с KBr целесообразно использовать для образцов, которые нерастворимы в обычных растворителях, аморфны или имеют устойчивую кристаллическую структуру и не содержат ионов, способных к обмену.
Использование инфракрасной спектроскопии в исследовании структуры воды
Известно, что ядра молекул вдали от фиксированных положений по отношению друг к другу находятся в непрерывном колебательном состоянии. Важная особенность этих колебаний в том, что они могут быть описаны ограниченным числом основных колебаний (нормальные моды). Нормальной модой называется колебание, при котором ядра осциллируют с одинаковой частотой и в одной фазе. Молекулы воды имеют три нормальные моды.









ν1 (ОН) ν 2 (ОН) ν3 (ОН)
3656,65см-1 1594,59 см-1 3755,79 см-1
Основные частоты колебания молекул воды
Движения ядер при колебаниях ν1 (ОН) и ν3 (ОН) происходят почти вдоль направления связей О-Н, эти моды обычно называют колебаниями растяжения связи (или δОН) или валентными колебаниями связи О-Н. При колебаниях ν2 (ОН) ядра Н движутся в направлении почти перпендикулярных связям О-Н, мода ν2 называется деформационным колебанием связи Н – О – Н или колебанием изгиба водородной связи. Мода ν3 называется ассиметричным валентным колебанием в отличие от симметричного валентного колебания ν1.
Переход молекулы воды из ее основного колебательного состояния в возбужденное описываемое с помощью моды ν2 соответствует инфракрасной полосе 1594,59 см-1.
Несмотря на то, что по исследованию инфракрасных спектров воды имеется большое количество публикаций, сведения о частотах колебаний и их отнесении не только не совпадают, но бывают и противоречивы. В спектре жидкой воды полосы поглощения значительно уширены и смещены относительно соответствующих полос в спектре водяного пара. Их положение зависит от температуры. Температурная зависимость отдельных полос спектра жидкой воды является весьма сложной. Кроме того, усложнение спектра в области валентных ОН-колебаний можно объяснить существованием различных типов ассоциаций, проявлением обертонов и составных частот ОН-групп, находящихся в водородной связи, а также туннельным эффектом протона (по эстафетному механизму). Такое усложнение спектра затрудняет его интерпретацию и отчасти объясняет имеющееся в литературе противоречие на этот счет.
Гидроксильная группа -ОН способна сильно поглощать спектр в инфракрасной области спектра. Вследствие свой полярности эти группы обычно взаимодействуют друг с другом или с другими полярными группами, образуя внутримолекулярные и межмолекулярные водородные связи. Гидроксильные группы, не участвующие в образовании водородных связей обычно дают в спектре узкие полосы, а связанные группы – интенсивные широкие полосы поглощения при более низких частотах. Величина сдвига частот определяется прочность водородной связи. В литературе имеются данные об отнесении полос поглощения в области основных частот (2,5 – 6,0 мкм (4000-1600см-1)), а также ближней (0,7-2,0 мкм (14300-5000см-1)) и дальней (20 –16 мкм (50-625 см-1)).
Наиболее изучена область основных частот. Для мономерной воды полосы 3725 и 3627 см-1 отнесены к симметричному и антисимметричному колебаниям ОН-группы, а полосы 1600 см-1 – к деформационному колебанию Н-О-Н [8, 9, 10]. Следует отметить, что димеры воды могут иметь скорее циклическую структуру с двумя водородными связями (1), чем открытую (2).
Н
\ О – Н Н H
\ /
Н – О / O . . . H – O
\ H
Н
1 2
Структура димеров воды: 1 – циклическая; 2 – открытая
Для жидкой воды наблюдаются полосы поглощения и в других областях спектра. Наиболее интенсивные из них 2100, 710-645 см-1. При переходе от мономеров воды к димерам и тримерам максимум поглощения валентных колебаний связи О-Н сдвигается в сторону меньших частот. Напротив, для деформационных колебаний Н-О-Н наблюдается смещение в сторону более высоких частот. Полосы поглощения 3546 и 3691 см-1 были отнесены к валентным модам димеров (Н2О)2. Эти частоты значительно ниже, чем валентные моду ν1 и ν3 изолированных молекул воды (3657 и 3756 см-1 соответственно). Полоса 3250см-1 представляет собой обертоны деформационных колебаний. Между частотами 3250 и 3420 см-1 возможен Ферми-резонанс (этот резонанс представляет собой заем интенсивности одного колебания у другого при их случайном перекрывании).
Отнесение частот в спектре жидкой воды
|
Типы колебания |
Положения максимума полос поглощения см-1 |
|
Крутильное νL |
780 |
|
Деформационная ν2 |
1645 |
|
Составная νL + ν2 |
2150 |
|
Валентное симметричное ν1 |
3450 |
|
Валентное симметричное ν3 |
3600 |
|
Обертоны 2ν2 |
3290 |
Полоса поглощения при 1620см-1 отнесена к деформационной моде димера. Эта частота несколько выше, чем деформационная мода изолированной молекулы (1596 см-1). Сдвиг полосы деформационного колебания воды в сторону высоких частот при переходе от жидкого состояния к твердому приписывают появлению дополнительной силы, которая препятствует изгибу О-Н связи. Деформационная полоса поглощения имеет частоту 1645см-1 и очень слабо зависит от температуры. Она мало изменяется и при переходе к свободной молекуле при частоте 1595см-1. Эта частота мало изменяется и в растворах солей. Она оказывается достаточно стабильной, в то время как изменение температуры, растворение солей, фазовые переходы существенно влияют на все остальные частоты. Цундель (1971) предполагает, что постоянство деформационных колебаний связано с процессами межмолекулярного взаимодействия, а именно обусловлена изменением валентного угла молекулы воды в результате взаимодействия молекул друг с другом, а также с катионами и анионами.
Инфракрасные спектры поглощения воды
в области основных частот.
|
Система |
Тип колебания |
Волновое число см-1 |
|
1 |
2 |
3 |
|
Мономер (пар) |
Валентное О-Н Деформационное Н-О-Н |
3756 3652 3657 1595 |
|
Мономер (тверд.) |
Валентное О-Н Деформационное Н-О-Н |
3725 3627 1600 1615 |
|
Димер (тверд.) |
Валентное О-Н Деформационное Н-О-Н |
3691 3546 1620 1610-1621 |
|
Тример (тверд.) |
Валентное О-Н Деформационное Н-О-Н |
3510 3355 1633 |
|
Более высокомолекулярные олигомеры (тверд.) |
Валентное О-Н Деформационное Н-О-Н |
3318 3360 3270 3256 3240 3222 3210 1644-1645 1635 1585 |
|
«Полимерная» вода (жидк.) |
Валентное О-Н Деформационное Н-О-Н |
3480±20 3425±10 1645±5 |
Трудности использования инфракрасной спектроскопии на практике являются не только техническими, но связаны также с отсутствием методики, позволяющей применить математический анализ при определении частот колебаний и отнесении их к той или иной химической связи.
На основе результатов инфракрасной спектроскопии можно разработать химически надежный, воспроизводимый, допускающий стандартизацию метод анализа водных систем. В этом отношении определенные преимущества представляет инфракрасная спектроскопия низкого разрешения, которая позволяет по флуктуации коэффициентов пропускания определить степень влияния, присутствующих в исследуемой системе веществ на структурную организацию водной основы растворов и биологических жидкостей.
Определение содержания механических примесей в судовых эксплуатационных маслах методом инфракрасной спектроскопии
Улучшение технико-экономических показателей дизелей является одной из основных проблем для судовладельцев. В процессе эксплуатации в смазочный материал попадают наряду с сажей, возникающей в результате сгорания, продукты окисления и деструкции масла, а также частицы износа двигателя. Повышение надежности механизмов и рациональное использование смазочных материалов зависит от ряда причин, среди которых большое значение приобретает качество используемых масел. В настоящее время большое значение приобретает использование современных инструментальных методов анализа.
Содержание механических примесей в большинстве случаев определяется стандартными методами, основанными на центрифугировании или фильтрации растворов рабочих масел в легких углеводородных растворителях, а также методами бумажной хроматографии и фотометрии в видимой области. Однако, каждый из выше указанных методов имеет свои недостатки. Например, если масло содержит хорошие диспергирующие присадки, большое количество сажистых загрязнений остается после центрифугирования в фугате; при использовании метода фильтрования на фильтре осаждается присадочный компонент, вследствие этого можно получить только представление о степени дисперсности нерастворимых загрязнений; фотометрия в видимой области спектра требует, как правило, разбавления исследуемой пробы, что приводит к возрастанию временных затрат и чревато ошибками. Метод электронной спектроскопии позволяет определить количество и размер частиц, однако, не подходит в силу технической сложности и длительности анализа. В связи с вышеуказанным фотометрический метод в инфракрасной области имеет ряд существенных преимуществ: экспрессность, хорошая воспроизводимость и сравнимость, отсутствие необходимости предварительной подготовки пробы для анализа и ограничений сортами и качеством смазочных масел.
Снимаются дифференциальные инфракрасные спектры с использованием кювет из бромистого калия с толщиной слоя 0,1 мм. Так как эксплуатационные масла, как правило, сильно загрязнены сажистыми отложениями, в целом весь инфракрасный спектр рабочего масла располагается выше, чем инфракрасный спектр свежего масла, причем это "поднятие" спектра пропорционально загрязнению рабочего масла. Для анализа применяются области длин волн, в которых влияние полос поглощения масла минимально. Наиболее удобно использовать волновое число 2000 см-1. Сравнение изменения поглощения на волновом числе 1704 см-1, определенного по методу базовой линии и вычитанием фона на волновом числе 2000 см-1 показало, что такое вычитание "фона" вполне правомерно и не искажает динамику накопления продуктов окисления в масле.

Изменение поглощения на волновом числе 1704 см-1,
определенное методом "базовой линии" и вычитанием "фона"
Аналогичные результаты были получены при оценке состояния сульфонатных присадок в масле. Это позволяет делать выводы о возможности определения содержания механических примесей в масле по поглощению на волновом числе 2000 см-1. Так как невозможно сравнивать абсолютные значения поглощения полос в инфракрасных спектрах рабочих масел (масла содержат различное количество механических примесей), для сравнения величин абсорбции из них вычитали "фон" (значение абсорбции на волновом числе 2000 см-1). Параллельно содержание механических примесей определялось с использованием стандартных методик (ГОСТ 6370 и метод "капельной пробы"). Содержание механических примесей С (масс. %) в масле определялось по формуле:
, где
- длина волны, мкм; l - толщина рабочего слоя кюветы, мкм (измерялась интерферометрически); А - абсорбция масла при длине волны .
Сравнение результатов, полученных данной методикой и с использованием метода центрифугирования показало хорошую воспроизводимость (коэффициент корреляции составил 0, 881). Время проведения одного анализа составляет около 15 минут.
Таким образом, использование метода инфракрасной спектроскопии для определения содержания общего загрязнения моторного масла является эффективным и позволяет быстро получить общую оценку загрязненности рабочего масла сажей, продуктами износа деталей двигателя и окисления углеводородной основы масла.
Заключение
Инфракрасная спектроскопия находит применение в исследовании строения полупроводниковых материалов, полимеров, биологических объектов и непосредственно живых клеток, как метод изучения строения молекул получила наибольшее распространение в органической и элементоорганической химии. В отдельных случаях для газов в инфракрасной области удается наблюдать вращательную структуру колебательных полос.
Быстродействующие спектрометры позволяют получать спектры поглощения за доли секунды и используются при изучении быстропротекающих химических реакций. С помощью специальных зеркальных микроприставок можно получать спектры поглощения очень малых объектов, что представляет интерес для биологии и минералогии.
Инфракрасная спектроскопия играет большую роль в создании и изучении молекулярных оптических квантовых генераторов, излучение которых лежит в инфракрасной области спектра. Методами инфракрасной спектроскопии наиболее широко исследуются ближняя и средняя области инфракрасного спектра, для чего изготовляется большое число разнообразных (главным образом двухлучевых) спектрометров.
Далёкая инфракрасная область освоена несколько меньше, но исследование инфракрасных спектров в этой области также представляет большой интерес, так как в ней, кроме чисто вращательных спектров молекул, расположены спектры частот колебаний кристаллических решёток полупроводников, межмолекулярных колебаний и др.
Список литературы
Юхневич Г.В. Инфракрасная спектроскопия воды. М. 1973.
Зацепина Г.Н. Физические свойства и структура воды. М. 1987.
Карякин А.В. Кривенцова Г.А. Состояние воды в органических и неорганических соединениях. М. 1973.
Антонченко В.Я., Давыдов А.С., Ильин В.В. Основы физики воды. Киев. 1991.
Привалов П.Л. Вода и ее роль в биологических системах.// Биофизика 1968. т.13. №1.
Грибов Л.А. Введение в молекулярную спектроскопию. М. 1976.
Митчелл Дж., Смит Д. Акваметрия: Пер. с англ. М. 1980.
Эйзенберг Д., Кауцман В. Структура и свойства воды. : Пер. с англ. Л. 1975.
Рахманин Ю.А., Кондратов В.К. Вода - космическое явление. Кооперативные свойства, биологическая активность. М. 2002.
Вербалович В.П. Инфракрасная спектроскопия биологических мембран. Наука. Казахская ССР. Алма-Ата.1977.
Беллами Л., Инфракрасные спектры молекул, пер. с англ., М., 1957;
Кросс А., Введение в практическую инфракрасную спектроскопию, пер. с англ., М., 1961;
Казицына Л.А., Куплетская Н.Б. Применение УФ, ИК, ЯМР и масс-спектроскопии в органической химии. М.: Изд-во Моск. ун-та, 1979.
Ярославский Н. Г., Методика и аппаратура длинноволновой инфракрасной спектроскопии, «Успехи физических наук», 1957, т. 2.
Для подготовки данной применялись материалы сети Интернет из общего доступа