Билеты по математике
Билеты по математике
Билет №1
Пусть в обл. P плоскости XOY задана некоторая фун-ия z=f(x;y). Разобъём обл. P на n частичных обл. Рi , где i=1…n, возмём произвольную точку обл. (xI;hI) Î Рi , l - наиболь-ший диаметр чатичных обл.
Построим частичную сумму – сумму Римена.

Определение:

Если существует конечный предел и не зависит от способа делений области на части и от выбора т. (xI;hI) в каждой из частичных областей, то такой предел принято называть двойным интегралом по обл. Р и пишут:

В случае, если фун-ия f > 0 мы приходим к геометрическому смыслу двойного интеграла: днойной интеграл – это объём некоторого цилиндрического тела, сверху ограниченного пов-тью z = (x;y), которая проектируется на плоскость XOY в обл. Р, а образующие параллельны OZ. Площадь обл. Р:

Двойной интеграл от f(x;y) имеет многие св-ва, аналогичные св-ам одномерного интеграла.
Св-ва двойного интеграла:
1.Необходимым условием сущ. Двойного интеграла явл. ограниченность ф-ции f в обл. Р, т.е если сущ. интеграл, то f(x;y) – ограниченная.
2.Всякая непрырывная ф-ция, заданная в обл. Р, интегри-руема.
3.Если ф-ция f(x;y) в обл. Р имеет разрывы на конечном числе непрырывных кривых, принадлежащих этой обл., то f интегрирума по обл. Р.
4.Сумма Дарбу:

Теорема: Для того, чтобы двойной интеграл от ограниченной обл. Р существовал, необходимо и достаточно, чтобы выполнялось равенство:

5.Аддетивность двойного интеграла, т.е., если задана обл.Р некоторой непрырывной кривой разбита на две обл-ти Р1иР2 не имеющих общих точек, то, если двойной интеграл по обл. Р существует, то существуют интегралы относительно по двум областям.

6.Линейность:

7.Если f(x;y) £ g(x;y) для "(x;y)ÎP и ф-ции f и g интегрируемы, то соответственно справедливо неравенство:

9.Если f(x;y) удовлетворяет нер-вам m £ f(x;y) £ M, то справедливо следующее неравенство:

10.Для двойного интеграла имеет место теорема о среднем: если z = f(x;y) – ф-ция, заданая в обл. Р и такая, что во всех точках этой области выполняется нер-во m £ f(x;y) £ M, где

то существует число m такое, что справедливо равенство:

В случае непрырывности ф-ции:
Вопрос
№3
Пусть в плоскости XOY задана плоскость Д, ограничен-ная следующими кривыми: y=j1(x) a £ x £ a – снизу;
y=j2(x) a £ x £ b – сверху; x = a – слева; x = b – справа;
Тогда имеет место следующая теорема.
Теорема: Если функция f(x;y) задана в области Д такова, что существует двойной интеграл

для любого фиксированного xÎ [a ; b] существует одно- мерный интеграл

то тогда существует повторный интеграл

Доказательство:

Обозначим c=inf j1(x) a £ x £ b; d=max j1(x) a £ x £ b и рассмотрим прямоугольник R=[a,b;c,d]ÉД. P=R\Д (раз- ность множеств). Построим вспомогательную функцию

Рассмотрим

Получаем следующее равенство:

Замечание: Пусть теперь область Д ограничена следующими линиями:

x=y1(y) c £ y £ d – слева; x=y2(y) c £ y £ d – справа;
x = c – сверху; x = d – снизу. И пусть

Тогда аналогично предыдущему можно показать, что существует повторный интеграл и

Если же функция f(x;y) такова, что существует двойной интеграл, существует оба повторных, то одновременно имеют место формулы (1) и (2) и можно пользоваться любой из них.Вопрос №5
Формула Грина.

Теорема: Пусть задана область Д огран. след. кривыми:
y=j1(x) a £ x £ b
y=j2(x) a £ x £ b
x=a
, x=b,
где ф-ции j1
и j2
непрер. на (a,b).
Пусть в этой области задаётся функция
P(x,y)
– непрер. и имеющая непрер. частную
производную:
,
тогда имеет место след. равенство:

Доказательство:
Рассмотрим
двойной интеграл, стоящий справа в
формуле(1). Т.к. под интегралом стоит
непрер. функция, то такой двойной интеграл
существует, также существует одномерный
интеграл
и его можно вычислить через повторный:

Теорема: Пусть задана область Д огран.:

y=j1(x) с £ x £ d
y=j2(x) c £ x £ d
x=c
, x=d.
И пусть в этой области задаётся функция
Q(x,y)
– непрер. и имеющая непрер. частную
производную:
,
тогда имеет место след. равенство:

Cкладываем формулы (1) и (2) и получаем следующую формулу Грина для области Д:

D P(x,y),
Q(x,y)
,


Вычисление площадей через крив интеграл

Применим ф. Грина, т.е. выразим его через криволинейный интеграл по границе области.
1. Q = x P =
0
2. Q = 0 P =
-y
Суммируем
1 и 2 :
Пример: Вычислить площадь эллипса
.
Сделаем
замену переменных
0 £
t
£
2p

Вопрос №6
Неприрывную кривую назыв. простой кривой (жордановой), если она не имеет точек самопересечения.
Областью называется всякое открытое связаное мн-во, т.е. такое мн-во всякая точка кот. явл. внутренней и любые две точки этого мн-ва можно соединить непрерывной кривой все точки кот. принадлежат данному мн-ву.
Область называется односвязной областью, если внутренность всякой замкнутой кривой содержит только точки данного мн-ва.
Теорема 1. Пусть Д ограниченная односвязная область пл-ти x и y, тогда для того чтобы криволинейный интеграл

был
равен нулю по любой замкнутой кривой
ГÌД,
(где P(x,y)
и Q(x,y)
непрерыв. И имеет непрерыв. Частные
производ.
и
)
необходимо и достаточно чтобы вып. Такое
равенство
=
(2)
f(x,y)eД.
Док-во: Пусть во всей области Д вып. Равенство (2) и Г произвольная простая замкнутая кривая принадлеж. области Д. Обознач. Через обл. Д1 кот. огранич. Эта кривая Г. Применим к этой области формулу Грина:


Предположим, что интеграл равен нулю, а равенство (2) не вып. По крайней мере в одной точке (x0 ,y0) e Д




F(x0,y0)>0 , т.к. частные произв. Непрерывны в обл. Д, то ф-ция F(x,y) непрывна в этой обл. , а из этого вытекает , т.к. F(x0,y0)>0, то существует окрестность этой точки такая, что F(x,y)>0 для всех точек лежащих в нутри окр. gr кот. явл. Границей нашей окружности.
Множество точек леж. В этой окр. обознач. Д1 и применим к области Д1 ф-лу Грина:

это показывает, что не сущ. ни одной точки, где бы (2) не выполнялось. Вопрос №4
Пусть заданы 2 плоскости с введенными в прямоугольник декартовыми системами координат

XOY и UOV. Пусть в плоскисти XOY задана область DV ограниченная кривой Г, а в плоскости UOV задана область G ограниченная кривой L
Пусть
функция
отображает
область G
в области D,
где т.(u,v)e
G,
а т.(x,y)eD.
Будем предпологать , что функции x и y такие, что каждой точке области G соответствует точка области D и причем это соответствие такое, что различным точкам области D соответствуют различные области точки G. Причем всякая точка области D имеет единственный прообраз (u,v) в области G.
Тогда
существует обратная функции
которая взаимноодназначно отображает область D в области G. Т.к. заданием двух точек U,V одназначно определяют т.(x,y) в области D, то числа U и V принято называть координатами точек в облати D, но уже криволинейными.
Будем предпологать, что функции x(U,V) и y(U,V) имеют непрерывные частные производные по своим переменным x’y и y’x, x’v и y’v, тогда определитель функции имеет вид:
Принято называть якобианом для функций x(U,V) и y(U,V).
Можно показать,что площадь области D задана в плоскости XOY может быть выражена в криволинейных координатах следующим образом:
-
прямолинейном интеграле.
в
криволинейных координатах.
Замена переменных.
Теорема:
Пусть Z=f(x)
– непрерывная функция заданая в области
D
и область D
является образом области G
через посредства функций
,
где функции x(U,V)
и y(U,V)
непрерывные и имеют непрер. Частные
производные, тогда справедлива след.
Формула замены переменных в двойном
интеграле:

Док-во: Разорвем обл.G непер. Кривыми на конечное число частичных областей. Тогда согласно формулам отображающим область G в обл. D. Эти кривые обл. G отображ. В некоторые кривые обл. D, т.е. обл. D будет разбита на конечное число (такое же как и обл. G) частичных подобластей.

Di – подобласти, i=1,2,…,n.
В каждой обл. Di выберем т.(x,y)eDi и составим интегральную сумму Римана для двойного интеграла от функции f обл. D.

Площадь обл. Di выразим в криволинейных координатах

xi=x(Ui,Vi)
yi=y(Ui,Vi)

И
того, что интеграл от функции f(x,y)dxdy
сущ., то $
lim
sn(f)
и этот lim
не зависит от выбора точек в обл. Di,
но тогда в качестве f(xi,yi)
может быть взята точка



Мы получаем интегральную сумму Римана для интегр., что стоит справа формулы (1), поэтому переходя к lim в следующем равенстве:
получим ф-лу (1), т.к. суммы стремятся к соответствующему интегралу.Вопрос №2
Теорема:
Пусть z
= f(x,y)
–
ограниченная функция, заданная на
прямоугольнике R
= [a,b;c,d],
и существует двойной интеграл по этому
прямоугольнику

Если для " X [a,b] существует одномерный интеграл

то $ повторный интеграл

Доказательство:

Разобьем отрезки ab и cd отрезками a=x0<x1<…<xn=b, c=y0<y1<…<yn=d. Рассмотрим теперь частичный прямоугольник Rik=[xi,xi+1;yi,yi+1] mik=inf f(x,y) Mik=sup f(x,y)
Rik Rik
На промежутке [xi;xi+1] возьмём точку x. Будем рас- сматривать точки, лежащие на прямой x = x.
Получаем следующее неравенство mik£ f(x;y)£ Mik yk£ y£ yk+1 Проинтегрируем его по отрезку [yk; yk+1]

Замечание: если же существует двойной интеграл и существует одномерный интеграл

то существует повторный

Если же функция f(x;y) такова, что существует двойной интеграл по области R, существуют оба од- номерных J(y) и Ί(x), то одновременно имеют место формулы (1) и (2)

Например: если f(x;y) непрерывна в области R, то, как известно двойной интеграл, и оба одномерных существуют, а значит, справедлива формула (3) и для вычисления двойного интеграла можно пользоваться одной из формул (1) или (2), а именно выбирая ту или иную, которая даёт более простое решение.
7.Независемость криволинейного интегр. от пути интегрирования. Теор.1 и 2.
Теорема
1. Пусть D
– ограниченная одно-связанная область
плоскости XOY
тогда что бы криволинейный интеграл
-
был равен 0 по любой замкнутой простой
кривой
,
где P(x,y)
и Q(x,y)
- непрерывны и имеют непрерывные частные
производные
,
необходимо и достаточно что бы во всех
точках области D
было
(2).
Док-во
достаточность: Пусть во всех точках обл. D выполнено рав-во (2) и пусть Г произвольная простая замкнутая кривая, принадлежащая области. Обозначим через D область кот-ю ограничивает эта кривая Г. Применим теперь к этой области ф-лу Грина.

Необходимость:
Криволинейный интеграл в любой замкнутой
простой кривой существует область D=0.
Покажем, что во всех точках области D
выполняется рав-во (2). (это доказуется
методом от противного). Пусть интеграл
= нулю, а рав-во (2) не выполняется, по
крайней мере, в одной точке
,
т.е.
.
Пусть,
так что разность
.
Пусть
тогда
.
Т.к. частные производные
и
непрерывны в области D,
то
непрерывна в этой области, а из
непрерывности функций вытекает что
ф-ция
,
то существует окрестность этой точки,
принадлежащая области D,
так что везде в этой окрестности
для любой точки лежащей внутри кривой.
кот-я
является границей нашей окрестности
- множество чисел внутри
.
Применим к
ф-лу Грина:
.
Полученное противоречие показывает,
что не существует не одной точки где бы
равенство (2) не выполнялось.
Теорема
2 Пусть D
есть односвязная область плоскости XOY
в этой области заданы две непрерывные
функции D(x,y)
и Q(x,y)
имеющие непрерывные частные производные
и
; чтоб криволинейный интеграл не зависел
от пути интегрирования
.
Необходимо и достаточно чтоб выполнялось
равенство
(2).
Док. Не обход. Пусть криволинейный интеграл не зависит от пути интегрирования, а зависит от начальной и конечной точки пути интегрирования.
Возьмём в области D произвольно простую замкнутую кривую Г. На этой кривой т. А и т. В
Т.к. по условию криво-ный интеграл не зависит от пути интегрирования, то интеграл по кривым АmB=AnB

В силу 1-й
теоремы должно выполнятся рав-во (2).
Док. Достат. Пусть выполняется рав-во (2) . Покажем, что криволенейный интеграл не зависит от пути интегрирования :
1-й
случай. Берём две произвольные точки
принадлежащие области D
и соединяем эти точки непрерывными
кривыми
и
,
кот-е не имеют точек самопересечения.
Если
эти кривые образуют простой замкнутый
контур без самопересечения и т.к.
выполняется рав-во (2), то интеграл поэтому
замкнутому контуру обязан быть равен
0.
,
т.е. интеграл не зависит от кривой.
2-й
случай. Пусть
и
имеют конечное число точек самопересечения

Будем
двигаться от А к C1
в результате получили контур
и
.
Аналогично Для всех остальных случаев.
3-й случай. Если кривые пересекаются на счётном множестве точек то интеграл по таким кривым тоже будут равны между собой ….счётное множество эквивалентное множеству натуральных чисел.9.Параметрические ур-я поа-ти, касательная плос-ть, нормаль, направляющие косинусы нормали.
Пусть поверхность задана параметрическими уравнениями :x=x(U,V) ; y=y(U,V); z=z(U,V) и функции x,y,z непрерывны и имеют непрерывные частные произвольные. Рассмотрим матрицу
На
поверхности берём точки U0(x0,y0,z0)
которая является образом (U0,V0)
.
Можно показать, что в этом случае
уравнение касательной к плоскости
поверхности имеет вид А
(x-x0)+B
(y-y0)+C
(z-z0)=0
.Уравнение нормали поверхности
.
Далее введём направляющую. Пусть
поверхность задана параметрическими
уравнениями и
l- угол образованный нормалью с направлением осью X
m- угол образованный нормалью с направлением осью Y
n- угол образованный нормалью с направлением осью Z,
cos l cos m cos n - называют направляющими косинусами нормали. Для направляющих косинусов нормали имеет место формула:
,
,
.
В знаменатели стоит двойной знак ±
и всякий раз выбирают один из знаков в
зависимости от направления нормали. В
случае явного задания поверхности
направляющие вычисляются
,
,
.
Билет 12
Задача о вычислении массы пространств-го тела.
Пусть в трехмерном пространстве задано тело D, причем в точках этого тела определены некоторые массы и известна плотность распределения массы, кот. явл-ся ф-цией трех переменных U=R(x,y,z).Разобьем это прост-ное тело некоторыми гладкими пов-ми на конечное число областей D1, D2,…,Dn. В каждой области Di произвол. выберем некот. точку (x,h,e)Î Di. Плотность массы в этой точке – это R(xi,hi,ei). Будем считать, что ф-ция R явл-ся непрерывной, а разбиение достат. мелким так, что значения ф-ции внутри области Di не слишком отличаються от значений ф-ции R в выбранной точке. Т.е. будем считать, что в области Di плотность массы одна и та же и равна числу R(xi,hi,ei). Тогда очевидно масса, заключенная в обл. Di , будет равняться R(xi,hi,ei) * DV. Тогда приближенное значение массы для всей области равна S R(xi,hi,ei)*DVi Пусть l - наибольший из диаметров Di – тых областей, а тогда масса , заключенная в области равна m=lim(l®0) S R(xi,hi,ei) * DVi
Пусть теперь задано пространств. тело D. В точках этого тела определена ф-ция U=f(x,y,z). Разобьем это тело на конечное число Di –тых (i=1,2,3,…). В каждой области Di выберем произвол. точку (xi,yi,zi) и составим интегральную
sn=S ò(xi,yi,zi) * DVi Если сущ. предел и он конечный и он не зависит от способа деления обл. D на части и выбора точек (xi,yi,zi) , то этот предел называют тройным интегралом по обл.D от ф-ции f(x,y,z)lim(l®0)sn=òòò f(x,y,z)dx dy dz Следовательноm=òòòR(x,y,z)dxdydz
Св-ва тройного интеграла аналогично св-м двойного интеграла 1) Всякая интегрируемая в обл. D ф-ция ограничена в этой области.
2) Могут быть построены суммы Дарбу
верх St=S Mi * DVi низ st=S mi * DVi
3) Необходимо и достаточное условие сущ. интеграла
lim(l®0)( St-st)=0
4) Как и в случае двойного интеграла сущ. тройной интеграл от любой непрерывной ф-ции, заданной в обл. D. Однако тройной интеграл сущ. и в случае, когда ф-ция f(x,y,z) имеет разрывы 1-го рода на конечном числе пов-тей данного тела D.
5)Тройной интеграл обладает св-вами линейности и аддетивности
òòòDfdx = òòòD1fdx + òòòD2 , где D=D1ÇD2
6)Если сущ. тройной интеграл от ф-ции f, то сущ. интеграл по модулю
и существует равенство
ôòòòô£ òòòôfôdv
Если функция fв области D ограничена какими-то числами m £ f £ М , то для тройного интеграла справидливо неравенство
mVd £òòò ¦dv£M VD
7) Имеет место теорема о среднем , т.е. если функция ¦(x,y,z) не-прерывная в области D , то справедливо равенство
òòò ¦dv = ¦ (X0 , Yo , Z0) (X0 , Yo , Z0)ÎD
Ввычесление тройного интеграла по параллепипеду .
1. Пусть функция ¦(x , y ,z) задана на параллепипеде R[ a ,b ; c , d; e, f].
Обозначим через Gи D прямоугольника D[ c , d; e, f] и [a,b;c,d] . Тогда если существует тройной интеграл по параллепипеду от функции ¦(x,y,z) и существует для любого x из [a,b] двойной интеграл по прямоугольнику D
òò ¦(x,y,z)dydz то существует
òòò¦dv =òdxòò¦(x,y,z)dydz
Если
для
"
zÎ[e,f]
$
òò
¦(x,y,z)dxdy,то
òòò
¦dv
= òdxòò¦(x,y,z)dydz
= òòdxdyò¦(x,y,z)
. Если
функция ¦(x,y,z)
непрерывна в области D,т.е.
на параллепипеде , то все указаные ранее
интеграмы существует и имеет

место вся большая формула и в последнемравенстве можно менять местами в случае непрерывности функции.
2. Пусть ¦(x,y,z) задана в пространстве области G причем область G сверху ограниченная плоскостью z=z2(x,y) снизу z=z1(x,y),a c боков ограничена цилиндрической поверхностью образующая которой ½½OZ. И пусть проекция этого тела на плоскость XOY есть некотокая область D .Тогда можно показать ,что тройной интеграл по пространственной области G может быть вычеслен по такой формуле

Продолжение №12
Если
теперь обл. D
будет иметь следующее строение. Пусть
обл. D,
кот. явл. проэкцией тела на пл-ть XOY,
ограничена следующими линиями: отрезками
прямых x=a
и x=b
, и кривыми y=j1
(x)
и y=j2(x).
Тогда тройной интеграл:


Вопрос
№10

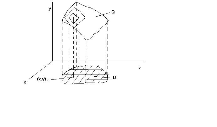
Пусть в пространстве задана поверхность Q, которая является гладкой и задана явным уравнением z = f(x;y), где (x;y)ЄD.
D является проэкцией поверхности Q на плоскость xoy. Будем считать f(x,y) – непрерывная со своими частными производными
Требуется вычислить площадь S заданной поверхности. Разобьем область D непрерывными кривыми на конечное число частичных областей D1,D2,…,Dn. Возьмем в области Di т.(xi;yi) и построим цилиндрическое тело, в основании которого лежит область Di , а образующие параллельны оси oz. Это цилиндрическое тело вырежет на нашей поверхности Q некоторую i-тую площадку. Обозначим через Mi (xi;yi;zi) точку на i-той частичной поверхности такую, что zi=f(xi;yi), т.е. Mi(xi;yi;z (xi;yi)). Так как частные производные p,q-непрерывны, то поверхность является гладкой и в каждой точке этой поверхности существует касательная плоскость. Проведем теперь касательную плоскость к поверхности в точке Mi. Построенное тело на обл. Di на этой плоскости Т вырежит некоторую площадку Ti. Eе площадь STi дает некоторое приближение для площади куска поверхности, который вырезается этом цилиндрическим телом. Аналогичным образом поступим с остальными областями D1,D2,…,Dn. В результате мы получим некоторое приближение для площади всей заданной поверхности. Пусть
n
d n=å STi
i=1
А тогда принято считать, что площадью поверхности является
n
S=lim d n=lim å STi ,
l® l®0 i=1
где l - наибольший из диаметров площадей Di.
Нетрудно показать, что такой предел будет равен
S=lim dn=òò (1/½cos n½)dx dy,
l®0 D
где n - угол, образованный нормалью к поверхности с осью oz.
Доказательство:

Через ni обозначим угол, который образует касательную плоскость с плоскостью xoy. В точке Mi проводим нормаль к поверхности. Получаем, что угол, образованный касательной плоскостью с плоскостью xoy равен углу, образованному нормалью к поверхности с осью oz. Площадь Di есть проекция плоскости Ti , которая лежит на касательной плоскости. А тогда SDi=STi*½cos ni ½.
А тогда получаем, что
n n n
d n=å STi=å SDi / ïcos n i ï=å (1/ïcos niï)*SDi .
i=1 i=1 i=1
Получили, что данная сумма является суммой Римена для такого двойного интеграла:
òò (1/ïcos nï)dx dy.
D
Получили , что площадь поверхности Q , заданной явным уравнением , вычисляется по такой формуле :
SQ=òò (1/ïcos nï)dx dy.
D
Если поверхность задана явным уравнением , то
cos n=1/±Ö (1+p2+q2 n)=1/Ö(1+zx'2+zy'2 ).
В случае явного задания поверхности
SQ=òòÖ(1+zx'2+zy'2)dx dy =òòÖ(1+p2+q2)dx dy
D D
Если теперь поверхность Q задана параметрическими уравнениями
x=x(u,v)
y=y(u,v) (u,v)єG ,
z=z(u,v)
где функции x,y,z непрерывны со своими частными производными, то в этом случае площадь поверхности вычисляется по следующей формуле
6SQ=òòÖ(A2+B2+C2) du dv,
где А,B,C-есть раннее введенные функциональные определители.
8.Касательная пл-ть к пов-ти и её ур-е в случае явного и не явного задания пов-ти.
1) не явное. Пусть поверхность задаётся не явным уравнением F(x,y,z)=0. Эта функция непрерывна и имеет непрерывные частные производные.
Здесь рисунок.
Зафиксируем
любую точку M0(x0,y0,z0).
Рассмотрим кривую проходящую через эту
точку. Пусть уравнение этой кривой будет
x=x(t)
y=y(t)
z=z(t)
где
.
Предположим что эти функции непрерывны
и имеют непрерывные частные производные
по t
. Пусть т. M0
соответствует значению параметра t=t0
x0=x(t0)
y0=y(t0)
z0=z(t0).
Т.е. M0(x(t0),y(t0),z(t0))=M0(x0,y0,z0)
, т.к. кривая Г лежит на пов-ти, то она
удовлетворяет уравнению поверхности
т.е. F(x(t),y(t),z(t))
0,
берём производную
.
Посмотрим это рав-во в т.M0
т.е. t=t0
получим
;
Введём обозначение через
,
а через
,
а так как
то
проведём через точку М0 любую кривую.
из рассмотренных равенств заметим, что
любые кривые на пов-ти, кот-е являются
непрерывными , всегда будет выполнятся
рав-во
, а это рав-во показывает что вектор
будет ортогонален к любому касательному
вектору , кот-й проходит через эту точку
М0, значить все касательные s
лежат в одной плос-ти перпендикулярно
к
.
Эту плос-ть состоящую из касательных
векторов называют касательной плоскостью
к поверхности в т. М0, а вектор
наз нормальным вектором плоскости в т.
М0.
в случае не явно. Прямая проходящая
через т. М0 и перпендикулярная к касательной
плоскости поверхности называют нормалью
поверхности. Но тогда ур-е прямой
поверхности проходящую через т. М0:
.
2)
явно. пусть пов-ть задаётся явным ур-ем
z=f(x,y),
где (x,y)
D
f
- ф-ция непрерывна и имеет непрерывные
частные производные.
;
;
z-f(x,y)=0; F(x,y,z);
;
;
;
;
;
это ур-е
пов-ти.
Вопрос№11
Если пов-ть Р задана параметрич. ур-ями
(u,v)
G
ф-ии x,y,z непрерывны с частными производными то поверхностный интеграл 1-го рода вычисл. С помощью интеграла двойного рода,взятого по обл. G по ф-ле:

Если пов-ть Р задается явным урав. Z=F(x,y)=z(x,y)
Где
(x,y)
,причем
ф-ия F-непрерыв.
Со своими
Часными произв.,то поверхностный интегр.1-го рода
Вычисл.по ф-ле :


где P и Q соотв.часные произв.
Поверхн.интеграл 2-го рода

Криволин.интеграл 2-го рода:


Пусть задана двусторонняя пов-ть S и на верхн.
Стороне задана ф-ция U=F(x,y,z).Разобьем задан.
Повер.S непрерывн.кривыми на конечное число
Частичных поверх. S1,S2….Sn.Проэктир.эти поверх.
На
XOY
,

-площадь
прэкции повер.Si:



Если
сущ.предел Lim
s
n
при
не зависит
От способа дел.области на части и выбора точек Mi,
То его наз.повер.интегалом 2-го рода по поверхн.и
Обознач. :

Если же проэктировать пов-ть на другие плоскости ,то
Получится:




Пусть на пов-ти заданы три ф-ции P(x,y,z), Q(x,y,z)
R(x,y,z) тогда повер.интегр.2-го рода общего вида наз.
Пусть
пов-ть S
явл.гладкой поверхн.,такой что в каждой
точке ее
Сущ. Пл-ть такая что в каждой т.пов-ти сущ.нормаль.Обозначим
Через
,
,
-углы
,которые образуют углы с осями OX,OY,OZ.
Тогда,как и для криволин.интеграла имеет место форма между повер.Интегр.1 и 2 рода:
Имеет
место следующ.ф-ла замены перем.в
пов.интегр.2-го.
Пусть пов-ть S задается своими парам.ур-ми:

ф-ции x,y,z –непрерыв.и имеют непрер.частн. произв.Тогда:

Имеет место
ф-ла Стакса ,связывающ.криволин.интеграл
по контуру
Пов-ти с повер.интегралом 2-го по задан.пов-ти.
Пусть задана некоторая гладкая повер.S на верхн.стороне этой повер.
Заданы три ф-ии P(x,y,z),Q(x,y,z),R(x,y,z) непрерыв.и имеющ.непрер.
Частн.произв.по своим аргументам и L-контур повер.,проходящий в
Полож.направления.Тогда:


Билет
№14
Поток вектора через поверхность
Пусть
задана некоторая область(тело) ДÌR3
Пусть над этой областью определено поле
вектора
(М),
МÎД
, Аx
,Ay
,Az

Возьмем
в области Д некоторую поверхность S
обозначим через
-
нормальный вектор поверхности
-единичный вектор , данного нормального
вектора
где l,m,n
-углы , которые образует нормаль с осями
координат
Потоком
вектора
через заданную поверхность S
(во
внешнюю поверхность) называют следующий
поверхностный интеграл 1-го рода

Проекция вектора на ось

Ап
– проекция вектора
на вектор
Ап =пр

А тогда поток вектора будет равен
Вопрос
№16
Общий вид диф уравнения F(x, y, y’)=0 y’=f(x,y) (1).
Решением дифференциальное уравнение первого порядка называется всякая функция y=j(x), которая будучи подставлена в данное уравнение обращает его в тождество.
j’(x)=
f (x, j(x));



Задача Коши для диф. уравнения 1 порядка.
Требуется
найти решение диф. ур-я (1) удовлетворяющего
следующему условию
(2).
Теорема Коши.
Пусть
задана на плоскости XOY
некоторая обл. Д и задано диф. ур-е
разрешённое относительно производной,
тогда если функция f(x,
y)
и её частная производная
непрерывны
в обл. Д, и
некоторая фиксированная точка обл. Д,
то существует и единственная функция
y=j(x)
являющаяся решением (1) и такая, которая
в т.
принимает
значение
,
т.е. удовлетворяющая заданному начальному
условию
.

Т.е. если существует решение диф. ур-я, то таких решений бесконечное множество.
График функции являющийся решением диф. ур-я принято называть интегральной кривой, процесс решение принято называть интегрированием.
Точку
в
плоскости XOY
называют особой точкой диф. ур-я если в
этой т. не выполняется условие теоремы
Коши, т.е. особая т. это такая т. через
которую может вообще не проходить ни
одной интегральной кривой, либо проходить
множество.
Решения диф. ур-я в каждой т. которого нарушается условие единственности из теоремы Коши, принято называть особым решением диф. ур-я. График особого решения называется особой кривой.
Определение общего решения диф. ур-я 1 порядка:
Функция y=j(x, C), где С произвольная константа, называется общим решением диф. ур-я (1) если выполнены следующие условия:
Функция y=j(x, C) является решением ур-я (1) при любом значении произвольной константы С;
Какова
бы ни была т.
Î
Д найдётся такое значение произвольной
константы
,
что функция y=j(x,
)
удовлетворяет заданному начальному
условию, т.е. j
Частным решением данного диф. ур-я называется решение этого ур-я которое может быть получено из общего решения при некотором фиксированном значении произвольной константы С.
Определение:
Если
решение диф. ур-я (1) может быть получено
в виде
,
причём это ур-е не может быть явно
разрешено относительно y,
то функцию
принято
называть общим интегралом диф. ур-я (1),
где С – произвольная константа. Если
решение получено в виде
,
где
-
явная константа – частным интегралом
диф. ур-я.
Особое решение данного диф. ур-я (1) ни при каком значении константы С не может быть получено из общего решения..
Вопрос №17
Диф. ур-ем с разделёнными перемеными принято называть ур-е вида (1):
(1)
Если y=y(x) является решением ур-я (1), то и правая и левая части этого ур-я представляют собой дифференциалы от переменной x, т.е. имеем равенство двух дифференциалов, то тогда неопределённые интегралы отличается разве лишь на константу. Т.е. интегрируя равенство (1), получаем общее решение данного диф. ур-я:

Уравнения с разделяющимися переменными:
Уравнения, приводящиеся к уравнениям с разделёнными переменными.
докажем,
что это ур-е можно привести к ур-ю с
разделёнными переменными.

Т.е.

Если

т.е.


Пример:
Билет
№15
Дивергенция , циркуляция ротор вектора
Пусть
задана некоторая пространственная
область Д над которой определенно поле
вектора
и S
–некоторая
поверхность в данной поверхности Д
Рассмотрим интеграл , выражающий поток вектора через поверхность S
Обозначим Аx = P(x,y,z) , Ay =Q(x,y,z) , Az = R(x,y,z)


поверхность S ограничивает тело Д1

-
расходимость (дивергенция ) вектора


- уравнение Остроградского-Гаусса
Ап
– проекция вектора
на нормаль поверхности
Циркуляция , вихрь и ротор вектора
Пусть в пространстве задано некоторое тело Д и пусть в теле Д рассматривается некоторая кривая L , которая гладкая , имеет непрерывно изменяющуюся касательную
Обозначим через a,b,g углы , образует касательная к кривой L с осями координат
Пусть
над этим телом определенно поле вектора

Тогда криволинейный интеграл по кривой L

Рассуждая
как и прежде можно показать , что

L0 - единичный вектор касательной L1
L1 - касательный вектор к кривой L
Если
кривая L
является замкнутой кривой , то такой
интеграл принято называть циркуляцией
вектора
вдоль замкнутого контура L
- циркуляция
Пусть теперь в некоторой области Д задана поверхность S , контур которой обозначим через L

- формула Стокса

Ротором
векторного поля
называется вектором (или вихрем) , имеющий
следующие координаты и обозначающиеся

Циркуляцией
вектора
вдоль поверхности S
равна потоку вектора
через заданную поверхность S
-
формула СтоксаБилет №13
Криволинейные интегралы в пространстве и объем тела в криволинейных координатах
Пусть в пространстве OXYZзадано тело G.И пусть в другом пространстве OUVW задано тело Д
И пусть заданы 3 функции

взаимно однозначно отображающие область Д в области G
Будем считать функции x,y,z –непрерывными и имеющие непрерывные частные производные
Рассмотрим Якобиан

Можно показать , что в случае взаимно однозначного отображения области Д и G якобиан ни в одной точке области Д не обращается в 0
А значит в области Д сохраняет один и тот же знак Координаты (U,V,W) принято называть криволинейными координатами точек области G
И тогда можно показать , что объем области G в криволинейных координатах выражается по следующей формуле

Если теперь в области G будет задана функция f(x,y,z) –непрерывная в этой области, то справедлива следующая формула замены переменных в тройном интеграле

При замене переменных в тройном интеграле наиболее часто используются цилиндрические и сферические координаты
Под цилиндрическими координатами следует понимать объединение полярных координат на плоскости XOY и аппликаты z r,q,z

r-расстояние от начала координат до проекции тМ на плоскость
q-угол , образованный радиус вектором ОМ , в пол направлении
циллиндрические
координаты
0£ r < +¥ , 0£ q < 2p , -¥< z < +¥
Подсчитаем якобиан в случае цилиндрических координат



q- угол , образованный проекцией радиус-вектора тМ
j-угол, образованный радиус-вектором тМ
r- радиус-вектор тМ, равный ОМ
Сферическими координатами принято называть r,j,q
Где r- расстояние от начала координат до тМ
j- угол , образованный радиус-вектора с осью Z
q- угол, образованный проекции радиус-вектора с осью X
r=(ОМ) 0£ r < +¥ , 0£ j < p , 0 < q < 2p
Найдем якобиан для сферических координат


=cosj[r2 cos2 qcosj sinj + r2 sin2 q sinj cosj] + rsinj [r sin2 j cos2 q + r sin2 j sin2 q] =r2 cos2 j sinj + r2 sin3 j=r2 sin j I(r,j,q)=r2sinj
Вопрос №18
Пусть
задана функция
в
области Д, полкости XOY,
функцию
называют однородной функцией m-той
степени относительно переменных x
и y,
если каково бы ни было число t>0,
выполняется равенство:

Пример:

Определение: диф. ур-е 1 порядка разрешённое относительно производной называется однородным диф. ур-ем 1 порядка, если его правая чаcть (функция f(x,y)) является однородной функцией 0-й степени.
Метод
решения: Пусть (1) является однородным
уравнением
(1).
Пусть


2)
если
то

т.е.

Билет№20 Линейные диф.
Уравнения1- порядка. Метод подстановки.
Линейным уравнением 1-го порядка называют
уравнения вида:
y’+yP(x)=Q(x) – где P(x) и Q(x) некоторые
функции переменной х , а y’ и y входят в уравнение
в 1 степени.
1.Метод подстановки:
Будем искать решение уравнения 1 в виде
произведения y=U(x)V(x) при чём так, что мы
можем подобрать одну из функций по желанию,
а вторую так, чтобы удовлетворяла (1) :
y’=U’V+UV’ ; U’V+UV’+UV*P(x)=Q(x) ;
U’V+U(V’+V*P(x))=Q(x)
Найдём V ,чтобы V’+VP(x)=0 :
Тогда
U’V=Q(x)
y’+y cos(x)=1/2 sin(2x) y=UV
U’V+UV’+UVcos(x)=sin(x)cos(x)
V’+Vcos(x)=0 dV/V=-cos(x)dx
ln(V)= -sin(x) V=e-sin(x)
sin(x)=t

Билет
№22
Уравнение Бернулли и Рикотти и их решение.
Уравнение Бернулли – это диф. Ур-е следующего вида :


где P(x) и Q(x) – непрерывные функции m – действительное число ¹0 и ¹1
разделим уравнение на ym :
- приведем
его к линейному
Обозначим
через
а теперь диференциируем

теперь подставим в уравнение

получили линейное уравнение .
Уравнение
Рикотти – это диф. следующего вида

Где P(x),q(x),r(x) – некоторые непрерывные функции
Рассмотрим несколько случаев
1) если ф-ции P(x) , Q(x) и r(x) – явл. Константами то в этом случае сущ. решением ур-я Рикотти т.к. в этом случае ур-е явл. Ур-ем с разделенными переменными .

2) если q(x)=0 имеем лин. Ур-ние
3) если r(x)=0 то имеем ур-е Бернулли
Если не выполяется ни одно из этих 3 условий , то ур-е Рикотти решить нельзя , неразрешимо в квыадратурах . Однако если эти три случая , но возможно найти хотя бы одно частное решение этого ур-я то ур-е решается в квадратуре .
Установим
это : пусть
-
явл. Часным решением ур-я Рикотти т.е.

тогда введем новую функцию z=z(x)
Положем
,

Подставив в уравнение получим

а это ур-е Бернулли
Билет №23
Уравнение в полных дифференциалах и их решение
Пусть задано диф. ур-е ел. Вида:

где P(x,y) и Q(x,y) – непрер. Функции имеющие непрерыв часн. Производную 2 порядка включительно.
Диф.
ур. Назыв. Ур-ем в полных диф-лах , если
такое что

т.е.
ур. В этом случае имеет вид :
это уравнение явл полным диф. функции U как ф-ции двух переменных:


если
выполняется равенство тогда то левая
часть
а тогда его решение
- общий
интеграл диф. Ур.
Теорема о необходимости и достаточности условия того что Ур было ур-ем в полных дифференциалах
Теорема : Для того чтобы ур было ур-ем в полных диф. в некоторой Д принадл ХОУ
Необх.
И дост. Чтобы во всех точках обл. Д выполн
равенство
если условие выполняется можно найти
ф-цию
что будет выполняться рав-во след.
Образом.

найдем
Билет№21.
Метод вариации производной постоянной при решении линейного диф. уравнения 1-го порядка.
y’+P(x)y=Q(x) (1) -задано линейное неоднородное уравнение. Рассмотрим соотв. ему однородное уравнение y’=P(x)y=0 (2). Найдём общее решение:

Будем
искать решение в том же виде, что и
однородного, только считая с не
произвольной константой ,а функцией от
х :

Билет№19
Уравнения, приводящиеся к однородным.
К таким уравнениям относят уравнения вида:
где
a,в,с
- const
1)
Введём:
чтобы исчезли с1 и с2
После нахождения конкретных k
и h
и подстановки их в наше уравнение, с
учётом того, что
получаем :
Это уравнение является однородным и
решается подстановкой

2).
Тогда:
Подставим :
Сделаем замену:

1).
Допустим
φ(z)=x+c
φ(a2x+b2y)=x+c
2).
Теперь допустим
Тогда получим z=c.
Билет №24
Интегральный множитель и его нахождение
Пусть задано диф. ур-ние в диф. форме вида :

не
всякое такое уравнение явл. Уравнением
в полных виференциалах однако доказано
что для всякого такого ур-я может быть
подобрана ф-ция
такая
что после умножения левого и правого
ур-я на эту функцию данное уравнение
стан ур-ем в полных диф. Ф-цияю
назыв
интегральным множителем данного
уравнения
Найдем функцию определяющую интегр. Множитель данного уравнения:

тогда должно выполн. Рав-во:

имеем уравнение в частных производных относит неизв функции Мю.Общего метода нахожения которой не существует
Найдем интегр множитель в случае если он явл ф-цией от одной из перемен.
1)Найдем
условие при которых
функция
должна
удовлетв равенству
;
будет
зависеть только от Х если правая часть
ур будет зависеть только от Х
2)
Аналогично и
=
(У)
;
будет
зависеть только от Х если правая часть
ур будет зависеть только от У
Вопрос №26.
Уравнение вида: f(x,y¢)=0.
1) Предположим, что данное уравнение можно разрешить относительно y¢; y¢=fk(x), k=1,2,…
Получим
совокупность таких решений. Она является
общим решением данного уравнения.


……………………………….

2) Пусть оно не разрешается относительно y¢ и разрешается относительно x. Пусть оно эквивал. Такому x=j(y¢). Будем искать решение данного уровнение в параметрической форме. y¢=p=p(x).
Пусть x=j(p), А y ищем так:
dx=j¢(p)dp dy=y¢dx=pj¢(p)dl.
Отсюда
Тогда
общее решение

3)
Предположим, что ур-ние не разрешено не
относ. х, не относ. y¢,
но оно может быть представлено в виде
с-мы двух ур-ний, эквивалентных данному
ур-нию:
a
£
t
£
b
dy=y¢dx dx =j¢(x)dt
dy=y(t)* j¢(t)dt
Тогда парметрическое решение данное ур-я
Билет
28.
Ур-ние Логранжа
Ур.
Лог.имеет следующий вид
где
ф-ция
и
непрерывная
и
сменная производная по своему аргументу.
Покажем что путём диф-ния и введения
параметра можно получить общее решение
в параметрической форме.Пусть у`=p=p(x)
Подставляем в ур.
(1)
Продиф-ем на х


Рассмотрим два случая:




Будем смотреть на это ур-ние как наур-ние
от неизв. Ф-ции х, которая в свою очередь явл.
Ф-цией параметра р.Тогда имеем обычное
инт.ур.относительно неизв.ф-ции, которую
можем найти.
Пусть общим интегралом этого ур.будут
F(p,е,c)=0 (2)
Объеденим (2) и (1)


А это и есть общее решение ,представленое
через параметр Р.
2)
,тогда Р=0,но такая constanta,
что
удовлет. решению ур. :
Пусть РI(I=1,2,..) будут решением этого ур.
Тогда решением первоначального ур.А.
будут
ф-ции
,
которые явл. Особыми решениями ур. А.
И не могут быть получены общим решением.
Ур.Клеро.
Ур.Клеро имеет вид
где
-непрер.
и симетр.произв.по своему
аргументу.
Вводим параметр
.
Тогда
(3)
Диф-ем
по Х

Если
,то
р=е, а тогда
подставляем
в (3)и получаем:
явл.
общим решением ур. Клеро
тогда
имеем параметрическое ур.
общее
реш.


Пример
Замена



общее решение:

Билет 27.
Уравнение вида F(y,y`)=0
1)Пусть ур-ние разрешимо относ.
y`,тогда y`=fk(y) Разрешим относ. y, где к=1,2….

k(y)
.
Пустьfk(y)
0
тогда

Считаем
х-функцией от у.
.

-это
общий интеграл данного ур-я .
общее
решен.х.
Пусть fk(y)=0 . Тогда решен.данного ур-я
могут
быть ф-ции
,где
-
консты, причём
такие,которые
удовлнтв.условиюF
2)Пусть ур-ние не разр.относ.у,, но разреш. отн. y, т.е. пусть
наше
ур-е эквивал. Ур-нию
Тогда
общее реш.розыскивается в парометрич.
форме.Вводят параметры таким образом

а)пусть
тогда
,
а тогда:
-
общее решение в пар-ой форме

б) пусть у’=0, тогда у=const
Решением
ур-ния будут ф-ции у=
к
,
какие
удовлет.ур-ние F(
k,0)=0
Пример:
решить ур.

Разреш.
относ. У .тогда


;

Билет
25.
Рассмотрим несколько случаев:
1.Пусть задано следющее диф. ур-ние:

Это диф. ур-е 1-го порядка n-ой степени, где aI (x;y) – некото- рые непрырывные ф-ции двух переменных в некоторой обл. Q Ì R2 (i=0,…,n). Мы имеем ур-е n-ой степени относительно 1-ой производной, а известно, что всякое ур-е n-ой степени имеет вточности n-корней, среди которых есть как действительные так и комплексные. Пусть например это ур-е имеет какоето количество m £ n действительных корней. Т.к. коэффициенты этого ур-я являются ф-циями двух переменных, то ясно, что корни тоже будут ф-циями двух переменных. Пусть это будут решения y1=fk(x;y), k=1,2…m.
Ур-е (1) свелось к m - ур-ий 1-го порядка. Пусть это ур-я, имеющие общий интеграл Fk=(x;y;c)=0, k=1,2…n. Тогда совокупность всех этих общих интегралов

и будет общим решением данного диф. ур-я (1).
Пример:

Пусть x=0,а ур-ние разделим на x






Ур-я вида: F(y!)=0
Пусть заданное диф. ур-е явно зависит только от y! и не зависит явно от x и y. Тогда мы имеем некоторое алгебраическое ур-е относительно производных. А такое алгебраическое ур-е пусть имеет конечное или бесконечное множество действительных решений относительно производных. Т.е. y! = ki , i= 1,2… , где ki – некоторые действительные числа. У нас выполняется условие F(ki)º0. Решим ур-е y!=ki; y=kix+c; ki=(y-c)/x. Общий интеграл заданного диф. ур-я

Пример:
(y!)4-4(y!)2+1=0
k4-4k2+1=0 действительные корни есть
Значит сразу получаем общее решение

Список литературы
Для подготовки данной работы были использованы материалы с сайта