Исследование математических моделей оптимизации обслуживания сложных систем
ИССЛЕДОВАНИЕ МАТЕМАТИЧЕСКИХ МОДЕЛЕЙ
ОПТИМИЗАЦИИ ОБСЛУЖИВАНИЯ СЛОЖНЫХ СИСТЕМ
Реферат
Особый круг задач в теории обслуживания сложных систем составляют задачи, в которых предполагается наличие неполной информации о надежности систем. Эти задачи чаше всего встречаются на практике, особенно на начальном периоде эксплуатации систем. Их специфика потребовала разработки специальных прикладных математических методов исследования, близких к теории игр и основанных на минимаксных подходах. Эти методы позволяют проследить за количественным улучшением показателей обслуживания по мере уменьшения степени неполноты используемой информации о надежности системы. В данной учебно-исследовательской работе рассматривается нахождение времени плановой предупредительной профилактики и оптимальных значений характеристик на примере чётырёх стратегий обслуживания систем.
Содержание
Введение………………………………………………..…….…….4
Основная часть……………………………......................................5
Математическая модель………………………....…..…………..5
Стратегия A………….………………………….......................…6
2.2 Стратегия В……………………...……………………………......…10
2.3 Стратегия С…………………………………………...……..…...….17
2.3 Стратегия D…………………………………...……………..…...….26
Заключение………………………………………………………..…34
Список использованных источников………………..………..…35
Приложения А……………………..……….....………………………....36
Приложения Б …………………..….……................................................42
Приложения В ……………......................................................................46
Введение
В практике эксплуатации технических систем часто возникают ситуации, при которых невозможно собрать достаточно статистических данных об их отказах, неисправностях или предпосылках к появлению отказов или неисправностей. Это, например, имеет место, если эксплуатируется новая система, или в тех случаях, когда существующими методами контроля и диагностики не удается обнаружить возникновение некоторых неисправностей или предпосылок к неисправностям или отказам. Возникает задача такой организации проверок, при которой с заданной уверенностью (вероятностью обнаружения отказа при проверке, если он возник до начала ее проведения) будут обнаружены возникшие в системе отказы, а время пребывания системы в состоянии отказа (неисправности, предпосылки к неисправности или отказу) в среднем наименьшее. При этом естественно предположить, что такие модели проверок разные в зависимости от имеющейся информации о надежности системы и тем лучше (в смысле получения выигрыша по критерию стоимости или готовности, причем готовность характеризуется средним временем пребывания системы в состоянии отказа), чем большая информация имеется о надежности системы.
На практике при большом числе однотипных систем, находящихся в эксплуатации, организация проверок каждой из них в расчетное оптимальное время при ограничениях на средства контроля и количество обслуживающего персонала, что часто имеет место, встречает большие трудности. Поэтому необходимо, с одной стороны, автоматизировать процесс выдачи рекомендаций о проведении проверок, а с другой — организовать процедуру проверок так, чтобы проверки проводились в расчетное время с наименьшими потерями, связанными с простоями персонала и средств обслуживания, перемещениями средств обслуживания или их коммутацией и т.д.
2 Основная часть
2.1 Математическая модель
B создании технических систем возникает проблема разработки некоторой стратегии технического обслуживания, которая позволила бы получить от эксплуатации системы максимально возможный эффект. Поэтому задачи профилактики ставятся как задачи экстремальные и их можно назвать оптимальными задачами, надежности. Обычно при постановке задачи профилактики предполагают заданными характеристики надежности системы: функцию распределения времени безотказной работы системы F(x) или отдельных ее частей и функцию распределения времени самостоятельного проявления отказа Ф(х) и характеристики ремонтопригодности: функции распределения времен различных восстановительных работ, которые можно проводить в системе. Эти характеристики, а также правило (стратегия), в соответствии с которым назначаются сроки проведения восстановительных работ, определяют состояния системы и эволюцию этих состояний во времени.
Будем считать, что множество Е возможных состояний системы является конечным Е = {E>1>,E>2>,…,E>n>}. В таком случае траектории процесса x(t), описывающего эволюцию состояний системы во времени, являются ступенчатыми функциями. На траекториях этого случайного процесса определим функционал, который при фиксированных характеристиках надежности будет характеризовать стратегию обслуживания исследуемой системы. За конечный отрезок времени [0,t] траектория процесса x(t) задается количеством переходов т, моментами переходов t>0> = 0<t>1><t>2><…<t>m>≤t и набором состояний Е = {E>1>,E>2>,…,E>n>} в которых процесс находится между моментами перехода.
Обычно при постановке задачи выбора оптимальной стратегии обслуживания технической системы предполагают, что полностью известны ее характеристики. Однако функция распределения времени безотказной работы F(y), как правило, определяется статистически и известна лишь в отдельных точках. Поэтому при постановке задачи более естественным является предположение о том, что функция F(y) принадлежит классу Ω(n,y,р) функций распределения, которые в заданных точках y = (y>0>=0,y>1>,y>2>,…,y>n>) принимают заданные значения р = (р>0>=0, р>1>, р>2>,…, р>n>).
Рассмотрим 2 метода определения оптимальных характеристик стратегий обслуживания сложных систем: расчёт характеристик с помощью, заранее известной функции распределения времени безотказной работы системы F(y); расчёт с помощью статистических данных, полученных в результате работы системы в течение некоторого времени.
2.2 Стратегия A.
Стратегия А - полное восстановление системы проводится только после самостоятельного проявления отказа.
Система, новая в момент t =0, работает до отказа в течение времени о, распределенного но закону F(x). Далее от момента t=о до момента проявления отказа t = о+Ј , в течение случайного времени Ј, распределенного по закону Ф(х), простаивает в неработоспособном состоянии (скрытый отказ). В случайный момент проявления отказа начинается внеплановый аварийно-профилактический ремонт, который длится случайное время y(M>y>=T>ап>) и после которого система полностью обновляется. После окончания ремонта весь процесс функционирования системы и ее обслуживания повторяется.
Постановка задачи. Определим случайный процесс x(t), характеризующий состояние исследуемой системы. Пусть z ≥ 0, тогда
E>0>, если в момент t система работоспособна и до отказа проработает время, большее или равное z;
E>1>, если в момент t система работоспособна и до отказа проработает время, меньшее z;
E>2>, если в момент t в системе имеется скрытый отказ;
E>3>, если в момент t система ремонтируется (внеплановый аварийно-профилактический ремонт).
0100090000032a0200000200a20100000000a201000026060f003a03574d4643010000000000010001d40000000001000000180300000000000018030000010000006c0000000000000000000000350000006f0000000000000000000000d51f00003015000020454d4600000100180300001200000002000000000000000000000000000000bf120000121a0000cb0000001a010000000000000000000000000000f8180300904d0400160000000c000000180000000a00000010000000000000000000000009000000100000008307000002050000250000000c0000000e000080250000000c0000000e000080120000000c00000001000000520000007001000001000000a4ffffff00000000000000000000000090010000000000cc04400022430061006c006900620072006900000000000000000000000000000000000000000000000000000000000000000000000000000000000000000000000000000000001100009b110010000000649e1100e49b1100e4506032649e11005c9b110010000000cc9c1100489e11008a4f6032649e11005c9b1100200000006a4555315c9b1100649e110020000000ffffffffbc31dc0017465531ffffffffffff0180ffff01802fff0180ffffffff0000000000080000000800004300000001000000000000005802000025000000372e9001cc00020f0502020204030204ef0200a07b20004000000000000000009f00000000000000430061006c006900620072000000000000000000249c11000dea5431b0d71132849f1100909b11001e504d310600000001000000cc9b1100cc9b11003d524b3106000000f49b1100bc31dc006476000800000000250000000c00000001000000250000000c00000001000000250000000c00000001000000180000000c0000000000000254000000540000000000000000000000350000006f000000010000008d5c8740163687400000000057000000010000004c000000040000000000000000000000850700000105000050000000200001003600000046000000280000001c0000004744494302000000ffffffffffffffff8307000003050000000000004600000014000000080000004744494303000000250000000c0000000e000080250000000c0000000e0000800e000000140000000000000010000000140000000400000003010800050000000b0200000000050000000c02c2002301040000002e0118001c000000fb020200010000000000bc02000000cc0102022253797374656d0000000000000000000000000000000000000000000000000000040000002d010000040000002d01000004000000020101001c000000fb02f2ff0000000000009001000000cc0440002243616c6962726900000000000000000000000000000000000000000000000000040000002d010100040000002d010100040000002d010100050000000902000000020d000000320a0d00000001000400000000002301c20020740800040000002d010000040000002d010000030000000000
Рисунок 1 – Диаграмма переходов процесса x(t) (Стратегия А)
Расчёт по статистическим данным :
Исходные данные для расчета :
вектор y = (y>0>=0,y>1>,y>2>,…,y>n>) и вектор р = (р>0>=0, р>1>, р>2>,…, р>n>);
средняя длительность плановой предупредительной профилактики Т>pp>;
средняя длительность внепланового аварийно-профилактического ремонта Т>ap>;
потери за единицу времени при проведении плановой предупредительной профилактики С>pp> ;
потери за единицу времени при проведении внепланового аварийно-профилактического ремонта С>ap>;
прибыль C0 , получаемая за единицу времени безотказной работы системы;
оперативное время Z работы системы, необходимое для выполнения задачи.
Коэффициент готовности.
(1.1)
Вероятность выполнения задачи.
(1.2)
Средние удельные потери.
(1.3)
Средняя удельная прибыль.
(1.4)
Расчёт по функции распределения времени безотказной работы системы :
Функция распределения времени безотказной работы системы F(t);
средняя длительность плановой предупредительной профилактики Т>pp>;
средняя длительность внепланового аварийно-профилактического ремонта Т>ap>;
потери за единицу времени при проведении плановой предупредительной профилактики С>pp> ;
потери за единицу времени при проведении внепланового аварийно-профилактического ремонта С>ap>;
прибыль C0 , получаемая за единицу времени безотказной работы системы;
оперативное время Z работы системы, необходимое для выполнения задачи.
Коэффициент готовности :
(1.5)
Средние удельные затраты :
(1.6)
Средняя удельная прибыль :
(1.7)
Вероятность выполнения задачи :
(1.8)
Результаты вычислений представлены в таблицах 1.1 и 1.2.
Таблица №1.1 - Расчёт по функции распределения.
-
Стратегия
K>г>
P>вып>
C>пр>
C>пот>
Стратегия A
0,83
0,68
1,41
0,3
Таблица №1.2 - Расчёт по статистическим данным.
-
Стратегия
K>г>
P>вып>
C>пр>
C>пот>
Стратегия A
0,83
0,65
1,33
0,28
2.2 Стратегия В.
Стратегия В — полное восстановление системы проводится либо в момент отказа, либо в заранее назначенный календарный момент времени. В начальный момент функционирования системы (t=0) планируется проведение предупредительной профилактики через случайное время распределенное по закону О(х). Если система не отказала до назначенного момента, то в этот момент дается предупредительная профилактика, средняя длительность которой равна Т>pp>. Если же отказ системы произошел ранее, то этот факт обнаруживается немедленно, так как, по предположению, индикация мгновенная:
Ф(х) = (2.1)
Поэтому в момент отказа начинается внеплановый аварийно-профилактический ремонт, который длится время Т>ап> (Т>ап> >Т>пп>). После проведения любой из перечисленных восстановительных работ система полностью обновляется. В момент окончания восстановительных работ последующая предупредительная профилактика перепланируется, и далее весь процесс обслуживания повторяется.
Постановка задачи. Определим случайный процесс характеризующий состояние исследуемой систему. Пусть Z > 0, тогда x(t):
E>0>, если в момент t система работоспособна и до отказа проработает время, большее или равное z;
E>1>, если в момент t система работоспособна и до отказа проработает время, меньшее z;
E>2>, если в момент t в системе проводится внеплановый аварийно-профилактический ремой z;
E>3>, если в момент t в системе проводится предупредительная профилактика.
0100090000032a0200000200a20100000000a201000026060f003a03574d4643010000000000010001d40000000001000000180300000000000018030000010000006c0000000000000000000000350000006f0000000000000000000000d51f00003015000020454d4600000100180300001200000002000000000000000000000000000000bf120000121a0000cb0000001a010000000000000000000000000000f8180300904d0400160000000c000000180000000a00000010000000000000000000000009000000100000008307000002050000250000000c0000000e000080250000000c0000000e000080120000000c00000001000000520000007001000001000000a4ffffff00000000000000000000000090010000000000cc04400022430061006c006900620072006900000000000000000000000000000000000000000000000000000000000000000000000000000000000000000000000000000000001100009b110010000000649e1100e49b1100e4506032649e11005c9b110010000000cc9c1100489e11008a4f6032649e11005c9b1100200000006a4555315c9b1100649e110020000000ffffffffbc31dc0017465531ffffffffffff0180ffff01802fff0180ffffffff0000000000080000000800004300000001000000000000005802000025000000372e9001cc00020f0502020204030204ef0200a07b20004000000000000000009f00000000000000430061006c006900620072000000000000000000249c11000dea5431b0d71132849f1100909b11001e504d310600000001000000cc9b1100cc9b11003d524b3106000000f49b1100bc31dc006476000800000000250000000c00000001000000250000000c00000001000000250000000c00000001000000180000000c0000000000000254000000540000000000000000000000350000006f000000010000008d5c8740163687400000000057000000010000004c000000040000000000000000000000850700000105000050000000200001003600000046000000280000001c0000004744494302000000ffffffffffffffff8307000003050000000000004600000014000000080000004744494303000000250000000c0000000e000080250000000c0000000e0000800e000000140000000000000010000000140000000400000003010800050000000b0200000000050000000c02c2002301040000002e0118001c000000fb020200010000000000bc02000000cc0102022253797374656d0000000000000000000000000000000000000000000000000000040000002d010000040000002d01000004000000020101001c000000fb02f2ff0000000000009001000000cc0440002243616c6962726900000000000000000000000000000000000000000000000000040000002d010100040000002d010100040000002d010100050000000902000000020d000000320a0d00000001000400000000002301c20020740800040000002d010000040000002d010000030000000000
Рисунок 2 – Диаграмма переходов процесса x(t) (Стратегия В)

Определенный
случайный процесс является регенерирующим
(например, иомен там и регенерации будут
моменты переходов в состоянии
апериодическим, если предположить, что
хотя бы од на из случайных величин время
безотказной работы период предупредительны
профилактик или у - время восстановления
является непрерывной случайной
величиной. Можно утверждать, что при
длительной эксплуатации характеристики
качества функционирования выражаются
дробно-линейным функционалом:
(2.2)
Предположим теперь, что функция F(y) известна лишь в отдельных точках, т. е.
F(y) Є Щ(n,y,р). (2.3)
Тогда задача заключается в определении гарантированного среднего выигрыша и функции G*(x), которая определяет периоды профилактики, обеспечивающие этот гарантированный выигрыш,
I(G*,F*) = max min I(G,F), где G Є Щ, F Є Щ(n,y,р). (2.4)
Гарантированный выигрыш определяется как выигрыш, получаемый при наилучшей функции распределения G*(x) и наихудшей функции распределения F*(y). Если функционал (2.2) выражает потери, то необходимо брать максимум по F Є Щ(n,y,р) и минимум по G Є Щ.
Расчёт по статистическим данным:
Методика определения минимаксных периодов проведения плановых предупредительных профилактик гарантированных значений показателей качества функционирования:
Исходные данные для расчета :
вектор y = (y>0>=0,y>1>,y>2>,…,y>n>) и вектор р = (р>0>=0, р>1>, р>2>,…, р>n>);
средняя длительность плановой предупредительной профилактики Т>pp>;
средняя длительность внепланового аварийно-профилактического ремонта Т>ap>;
потери за единицу времени при проведении плановой предупредительной профилактики С>pp> ;
потери за единицу времени при проведении внепланового аварийно-профилактического ремонта С>ap>;
прибыль C0 , получаемая за единицу времени безотказной работы системы;
оперативное время Z работы системы, необходимое для выполнения задачи.
Формулы для расчёта минимаксных периодов профилактик и гарантированных значений показателей качества функционирования:
Коэффициент готовности.Определяется номер k>0> при котором достигает максимума выражение
,
(2.5)
где k = 0,1,2,..., n.
Если максимум A>k> достигается при k>0><n, то плановые предупредительные профилактики следует проводить в момент ф>0 >= y>k>>0+1>-0. Если k>0 >= n, то ф>0 >=> >∞, т.е. плановые предупредительные профилактики проводить нецелесообразно.
Вероятность выполнения задачи.
Определяется номер k>0> (0 ≤ k>0 >≤ n), для которого y>k>>0> – z ≤ 0, y>k>>0+1> – z > 0.
Определяется максимальное значение отношения выражений (1.6) к (1.7).
, при ф [0 , y>k>>+1> - z],
(2.6)
, при ф [y>m> - z , y>m>>+1> - z].
, при k0 = 0,1,2, n (2.7)
Точка, при которой достигается максимум выражение определяет минимаксный период проведения предупредительных профилактик.
Средние удельные потери.
Определяется номер kо, при котором достигается минимум выражения
.
(2.8)
Точка ф>0 >= y>k>>0+1>-0 определяет сроки проведения плановых предупредительных профилактик.
Средняя удельная прибыль.
Определяется номер kо, при котором достигается максимум выражения
(2.9)
Точка ф>0 >= y>k>>0+1>-0 определяет сроки проведения плановых предупредительных профилактик.
Расчёт по функции распределения времени безотказной работы системы:
Исходные данные для расчета:
функция распределения времени безотказной работы системы F(t);
средняя длительность плановой предупредительной профилактики Т>pp>;
средняя длительность внепланового аварийно-профилактического ремонта Т>ap>;
потери за единицу времени при проведении плановой предупредительной профилактики С>pp>;
потери за единицу времени при проведении внепланового аварийно-профилактического ремонта С>ap>;
прибыль C0 , получаемая за единицу времени безотказной работы системы;
оперативное время Z работы системы, необходимое для выполнения задачи.
Коэффициент готовности :
(2.10)
Средние удельные затраты :
(2.11)
Средняя удельная прибыль :
(2.12)
Вероятность выполнения задачи :
(2.13)
Пример. Определим гарантированные значения показателей качества
функционирования и сроки проведения плановых предупредительных профилактик системы, для которой заданы следующие исходные характеристики:
T>pp> = 1 ч; Т>ap> = 2 ч; с>pp>=1 ед/ч; с>ap>=2 ед/ч; z = 25 ч; с>0> = 5 ед/ч;
y = (y>0> = 0;.y>1> = l0; у>2> = 20; у>3> = 30; у>4> = 40),
р = (р>0> = 0; р>1> = 0,1; р>2> = 0.15; р>3> = 0,3; р>4> = 0,5).
Коэффициент готовности
Вычислим величины A>k> :
Таблица №2.1 – Величины коэффициента готовности
|
А>0> |
А>1> |
А>2> |
A>3> |
А>4> |
|
0,891 |
0,938 |
0,950 |
0,852 |
0,922 |
Итак, получаем гарантированное значение коэффициента готовности, равное 0,952, если предупредительные профилактики проводить через время ф>0>=40-0 ч.
Вероятность выполнения задачи.
Определяем величину k0. Для данных, приведенных в таблице №2, k>0>=2(y>2> – z < 0, y>3> – z > 0).
Таблица №2.2 – Величины вероятности выполнения задачи
|
y = 0 |
y = 5 - 0 |
y = 5 + 0 |
y = 10 - 0 |
y = 10 + 0 |
у = 15 |
|
0 |
0,924 |
0,76 |
0,594 |
0,581 |
0,600 |
Максимум достигается при у = 5 - 0 и равен 0,924. Следовательно, профилактики нужно проводить через 5 - 0 ч. и гарантированное значения вероятности выполнения задачи будет равно 0,924.
Средние удельные затраты.
Вычисляем величины средних удельных затрат.
Результаты сведены в таблицу №2.3 :
Таблица №2.3 – Величины средних удельных затрат
|
k = 0 |
k = 1 |
k = 2 |
k = 3 |
k = 4 |
|
0,144 |
0,0829 |
0,0775 |
0,0847 |
0,1333 |
Таким образом, получаем, что профилактику необходимо проводить через время 30 - 0 ч. и при этом гарантированное значение удельных затрат равно 0,0775 ед/ч.
Средняя удельная прибыль.
Вычисляем величины средней удельной прибыли.
Результаты сведены в таблицу №2.4:
Таблица №2.4 – Величины средней удельной прибыли
|
k = 0 |
k = 1 |
k = 2 |
k = 3 |
k = 4 |
|
4,37 |
4,61 |
4,674 |
4,677 |
4,55 |
Окончательно получаем, что профилактику необходимо проводить через время 40 - 0 ч., при этом гарантированное значение средней удельной прибыли равно 0,4677 ед/ч.
Результаты вычислений представлены в таблицах 2.5 и 2.6.
Таблица №2.5 - Расчёт по функции распределения.
|
Стратегия |
K>г> |
P>вып> |
C>пр> |
C>пот> |
|
Стратегия B |
0,95 |
0,92 |
0,46 |
0,07 |
Таблица №2.6 - Расчёт по статистическим данным.
|
Стратегия |
K>г> |
P>вып> |
C>пр> |
C>пот> |
|
Стратегия B |
0,94 |
0,92 |
0,48 |
0,07 |
2.3 Стратегия С
Стратегия С - восстановление системы проводится только в заранее назначенные моменты времени независимо от отказов системы.
Для исследуемой в настоящем параграфе системы предполагается, что время самостоятельного проявления отказа разно бесконечности, т. е. появившийся в системе отказ самостоятельно не проявляется. Для такой системы планируется проведение различных восстановительных работ (плановых), при которых отказы обнаруживаются, устраняются и предупреждаются.
Пусть при t=0, когда начинается эксплуатация системы, назначается проведение плановых восстановительных работ через случайное время з, распределенное по закону G(x). Если к назначенному моменту з система не отказала (о>з, где о — время безотказной работы, распределенное по закону F(x)), то в этот момент проводится плановая предупредительная профилактика, которая полностью обновляет систему и средняя длительность которой равна Т>pp>. Если к назначенному моменту система отказала (о≤з), то в этот момент проводится плановый аварийно-профилактический ремонт, который полностью обновляет систему и длится в среднем время Т>ap>. После окончания плановых работ весь процесс обслуживания полностью повторяется.
Определим случайный процесс x(t), характеризующий состояние системы в момент t, x(t) :
E>0>, если в момент t система работоспособна и проработает еще время, большее z≥0;
E>1>, если в момент t система работоспособна, но до отказа проработает время, меньшее z,
E>2>, если в момент t система простаивает в неработоспособном состоянии (скрытый отказ);
E>3>, если в момент t в системе проводится плановый аварийно-профилактический ремонт;
E>4>, если в момент t в системе проводится плановая предупредительная профилактика.
0100090000032a0200000200a20100000000a201000026060f003a03574d4643010000000000010001d40000000001000000180300000000000018030000010000006c0000000000000000000000350000006f0000000000000000000000d51f00003015000020454d4600000100180300001200000002000000000000000000000000000000bf120000121a0000cb0000001a010000000000000000000000000000f8180300904d0400160000000c000000180000000a00000010000000000000000000000009000000100000008307000002050000250000000c0000000e000080250000000c0000000e000080120000000c00000001000000520000007001000001000000a4ffffff00000000000000000000000090010000000000cc04400022430061006c006900620072006900000000000000000000000000000000000000000000000000000000000000000000000000000000000000000000000000000000001100009b110010000000649e1100e49b1100e4506032649e11005c9b110010000000cc9c1100489e11008a4f6032649e11005c9b1100200000006a4555315c9b1100649e110020000000ffffffffbc31dc0017465531ffffffffffff0180ffff01802fff0180ffffffff0000000000080000000800004300000001000000000000005802000025000000372e9001cc00020f0502020204030204ef0200a07b20004000000000000000009f00000000000000430061006c006900620072000000000000000000249c11000dea5431b0d71132849f1100909b11001e504d310600000001000000cc9b1100cc9b11003d524b3106000000f49b1100bc31dc006476000800000000250000000c00000001000000250000000c00000001000000250000000c00000001000000180000000c0000000000000254000000540000000000000000000000350000006f000000010000008d5c8740163687400000000057000000010000004c000000040000000000000000000000850700000105000050000000200001003600000046000000280000001c0000004744494302000000ffffffffffffffff8307000003050000000000004600000014000000080000004744494303000000250000000c0000000e000080250000000c0000000e0000800e000000140000000000000010000000140000000400000003010800050000000b0200000000050000000c02c2002301040000002e0118001c000000fb020200010000000000bc02000000cc0102022253797374656d0000000000000000000000000000000000000000000000000000040000002d010000040000002d01000004000000020101001c000000fb02f2ff0000000000009001000000cc0440002243616c6962726900000000000000000000000000000000000000000000000000040000002d010100040000002d010100040000002d010100050000000902000000020d000000320a0d00000001000400000000002301c20020740800040000002d010000040000002d010000030000000000
Рисунок 3 – Диаграмма переходов процесса x(t) (Стратегия С)
Описанный процесс является регенерирующим (например, моментами регенерации являются моменты попадания в состояние То), а в предположении, что время, ремонта - непрерывная случайная величина, и апериодическим. При длительной эксплуатации системы характеристики качества функционирования выражаются дробно-линейным функционалом.
Как и ранее, будем предполагать, что функция распределения времени безотказной работы F(х) известна лишь в отдельных точках. F(x) Є Щ(n,y,р). Задача состоит в том, чтобы определить гарантированную среднюю величину функционала I(G,F) , т. е.
I(G*,F*) = max min I(G,F), где G Є Щ, F Є Щ(n,y,р).
и функцию G*(x), на которой это значение достигается. Если функционал (2.2.1) характеризует потери, то по G Є Щ берется минимум, a по F Є Щ(n,y,р) - максимум.
Расчёт по статистическим данным :
Методика определения минимаксных периодов проведения плановых предупредительных профилактик и гарантированных значений показателей качества функционирования
Исходные данные для расчета:
вектор y = (y>0>=0,y>1>,y>2>,…,y>n>) и вектор р = (р>0>=0, р>1>, р>2>,…, р>n>);
средняя длительность плановой предупредительной профилактики Т>pp>;
средняя длительность внепланового аварийно-профилактического ремонта Т>ap>;
потерн за единицу времени при проведении плановой предупредительной профилактики С>pp> ;
потери за единицу времени при проведении внепланового аварийно-профилактического ремонта С>ap>;
прибыль C>0> , получаемая за единицу времени безотказной работы системы;
оперативное время Z работы системы, необходимое для выполнения задачи;
потери за единицу времени при наличии в системе скрытого отказа С>p>.
Формулы для расчета минимаксных периодов и гарантированных значений показателей качества функционирования :
Коэффициент готовности.
Определяется номер k0, при котором достигается максимум из выражений :
,
(3.1)
,
(3.2)
при k = 0,1,2,..., n.
Если выражение (2.1) больше (2.2 ), то профилактики целесообразно проводить через время ф = y>k>>0> + 0 и гарантированное значение коэффициента готовности равно (2.1). Если выражение (2.1) меньше (2.2 ), то профилактики целесообразно проводить через время ф = y>k>>0+1> - 0 и гарантированное значение коэффициента готовности равно правой части этого неравенства.
Вероятность выполнения задачи.
Определяется номер k>0>(0≤k>0>≤n), для которого y>k>>0> – z ≤ 0, y>k>>0+1> – z > 0. Далее определяется максиму отношения выражения (2.3) к (2.4).
, при ф [0 , y>k>>0+1> - z],
(3.3)
, при ф [y>m> – z , y>m>>+1> – z].
Ф + T>ап> р>k>>+1> + T>пп> (1 – р>k>>+1>) , при ф [y>k> , y>k>>+1>], k = 0,1,2,…, n (3.4)
Точка ф, при которой достигается этот максимум, определяет минимаксный период проведения предупредительных профилактик, а значение этого максимума есть гарантированное значение вероятности выполнения задачи.
Средние удельные затраты.
Определяется номер k0, при котором достигается минимум из выражений :
(3.5)
(3.6)
Если при этом выражение (2.5) меньше (2.6), то предупредительную профилактику целесообразно проводить через время ф = y>k>>0> + 0 и гарантированное значения средних удельных потерь равно (2.5). Если выражение (2.5) больше (2.6), то предупредительные профилактики целесообразно проводить через время ф = y>k>>0+1> – 0 и гарантированное значение средних удельных потерь будет равно (2.6).
Средняя удельная прибыль.
Определяется номер k>0>, при котором достигается максимум выражения:
(3.7)
(3.8)
Если при этом максимум совпадает с выражением (2.7), то предупредительные профилактики целесообразно проводить через время ф = y>k>>0> - 0. а гарантированное значение средней удельной прибыли равно первому выражению. Если максимум совпадает с выражением (2.8), то предупредительные профилактики целесообразно проводить через время ф = y>k>>0+1> - 0, а гарантированное значение средней удельной прибыли равно этому второму выражению при k=k>0>.
Расчёт по функции распределения времени безотказной работы системы :
Исходные данные для расчета:
функция распределения времени безотказной работы системы F(t);
средняя длительность плановой предупредительной профилактики Т>pp>;
средняя длительность внепланового аварийно-профилактического ремонта Т>ap>;
потерн за единицу времени при проведении плановой предупредительной профилактики С>pp> ;
потери за единицу времени при проведении внепланового аварийно-профилактического ремонта С>ap>;
прибыль C>0> , получаемая за единицу времени безотказной работы системы;
оперативное время Z работы системы, необходимое для выполнения задачи;
потери за единицу времени при наличии в системе скрытого отказа С>p>.
Коэффициент готовности :
(3.9)
Средние удельные затраты :
(3.10)
Средняя удельная прибыль :
(3.11)
Вероятность выполнения задачи :
(3.12)
Пример. Определим гарантированные значения показателей качества функционирования и сроки проведения плановых предупредительных профилактик системы, для которой заданы следующие исходные характеристики:
T>pp> = 1 ч; Т>ap> = 2 ч; с>pp>=1 ед/ч; с>ap>=2 ед/ч; z = 25 ч; с>0> = 5 ед/ч;
С>p> = 2 ед/ч;
y = (y>0> = 0;.y>1> = l0; у>2> = 20; у>3> = 30; у>4> = 40),
р = (р>0> = 0; р>1> = 0,1; р>2> = 0.15; р>3> = 0,3; р>4> = 0,5).
Коэффициент готовности.
Значения (3.1) и (3.2) для различных k сведены в таблицу №3.1:
Таблица №3.1 – Величины коэффициента готовности
|
k = 0 |
k = 1 |
k = 2 |
k = 3 |
k = 4 |
|
0 0,818 |
0,807 0,822 |
0,821 0,783 |
0,736 0,71 |
0,702 0 |
Итак, получили, что предупредительную профилактику целесообразно проводить через время ф =20 - 0 ч. и гарантированное значение коэффициента готовности равно 0,822.
Вероятность выполнения задачи.
Определим величину k>0>. В рассматриваемом случае k>0>=2.
Далее определяем величины отношений в точках вида у>k>> >± 0 ,у>k> - z. Результаты сведены в таблицу №3.2:
Таблица №3.2 – Величины вероятности выполнения задачи
|
y=0 |
y=5 - 0 |
y=5 + 0 |
у=10 - 0 |
у =10 + 0 |
у=20 - 0 |
y=20+0 |
|
0 |
0.70 |
0.57 |
0.54 |
0,53 |
0,52 |
0,40 |
Максимум вероятности 0,7 достигается при ф =5 - 0 ч.
Средние удельные затраты.
Вычисляем величины средних удельных затрат при различных k. Результаты сведены в таблицу №3.3.
Таблица №3.3 – Величины средних удельных затрат
|
k = 0 |
k = 1 |
k = 2 |
k = 3 |
k = 4 |
|
∞ 0,378 |
0,383 0.369 |
0,394 0.526 |
0,630 0,783 |
0,833 ∞ |
Таким образом, результаты расчета показывают, что предупредительную плановую профилактику целесообразно проводить через время ф = 20 - 0 ч. и при этом гарантированное значение средних удельных потерь будет равно 0,369 ед/ч.
Средняя удельная прибыль.
Вычисляем значения средней удельной прибыли для различных k. Результаты сведены в таблицу №3.4:
Таблица №3.5 – Величины средней удельной прибыли
|
k = 0 |
k = 1 |
k = 2 |
k = 3 |
k = 4 |
|
<0 3,72 |
3,70 3,84 |
3,80 8,48 |
3,48 0,30 |
0,29 <0 |
Итак, результаты расчета показывают, что предупредительные профилактики целесообразно проводить через время ф = 20 - 0 ч и при этом гарантированное значение средней удельной прибыли равно 3,84 ед/ч.
Результаты вычислений представлены в таблицах 3.6 и 3.7.
Таблица №3.6 - Расчёт по функции распределения.
-
Стратегия
K>г>
P>вып>
C>пр>
C>пот>
Стратегия C
0,89
0,71
3,70
0,38
Таблица №3.7 - Расчёт по статистическим данным.
-
Стратегия
K>г>
P>вып>
C>пр>
C>пот>
Стратегия C
0,80
0,70
3,95
0,37
2.4 Стратегия D
Стратегия D — полное восстановление системы проводится либо в момент самостоятельного проявления отказа, либо в заранее назначенный календарный момент времени.
Пусть в начальный момент Ј=0 начинается эксплуатация новой системы, у которой время безотказной работы о распределено по некоторому закону F(у)=Р { о < у). В момент t=0 планируется проведение плановой предупредительной профилактики через случайное время з, распределенное по некоторому закону G(x). Если к назначенному моменту система не отказала, то проводится плановая, предупредительная профилактика, которая длится в среднем время Т>ап> и которая полностью обновляет систему. Если к назначенному моменту cсистема отказала, но отказ не проявился, то факт отказа обнаруживается в назначенный момент и начинается плановый аварийно-профилактический ремонт, средняя длительность которого равна Т>ап> и который также полностью обновляет систему. Наконец, если система отказала, и отказ проявился до назначенного момента з, то в момент обнаружения отказа начинается внеплановый аварийно-профилактический ремонт, средняя длительность которого равна Т>ап> и после проведения, которого система обновляется полностью. После окончания любой восстановительной работы система обновлена, и весь процесс обслуживания повторяется независимо от прошлого.
Постановка задачи. Определим случайный процесс х(г), характеризующий состояние системы в момент t. Пусть z ≥0, тогда x(t) :
E>0>, если в момент t система работоспособна и еще проработает время, большее z;
E>1>, если в момент t система работоспособна, но до отказа проработает время, меньшее z;
E>2>, если в момент t система простаивает в неработоспособном состоянии (скрытый отказ);
E>3>, если в момент t в системе проводится внеплановый аварийно-профилактический ремонт;
E>4>, если в момент t в системе проводится плановый аварийно-профилактический ремонт;
E>5>, если в момент t в системе проводятся плановая предупредительная профилактика.

Рисунок 4 – Диаграмма переходов процесса x(t) (Стратегия D)
Расчёт по статистическим данным :
Исходные данные для расчета:
вектор y = (y>0>=0,y>1>,y>2>,…,y>n>) и вектор р = (р>0>=0, р>1>, р>2>,…, р>n>);
средняя длительность плановой предупредительной профилактики Т>pp>;
средняя длительность внепланового аварийно-профилактического ремонта Т>ap>;
потерн за единицу времени при проведении плановой предупредительной профилактики С>pp> ;
потери за единицу времени при проведении внепланового аварийно-профилактического ремонта С>ap>;
прибыль C>0> , получаемая за единицу времени безотказной работы системы;
оперативное время Z работы системы, необходимое для выполнения задачи;
потери за единицу времени при наличии в системе скрытого отказа С>p>.
Коэффициент готовности.
(4.1)
(4.2)
(4.3)
Вероятность выполнения задачи.
(4.4)
(4.5)
(4.6)
Средние удельные затраты.
(4.7)
(4.8)
(4.9)
Средняя удельная прибыль.
(4.10)
(4.11)
(4.12)
Расчёт по функции распределения времени безотказной работы системы :
Исходные данные для расчета:
функция распределения времени безотказной работы системы F(t);
средняя длительность плановой предупредительной профилактики Т>pp>;
средняя длительность внепланового аварийно-профилактического ремонта Т>ap>;
потерн за единицу времени при проведении плановой предупредительной профилактики С>pp> ;
потери за единицу времени при проведении внепланового аварийно-профилактического ремонта С>ap>;
прибыль C>0> , получаемая за единицу времени безотказной работы системы;
оперативное время Z работы системы, необходимое для выполнения задачи;
потери за единицу времени при наличии в системе скрытого отказа С>p>.
Коэффициент готовности :
(4.13)
-
среднее время пребывания системы в
состоянии E>i>>
>за период между соседними точками
регенерации процесса x(t).
-
сдняя длительность этого
процесса.
(4.14)
(4.15)
(4.16)
(4.17)
(4.18)
(4.19)
Средние удельные затраты :
(4.20)
Средняя удельная прибыль :
(4.21)
Вероятность выполнения задачи :

(4.22)
Результаты вычислений представлены в таблицах 4.1 и 4.2
Таблица №4.1 - Расчёт по функции распределения.
-
Стратегия
K>г>
P>вып>
C>пр>
C>пот>
Стратегия D
0,91
0,90
0,23
0,01
Таблица №4.2 - Расчёт по статистическим данным.
-
Стратегия
K>г>
P>вып>
C>пр>
C>пот>
Стратегия D
0,9
0,89
0,24
0,01
3 Заключение
В итоге работы, были изучены математические методы оптимизации обслуживания систем. Оптимизация обслуживания рассчитывалась по четырём критериям :
Коэффициент готовности
Средние удельные потери
Средняя удельная прибыль
Вероятность выполнения задачи
Было произведено написание, и отладка программного обеспечения для расчёта времени проведения предупредительной профилактики (для двух стратегий обслуживания). Программа имеет графический интерфейс. В программе реализован выбор стратегий обслуживания, вывод и заполнение данных, вывод результатов вычислений.
Расчёт производился двумя методами : непараметрический метод основанный на статистических данных; параметрический метод основанный на функции распределения времени безотказной работы. Значения оптимальных характеристик для расчёта параметрическим методом основанным на функции распределения точнее. При увеличении объёма статистических данных результаты расчёта первым методом стремятся к значениям оптимальных характеристик для второго метода.
Демонстрация работы программы, блок-схемы алгоритмов, листинг кода предоставлены в разделе Приложения.
4 Список использованных источников
Систем анализ / А. В. Антонов – Москва, “Высшая школа”, 2004.
Модели технического обслуживания сложных систем / Е. Ю. Бразилович – Москва, “Высшая школа”, 1982.
Организация обслуживания при ограниченной информации о надёжности системы / Е. Ю. Бразилович, В. А. Каштанов – Москва, “Советское радио”, 1975.
Некоторые математические вопросы теории обслуживания сложных систем / Е. Ю. Бразилович, В. А. Каштанов, Москва, “Радио и связь”, 1971.
Теория систем / В. А. Острековский – Москва, “Высшая школа”, 1997.
Материалы с сайта Студенческий портал - СтудПроспект
Приложение А
Блок-схемы алгоритмов
Стратегии имеют похожие алгоритмы вычисления используемых функций. Ниже представлены блок-схемы алгоритмов для стратегии В (для расчёта по статистическим данным) :
Коэффициент готовности :

Рисунок 5 – Алгоритм вычисления коэффициента готовности

Рисунок 6 – Алгоритм вычисления коэффициента готовности (продолжение)
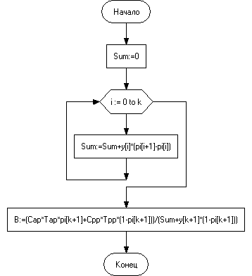
Средние удельные потери :

Рисунок 7 – Алгоритм вычисления средних удельных потерь
Средняя удельная прибыль :

Рисунок 8 – Алгоритм вычисления средней удельной прибыли
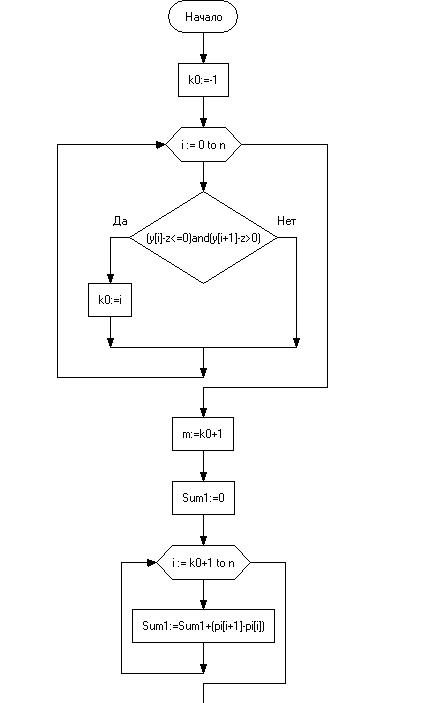
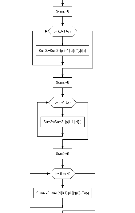
Вероятность выполнения задачи :

Рисунок 9 – Алгоритм вычисления вероятности выполнения задачи

Рисунок 10 – Алгоритм вычисления вероятности выполнения задачи (продолжение)

Рисунок 11 – Алгоритм вычисления вероятности выполнения задачи (продолжение)
Приложение Б
Листинг кода основных функций программы :
function A(k:integer):real; // Коэффициент готовности. Стратегия В.
var Sum1,Sum2,Sum3,Sum4:real;
i:integer;
begin
Sum1:=0;
for i:=0 to k do
Sum1:=Sum1+y[i]*(pi[i+1]-pi[i]);
Sum2:=0;
for i:=k+1 to n do
Sum2:=Sum2+(pi[i+1]-pi[i]);
Sum3:=0;
for i:=0 to k do
Sum3:=Sum3+(y[i]+Tap)*(pi[i+1]-pi[i]);
Sum4:=0;
for i:=k+1 to n do
Sum4:=Sum4+(y[k+1]+Tpp)*(pi[i+1]-pi[i]);
A:=(Sum1+y[k+1]*Sum2)/(Sum3+Sum4);
end;
function B(k:integer):real; // Средние удельные потери. Стратегия В.
var Sum:real;
i:integer;
begin
Sum:=0;
for i:=0 to k do
Sum:=Sum+y[i]*(pi[i+1]-pi[i]);
B:=(Cap*Tap*pi[k+1]+Cpp*Tpp*(1-pi[k+1]))/(Sum+y[k+1]*(1-pi[k+1]));
end;
function C(k:integer):real; // Средняя удельная прибыль. Стратегия В.
var Sum:real;
i,m:integer;
begin
Sum:=0;
for i:=0 to k do
Sum:=Sum+y[i]*(pi[i+1]-pi[i]);
C:=(C0*(1-pi[k+1])*y[k+1]+(C0*Sum-Cap*Tap*pi[k+1]-Cpp*Tpp*(1-pi[k+1])))/(y[k+1]*(1-pi[k+1])+Sum+Tap*pi[k+1]+Tpp*(1-pi[k+1]));
end;
function D(t:integer):real; // Вероятность выполнения задачи. Стратегия В.
var Sum1,Sum2,Sum3,Sum4,Sum5:real;
i,k0,m:integer;
begin
k0:=-1;
for i:=0 to n do
if (y[i]-z<=0)and(y[i+1]-z>0) then k0:=i;
m:=k0+1;
Sum1:=0;
for i:=k0+1 to n do
Sum1:=Sum1+(pi[i+1]-pi[i]);
Sum2:=0;
for i:=k0+1 to m do
Sum2:=Sum2+(pi[i+1]-pi[i])*(y[i]-z);
Sum3:=0;
for i:=m+1 to n do
Sum3:=Sum3+(pi[i+1]-pi[i]);
Sum4:=0;
for i:=0 to k0 do
Sum4:=Sum4+(pi[i+1]-pi[i])*(y[i]+Tap);
Sum5:=0;
for i:=k0+1 to n do
Sum5:=Sum5+(pi[i+1]-pi[i])*(t+Tpp);
if (t>=0)and(t<y[k0+1]-z) then
D:=(Sum1*t)/(Sum4+Sum5)
else D:=(Sum2+Sum3*t)/(Sum4+Sum5);
end;
function A1(k:integer):real; // Коэфициент готовности. Стратегия С.
var Sum:real;
i:integer;
begin
Sum:=0;
for i:=0 to k do
Sum:=Sum+y[i]*(pi[i+1]-pi[i]);
A1:=(Sum+y[k]*(1-pi[k+1]))/(y[k]+Tap*pi[k+1]+Tpp*(1-pi[k+1]));
end;
function B1(k:integer):real; // Средние удельные потери. Стратегия С.
var Sum1,Sum2:real;
i:integer;
begin
Sum1:=0;
for i:=0 to k do
Sum1:=Sum1+Cp*(y[k]-y[i])*(pi[i+1]-pi[i]);
Sum2:=0;
for i:=0 to k do
Sum2:=Sum2+y[i]*(pi[i+1]-pi[i]);
B1:=(Cap*Tap*pi[k+1]+Cpp*Tpp*(1-pi[k+1])+Sum1)/(Sum2+y[k]*(1-pi[k+1]));
end;
function C1(k:integer):real; // Средняя удельная прибыль. Стратегия С.
var Sum:real;
i,m:integer;
begin
Sum:=0;
for i:=0 to k do
Sum:=Sum+y[i]*(pi[i+1]-pi[i]);
C1:=((C0*(1-pi[k+1])-Cp*pi[k+1])*y[k+1]+((C0+Cp)*Sum-Cap*Tap*pi[k+1]-Cpp*Tpp*(1-pi[k+1])))/(y[k]+Tap*pi[k+1]+Tpp*(1-pi[k+1]));
end;
function D1(t:integer):real; // Вероятность выполнения задачи. Стратегия С.
var Sum1,Sum2,Sum3,Sum4,Sum5:real;
i,k0,m:integer;
begin
k0:=-1;
for i:=0 to n do
if (y[i]-z<=0)and(y[i+1]-z>0) then k0:=i;
m:=k0+1;
Sum1:=0;
for i:=k0+2 to n do
Sum1:=Sum1+(pi[i+1]-pi[i]);
Sum2:=0;
for i:=k0+1 to m do
Sum2:=Sum2+(pi[i+1]-pi[i])*(y[i]-z);
Sum3:=0;
for i:=m+1 to n do
Sum3:=Sum3+(pi[i+1]-pi[i]);
Sum4:=0;
for i:=0 to k0 do
Sum4:=Sum4+(pi[i+1]-pi[i])*(t+Tap);
Sum5:=0;
for i:=k0+1 to n do
Sum5:=Sum5+(pi[i+1]-pi[i])*(t+Tpp);
if (t>=0)and(t<y[k0+1]-z) then
D1:=(Sum1*t)/(Sum4+Sum5)
else D1:=(Sum2+Sum3*t)/(Sum4+Sum5);
end;
Приложение В
Демонстрация работы программы :

Рисунок 12 – Отчёт о проделанной работе

Рисунок 13 – Определение оптимальных значений

Рисунок 14 – Расчёт по функции распределения

Рисунок 15 – Расчёт по статистическим данным