Технологія приготування зборів
Зміст
Вступ
Розділ 1. Підготовка лікарської рослинної сировини
1.1 Збір лікарських рослин
1.2 Календар збору лікарських рослин
1.3 Сушіння лікарських рослин
Розділ 2. Класифікація зборів
Розділ 3. Технологія промислового виробництва зборів
3.1 Стадії технологічного процесу
3.2 Стадія ДР-1. Підготовка приміщень, устаткування і персоналу
3.3 Стадія ТП-2. Здрібнювання лікарської рослинної сировини
3.4 Стадія ТП-3. Просівання лікарської рослинної сировини
3.5 Стадія ТП-4. Змішування
3.6 Стадія ТП-5. Уведення лікарських речовин (ефірних олій і солей)
3.7 Стадія ПМВ-6. Фасовка, упакування і маркірування
3.8 Стадія КЯ-7. Оцінка якості і браку
3.9 Стадія ПВ-8. Переробка відходів
Розділ 4. Приватна технологія й основні напрямки удосконалювання зборів
4.1 Офіціальний пропис збору
4.2 Інші збори
4.3 Стан вітчизняного фармацевтичного ринку
4.4 Збереження зборів
Висновки
Список використаної літератури
Вступ
Збори – це суміш декількох видів різаної чи крупноздрібненої рослинної лікарської сировини (крім сильнодіючих рослин), іноді з додаванням солей чи ефірних олій.
Збори – найбільш стара лікарська форма. Згадування про лікарські рослини зустрічаються в єгипетських папірусах, древній арабській і грецькій літературі.
Збори зберегли своє значення дотепер завдяки властивим їм перевагам:
наявність діючих речовин у сировині в натуральному виді,
простота виготовлення,
дешевизна.
Недоліками зборів є:
незавершеність лікарської форми (хворий повинний приготувати чай, полоскання й ін.)
неточність дозування (хворий часто сам дозує збір).
Збори здавна були лікарською формою аптечного виготовлення. В даний час вони в основній масі виробляються на фармацевтичних підприємствах. Це обумовлено тим, що різноманітний асортимент затверджених прописів власне кажучи охоплює всю сучасну рецептуру зборів і цілком задовольняє лікуючих лікарів.
Виготовлення зборів на великих фармацевтичних виробництвах у значній мірі полегшило роботу аптек, тому що при всієї, здавалося б, простоті виготовлення зборів здрібнювання лікарських рослин є трудомісткою операцією.
Крім того, при заводському виробництві маються всі можливості для подальшого удосконалювання даної лікарської форми у відношенні як якості різання й однорідності змішання, так і усунення основного недоліку зборів – неточності дозування при їхньому застосуванні.
Частка ринку лікарських зборів у загальному обсязі фармацевтичного ринку України складає за різними оцінками від 0,5 до 1,5% (у європейських країнах аналогічна продукція займає до 10% від загального обсягу лікарського ринку).
Цей відносно невисокий показник для українського фармацевтичного ринку обумовлений:
по-перше, досить низькими цінами на продукцію з лікарських трав у порівнянні з іншими лікарськими засобами,
по-друге, недостатньо широким застосуванням методів лікування на основі фітотерапії серед інших методів терапевтичного впливу на організм.
Розділ 1. Підготовка лікарської рослинної сировини
1.1 Збір лікарських рослин
Усяка лікарська рослина містить у собі одне чи кілька діючих речовин, тобто речовин, здатних при наявності відомих умов виявляти в організмі людини і тварини ті чи інші цілющі властивості. Ці діючі речовини іноді бувають розподілені по всій рослині. Частіше ж зосереджуються лише у визначених його органах, а тому для лікувальних потреб вживається вся рослина цілком, чи тільки частини її, що містять діючі речовини: В одних рослин це корені, в інших листя, у третіх – вся надземна частина рослини і т.д.
Кількість діючих речовин, що містяться в лікарській рослині, у різні періоди росту і розвитку останньої буває неоднаковою і коливається; тому час збору лікарських рослин є небайдужим і пристосовується до моменту найбільшого вмісту в них діючих речовин.
Так, якщо у виробництво йде вся рослина, її збирають на початку цвітіння; у такий же час збираються і рослини, від яких вживаються всі надземні частини – трава.
Збір листів відбувається, як правило, перед цвітінням, за винятком "мати-й-мачухи", що заготовляють після цвітіння.
Корені, кореневища і бульби заготовляють восени, після припинення в рослині сокоруху, чи весною до початку його.
Семена у період їхнього повного дозрівання, за деякими виключеннями (наприклад, насіння болиголова плямистого збираються ще зеленими).
Нарешті, кора збирається весною під час сокоруху в рослині.
Збір надземних частин рослини, особливо квітів, повинний вироблятися в суху погоду і по сходу роси, тому що тільки при цій умові вдається при сушінні зберегти в частин рослини їхній природний колір і захистити від самонагрівання (процесів бактеріального і грибкового розкладання), результатом якого часто є втрата рослиною діючої речовини.
1.2 Календар збору лікарських рослин
|
Сировина |
Час збору |
|
Супліддя вільхи |
Січень – Лютий |
|
Бруньки берези |
Березень – Квітень |
|
Бруньки сосни |
Березень – Квітень |
|
Кора дуба |
Квітень – Травень |
|
Кора калини |
Квітень – Травень |
|
Кора жостеру |
Квітень – Травень |
|
Листи брусниці |
Квітень – Травень, Вересень – Жовтень |
|
Листи мучниці |
Квітень – Травень, Вересень – Жовтень |
|
Листи суниці лісової |
Травень – Червень |
|
Листи конвалії травневої |
Травень – Червень |
|
Листи мати-й-мачухи |
Червень – Липень |
|
Листи подорожника великого |
Червень – Липень |
|
Листи вахти трилистої |
Червень – Липень |
|
Листи кропиви дводомної |
Червень – Август |
|
Листи чорниці |
Травень – Червень |
|
Трава багна болотного |
Август – Вересень |
|
Трава материнки звичайної |
Липень – Август |
|
Трава звіробія продірявленого |
Червень – Август |
|
Трава конвалії травневої |
Квітень – Травень |
|
Трава низки три роздільної |
Червень – Липень |
|
Трава собачої кропиви серцевої |
Травень – Червень |
|
Трава деревію |
Травень – Липень |
|
Трава полиню гіркого |
Травень – Липень |
|
Трава грициків звичайних |
Травень – Червень |
|
Трава фіалки триколірної |
Травень – Липень |
|
Трава хвоща польового |
Червень – Липень |
|
Трава чистотілу великого |
Квітень – Червень |
|
Трава чебрецю повзучого |
Квітень – Червень |
|
Трава сухоцвіту болотний |
Червень – Липень |
|
Трава гірчаку перцевого |
Червень – Липень |
|
Трава гірчаку почечуйного |
Червень – Липень |
|
Трава гірчаку пташиного |
Червень – Липень |
|
Квітки безсмертника піщаного |
Травень – Липень |
|
Квітки волошки синьої |
Травень – Червень |
|
Квітки ромашки аптечної |
Травень – Червень |
|
Квітки ромашки запашної |
Травень – Червень |
|
Суцвіття липи серцевидної |
Травень – Червень |
|
Квітки пижма звичайного |
Червень – Липень |
|
Квітки глоду колючого |
Квітень – Травень |
|
Плоди глоду криваво-червоного |
Липень – Вересень |
|
Плоди жостеру проносного |
Липень – Вересень |
|
Плоди малини звичайної |
Червень |
|
Плоди горобини звичайної |
Август – Вересень |
|
Плоди черемшини звичайної |
Червень – Липень |
|
Плоди чорниці |
Червень – Липень |
|
Плоди ялівця звичайного |
Август – Вересень |
|
Плоди шипшини |
Липень – Август |
|
Плоди журавлини чотирьохпелюсткової |
Березень, Август – Вересень |
|
Корені алтея |
Август – Вересень |
|
Кореневища лепехи |
Червень – Вересень |
|
Кореневища з коренями валеріани лікарської |
Август – Вересень |
|
Кореневища змійовика |
Липень – Август |
|
Кореневища і корені оману високого |
Липень – Вересень |
|
Кореневища і корені родовика лікарського |
Липень – Август |
|
Кореневища перстачу прямостоячого |
Червень – Август |
|
Корені кульбаби лікарської |
Липень – Август |
|
Кореневища з коренями чемериці |
Август – Вересень |
|
Березового гриба |
Січень – Березень, Вересень, Листопад – Грудень |
1.3 Сушіння лікарських рослин
Сушіння лікарських рослин має своєю задачею призупинити руйнівну діяльність ферментів і тим самим захистити на тривалий час діючі речовини, що містяться в рослинах, від їх змін. Сушіння зібраного матеріалу відбувається звичайно на горищах чи під залізним дахом, чи в спеціальних сушильних сараях, чи, нарешті, у сушильнях, але не на сонці. При сушінні з рослин випаровується значна частина води, і тому рослини втрачають у вазі приблизно стільки:
трава - 70%,
листя - 80%,
квіти - 75%,
корені - 65%,
кора - 45%.
Лікарські рослини при сушінні змінюються.
Ще більшій зміні піддаються вони при збереженні, помалу утрачаючи свої лікарські якості. Більшість рослин стає неякісними через кілька років, але деякі псуються протягом року і стають непридатними до вживання.
Наша фармакопея вимагає щорічного заготовляння свіжих матеріалів:
Листів беладони,
Листів наперстянки,
Листів белени,
Листів дурману,
суцвіть (шишок) хмелю,
бульб аконіту,
бульб болиголова,
кореневищ папороті,
ріжків (грибниць) ріжка
насінь льна.
Дуже рідкий приклад поліпшення якостей при збереженні представляє кора жостеру, що використовується дворічної схоронності.
Для збереження добре висушеного матеріалу мають велике значення: Місце збереження і тара, чи упакування.
Найбільше потрібно остерігатися сирого приміщення і збереження в закритому виді; усмоктуючи вологу, заготовлений матеріал руйнується, змінюючись у кольорі, і одержує затхлий запах.
У результаті діяльності мікроорганізмів, що потрапили на його, зокрема цвілевих грибків, прискорюється псування матеріалу.
Приміщення повинне бути сухе, добре провітрюване, доступне частому огляду; тому під комору чи склад лікарських рослин не можна відводити сарай чи підвал. Гарним складом може бути неопалювана кімната при житловому приміщенні.
Ті з рослинних лікарських матеріалів, що містять сильно ароматичні ефірні олії, повинні зберігатися осторонь від інших матеріалів. Всі отруєні матеріали повинні зберігатися безумовно в окремому приміщенні при повній гарантії неможливості змішання їх з іншими. Якщо в практиці будуть зустрічатися спеціальні особливості в упакуванні для збереження, про неї буде мова при описі окремих рослин по видах.
Розділ 2. Класифікація зборів
Збори класифікують на: дозовані (Species divisae) та недозовані (Species indivisae).
Дозовані збори можна підрозділити на: звичайні, пресовані, розчинні чаї.
По складу збори можуть бути прості і складні.
Прості складаються з одного виду лікарської рослинної сировини, складні — з декількох рослин і інших лікарських засобів.
Крім того, збори класифікують по способі застосування на збори для: внутрішнього застосування, зовнішнього застосування, курильні (інгаляційні) збори.
Збори для внутрішнього застосування підрозділяють на: в'язкі, жовчогінні, потогінні, гіркі (апетитні), грудні, заспокійливі, проносні, вітамінні і т.д.
До зборів для зовнішнього застосування відносять: збори для полоскань, для припарок чи пом'якшувальні, для ванн і т.д.
Курильні збори використовуються для безпосереднього введення диму, що містить летучі діючі речовини, у легені.
Розділ 3. Технологія промислового виробництва зборів
3.1 Стадії технологічного процесу
В даний час збори в основному виготовляють на фармацевтичних підприємствах. Виготовлення зборів складається з наступних стадій:
ДР-1. Підготовка приміщень, устаткування і персоналу.
ТП-2. Здрібнювання лікарської рослинної сировини.
ТП-3. Просівання лікарської рослинної сировини.
ТП-4. Змішування лікарської рослинної сировини.
ТП-5. Уведення лікарських речовин (ефірних олій і солей).*
ТП-5.1. Обприскування і перемішування
ТП-5.2. Підсушування
ПМВ-6. Фасовка, упакування і маркірування.
КЯ -7.Оцінка якості і браку.
ПВ-8. Переробка відходів.
* – стадія ТП-5 виконується лише при введенні в збори ефірних олій і солей.
3.2 Стадія ДР-1. Підготовка приміщень, устаткування і персоналу
Дана стадія проводиться відповідно до вимог ДСТ 42-510-98 «Правила організації виробництва і контролю якості лікарських засобів (GMP)».
Метою даної стадії є здійснення заходів, спрямованих на забезпечення належних санітарних умов виробництва зборів і в остаточному підсумку мікробіологічної чистоти готового продукту. Крім того, обов'язково проводиться весь комплекс підготовчих робіт, що дозволяють надалі устаткуванню працювати в оптимальному режимі.
3.3 Стадія ТП-2. Здрібнювання лікарської рослинної сировини
Частини лікарських рослин можуть бути введені в збори:
у цілому виді – дрібні квітки і квіткові кошики (наприклад, ромашки, бузини, деревію, коров’яку), а також деякі насіння і ягоди;
у порізаному чи роздробленому виді – усі корені і кореневища, кори, трави, великі листи і деякі квіти (липовий колір);
у стовченому чи крупноздрібненому виді – плоди, насіння, а також деякі дрібні і тендітні листи (наприклад, мучниці).
Ступінь здрібнювання нормований і визначається призначенням збору.
Збори для готування настоїв і відварів (Species ad infusum et decoctum), призначені для прийому усередину (чай), полоскань, примочок і т.д., повинні мати наступний розмір часток:
листи і трави – 4-6 мм;
стебла, кора і корені – 3 мм;
плоди і насіння – 0,5 мм;
курильні збори (Species fumales) – 3 мм;
збори для ванн (Species pro balneo) – 2 мм.
Рослинний матеріал подрібнюють на траво- і корнерізках, також можуть бути застосовані дискові пилки. При необхідності сировину попередньо зволожують (при різанні коренів на кубики), а потім підсушують отриманий продукт.
Траворізки-соломорізки. Найпростішими по устрою траворізками є січкарні, широко застосовувані при здрібнюванні грубих кормів (солома, стебла кукурудзи й ін.).
Розрізняють січкарні дискові і барабанні.
У дискових січкарнях масивні ножі, що мають криволінійне лезо, прикріплені до спиць маховика. Маховик з ножами приводиться в обертальний рух вручну. Лікарська сировина (трав'яниста), зібрана в пучки, подається під ножі по лотку.
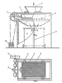
У барабанних січкарнях (рис. 1) є вигнуті ножі з лезами, розташованими по гвинтових лініях з кутом підйому до 30°. Трав'яниста сировина подається по лотку-транспортері 1, наприкінці якого встановлені живильні валики 2, що подають сировину до ножового барабана 4. Порізана сировина вивантажується по лотку 6. Установка змонтована на станині 7 і приводиться в дію від електромотора за допомогою шківа 5. На одному валу зі шківом посаджена зубчатка, що приводить у дію велику шестірню 8, що обертає живильні валики. З іншої сторони на валу посаджений маховик 3 для забезпечення плавності роботи січкарні.

Рис. 1. Барабанна січкарня
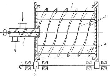
Корнерізки. Для нарізування щільних і дерев'янистих частин рослин (корені, кореневища, кора) найчастіше застосовуються корнерізки і подібні з ними тютюнокрошильні машини з гільотинними ножами, устрій яких показаний на рис. 2. Ніж у цій машині дуже масивний, і, падаючи вниз, своєю масою підсилює ріжучий ефект. Ніж робить зворотно-поступальний рух нагору і вниз за допомогою кривошипного механізму чи колінчатого вала. Рослинна сировина подається за допомогою транспортера 2, що представляє собою брезентову стрічку чи металеву сітку, натягнуту на два валики, з яких один робить обертальний рух, що забезпечує переміщення стрічки. Транспортер міститься в глибокому лотку 1 для створення напрямку руху матеріалу. Пресуючі і направляючі валики з рифленою поверхнею 3, яких буває дві чи три пари, і обертаються назустріч один одному, створюють компактний шар матеріалу і просувають його на визначену довжину. Електродвигун (на рис. не зазначений) приводить в обертання маховик 5 кривошипного вала 4. Кривошипом приводиться в рух гільотинний ніж 6, що робить зворотно-поступальний рух; рослинна сировина подається між нижнім нерухомим 7 і верхнім 6 падаючим ножем, розрізається на шматки визначеної регульованої величини.

Рис. 2. Корнерізка з гільотинними ножами
В описаних траво- і корнерізках (крім ручної січкарні) рух стрічкового транспортера, що живить валики і ножі відбувається узгоджено, при цьому рослинна маса виступає вперед на визначену довжину відповідно до заданого ступеня здрібнювання. Потрібно враховувати, що номінальну довжину звичайно мають тільки шматочки трави, що ріжеться. Що стосується коренів і кори, то, оскільки вони тендітні, при падінні на них ножа виступаючі ділянки можуть обламуватися. У результаті цього виходить значна кількість шматочків меншого розміру і великого порошку.
При виготовленні зборів виникає необхідність додання шматочкам кори квадратної, а шматочкам коренів і кореневищ – кубічної форми (очищений солодковий і алтейний корені), що виробляється на спеціальних машинах.
Машини з дисковими пилками. Серед рослинної сировини є особливо тверді об'єкти (наприклад, корені елеутерококу), для здрібнювання яких виявилися придатними малогабаритні дискові пилки. Корені, подавані під обертову пилку, розпилюють на часточки, що потім уже вдається здрібнити на дробарках. При розпилюванні одночасно виходять об’ємні обпилювання – великий порошок здрібнених коренів.
3.4 Стадія ТП-3. Просівання лікарської рослинної сировини
Однорідність здрібненого матеріалу досягається за допомогою ситових механізмів (трясунків). При цьому використовуються хитні сита різної конструкції.
Хитні сита (трясунки). Ці механізми різної конструкції роблять примусове хитання сита, що забезпечується твердим зв'язком колінчатого вала, кривошипно-шатунного чи ексцентрикового механізмів з корпусом сита. Сито встановлюється в горизонтальному чи нахиленому положенні (7-14°) на роликах, що рухаються по направляючим, іноді вони кріпляться на шарнірних чи кривошипних опорах або їх підвішують на шарнірних підвісах. Число хитань у хвилину складає від 50 до 400, а амплітуда коливань від 5 до 200 мм. На рис. 3 показані хитні сита (трясунки), у яких короб із ситом робить зворотно-поступальний рух, будучи підвішеним на шарнірних підвісах (а), або за допомогою шарнірних чи кривошипних опор (б), або в сполученні тих і інших (в) (рис. 3).

Рис. 3. Схеми хитних сит
Устрій однієї з різновидів хитного сита представлене на рис. 4. Матеріал, що підлягає просіванню, насипається на робочу поверхню 3 через лійку 1. Просіяний порошок зсипається в лійку 7, а відтіля в тару 8. Щоб уникнути розпилення матеріалу під час роботи тара встановлюється в спеціальний кожух, прикріплений до корпуса 2 і зачиняючих дверцят 9. Короб сита встановлений на чотирьох роликах 5, що рухаються по направляючим 4. Сито приводиться в рух електродвигуном 10 за допомогою шківа 11 і колінчатого вала 6.

Рис. 4. Хитне сито
Багатоярусні хитні сита. Багатоярусні сита мають кілька сіток, розташованих одна над іншою, причому верхня має найбільші отвори, а нижня – найменші. Такі сита дозволяють розділити матеріал, що просівається, по розміру часток на окремі фракції.
При всіх ступенях здрібнювання пил відсівається крізь сито з отвором розміром 0,2 мм.
3.5 Стадія ТП-4. Змішування
Складові частини збору змішують у змішувачах з обертовим корпусом різної конструкції.
Один з найбільш розповсюджених змішувачів – барабанний змішувач (рис. 5), що являє собою циліндричний корпус 1, що обертається на опорних роликах 2 зі швидкістю 6-8 об./хв. Для кращого змішування матеріалу на внутрішніх стінках барабана укріплені спіральні перегородки 3, а усередині нього – кілька подовжніх полиць 4 з перегородками. Барабанний змішувач є апаратом періодичної дії. Завантаження і вивантаження здійснюється за допомогою шнека 5, що при завантаженні обертається в одному напрямку, а при вивантаженні – у протилежному.

Рис. 5. Змішувальний барабан
Барабанні змішувачі бувають також із призматичної, кубічної чи іншої форми корпусом, що обертається в цапфах на горизонтальному валу (рис. 6). Змішувачі прості по пристрої, але вимагають значного часу для змішування, обчислювального годинами.

Рис. 6. Змішувачі з обертовим корпусом: а – кульовий млин; б – V-образний змішувач; в – двохконусний змішувач; г – кубічний змішувач; д – турбула
Одержання однорідної по складу суміші представляє визначених труднощів, тому що окремі частки збору мають різну величину, форму, масу і тому ясно виражену схильність до розшарування.
3.6 Стадія ТП-5. Уведення лікарських речовин (ефірних олій і солей) ТП-5.1. Обприскування і перемішування
При введенні до складу зборів лікарських речовин (ефірних чи олій солей), їх попередньо розчиняють:
ефірні олії – у спирті етиловому,
солі – у воді;
отриманими розчинами обприскують один з чи компонентів весь збір.
ТП-5.2. Підсушування
Зволожений збір ретельно перемішують і підсушують у шафових чи стрічкових сушарках при температурі 40-60 °С.
Після випару розчинника, уведені речовини у виді дрібних кристалів досить міцно утримуються в складках листів і квітів, між волосками, якими часто покрита поверхня листів, квітів і стебел, у тріщинах коренів, чим попереджується розшарування збору. Додаванням солей до зборів у «сухому» виді цього досягти не можна.
У тих випадках, коли здрібнені частини рослини не можуть механічно утримати на своїй поверхні кристалики солей унаслідок відсутності опушення на листах чи кожистого покриття (листи сени й ін.), застосовують спосіб просочування здрібнених частин водяним розчином солі з наступним висушуванням вологої маси в сушарці.
3.7 Стадія ПМВ-6. Фасовка, упакування і маркірування
Збори відпускаються в картонних коробках, викладених усередині пергаментним папером, чи в подвійному паперовому пакеті по 50, 100, 150 і 200 г. На етикетці вказуються склад збору й обов'язково спосіб уживання. Перспективною формою випуску зборів є брикети по типі пресованного дозованої лікарської сировини, наприклад: Briketum herbae Bidentis, Briketum rhizomatis cum radicibus Valerianae і ін.).
3.8 Стадія КЯ-7. Оцінка якості і браку
Збори промислового виготовлення згідно ДСТ 91500.05.001-00 «Стандарти якості лікарських засобів. Основні положення» випробовують за наступними показниками:
зовнішні ознаки;
мікроскопія;
якісні і/чи гістохімічні реакції, хроматографічні дослідження;
числові показники (зміст біологічно активних речовин; вологість; зола загальна; зола, нерозчинна в 10% розчині хлористоводневої кислоти);
припустимі домішки (здрібнені частки сировини, що змінили фарбування; інші частини рослини, не підмети заготівлі; органічна домішка; мінеральна домішка);
мікробіологічна чистота;
відповідність упакування і маркірування вхідним до складу збору біологічно активним речовинам;
радіаційний контроль.
3.9 Стадія ПВ-8. Переробка відходів
Лікарська рослинна сировина, що не пройшла ситовий аналіз і має більш високу здрібненість може бути використана для виготовлення фільтр-пакетів; сировина, що має великі розміри, відправляється на повторне здрібнювання.
Розділ 4. Приватна технологія й основні напрямки удосконалювання зборів
4.1 Офіціальний пропис збору
В даний час до Державного реєстру РФ (2007 р.) внесений лише один пропис: збір противоастматический (Species antiasthmaticae). Склад: листів беладони – 2 частини, листів білені – 1 частина, листів дурману – 6 частин, натрію нітриту – 1 частина.
Технологія збору полягає в наступному: здрібнені до 3 мм листи змішують, обприскують розчином 1 м натрію нітриту в 2 мол води, ретельно перемішують до однорідного зволоження всієї маси і сушать при температурі не вище 60 °С до одержання 10 частин. Зміст алкалоїдів у препараті повинне бути 0,2-0,25 % від загальної маси, вологи – не більш 12 %, золи – не більш 25 %. Запалений порошок повільно і рівномірно повинний жевріти до повного озоления. Випускають збір у формі порошку (в упакуванні по 80 г) і у виді сигарет (по 20 штук) за назвою «Астматол» (Asthmatolum). Застосовують збір при бронхіальній астмі, при цьому спалюють половину чайної ложки порошку і вдихають чи дим викурюють сигарету, що містить зазначений препарат. Зберігають за списком Б, у сухому, прохолодному, захищеному від світла місці.
4.2 Інші збори
Численні прописи зборів (чаїв) є неофицинальными, нормуються ТУ і реєструються як біологічно активні добавки.
Часто збори однакової лікувальної дії мають різний склад. Існує, наприклад, по чотирьох пропису грудного і в'язкого зборів; по трьох сечогінного, потогінного, ветрогонного; двох пропису проносного й ін. Усе ширше в лікувальну практику входять багатокомпонентні збори, наприклад збір для мікстури по прописі М. Н. Здренко, противодиабетический збір і ін.
Зі зборів самими популярними є грудні, урологічні, заспокійливі, жовчогінні і гемороїдальні. Щорічний ріст споживання зборів складає 12-15%.
4.3 Стан вітчизняного фармацевтичного ринку
На ринку вітчизняних лікарських зборів представлена продукція не тільки в пачках, але в брикетах і фільтр-пакетах, що є більш зробленими формами випуску.
Останнім часом продукція у фільтр-пакетах одержує усе велику популярність у споживачів, що зв'язано, насамперед, з більш простим способом готування лікувального настою. Наприклад, у структурі збуту ЗАО «Червоногорськлікзасоби» лікарські трави, розфасовані у фільтр-пакети, складають близько 50%.
На даний момент відзначається прагнення до заміни зборів аналогічними сумарними препаратами, а саме цілком і швидко розчинними лікувальними чаями. Даний вид продукції на вітчизняному фармацевтичному ринку представлений в основному закордонними фірмами.
Так, технологія, розроблена фірмою «Хаттерманн» (Німеччина), полягає в тому, що рослинну сировину ретельна екстрагують, потім точно розраховану кількість витягів з різної рослинної сировини змішують і подають у розпилювальну сушарку, де в лічені секунди йде зневоднювання при дотриманні технологічних умов, що щадять.
Даною фірмою випускаються розчинні чаї, що містять велику кількість компонентів:
11 – холафлукс,
9 – урофлукс,
12 – бронхіфлукс,
6 – нервофлукс
і т.д.
Можливі також пресування зборів і додання їм форми брикетів для разового прийому чи плиток з насічками на 10 окремих доз.
Брикетуванням забезпечується:
більш правильне дозування;
краща схоронність;
транспортабельність зборів.
У Росії в даний час виробництво брикетів лікарських рослин організоване на Червоногорському і Житомирському заводах по переробці лікарської рослинної сировини.
4.4 Збереження зборів
Збори зберігають у сухому, добре вентильованому приміщенні на стелажах.
Збори, до складу яких входить лікарська рослинна сировина, що містить ефірні олії, зберігають ізольовано.
Збори, до складу яких входять висушені соковиті плоди, рекомендується зберігати на стелажах, розміщаючи поруч флакон із хлороформом, у пробку якого вставлена трубочка для зникнення парів даного розчинника. Цим запобігається псування їхніми комірними шкідниками.
Особлива увага при збереженні варто приділити зборам, що містять серцеві глікозиди, тому що ДФ установлені більш строгі терміни їхнього збереження і повторного переконтролю на вміст біологічної активності.
Висновки
Збори – це суміш декількох видів різаної чи крупноздрібненої рослинної лікарської сировини (крім сильнодіючих рослин), іноді з додаванням солей чи ефірних олій.
Збори – найбільш стара лікарська форма. Згадування про лікарські рослини зустрічаються в єгипетських папірусах, древній арабській і грецькій літературі.
Збори зберегли своє значення дотепер завдяки властивим їм перевагам:
наявність діючих речовин у сировині в натуральному виді,
простота виготовлення,
дешевизна.
Недоліками зборів є:
незавершеність лікарської форми (хворий повинний приготувати чай, полоскання й ін.)
неточність дозування (хворий часто сам дозує збір).
Збори здавна були лікарською формою аптечного виготовлення. В даний час вони в основній масі виробляються на фармацевтичних підприємствах. Це обумовлено тим, що різноманітний асортимент затверджених прописів власне кажучи охоплює всю сучасну рецептуру зборів і цілком задовольняє лікуючих лікарів.
Виготовлення зборів на великих фармацевтичних виробництвах у значній мірі полегшило роботу аптек, тому що при всієї, здавалося б, простоті виготовлення зборів здрібнювання лікарських рослин є трудомісткою операцією.
Крім того, при заводському виробництві маються всі можливості для подальшого удосконалювання даної лікарської форми у відношенні як якості різання й однорідності змішання, так і усунення основного недоліку зборів – неточності дозування при їхньому застосуванні.
Збори класифікують на: дозовані (Species divisae) та недозовані (Species indivisae).
Дозовані збори можна підрозділити на: звичайні, пресовані, розчинні чаї.
По складу збори можуть бути прості і складні.
Прості складаються з одного виду лікарської рослинної сировини, складні — з декількох рослин і інших лікарських засобів.
Крім того, збори класифікують по способі застосування на збори для: внутрішнього застосування, зовнішнього застосування, курильні (інгаляційні) збори.
Збори для внутрішнього застосування підрозділяють на: в'язкі, жовчогінні, потогінні, гіркі (апетитні), грудні, заспокійливі, проносні, вітамінні і т.д.
До зборів для зовнішнього застосування відносять: збори для полоскань, для припарок чи пом'якшувальні, для ванн і т.д.
Курильні збори використовуються для безпосереднього введення диму, що містить летучі діючі речовини, у легені.
В даний час збори в основному виготовляють на фармацевтичних підприємствах. Виготовлення зборів складається з наступних стадій:
ДР-1. Підготовка приміщень, устаткування і персоналу.
ТП-2. Здрібнювання лікарської рослинної сировини.
ТП-3. Просівання лікарської рослинної сировини.
ТП-4. Змішування лікарської рослинної сировини.
ТП-5. Уведення лікарських речовин (ефірних олій і солей).*
ТП-5.1. Обприскування і перемішування
ТП-5.2. Підсушування
ПМВ-6. Фасовка, упакування і маркірування.
КЯ -7.Оцінка якості і браку.
ПВ-8. Переробка відходів.
Список використаної літератури
Ажгихин, И.С. Технология лекарств / И.С. Ажгихин. – М.: Медицина, 1980. – С. 115-142, 325-344.
Бобылев, Р.В.Технология лекарственных форм: Учебник в 2 томах / Р.В. Бобылев, Г.П. Грядунова, Л.А. Иванова и др. ; под ред. Л.А. Ивановой. – М.: Медицина, 1991. – Т.2. – С. 64-93.
Валь, Е. Препараты из растительного сырья: отраслевые проблемы / Е. Валь // Ремедиум. – 2001. – № 1-2. – С. 38-39.
Государственная фармакопея СССР. Одиннадцатое издание. Выпуск 2. Общие методы анализа. Лекарственное растительное сырье. – М: Медицина, 1990. – Т. 2. – С. 139,150,154-160.
Грецкий, В.М. Руководство к практическим занятиям по технологии лекарственных форм / В.М. Грецкий В.М., В.С. Хоменок. – М.: Медицина, 1991. – С. 64-93.
Грядунова, Г.П. Руководство к лабораторным занятиям по заводской технологии лекарственных форм / Г.П. Грядунова, Л.М. Козлова, Т.П. Литвинова ; под ред. А.И. Тенцовой. – М.: Медицина, 1986. – С. 5-57.
Кондратьева, Т.С. Технология лекарственных форм: Учебник в 2 томах / Т.С. Кондратьева, Л.А. Иванова, Ю. И. Зеликсон и др. ; под ред. Т.С. Кондратьевой. – М.: Медицина, 1991. – Т. 1. – С. 134-156.
Малинка, В. Российский рынок лекарственных трав и сборов / В.Малинка, Е. Жданова // Ремедиум. – 2000. – № 4. – С. 38-41.
Муравьев, И.А. Технология лекарств / И.А. Муравьев. – М.: Медицина, 1980. – Т. 1. – С. 63-78, 305-390.
Муравьев, И.А. Технология лекарственных форм / И.А. Муравьев. – М.: Медицина, 1988. – С. 79-104, 336-356.
Перцев, И.М. Фармацевтические и медико-биологические основы лекарств / И.М. Перцев, И.А. Зупанец. – Харьков: Издательство НФАУ, 1999. – Т. 2. – С. 329-398.
Синев, Д.Н. Пособие для фармацевтов аптек / Д.Н. Синев, И.Я. Гуревич. – Ленинград: Медицина, 1982. – С. 32-42.
Синев, Д.Н. Технология и анализ лекарств / Д.Н. Синев, И.Я. Гуревич. – Ленинград: Медицина, 1989. – С. 28-37.
1